LÆÛA CHOÜN DÆÛ AÏN

1.   Caïc bæåïc cuía quaï trçnh læûa choün dæû aïn.
2.   Mä hçnh liãût kã vaì cho âiãøm
3.   Phán têch låüi nhuáûn - chi phê
4.   Phán têch chi phê - hiãûu quaí
5.   Ruíi ro trong læûa choün dæû aïn
6.   Mä hçnh cáy ra quyãút âënh

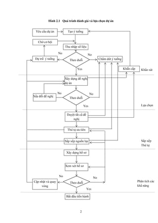
2.1. CAÏC BÆÅÏC CUÍA QUAÏ TRÇNH LÆÛA CHOÜN DÆÛ AÏN.

Moüi dæû aïn âãöu âæåüc bàõt âáöu tæì nhæîng saïng kiãún . Caïc saïng kiãún naìy thæåìng âãún tæì nhiãöu
nguäön khaïc nhau nhæ khaïch haìng, caïc nhaì cung cáúp, bäü pháûn quaín lyï cáúp cao cuîng nhæ tæì
âäüi nguî cäng nhán. Âäúi våïi mäüt täø chæïc thäng thæåìng, caïc bæåïc cuía quaï trçnh læûa choün dæû
aïn âæåüc bàõt âáöu tæì viãûc khaío saït caïc yï tæåíng vaì caïc bæåïc phán têch khaïc âæåüc mä taí trong
hçnh 2.1.

2.2 MÄ HÇNH LIÃÛT KÃ VAÌ CHO ÂIÃØM

Mä hçnh liãût kã vaì cho âiãøm laì mäüt trong säú caïc phæång phaïp thæåìng âæåüc sæí duûng cuía
quaï trçnh khaío saït vaì læûa choün dæû aïn. Phæång phaïp naìy sæí duûng êt thäng tin ban âáöu vaì vç
thãú noï thæåìng phuì håüp våïi caïc nháûn âënh så bäü ban âáöu,ì trong âiãöu kiãûn thiãúu huût thäng tin.

Baíng 2.1 mä taí quaï trçnh sæí duûng mä hçnh. Mä hçnh âæåüc xáy dæûng tæì nhæîng chè tiãu hoàûc
táûp håüp caïc yãu cáöu âäúi våïi dæû aïn. Trong baíng trãn, caïc chè tiãu laì låüi nhuáûn, thåìi gian âæa
saín pháøm ra thë træåìng, ruíi ro vaì thaình cäng trong thæång maûi. Mäùi mäüt âãö nghë âæåüc âaïnh
giaï theo thang âiãøm ba báûc. Mäüt giaí âënh åí âáy laì caïc chè tiãu noïi trãn coï troüng säú bàòng
nhau. Täøng säú âiãøm cuía mäùi mäüt âãö nghë âæåüc ghi åí cäüt bãn phaíi. Trong säú âoï, ta choün ra
dæû aïn coï âiãøm âaïnh giaï cao nháút âãø tiãúp tuûc nghiãn cæïu. Caïc âãö nghë coìn laûi âæåüc dæìng
hoàûc taûm thåìi chåì.

                            Baíng 2.1 Vê duû vãö mä hçnh liãût kã cho âiãøm.

                                                   Chè tiãu
                     Låüi nhuáûn        Thåìi gian -        Ruíi ro         Thaình cäng
                                         thë træåìng
    Âiãøm           3      2     1     3      2     1     3    2 1          3     2      1        Täøng
Dæû aïn A                  x           x                  x                       x                10
Dæû aïn B                  x                  x                     x                    x          6
Dæû aïn C           x                               x          x                  x                 8




                                                      1
Hçnh 2.1 Quaï trçnh âaïnh giaï vaì læûa choün dæû aïn


  Yãu cáöu dæû aïn           Taûo yï tæåíng


    Chåì cå häüi
                           Thu nháûp säú liãûu

                      No                          No
 Dæû træî yï tæåíng            Theo âuäøi                    Cháúm dæït yï tæåíng


                                      Yes                                           Kháøn cáúp      Khaío saït

                           Xáy dæûng âãö nghë
                           dæû aïn


                      No                            No
Sæía âäøi âãö nghë             Theo âuäøi

                                              Yes                                                   Læûa choün

                            Duyãût táút caí âãö
                                nghë


                             Thæï tæû æu tiãn


                           Sàõp xãúp nguäön læûc                                                    Sàõp xãúp
                                                                                                    Thæï tæû

                            Xáy dæûng häö så



                           Xem xeït häö så


                      No                                No
Cáûp nháût vaì quay            Theo âuäøi                                                        Phán têch caïc
      voìng                                                                                      khaí nàng
                                                  Yes

                            Bàõt âáöu tiãún haình



                                         2
Mäüt bæåïc phaït triãøn thãm dæûa trãn mä hçnh liãût kã naìy laì âaïnh troüng säú vaìo caïc chè tiãu
tuìy theo mæïc âäü quan troüng. Âãø xaïc âënh âæåüc troüng säú cho tæìng chè tiãu, caïch tiãúp cáûn
nhoïm thæåìng âæåüc sæí duûng.

Mäüt vê duû sæí duûng mä hçnh naìy laì khaío saït caïc dæû aïn âãø phaït triãøn saín pháøm måïi. Caïc chè
tiãu âæåüc âaïnh giaï theo thang âiãøm tæì 0 âãún 30, trong âoï 0 tæång æïng våïi keïm vaì 30 æïng
våïi xuáút sàõc.
            Baíng 2.2 Vê duû sæí duûng mä hçnh ghi âiãøm trong viãûc choün læûa dæû aïn

                                                                   Âiãøm säú
          Caïc chè tiãu          Troüng säú    Xuáút sàõc     Täút     Trung bçnh        Keïm     Täøng kãút
                                                 30           20             10           0
 Coï thãø tiãu thuû âæåüc           0.25          x                                                    6
 Ruíi ro                            0.20                       x                                       4
 Caûnh tranh                        0.15                       x                                       3
 Giaï trë thãm vaìo                 0.15                                                   x           0
 Cå häüi kyî thuáût                 0.10           x                                                   3
 Sàôn coï cuía váût liãûu           0.10                                     x                         1
 Baío vãû baín quyãön               0.05                       x                           x           0
 Saín pháøm hiãûn taûi              0.05                                                               1
                                    1.00                                                              18


Caïc troüng säú âæåüc xaïc âënh trong khoaíng [ 0 - 1]. Täøng quatï, caïc chè säú âæåüc tênh nhæ sau:

         Tj = Σi wi sij
Trong âoï
         sij - Âiãøm säú cuía chè tiãu i våïi âaïnh giaï j
         wi- Troüng säú cho chè tiãu i
Coï ráút nhiãöu caïch tênh caïc troüng säú, dæåïi âáy xin trçnh báöy 3 phæång phaïp thæåìng duìng
nháút :
* Caïc troüng säú bàòng nhau. Våïi N chè tiãu, caïc troüng säú laì :
                  1
         wi =
                  N
* Nhoïm täøng troüng säú
                    N - Ri + 1                      Ri - Xãúp haûng cho chè tiãu i
         Wi =
                  ΣNk=1 (N - Rk + 1)                Rk - Xãúp haûng cho chè tiãu k

* Troüng säú nghëch âaío
                    1/Ri
        Wi =
                 ΣNk=1 (1/Rk)

Låüi thãú cuía phæång phaïp tênh troüng säú laì coï tênh âãún sæû cán âäúi giæîa caïc chè tiãu. Báút låüi
nàòm trong âäü thiãúu chênh xaïc vaì phuû thuäüc nhiãöu vaìo hãû thäúng âaïnh giaï troüng säú.


                                                   3
2.3 PHÁN TÊCH LÅÜI NHUÁÛN (LÅÜI ICH) VAÌ CHI PHÊ

Trong caïc cäng ty, âaïnh giaï caïc khaí nàng vaì cå häüi âáöìu tæ thæåìng âæåüc bàõt âáöu bàòng phán
têch kyî thuáût. Bæåïc tiãúp theo laì so saïnh tyí lãû thu häöi väún cuía doìng tiãön dæû tênh taûo ra cuía
mäùi mäüt phæång aïn trong caí chu kyì hoaût âäüng cuía noï. Caïc nghiãn cæïu kyî thuáût phaíi âæåüc
tiãún haình âãø taûo ra caïc dæî liãûu cå såí ban âáöu. Sau âoï, caïc dæû tênh vãö chi phê, låüi nhuáûn seî
âæåüc so saïnh thæåìng dæûa trãn phæång phaïp giaï trë hiãûn taûi sæí duûng pheïpì kháúu hao.

Trong lénh væûc tæ nhán, caïc cäng ty thæåìng phaíi chi traí táút caí chi phê vaì thu vãö táút caí låüi
nhuáûn. Trong khi caïc hoaût âäüng thuäüc sæû quaín lyï cuía chênh phuí laûi coï nhæîng caïch tiãúp cáûn
khaïc âäúi våïi chi phê vaì låüi nhuáûn. Doanh thu thæåìng âæåüc taûo ra dæåïi daûng caïc hçnh thæïc
thu thuãú khaïc nhau vaì âæåüc sæí duûng theo nhæîng yãu cáöu cuía xaî häüi. Hay noïi caïch khaïc,
chênh phuí thç chi traí nhiãöu vaì låüi nhuáûn ráút êt, nãúu coï. Âoï laì mäüt trong nhæîng cå såí cuía caïc
váún âãö khoï khàn trong viãûc âaût âæåüc cháúp thuáûn vãö âãö nghë mäüt dæû aïn.

Phán têch låüi nhuáûn vaì chi phê ( B/C ) , trong âoï tyí säú B/C sæí duûng âãø phán têch caïc dæû aïn
caûnh tranh láùn nhau. Mäüt cáu hoíi âàût ra laì caïc loaûi dæû aïn aính hæåíng nhæ thãú naìo âãún tyí säú
naìy.

Vê duû 2.1 Haîy tênh caïc chè säú B/C cho dæû aïn sau
Trong mäüt tåì trçnh cuía dæû aïn chênh phuí, coï caïc váún âãö sau:

Chi phê ban âáöu cho dæû aïn âæåüc traí båíi chênh phuí laì                     $ 100 mil.
Giaï trë hiãûn taûi cuía chi phê baío dæåîng seî âæåüc traí båíi chênh phuí laì        $ 40 mil.
Giaï trë hiãûn taûi cuía låüi nhuáûn seî thu âæåüc laì                                 $ 300 mil.
Giaï trë hiãûn taûi cuía chi phê cäng cäüng laì                                        $ 60 mil.

Låìi giaíi : Haîy âàût låüi nhuáûn åí tæí säú vaì chi phê åí máùu säú :

           Táút caí låüi nhuáûn                    300                        300
B/C =                                    =                           =                   = 1.5
           Táút caí chi phê                    100 + 40 + 60                  200

Mäüt caïch tênh khaïc laì so saïnh låüi nhuáûn thu âæåüc sau khi tênh caïc chi phê cuía ngæåìi sæí
duûng vaì chi phê cuía chênh phuí.


         ( låüi nhuáûn cäng cäüng ) - ( chi phê cäng cäüng )                  300 - 60        240
B/C =                                                                     =               =         = 1.7
                       Chi phê cuía chênh phuí                                100 + 40        140

Trong táút caí caïc caïch tênh trãn, giaï trë hiãûn taûi thuáön ( NPV) váùn khäng thay âäøi :

NPV = PW cuía låüi nhuáûn - PW cuía chi phê = 300 - 60 - 40 -100 = 100.



                                                         4
Coï hai phæång phaïp tênh giaï trë tyí säú B/C âæåüc trçnh báöy dæåïi âáy :

Phæång phaïp phán têch B/C cäø truyãön :

                 PW låüi nhuáûn cuía ngæåìi sæí duûng                       PW [B]
B/C =                                                        =
            PW cuía täøng chi phê cuía ngæåìi cung cáúp             PW[ CR +( O + M )]

trong âoï

        B -     Giaï trë haìng nàm cuía låüi nhuáûn cuía ngæåìi sæí duûng
        CR -    Chi phê phuûc häöi
        O -     Chi phê hoaût âäüng haìng nàm
        M -     Chi phê baío dæåîng

Phæång phaïp B/C coï sæía âäøi

                          PW [ B - ( O + M )]
        B/C =
                             PW [ CR ]

                          B-(O+M)
        B/C =
                            CR
Phæång phaïp sæía âäøi âæåüc sæí duûng räüng raîi trong caïc täø chæïc chênh phuí trong hån tháûp kyí
qua. Màûc duì caí hai phæång phaïp naìy thæåìng sæí duûng âãø so saïnh 2 phæång aïn loaûi træì láùn
nhau, chuïng váùn âæåüc duìng khi so saïnh caïc cå häüi âáöu tæ âäüc láûp.

Vê duû 2.2. Phán têch dæû aïn độc lập

Cå häüi âáöu tæ duy nháút vaìo mäüt dæû aïn seî âæåüc xem laì ráút täút nãúu tyí säú B/C låïn hån 1.0. Ta
haîy xem dæû aïn làõp âàût mäüt hãû thäúng quaín lyï kho xæåíng våïi nhæîng dæî liãûu sau:

Giaï trë âáöu tæ ban âáöu                            $ 20,000
Tuäøi thoü cuía dæû aïn                              5 nàm
Giaï trë thanh lyï                                   $ 4,000
Doìng tiãön tiãút kiãûm âæåüc haìng nàm              $ 10,000
Chi phê O & M                                        $ 4,400
MARR                                                 15%

Trong træåìng håüp naìy, doìng tiãön tiãút kiãûm âæåüc haìng nàm âæåüc xem nhæ låüi nhuáûn do làõp
âàût hãû thäúng måïi naìy. Khi âoï tyí säú B/C âæåüc tênh nhæ sau :

        CR       = $ 20,000 ( A/P, 15%, 5) - $ 4,000(A/F, 15%, 5)
                 = $ 20,000 ( 0.2983) - $ 4,000(0.1483) = $ 5,373

                               B                       $ 10,000


                                                   5
B/C cäø truyãön =                              =                             = 1.02
                         CR + ( O + M)             $ 5,373 + $ 4,400


                         B-(O+M)                   $ 10,000 - $ 4,400
B/C sæía âäøi   =                            =                               = 1.04
                              CR                            $ 5,373

Båíi vç trong caí hai caïch tênh , tyí säú B/C âãöu låïn hån 1, do âoï âáöu tæ laì håüp lyï. Tuy nhiãn,
chi phê cå häüi gàõn liãön våïi viãûc máút caïc khaí nàng âáöu tæ khaïc. Hay noïi caïch khaïc, mäüt âãö
nghë dæû aïn våïi tyí säú B/C>1 chæa hàón laì nháút thiãút phaíi theo âuäøi âãún cuìng.

Vê duû 2.3 So saïnh caïc phæång aïn loaûi træì láùn nhau ( Exclusive Alternatives)

Khi so saïnh caïc phæång aïn loaûi træì láùn nhau, âãø tênh caïc tyí säú B/C ngæåìi ta thæåìng duìng
caïc caïch tiãúp cáûn tàng dáön . Caïc nguyãn tàõc vaì caïc chè tiãu læûa choün âæåüc mä taí tæång tæû
khi tênh tyí säú B/C thäng thæåìng, chè khaïc âæåüc hiãûu chènh bàòng caïc bæåïc chãnh lãûch.

Phán têch låüi nhuáûn - chi phê duìng trong caïc laînh væûc cäng cäüng thæåìng âæåüc xáy dæûng dæûa
trãn nhiãöu quan âiãøm. Caïc caïch tiãúp cáûn khaïc nhau naìy coï aính hæåíng nhiãöu âãún nhæîng kãút
quaí âáöu ra. Nhæîng caïch tiãúp cáûn âoï laì :

•   Khi caïc cå quan chênh phuí thæûc hiãûn dæû aïn
•   Khi caïc cå quan âëa phæång thæûc hiãûn dæû aïn
•   Khi laì dæû aïn quäúc gia
•   Khi laì dæû aïn cuía mäüt ngaình cäng nghiãûp

Âiãöu âoï ráút quan troüng khi nghiãn cæïu khaí thi, caïc nhaì phán têch cáön phaíi nàõm roî âäúi
tæåüng vaì muûc âêch cuía dæû aïn. Vê duû, nãúu nhæ muûc âêch cuía dæû aïn laì nhàòm náng cao phuïc
låüi xaî häüi, khi âoï caïc nhaì phán têch cáön phaíi chuï yï âãún caïc phæång aïn mang tênh chênh
saïch vaì phuûc vuû cho toaìn bäü dán trong næåïc hoàûc trong vuìng. Quan âiãøm quäúc gia trong
viãûc læûa choün dæû aïn gáön nhæ laì håüp lyï cho toaìn bäü caïc dæû aïn âæåüc âáöu tæ cuía chênh phuí,
xong trãn thæûc tãú âa säú caïc dæû aïn âoï thæåìng âem laûi låüi nhuáûn cho mäüt säú vuìng hoàûc bäü
pháûn dán cæ naìo âoï hoàûc khoï coï thãø âaïnh giaï bàòng säú cuía hiãûu quaí âäúi våïi toaìn quäúc gia.

Vê duû 2.4 Chênh phuí muäún phã duyãût cho mäüt dæû aïn trë giaï $ 5,000,000 cuía mäüt nhaì saín
xuáút hoïa cháút âënh måí nhaì maïy taûi mäüt vuìng hoang vàõng. Theo nhæ dæû tênh, nhaì maïy måïi
seî taûo cäng viãûc cho hån 200 cäng nhán vaì thuïc âáøy caïc nhaì saín xuáút trong khu væûc lán
cáûn måí räüng saín xuáút, dëch vuû thæång maûi vaì du lëch. Låüi nhuáûn æåïc tênh tæì cäng viãûc vaì
caíi thiãûn thæång maûi vaì du lëch lãn tåïi $ 1,000,000 mäùi nàm. Tyí lãû chiãút kháúu 6 % nàm, dæû
aïn keïo daìi 20 nàm. Haîy tênh B/C vaì xaïc âënh dæû aïn coï nãn tiãún haình hay khäng. Låìi giaíi:
PW cuía låüi nhuáûn = $ 1,000,000 ( P/A, 6%, 20) = $ 11,470,000
                          11,470,000
          B/C =                           = 2.3
                          5,000,000


                                                   6
Kãút quaí : Nhaì maïy âæåüc xáy dæûng våïi sæû cháúp thuáûn taìi tråü cuía nhaì næåïc, nhæng hãû thäúng
thiãút bë baío vãû mäi træåìng âaî khäng âæåüc làõp âàût. Trong quaï trçnh hoaût âäüng , caïc nguyãn
váût liãûu vaì caïc cháút thaíi khaïc âæåüc âäø thàóng ra säng gáy ä nhiãùm mäi træåìng nàûng. Caï bë
chãút vaì næåïc tråí nãn nguäön gáy nhiãùm bãûnh cho nhán dán xung quanh. Làõp âàût thãm thiãút
bë kiãøm soaït mäi træåìng seî laìm cho toaìn bäü dæû aïn tråí nãn khäng kinh tãú vaì cuäúi cuìng nhaì
maïy phaíi âoïng cæía.

Kãút luáûn : Båíi leî chi phê chæa âæåüc tênh hãút trong quaï trçnh khaío saït ban âáöu, do âoï kãút quaí
tæåíng chæìng nhæ ráút thuyãút phuûc. Våïi caïch nhçn saït thæûc hån cuìng våïi khaío saït caïc yãúu täú
cáön thiãút cho âäúi tæåüng nghiãn cæïu, kãút quaí seî khaí quan hån.

Phæång phaïp tiãúp cáûn tæìng bæåïc :

Âãø tiãún haình phán têch låüi nhuáûn - chi phê âäúi våïi mäüt dæû aïn âáöu tæ, caïc bæåïc vaì trçnh tæû
sau âáy cáön âæåüc tiãún haình :

•   Xaïc âënh váún âãö roî raìng
•   Xaïc âënh cuû thãø caïc muûc tiãu cáön âæåüc hoaìn thaình
•   Xáy dæûng caïc phæång aïn thoía maîn caïc muûc tiãu âãö ra
•   Xaïc âënh caïc raìng buäüc ( Vãö cäng nghãû, chênh saïch, xaî häüi, taìi chênh....) täön taûi trong
    mäi træåìng liãn quan. Bæåïc naìy seî så læåüc båït caïc phæång aïn âaî âæåüc taûo ra.
•   Xaïc âënh vaì liãût kã låüi nhuáûn vaì chi phê âäúi våïi tæìng phæång aïn vaì quy âäøi bàòng tiãön.
•   Tênh caïc hãû säú B/C vaì caïc chè säú khaïc( giaï trë hiãûn thåìi, tyí suáút thu häüi, caïc âáöu tæ cáön
    thiãút, thåìi gian thu häöi väún ) cho tæìng dæû aïn.
•   Chuáøn bë baïo caïo cuäúi kyì, so saïnh caïc kãút quaí vaì âaïnh giaï caïc phæång aïn.

2.4 PHÁN TÊCH CHI PHÊ - HIÃÛU QUAÍ

Khi so saïnh hai dæû aïn coï cuìng tyí säú B/C, dæû aïn naìo chi phê låïn hån seî coï tyí lãû thu häöi väún
cao hån. Trong âa säú caïc træåìng håüp, mäüt dæû aïn thæåìng coï giåïi haûn vãö taìi chênh, hay noï
caïch khaïc dæû aïn coï thãø laì khaí thi vãö màût kyî thuáût nhæng laûi khäng khaí thi vãö màût kinh tãú
tháûm chê trong træåìng håüp coï tyí säú B/C cao hån. Trong nhæîng træåìng håüp nhæ thãú chuïng ta
cáön biãút dæû aïn naìo coï hiãûu quaí sæí duûng tiãön håüp lyï nháút. Âãø traí låìi hoi cáu håíi âoï, phán
têch chi phi - hiãûu quaí ( Cost -Effectiveness C-E) cáön phaíi âæåüc tiãún haình.

Trong phán têch naìy , váún âãö táûp chung khäng chè åí hãû säú thu häöi väún vaì caïc chè tiãu khaïc
âæåüc âo båíi nhæîng táûp håüp caïc chè säú. Hiãûu quaí cuía hãû thäúng coï thãø âæåüc âo båíi mäüt loaût
caïc chæïc nàng âaût âæåüc nhæîng yãu cáöu cuû thãø. Caïc chæïc nàng âoï coï thãø laì tênh sàôn coï , tênh
phuû thuäüc vaì khaí nàng cuía hãû thäúng.

Sau âáy laì taïm bæåïc cáön thiãút âãø tiãún haình mäüt phán têch C-E

•   Xaïc âënh muûc âêch mong muäún


                                                     7
•    Xaïc âënh nhiãûm vuû yãu cáöu
 •    Xáy dæûng hãû thäúng caïc phæång aïn
 •    Thaình láûp caïc chè tiãu âaïnh giaï
 •    Xaïc âënh khaí nàng cuía tæìng phæång aïn
 •    Phán têch kãút quaí cuía tæìng phæång aïn
 •    Phán têch âäü aính hæåíng lãn kãút quaí âáöu ra cuía caïc nhán täú
 •    Láûp baïo caïo vaì caïc kiãún nghë

 Váún âãö quan troüng laì xaïc âënh ra âæåüc thang âiãøm vaì caïch thæïc âaïnh giaï caïc chè tiãu âoï.
 Mä hçnh cho âiãøm ráút hay âæåüc sæí duûng. ÅÍ âáy, ngæåìi ta laûi âaïnh giaï táöm quan troüng cuía
 mäùi mäüt chæïc nàng vaì keìm theo troüng säú, tiãúp tåïi laì cho âiãøm. Caïc âiãøm säú naìy âæåüc âæa
 ra mäüt caïch chuí quan vaì cuîng coï thãø âæåüc tênh dæûa trãn nhæîng tênh toaïn cå baín âäúi våïi caïc
 säú âo khaïch quan, caïc yï kiãún vaì lyï giaíi.

 Mäüt bæåïc tiãúp theo laì so saïnh hiãûu quaí âo âæåüc vaì chi phê cuía tæìng dæû aïn. Biãøu diãùn hçnh
 hoüc cuía hai yãúu täú naìy cho pheïp dãù daìng nháûn ra caïc mäúi quan hãû giæîa caïc yãúu täú. Mäùi mäüt
 dæû aïn âæåüc biãøu diãùn bàòng 1 âiãøm trãn âäö thë. Âæåìng näúi kãút quaí cuía caí 4 dæû aïn âang âæåüc
 goüi laì âæåìng biãn hiãûu quaí. Trãn âæåìng biãn âoï, dæû aïn 1 vaì 4 coï hiãûu quaí gáön nhæ nhau
 nhæng DA1 chi phê hån 30% so våïi DA4. Caïc dæû aïn coï kãút quaí nàòm trong vuìng tä âáûm laì
 khäng cháúp nháûn âæåüc. Âãø coï âæåüc nhuîng kãút quaí cuû thãø hån, mäüt säú yãu cáöu khaïc cáön
 phaíi âæåüc xem xeït tiãúp.
                        Hçnh 2.3 mä taí mäúi quan hãû giæîa hiãûu quaí vaì chi phê.


                                          Âæåìng hiãûu
                                          quaí
Hiãûu
                                                 4              1
quaí täø                   3
håüp
                 2
                 2
                                  Vuìng khäng cháúp nháûn




                           Täøng chi phê cuía hãû thäúng

 2.5 PHÁN TÊCH RUÍI RO - LÅÜI NHUÁÛN

 Phán têch ruíi ro - låüi nhuáûn laì caïc kyî thuáût âaïnh giaï ruíi ro vaì âaïnh giaï chi phê, låüi nhuáûn
 cuía caïc phæång aïn hoàûc caïc chênh saïch. Trçnh tæû cuía phán têch naìy bao gäöm xaïc âënh muûc
 tiãu , nhiãûm vuû cuía caïc bæåïc dæû aïn, xaïc âënh caïc giåïi haûn vaì phaûm vi , xáy dæûng nhæîng
 chuáøn mæûc âãø âo læåìng hiãûu quaí cuía caïc phæång aïn khaí thi.


                                                     8
Nhæîng nhiãûm vuû chênh cuía caïc phæång phaïp naìy laì biãøu diãùn bàòng säú caïc kãút quaí âo âæåüc
cuía ruíi ro vaì låüi nhuáûn cuía mäüt dæû aïn. Âãø tênh toaïn caïc con säú âoï, caïc phæång phaïp mä
hçnh mä phoíng, caïc trçnh tæû khoa hoüc âãø dæû âoaïn caïc truûc tràûc coï thãø xáøy ra cuìng våïi caïc
háûu quaí âi keìm. Cuäúi cuìng , mäüt bæåïc âaïnh giaï täøng håüp âæåüc tiãún haình nhàòm täø håüp caïc
kãút quaí âo âæåüc. Kãút quaí cuäúi cuìng bao gäöm caïc phán têch âäü nhaûy, trong âoï caïc giaí âënh
vaì caïc biãún säú coï thãø thay âäøi âãø phaïn xeït caïc kãút quaí âo âæåüc.

                Hçnh 2.4 Phán têch ruíi ro - låüi nhuáûn cuía hãû thäúng kyî thuáût.

                                               Phæång phaïp hãû thäúng
                                                  âaïnh giaï ruíi ro




            Hçnh thaình                             Phán têch                              Diãùn giaíi




     •    Xaïc âënh ruíi ro                •     Phán têch hãû thäúng             •    Quyãút âënh
     •    Thiãút kãú giaï trë hãû                vaì mä phoíng                    •    Láûp kãú hoaûch haình
          thäúng                                                                       âäüng
     •    Täø håüp hãû thäúng              •     Täúi æu hoïa vaì hiãûu           •    Thæûc hiãûn
                                                 chènh caïc phæång aïn



Trong bæåïc hçnh thaình , ngæåìi ta âënh nghéa hoàûc xaïc âënh daûng vaì phaûm vi cuía caïc ruíi ro
dæû âoaïn. Ráút nhiãöu phæång phaïp tiãúp cáûn hãû thäúng âæåüc sæí duûng trong giai âoaûn naìy nhæ
kyî thuáût nhoïm, saïng kiãún hoàûc yï kiãún caïc chuyãn gia.

Trong bæåïc phán têch , ngæåìi ta dæû tênh caïc truûc tràûc, caïc ruíi ro vaì nhæîng háûu quaí âi keìm
trong quaï trçnh phaït triãøn vaì thæûc hiãûn dæû aïn. Bæåïc naìy duìng âãø âaïnh giaï xaïc suáút cuía kãút
quaí vaì nhæîng dao âäüng âi keìm. Caïc phæång phaïp thæåìng âæåüc duìng åí âáy laì phán têch taïc
âäüng qua laûi, mä hçnh cáúu truïc vaì mä hçnh kinh tãú, láûp trçnh toaïn hoüc. Caïc âiãöu kiãûn ban
âáöu cuía giai âoaûn naìy âæåüc xaïc âënh tæì bæåïc hçnh thaình nãu trãn.

Trong bæåïc cuäúi cuìng, caïc diãùn giaíi dæûa trãn âàûc âiãøm vaì caïc chênh saïch cuía täø chæïc âäúi
våïi taïc âäüng cuía ruíi ro. Noï bao gäöm viãûc xaïc âënh caïc chæïc nàng cuía caïc caï nhán cuîng
nhæ caïc nhoïm trong quaï trçnh âaïnh giaï cuäúi cuìng. Phæång phaïp phán têch låüi nhuáûn - chi
phê thæåìng âæåüc sæí duûng trong bæåïc naìy.



                                                     9
Âãø diãùn giaíi kãút quaí cuía phæång phaïp phán têch naìy, ngæåìi ta thæåìng duìng âäö thë ruíi ro -
 låüi nhuáûn. Hçnh 2.5 mä taí caïc kãút quaí phán têch ruíi ro vaì låüi nhuáûn. So saïnh hai dæû aïn 1 vaì
 2 (DA1 & DA2) våïi mæïc låüi nhuáûn roìng dæû tênh laì $150 tr. vaì $ 200 tr. Âäúi våïi mäüt vaìi
 nhaì phán têch cho ràòng DA 2 coï låüi thãú hån nãúu tyí säú låüi nhuáûn/chi phê thêch håüp. Tuy
 nhiãn, âäúi våïi DA 2 xaïc suáút khäng coï låüi nhuáûn vaì âaût giaï trë låïn nháút laì 0.15 vaì 0.43.
 Trong khi âoï, DA 1 coï 83% khaí nàng âaût låüi nhuáûn täúi âa vaì ráút êt cå häüi coï âæåüc låüi
 nhuáûn êt hån hoàûc nhiãöu hån, hay noïi caïc khaïc DA 1 coï sai lãûch chuáøn beï. Ngoaìi ra, DA 2
 coï xaïc suáút 0.2 thu âæåüc låüi nhuáûn êt hån DA 1. Nhæîng ngæåìi daïm liãöu coï xu hæåïng læûa
 choün phæång aïn 2 hån.


Xaïc 0.82                                           Dæû aïn 1
suáút
låüi
nhuáûn
thu
âæåüc


                                                                                     Dæû aïn 2




                                            150                    200

                                                      Låüi nhuáûn thuáön mong âåüi
 Hçnh 2.5 Phán bäú xaïc suáút ruíi ro

 Kãút quaí phán têch ruíi ro vaì låüi nhuáûn âæåüc trçnh báöy dæåïi daûng âäö hoüa trãn thæåìng cho
 pheïp caïc nhaì phán têch quyãút âënh chênh xaïc hån vaì saït thæûc hån våïi nhæîng nháûn âënh cuía
 hoü vãö ruíi ro cuía hãû thäúng. Tuy nhiãn, traïch nhiãûm cuäúi cuìng âãø choün læûa vaì thæûc hiãûn dæû
 aïn âeì lãn vai nhaì quaín lyï . Mäüt âäü an toaìn cáön thiãút phaíi âæåüc thiãút kãú ngay tæì khi khåíi sæû
 dæû aïn, vaì táûp håüp nhæîng kinh nghiãûm vãö täø chæïc vaì thæûc hiãûn täút laì quan troüng âãø âaím baío
 hoaût âäüng cuía dæû aïn våïi âäü ruíi ro tháúp nháút.

 2.6 PHÆÅNG PHAÏP CÁY        QUYÃÚT ÂËNH


 Cáy quyãút âënh hay coìn âæåüc goüi chuäùi hoàûc maûng quyãút âënh , laì cäng cuû âàõc læûc âãø mä
 taí vaì giuïp âåî quaï trçnh phán têch caïc váún âãö trong âoï caïc quyãút âënh coï aính hæåíng keïo theo
 vaì thay âäøi theo thåìi gian. Phæång phaïp naìy coï taïc duûng ráút låïn trong thæûc tãú båíi våïi cáy
 quyãút âënh, caïc váún âãö phæïc taûp âæåüc phán chia thaình nhiãöu váún âãö âån giaín trong khi ruíi
 ro vaì caïc hãû quaí dãù âæåüc âaïnh giaï hån.



                                                     10
Cáy quyãút âënh laì mäüt phæång phaïp âäö thë duìng âãø mä taí caïc phæång aïn våïi nhæîng hoaût
âäüng näúi tiãúp maì ngæåìi phán têch coï thãø xaïc âënh âæåüc kãút quaí bàòng xaïc suáút. Cáy quyãút
âënh gäöm nhæîng pháön chênh sau :

Âiãøm quyãút âënh: Taûi âiãøm quyãút âënh, thæåìng âæåüc mä taí bàòng hçnh vuäng, nhaì quaín lyï
phaíi choün mäüt trong caïc phæång aïn våïi chuäùi caïc hoaût âäüng vaì caïc khaí nàng khaïc nhau.
Caïc hoaût âäüng naìy âæåüc näúi våïi nhau bàòng caïc muîi tãn, doüc theo noï laì biãøu diãùn chi phi
tæång æïng. Mäùi mäüt nhaïnh phæång aïn laûi coï thãø chæïa âæûng nhæîng âiãøm quyãút âënh hoàûc
âiãøm læûa choün khaïc.

Âiãøm læûa choün : Âiãøm læûa choün , âæåüc mä taí bàòng hçnh troìn, duìng âãø biãøu diãùn xaïc suáút
cuía caïc hoaût âäüng taûi thåìi âiãøm âoï. Taûi âoï, mäüt chuäùi caïc traûng thaïi xuáút hiãûn. Tãn caïc
traûng thaïi vaì xaïc suáút âi keìm âæåüc ghi trãn muîi tãn nhaïnh. Tiãúp theo mäùi traûng thaïi âoï coï
thãø coï caïc âiãøm quyãút âënh hoàûc âiãøm læûa choün khaïc.

Caïc bæåïc trong mä hçnh cáy quyãút âënh bao gäöm :

•   Xaïc âënh âiãøm quyãút âënh vaì caïc phæång aïn coï thãø taûi âiãøm âoï
•   Xaïc âënh âiãøm læûa choün vaì caïc traûng thaïi taûi âiãøm âoï
•   Æåïc tênh giaï trë cáön thiãút âãø tiãún haình phán têch, tênh xaïc suáút vaì chi phê cho tæìng traûng
    thaïi vaì caïc hoaût âäüng trong tæìng phæång aïn.
•   Phán têch tæìng phæång aïn, bàõt âáöu tæì nhæîng nhaïnh cáy daìi nháút vaì âi ngæåüc lãn tåïi
    âiãøm quyãút âënh âãø choün quyãút âënh täút nháút.




                                                   11
Hçnh 2.6 mä taí cáúu truïc cuía mäüt cáy quyãút âënh .
                                                                               Si Traûng thaïi
                                                                               Pi Xaïc suáút cuía Si
                                      Giaï trë dæû tênh cuía phæång aïn

                                                    EMV
                                                                                        P1             Kãút quaí

                                                                          S1
                                                                          S2            P2
                                                        2a                                             Kãút quaí
                 EMV              Phæång aïn A1                           S3
                                                                                        P3

                                                                                                       Kãút quaí

                    1              Phæång aïn A2
                                                                                        P1             Kãút quaí
                Âiãøm quyãút
                    âënh                                                  S1
                                                                          S2            P2
                                                        2b                                             Kãút quaí
EMV: Expected Monetary Value                                              S3
                                                                                        P3
                                                    Âiãøm læûa choün
                                                                                                       Kãút quaí
Vê duû 2.5: Quyãút âënh vãö tæû âäüng hoïa mäüt dáy chuyãön saín xuáút

Trong vê duû naìy, nhaì quaín lyï phaíi quyãút âënh tiãún haình hay khäng quaï trçnh tæû âäüng hoïa
mäüt dáy chuyãön saín xuáút. Phuû thuäüc vaìo thaình cäng cuía quaï trçnh tæû âäüng hoïa, caïc kãút quaí
coï thãø laì xáúu, täút hoàûc tuyãût våìi. Chi phê trong tæìng træåìng håüp laì - $ 90, $ 40, vaì $ 300
(âån vë $1000). Xaïc suáút dæû tênh ban âáöu : 0.5, 0.3, 0.2. Hçnh 2.7 laì cáy quyãút âënh mä taí
tçnh huäúng trãn. Caïc tênh toaïn cuía 2 phæång aïn trãn laì :

        Tæû âäüng hoïa :       -$ 90 ( 0.5) + $ 40(0.3) + $ 300 (0.2) = $ 27
        Khäng tæû âäüng hoïa : $ 0

Nhæîng tênh toaïn trãn cho tháúy ràòng phæång aïn täút nháút laì tæû âäüng hoïa nãúu dæûa trãn giaï trë
hiãûn taûi thuáön âem laûi laì $ 27 so våïi $ 0 nãúu khäng thæûc hiãûn dæû aïn. Tuy nhiãn, ruíi ro âi
keìm laì coï thãø läù âãún - $ 90 vaì nhaì quaín lyï coï thãø giaím nguy cå âoï bàòng caïch tàng cæåìng
thãm thäng tin vãö cäng nghãû måïi naìy.

Giaí sæí, âãø laìm mäüt nghiãn cæïu vãö cäng nghãû tæû âäüng hoïa täún máút $ 10 ( giaï trë hiãûn taûi -
PW). Nghiãn cæïu seî cho ta tháúy caïc khaí nàng vãö kyî thuáût tæû âäüng laì tháúp, coï hæïa heûn hoàûc


                                                   12
ráút täút. Giaí sæí, xaïc suáút cho caïc phæång aïn trãn laì 0.41,0.35 vaì 0.24. Så âäö åí hçnh 2.6 cho
tháúy caïc kãút quaí mong âåüi cuìng våïi chi phê vaì xaïc suáút cuía chuïng. Phæång phaïp chung âãø
quyãút âënh laì tçm phæång aïn taûo ra âæåüc giaï trë hiãûn taûi thuáön låïn nháút ( NPV max).

Hçnh 2.7 Så âäö cáy quyãút âënh cuía dæû aïn tæû âäüng hoïa våïi nghiãn cæïu khaí thi


                                  Xáúu ( 0.5)     - $ 90                                  Xáúu ( 0.73)      - $ 90
                                  Âæåüc( 0.3)         $ 40                                Âæåüc( 0.22)       $ 40
                        1a                                                      2a
                                  Täút ( 0.2)      $ 300                                  Täút ( 0.05)       $ 300
         Tæû âäüng                                                 Tæû âäüng
         hoïa                                                      hoïa


              Khäng tæû âäüng     $0                                                      Khäng tæû âäüng      $0
     1                                                        2A

                                                                                            Xáúu ( 0.43)      - $ 90
                             Taûm âæåüc                                                     Âæåüc( 0.34)        $ 40
   Nghiãn cæïu                                                                   2b
                             (0.41)
   cäng nghãû                                                                               Täút ( 0.23)       $ 300
                                                                   Tæû âäüng
                                                                   hoïa
                                   Hæïa heûn (0.35)                                         Khäng tæû âäüng     $0
                             1b
                                                              2B


                                           Ráút täút (0.24)
                                                                                             Xáúu ( 0.21)      - $ 90
                                                                                             Âæåüc( 0.37)        $ 40
                                                                                     2c
                                                                                             Täút ( 0.42)       $ 300
                                                                    Tæû âäüng
                                                                    hoïa
                                                                                            Khäng tæû âäüng     $0
                                                              2C




                                                      13
Baíng 2.6 Caïc tênh toaïn cho cäng nghãû tæû âäüng hoïa:



  Âiãøm          Phæång aïn                         NPV æåïc tênh                      Læûa choün
quyãút âënh
    2A        Tæû âäüng   - 2a     - $ 90(0.73) + $ 40(0.22)                         Khäng
                                   + $ 300(0.05)                    = - $ 41.9
              Khäng
              tæû âäüng                                             =   $0
    2B        Tæû âäüng   - 2b     - $ 90( 0.43) + $ 40(0.34)                        Tæû âäüng
                                   + $ 300(0.23)                    =    $ 43.9
              Khäng
              tæû âäüng                                             =    $0
    2C        Tæû âäüng   - 2c     - $ 90(0.21) + $ 40(0.37)                         Tæû âäüng
                                   + $ 300 (0.42)                   =    $ 121.9
              Khäng
              tæû âäüng                                             =   $0
     1        Tæû âäüng   - 2a     -$ 90 ( 0.5) + $ 40(0.3) +       =   $ 27
                                   $ 300 (0.2)
              Khäng
              tæû âäüng                                             =   $0
              Nghiãn cæïu          $ 0 (0.41) + $ 43.9(0.35)                         Nghiãn cæïu
              cäng nghãû -1b       + $ 121.9(0.24) - $ 10           = $ 34.62



Âàûc tênh näøi báût cuía cáy quyãút âënh laì cho pheïp nhaì quaín lyï nhçn tráût tæû logic cuía chuäùi
caïc quyãút âënh âäöng thåìi, xem xeït aính hæåíng cuía caïc quyãút âënh âäúi våïi nhæîng muûc âêch
cuía täø chæïc.




                                                 14

Ch 2 luachon

  • 1.
    LÆÛA CHOÜN DÆÛAÏN 1. Caïc bæåïc cuía quaï trçnh læûa choün dæû aïn. 2. Mä hçnh liãût kã vaì cho âiãøm 3. Phán têch låüi nhuáûn - chi phê 4. Phán têch chi phê - hiãûu quaí 5. Ruíi ro trong læûa choün dæû aïn 6. Mä hçnh cáy ra quyãút âënh 2.1. CAÏC BÆÅÏC CUÍA QUAÏ TRÇNH LÆÛA CHOÜN DÆÛ AÏN. Moüi dæû aïn âãöu âæåüc bàõt âáöu tæì nhæîng saïng kiãún . Caïc saïng kiãún naìy thæåìng âãún tæì nhiãöu nguäön khaïc nhau nhæ khaïch haìng, caïc nhaì cung cáúp, bäü pháûn quaín lyï cáúp cao cuîng nhæ tæì âäüi nguî cäng nhán. Âäúi våïi mäüt täø chæïc thäng thæåìng, caïc bæåïc cuía quaï trçnh læûa choün dæû aïn âæåüc bàõt âáöu tæì viãûc khaío saït caïc yï tæåíng vaì caïc bæåïc phán têch khaïc âæåüc mä taí trong hçnh 2.1. 2.2 MÄ HÇNH LIÃÛT KÃ VAÌ CHO ÂIÃØM Mä hçnh liãût kã vaì cho âiãøm laì mäüt trong säú caïc phæång phaïp thæåìng âæåüc sæí duûng cuía quaï trçnh khaío saït vaì læûa choün dæû aïn. Phæång phaïp naìy sæí duûng êt thäng tin ban âáöu vaì vç thãú noï thæåìng phuì håüp våïi caïc nháûn âënh så bäü ban âáöu,ì trong âiãöu kiãûn thiãúu huût thäng tin. Baíng 2.1 mä taí quaï trçnh sæí duûng mä hçnh. Mä hçnh âæåüc xáy dæûng tæì nhæîng chè tiãu hoàûc táûp håüp caïc yãu cáöu âäúi våïi dæû aïn. Trong baíng trãn, caïc chè tiãu laì låüi nhuáûn, thåìi gian âæa saín pháøm ra thë træåìng, ruíi ro vaì thaình cäng trong thæång maûi. Mäùi mäüt âãö nghë âæåüc âaïnh giaï theo thang âiãøm ba báûc. Mäüt giaí âënh åí âáy laì caïc chè tiãu noïi trãn coï troüng säú bàòng nhau. Täøng säú âiãøm cuía mäùi mäüt âãö nghë âæåüc ghi åí cäüt bãn phaíi. Trong säú âoï, ta choün ra dæû aïn coï âiãøm âaïnh giaï cao nháút âãø tiãúp tuûc nghiãn cæïu. Caïc âãö nghë coìn laûi âæåüc dæìng hoàûc taûm thåìi chåì. Baíng 2.1 Vê duû vãö mä hçnh liãût kã cho âiãøm. Chè tiãu Låüi nhuáûn Thåìi gian - Ruíi ro Thaình cäng thë træåìng Âiãøm 3 2 1 3 2 1 3 2 1 3 2 1 Täøng Dæû aïn A x x x x 10 Dæû aïn B x x x x 6 Dæû aïn C x x x x 8 1
  • 2.
    Hçnh 2.1 Quaïtrçnh âaïnh giaï vaì læûa choün dæû aïn Yãu cáöu dæû aïn Taûo yï tæåíng Chåì cå häüi Thu nháûp säú liãûu No No Dæû træî yï tæåíng Theo âuäøi Cháúm dæït yï tæåíng Yes Kháøn cáúp Khaío saït Xáy dæûng âãö nghë dæû aïn No No Sæía âäøi âãö nghë Theo âuäøi Yes Læûa choün Duyãût táút caí âãö nghë Thæï tæû æu tiãn Sàõp xãúp nguäön læûc Sàõp xãúp Thæï tæû Xáy dæûng häö så Xem xeït häö så No No Cáûp nháût vaì quay Theo âuäøi Phán têch caïc voìng khaí nàng Yes Bàõt âáöu tiãún haình 2
  • 3.
    Mäüt bæåïc phaïttriãøn thãm dæûa trãn mä hçnh liãût kã naìy laì âaïnh troüng säú vaìo caïc chè tiãu tuìy theo mæïc âäü quan troüng. Âãø xaïc âënh âæåüc troüng säú cho tæìng chè tiãu, caïch tiãúp cáûn nhoïm thæåìng âæåüc sæí duûng. Mäüt vê duû sæí duûng mä hçnh naìy laì khaío saït caïc dæû aïn âãø phaït triãøn saín pháøm måïi. Caïc chè tiãu âæåüc âaïnh giaï theo thang âiãøm tæì 0 âãún 30, trong âoï 0 tæång æïng våïi keïm vaì 30 æïng våïi xuáút sàõc. Baíng 2.2 Vê duû sæí duûng mä hçnh ghi âiãøm trong viãûc choün læûa dæû aïn Âiãøm säú Caïc chè tiãu Troüng säú Xuáút sàõc Täút Trung bçnh Keïm Täøng kãút 30 20 10 0 Coï thãø tiãu thuû âæåüc 0.25 x 6 Ruíi ro 0.20 x 4 Caûnh tranh 0.15 x 3 Giaï trë thãm vaìo 0.15 x 0 Cå häüi kyî thuáût 0.10 x 3 Sàôn coï cuía váût liãûu 0.10 x 1 Baío vãû baín quyãön 0.05 x x 0 Saín pháøm hiãûn taûi 0.05 1 1.00 18 Caïc troüng säú âæåüc xaïc âënh trong khoaíng [ 0 - 1]. Täøng quatï, caïc chè säú âæåüc tênh nhæ sau: Tj = Σi wi sij Trong âoï sij - Âiãøm säú cuía chè tiãu i våïi âaïnh giaï j wi- Troüng säú cho chè tiãu i Coï ráút nhiãöu caïch tênh caïc troüng säú, dæåïi âáy xin trçnh báöy 3 phæång phaïp thæåìng duìng nháút : * Caïc troüng säú bàòng nhau. Våïi N chè tiãu, caïc troüng säú laì : 1 wi = N * Nhoïm täøng troüng säú N - Ri + 1 Ri - Xãúp haûng cho chè tiãu i Wi = ΣNk=1 (N - Rk + 1) Rk - Xãúp haûng cho chè tiãu k * Troüng säú nghëch âaío 1/Ri Wi = ΣNk=1 (1/Rk) Låüi thãú cuía phæång phaïp tênh troüng säú laì coï tênh âãún sæû cán âäúi giæîa caïc chè tiãu. Báút låüi nàòm trong âäü thiãúu chênh xaïc vaì phuû thuäüc nhiãöu vaìo hãû thäúng âaïnh giaï troüng säú. 3
  • 4.
    2.3 PHÁN TÊCHLÅÜI NHUÁÛN (LÅÜI ICH) VAÌ CHI PHÊ Trong caïc cäng ty, âaïnh giaï caïc khaí nàng vaì cå häüi âáöìu tæ thæåìng âæåüc bàõt âáöu bàòng phán têch kyî thuáût. Bæåïc tiãúp theo laì so saïnh tyí lãû thu häöi väún cuía doìng tiãön dæû tênh taûo ra cuía mäùi mäüt phæång aïn trong caí chu kyì hoaût âäüng cuía noï. Caïc nghiãn cæïu kyî thuáût phaíi âæåüc tiãún haình âãø taûo ra caïc dæî liãûu cå såí ban âáöu. Sau âoï, caïc dæû tênh vãö chi phê, låüi nhuáûn seî âæåüc so saïnh thæåìng dæûa trãn phæång phaïp giaï trë hiãûn taûi sæí duûng pheïpì kháúu hao. Trong lénh væûc tæ nhán, caïc cäng ty thæåìng phaíi chi traí táút caí chi phê vaì thu vãö táút caí låüi nhuáûn. Trong khi caïc hoaût âäüng thuäüc sæû quaín lyï cuía chênh phuí laûi coï nhæîng caïch tiãúp cáûn khaïc âäúi våïi chi phê vaì låüi nhuáûn. Doanh thu thæåìng âæåüc taûo ra dæåïi daûng caïc hçnh thæïc thu thuãú khaïc nhau vaì âæåüc sæí duûng theo nhæîng yãu cáöu cuía xaî häüi. Hay noïi caïch khaïc, chênh phuí thç chi traí nhiãöu vaì låüi nhuáûn ráút êt, nãúu coï. Âoï laì mäüt trong nhæîng cå såí cuía caïc váún âãö khoï khàn trong viãûc âaût âæåüc cháúp thuáûn vãö âãö nghë mäüt dæû aïn. Phán têch låüi nhuáûn vaì chi phê ( B/C ) , trong âoï tyí säú B/C sæí duûng âãø phán têch caïc dæû aïn caûnh tranh láùn nhau. Mäüt cáu hoíi âàût ra laì caïc loaûi dæû aïn aính hæåíng nhæ thãú naìo âãún tyí säú naìy. Vê duû 2.1 Haîy tênh caïc chè säú B/C cho dæû aïn sau Trong mäüt tåì trçnh cuía dæû aïn chênh phuí, coï caïc váún âãö sau: Chi phê ban âáöu cho dæû aïn âæåüc traí båíi chênh phuí laì $ 100 mil. Giaï trë hiãûn taûi cuía chi phê baío dæåîng seî âæåüc traí båíi chênh phuí laì $ 40 mil. Giaï trë hiãûn taûi cuía låüi nhuáûn seî thu âæåüc laì $ 300 mil. Giaï trë hiãûn taûi cuía chi phê cäng cäüng laì $ 60 mil. Låìi giaíi : Haîy âàût låüi nhuáûn åí tæí säú vaì chi phê åí máùu säú : Táút caí låüi nhuáûn 300 300 B/C = = = = 1.5 Táút caí chi phê 100 + 40 + 60 200 Mäüt caïch tênh khaïc laì so saïnh låüi nhuáûn thu âæåüc sau khi tênh caïc chi phê cuía ngæåìi sæí duûng vaì chi phê cuía chênh phuí. ( låüi nhuáûn cäng cäüng ) - ( chi phê cäng cäüng ) 300 - 60 240 B/C = = = = 1.7 Chi phê cuía chênh phuí 100 + 40 140 Trong táút caí caïc caïch tênh trãn, giaï trë hiãûn taûi thuáön ( NPV) váùn khäng thay âäøi : NPV = PW cuía låüi nhuáûn - PW cuía chi phê = 300 - 60 - 40 -100 = 100. 4
  • 5.
    Coï hai phæångphaïp tênh giaï trë tyí säú B/C âæåüc trçnh báöy dæåïi âáy : Phæång phaïp phán têch B/C cäø truyãön : PW låüi nhuáûn cuía ngæåìi sæí duûng PW [B] B/C = = PW cuía täøng chi phê cuía ngæåìi cung cáúp PW[ CR +( O + M )] trong âoï B - Giaï trë haìng nàm cuía låüi nhuáûn cuía ngæåìi sæí duûng CR - Chi phê phuûc häöi O - Chi phê hoaût âäüng haìng nàm M - Chi phê baío dæåîng Phæång phaïp B/C coï sæía âäøi PW [ B - ( O + M )] B/C = PW [ CR ] B-(O+M) B/C = CR Phæång phaïp sæía âäøi âæåüc sæí duûng räüng raîi trong caïc täø chæïc chênh phuí trong hån tháûp kyí qua. Màûc duì caí hai phæång phaïp naìy thæåìng sæí duûng âãø so saïnh 2 phæång aïn loaûi træì láùn nhau, chuïng váùn âæåüc duìng khi so saïnh caïc cå häüi âáöu tæ âäüc láûp. Vê duû 2.2. Phán têch dæû aïn độc lập Cå häüi âáöu tæ duy nháút vaìo mäüt dæû aïn seî âæåüc xem laì ráút täút nãúu tyí säú B/C låïn hån 1.0. Ta haîy xem dæû aïn làõp âàût mäüt hãû thäúng quaín lyï kho xæåíng våïi nhæîng dæî liãûu sau: Giaï trë âáöu tæ ban âáöu $ 20,000 Tuäøi thoü cuía dæû aïn 5 nàm Giaï trë thanh lyï $ 4,000 Doìng tiãön tiãút kiãûm âæåüc haìng nàm $ 10,000 Chi phê O & M $ 4,400 MARR 15% Trong træåìng håüp naìy, doìng tiãön tiãút kiãûm âæåüc haìng nàm âæåüc xem nhæ låüi nhuáûn do làõp âàût hãû thäúng måïi naìy. Khi âoï tyí säú B/C âæåüc tênh nhæ sau : CR = $ 20,000 ( A/P, 15%, 5) - $ 4,000(A/F, 15%, 5) = $ 20,000 ( 0.2983) - $ 4,000(0.1483) = $ 5,373 B $ 10,000 5
  • 6.
    B/C cäø truyãön= = = 1.02 CR + ( O + M) $ 5,373 + $ 4,400 B-(O+M) $ 10,000 - $ 4,400 B/C sæía âäøi = = = 1.04 CR $ 5,373 Båíi vç trong caí hai caïch tênh , tyí säú B/C âãöu låïn hån 1, do âoï âáöu tæ laì håüp lyï. Tuy nhiãn, chi phê cå häüi gàõn liãön våïi viãûc máút caïc khaí nàng âáöu tæ khaïc. Hay noïi caïch khaïc, mäüt âãö nghë dæû aïn våïi tyí säú B/C>1 chæa hàón laì nháút thiãút phaíi theo âuäøi âãún cuìng. Vê duû 2.3 So saïnh caïc phæång aïn loaûi træì láùn nhau ( Exclusive Alternatives) Khi so saïnh caïc phæång aïn loaûi træì láùn nhau, âãø tênh caïc tyí säú B/C ngæåìi ta thæåìng duìng caïc caïch tiãúp cáûn tàng dáön . Caïc nguyãn tàõc vaì caïc chè tiãu læûa choün âæåüc mä taí tæång tæû khi tênh tyí säú B/C thäng thæåìng, chè khaïc âæåüc hiãûu chènh bàòng caïc bæåïc chãnh lãûch. Phán têch låüi nhuáûn - chi phê duìng trong caïc laînh væûc cäng cäüng thæåìng âæåüc xáy dæûng dæûa trãn nhiãöu quan âiãøm. Caïc caïch tiãúp cáûn khaïc nhau naìy coï aính hæåíng nhiãöu âãún nhæîng kãút quaí âáöu ra. Nhæîng caïch tiãúp cáûn âoï laì : • Khi caïc cå quan chênh phuí thæûc hiãûn dæû aïn • Khi caïc cå quan âëa phæång thæûc hiãûn dæû aïn • Khi laì dæû aïn quäúc gia • Khi laì dæû aïn cuía mäüt ngaình cäng nghiãûp Âiãöu âoï ráút quan troüng khi nghiãn cæïu khaí thi, caïc nhaì phán têch cáön phaíi nàõm roî âäúi tæåüng vaì muûc âêch cuía dæû aïn. Vê duû, nãúu nhæ muûc âêch cuía dæû aïn laì nhàòm náng cao phuïc låüi xaî häüi, khi âoï caïc nhaì phán têch cáön phaíi chuï yï âãún caïc phæång aïn mang tênh chênh saïch vaì phuûc vuû cho toaìn bäü dán trong næåïc hoàûc trong vuìng. Quan âiãøm quäúc gia trong viãûc læûa choün dæû aïn gáön nhæ laì håüp lyï cho toaìn bäü caïc dæû aïn âæåüc âáöu tæ cuía chênh phuí, xong trãn thæûc tãú âa säú caïc dæû aïn âoï thæåìng âem laûi låüi nhuáûn cho mäüt säú vuìng hoàûc bäü pháûn dán cæ naìo âoï hoàûc khoï coï thãø âaïnh giaï bàòng säú cuía hiãûu quaí âäúi våïi toaìn quäúc gia. Vê duû 2.4 Chênh phuí muäún phã duyãût cho mäüt dæû aïn trë giaï $ 5,000,000 cuía mäüt nhaì saín xuáút hoïa cháút âënh måí nhaì maïy taûi mäüt vuìng hoang vàõng. Theo nhæ dæû tênh, nhaì maïy måïi seî taûo cäng viãûc cho hån 200 cäng nhán vaì thuïc âáøy caïc nhaì saín xuáút trong khu væûc lán cáûn måí räüng saín xuáút, dëch vuû thæång maûi vaì du lëch. Låüi nhuáûn æåïc tênh tæì cäng viãûc vaì caíi thiãûn thæång maûi vaì du lëch lãn tåïi $ 1,000,000 mäùi nàm. Tyí lãû chiãút kháúu 6 % nàm, dæû aïn keïo daìi 20 nàm. Haîy tênh B/C vaì xaïc âënh dæû aïn coï nãn tiãún haình hay khäng. Låìi giaíi: PW cuía låüi nhuáûn = $ 1,000,000 ( P/A, 6%, 20) = $ 11,470,000 11,470,000 B/C = = 2.3 5,000,000 6
  • 7.
    Kãút quaí :Nhaì maïy âæåüc xáy dæûng våïi sæû cháúp thuáûn taìi tråü cuía nhaì næåïc, nhæng hãû thäúng thiãút bë baío vãû mäi træåìng âaî khäng âæåüc làõp âàût. Trong quaï trçnh hoaût âäüng , caïc nguyãn váût liãûu vaì caïc cháút thaíi khaïc âæåüc âäø thàóng ra säng gáy ä nhiãùm mäi træåìng nàûng. Caï bë chãút vaì næåïc tråí nãn nguäön gáy nhiãùm bãûnh cho nhán dán xung quanh. Làõp âàût thãm thiãút bë kiãøm soaït mäi træåìng seî laìm cho toaìn bäü dæû aïn tråí nãn khäng kinh tãú vaì cuäúi cuìng nhaì maïy phaíi âoïng cæía. Kãút luáûn : Båíi leî chi phê chæa âæåüc tênh hãút trong quaï trçnh khaío saït ban âáöu, do âoï kãút quaí tæåíng chæìng nhæ ráút thuyãút phuûc. Våïi caïch nhçn saït thæûc hån cuìng våïi khaío saït caïc yãúu täú cáön thiãút cho âäúi tæåüng nghiãn cæïu, kãút quaí seî khaí quan hån. Phæång phaïp tiãúp cáûn tæìng bæåïc : Âãø tiãún haình phán têch låüi nhuáûn - chi phê âäúi våïi mäüt dæû aïn âáöu tæ, caïc bæåïc vaì trçnh tæû sau âáy cáön âæåüc tiãún haình : • Xaïc âënh váún âãö roî raìng • Xaïc âënh cuû thãø caïc muûc tiãu cáön âæåüc hoaìn thaình • Xáy dæûng caïc phæång aïn thoía maîn caïc muûc tiãu âãö ra • Xaïc âënh caïc raìng buäüc ( Vãö cäng nghãû, chênh saïch, xaî häüi, taìi chênh....) täön taûi trong mäi træåìng liãn quan. Bæåïc naìy seî så læåüc båït caïc phæång aïn âaî âæåüc taûo ra. • Xaïc âënh vaì liãût kã låüi nhuáûn vaì chi phê âäúi våïi tæìng phæång aïn vaì quy âäøi bàòng tiãön. • Tênh caïc hãû säú B/C vaì caïc chè säú khaïc( giaï trë hiãûn thåìi, tyí suáút thu häüi, caïc âáöu tæ cáön thiãút, thåìi gian thu häöi väún ) cho tæìng dæû aïn. • Chuáøn bë baïo caïo cuäúi kyì, so saïnh caïc kãút quaí vaì âaïnh giaï caïc phæång aïn. 2.4 PHÁN TÊCH CHI PHÊ - HIÃÛU QUAÍ Khi so saïnh hai dæû aïn coï cuìng tyí säú B/C, dæû aïn naìo chi phê låïn hån seî coï tyí lãû thu häöi väún cao hån. Trong âa säú caïc træåìng håüp, mäüt dæû aïn thæåìng coï giåïi haûn vãö taìi chênh, hay noï caïch khaïc dæû aïn coï thãø laì khaí thi vãö màût kyî thuáût nhæng laûi khäng khaí thi vãö màût kinh tãú tháûm chê trong træåìng håüp coï tyí säú B/C cao hån. Trong nhæîng træåìng håüp nhæ thãú chuïng ta cáön biãút dæû aïn naìo coï hiãûu quaí sæí duûng tiãön håüp lyï nháút. Âãø traí låìi hoi cáu håíi âoï, phán têch chi phi - hiãûu quaí ( Cost -Effectiveness C-E) cáön phaíi âæåüc tiãún haình. Trong phán têch naìy , váún âãö táûp chung khäng chè åí hãû säú thu häöi väún vaì caïc chè tiãu khaïc âæåüc âo båíi nhæîng táûp håüp caïc chè säú. Hiãûu quaí cuía hãû thäúng coï thãø âæåüc âo båíi mäüt loaût caïc chæïc nàng âaût âæåüc nhæîng yãu cáöu cuû thãø. Caïc chæïc nàng âoï coï thãø laì tênh sàôn coï , tênh phuû thuäüc vaì khaí nàng cuía hãû thäúng. Sau âáy laì taïm bæåïc cáön thiãút âãø tiãún haình mäüt phán têch C-E • Xaïc âënh muûc âêch mong muäún 7
  • 8.
    Xaïc âënh nhiãûm vuû yãu cáöu • Xáy dæûng hãû thäúng caïc phæång aïn • Thaình láûp caïc chè tiãu âaïnh giaï • Xaïc âënh khaí nàng cuía tæìng phæång aïn • Phán têch kãút quaí cuía tæìng phæång aïn • Phán têch âäü aính hæåíng lãn kãút quaí âáöu ra cuía caïc nhán täú • Láûp baïo caïo vaì caïc kiãún nghë Váún âãö quan troüng laì xaïc âënh ra âæåüc thang âiãøm vaì caïch thæïc âaïnh giaï caïc chè tiãu âoï. Mä hçnh cho âiãøm ráút hay âæåüc sæí duûng. ÅÍ âáy, ngæåìi ta laûi âaïnh giaï táöm quan troüng cuía mäùi mäüt chæïc nàng vaì keìm theo troüng säú, tiãúp tåïi laì cho âiãøm. Caïc âiãøm säú naìy âæåüc âæa ra mäüt caïch chuí quan vaì cuîng coï thãø âæåüc tênh dæûa trãn nhæîng tênh toaïn cå baín âäúi våïi caïc säú âo khaïch quan, caïc yï kiãún vaì lyï giaíi. Mäüt bæåïc tiãúp theo laì so saïnh hiãûu quaí âo âæåüc vaì chi phê cuía tæìng dæû aïn. Biãøu diãùn hçnh hoüc cuía hai yãúu täú naìy cho pheïp dãù daìng nháûn ra caïc mäúi quan hãû giæîa caïc yãúu täú. Mäùi mäüt dæû aïn âæåüc biãøu diãùn bàòng 1 âiãøm trãn âäö thë. Âæåìng näúi kãút quaí cuía caí 4 dæû aïn âang âæåüc goüi laì âæåìng biãn hiãûu quaí. Trãn âæåìng biãn âoï, dæû aïn 1 vaì 4 coï hiãûu quaí gáön nhæ nhau nhæng DA1 chi phê hån 30% so våïi DA4. Caïc dæû aïn coï kãút quaí nàòm trong vuìng tä âáûm laì khäng cháúp nháûn âæåüc. Âãø coï âæåüc nhuîng kãút quaí cuû thãø hån, mäüt säú yãu cáöu khaïc cáön phaíi âæåüc xem xeït tiãúp. Hçnh 2.3 mä taí mäúi quan hãû giæîa hiãûu quaí vaì chi phê. Âæåìng hiãûu quaí Hiãûu 4 1 quaí täø 3 håüp 2 2 Vuìng khäng cháúp nháûn Täøng chi phê cuía hãû thäúng 2.5 PHÁN TÊCH RUÍI RO - LÅÜI NHUÁÛN Phán têch ruíi ro - låüi nhuáûn laì caïc kyî thuáût âaïnh giaï ruíi ro vaì âaïnh giaï chi phê, låüi nhuáûn cuía caïc phæång aïn hoàûc caïc chênh saïch. Trçnh tæû cuía phán têch naìy bao gäöm xaïc âënh muûc tiãu , nhiãûm vuû cuía caïc bæåïc dæû aïn, xaïc âënh caïc giåïi haûn vaì phaûm vi , xáy dæûng nhæîng chuáøn mæûc âãø âo læåìng hiãûu quaí cuía caïc phæång aïn khaí thi. 8
  • 9.
    Nhæîng nhiãûm vuûchênh cuía caïc phæång phaïp naìy laì biãøu diãùn bàòng säú caïc kãút quaí âo âæåüc cuía ruíi ro vaì låüi nhuáûn cuía mäüt dæû aïn. Âãø tênh toaïn caïc con säú âoï, caïc phæång phaïp mä hçnh mä phoíng, caïc trçnh tæû khoa hoüc âãø dæû âoaïn caïc truûc tràûc coï thãø xáøy ra cuìng våïi caïc háûu quaí âi keìm. Cuäúi cuìng , mäüt bæåïc âaïnh giaï täøng håüp âæåüc tiãún haình nhàòm täø håüp caïc kãút quaí âo âæåüc. Kãút quaí cuäúi cuìng bao gäöm caïc phán têch âäü nhaûy, trong âoï caïc giaí âënh vaì caïc biãún säú coï thãø thay âäøi âãø phaïn xeït caïc kãút quaí âo âæåüc. Hçnh 2.4 Phán têch ruíi ro - låüi nhuáûn cuía hãû thäúng kyî thuáût. Phæång phaïp hãû thäúng âaïnh giaï ruíi ro Hçnh thaình Phán têch Diãùn giaíi • Xaïc âënh ruíi ro • Phán têch hãû thäúng • Quyãút âënh • Thiãút kãú giaï trë hãû vaì mä phoíng • Láûp kãú hoaûch haình thäúng âäüng • Täø håüp hãû thäúng • Täúi æu hoïa vaì hiãûu • Thæûc hiãûn chènh caïc phæång aïn Trong bæåïc hçnh thaình , ngæåìi ta âënh nghéa hoàûc xaïc âënh daûng vaì phaûm vi cuía caïc ruíi ro dæû âoaïn. Ráút nhiãöu phæång phaïp tiãúp cáûn hãû thäúng âæåüc sæí duûng trong giai âoaûn naìy nhæ kyî thuáût nhoïm, saïng kiãún hoàûc yï kiãún caïc chuyãn gia. Trong bæåïc phán têch , ngæåìi ta dæû tênh caïc truûc tràûc, caïc ruíi ro vaì nhæîng háûu quaí âi keìm trong quaï trçnh phaït triãøn vaì thæûc hiãûn dæû aïn. Bæåïc naìy duìng âãø âaïnh giaï xaïc suáút cuía kãút quaí vaì nhæîng dao âäüng âi keìm. Caïc phæång phaïp thæåìng âæåüc duìng åí âáy laì phán têch taïc âäüng qua laûi, mä hçnh cáúu truïc vaì mä hçnh kinh tãú, láûp trçnh toaïn hoüc. Caïc âiãöu kiãûn ban âáöu cuía giai âoaûn naìy âæåüc xaïc âënh tæì bæåïc hçnh thaình nãu trãn. Trong bæåïc cuäúi cuìng, caïc diãùn giaíi dæûa trãn âàûc âiãøm vaì caïc chênh saïch cuía täø chæïc âäúi våïi taïc âäüng cuía ruíi ro. Noï bao gäöm viãûc xaïc âënh caïc chæïc nàng cuía caïc caï nhán cuîng nhæ caïc nhoïm trong quaï trçnh âaïnh giaï cuäúi cuìng. Phæång phaïp phán têch låüi nhuáûn - chi phê thæåìng âæåüc sæí duûng trong bæåïc naìy. 9
  • 10.
    Âãø diãùn giaíikãút quaí cuía phæång phaïp phán têch naìy, ngæåìi ta thæåìng duìng âäö thë ruíi ro - låüi nhuáûn. Hçnh 2.5 mä taí caïc kãút quaí phán têch ruíi ro vaì låüi nhuáûn. So saïnh hai dæû aïn 1 vaì 2 (DA1 & DA2) våïi mæïc låüi nhuáûn roìng dæû tênh laì $150 tr. vaì $ 200 tr. Âäúi våïi mäüt vaìi nhaì phán têch cho ràòng DA 2 coï låüi thãú hån nãúu tyí säú låüi nhuáûn/chi phê thêch håüp. Tuy nhiãn, âäúi våïi DA 2 xaïc suáút khäng coï låüi nhuáûn vaì âaût giaï trë låïn nháút laì 0.15 vaì 0.43. Trong khi âoï, DA 1 coï 83% khaí nàng âaût låüi nhuáûn täúi âa vaì ráút êt cå häüi coï âæåüc låüi nhuáûn êt hån hoàûc nhiãöu hån, hay noïi caïc khaïc DA 1 coï sai lãûch chuáøn beï. Ngoaìi ra, DA 2 coï xaïc suáút 0.2 thu âæåüc låüi nhuáûn êt hån DA 1. Nhæîng ngæåìi daïm liãöu coï xu hæåïng læûa choün phæång aïn 2 hån. Xaïc 0.82 Dæû aïn 1 suáút låüi nhuáûn thu âæåüc Dæû aïn 2 150 200 Låüi nhuáûn thuáön mong âåüi Hçnh 2.5 Phán bäú xaïc suáút ruíi ro Kãút quaí phán têch ruíi ro vaì låüi nhuáûn âæåüc trçnh báöy dæåïi daûng âäö hoüa trãn thæåìng cho pheïp caïc nhaì phán têch quyãút âënh chênh xaïc hån vaì saït thæûc hån våïi nhæîng nháûn âënh cuía hoü vãö ruíi ro cuía hãû thäúng. Tuy nhiãn, traïch nhiãûm cuäúi cuìng âãø choün læûa vaì thæûc hiãûn dæû aïn âeì lãn vai nhaì quaín lyï . Mäüt âäü an toaìn cáön thiãút phaíi âæåüc thiãút kãú ngay tæì khi khåíi sæû dæû aïn, vaì táûp håüp nhæîng kinh nghiãûm vãö täø chæïc vaì thæûc hiãûn täút laì quan troüng âãø âaím baío hoaût âäüng cuía dæû aïn våïi âäü ruíi ro tháúp nháút. 2.6 PHÆÅNG PHAÏP CÁY QUYÃÚT ÂËNH Cáy quyãút âënh hay coìn âæåüc goüi chuäùi hoàûc maûng quyãút âënh , laì cäng cuû âàõc læûc âãø mä taí vaì giuïp âåî quaï trçnh phán têch caïc váún âãö trong âoï caïc quyãút âënh coï aính hæåíng keïo theo vaì thay âäøi theo thåìi gian. Phæång phaïp naìy coï taïc duûng ráút låïn trong thæûc tãú båíi våïi cáy quyãút âënh, caïc váún âãö phæïc taûp âæåüc phán chia thaình nhiãöu váún âãö âån giaín trong khi ruíi ro vaì caïc hãû quaí dãù âæåüc âaïnh giaï hån. 10
  • 11.
    Cáy quyãút âënhlaì mäüt phæång phaïp âäö thë duìng âãø mä taí caïc phæång aïn våïi nhæîng hoaût âäüng näúi tiãúp maì ngæåìi phán têch coï thãø xaïc âënh âæåüc kãút quaí bàòng xaïc suáút. Cáy quyãút âënh gäöm nhæîng pháön chênh sau : Âiãøm quyãút âënh: Taûi âiãøm quyãút âënh, thæåìng âæåüc mä taí bàòng hçnh vuäng, nhaì quaín lyï phaíi choün mäüt trong caïc phæång aïn våïi chuäùi caïc hoaût âäüng vaì caïc khaí nàng khaïc nhau. Caïc hoaût âäüng naìy âæåüc näúi våïi nhau bàòng caïc muîi tãn, doüc theo noï laì biãøu diãùn chi phi tæång æïng. Mäùi mäüt nhaïnh phæång aïn laûi coï thãø chæïa âæûng nhæîng âiãøm quyãút âënh hoàûc âiãøm læûa choün khaïc. Âiãøm læûa choün : Âiãøm læûa choün , âæåüc mä taí bàòng hçnh troìn, duìng âãø biãøu diãùn xaïc suáút cuía caïc hoaût âäüng taûi thåìi âiãøm âoï. Taûi âoï, mäüt chuäùi caïc traûng thaïi xuáút hiãûn. Tãn caïc traûng thaïi vaì xaïc suáút âi keìm âæåüc ghi trãn muîi tãn nhaïnh. Tiãúp theo mäùi traûng thaïi âoï coï thãø coï caïc âiãøm quyãút âënh hoàûc âiãøm læûa choün khaïc. Caïc bæåïc trong mä hçnh cáy quyãút âënh bao gäöm : • Xaïc âënh âiãøm quyãút âënh vaì caïc phæång aïn coï thãø taûi âiãøm âoï • Xaïc âënh âiãøm læûa choün vaì caïc traûng thaïi taûi âiãøm âoï • Æåïc tênh giaï trë cáön thiãút âãø tiãún haình phán têch, tênh xaïc suáút vaì chi phê cho tæìng traûng thaïi vaì caïc hoaût âäüng trong tæìng phæång aïn. • Phán têch tæìng phæång aïn, bàõt âáöu tæì nhæîng nhaïnh cáy daìi nháút vaì âi ngæåüc lãn tåïi âiãøm quyãút âënh âãø choün quyãút âënh täút nháút. 11
  • 12.
    Hçnh 2.6 mätaí cáúu truïc cuía mäüt cáy quyãút âënh . Si Traûng thaïi Pi Xaïc suáút cuía Si Giaï trë dæû tênh cuía phæång aïn EMV P1 Kãút quaí S1 S2 P2 2a Kãút quaí EMV Phæång aïn A1 S3 P3 Kãút quaí 1 Phæång aïn A2 P1 Kãút quaí Âiãøm quyãút âënh S1 S2 P2 2b Kãút quaí EMV: Expected Monetary Value S3 P3 Âiãøm læûa choün Kãút quaí Vê duû 2.5: Quyãút âënh vãö tæû âäüng hoïa mäüt dáy chuyãön saín xuáút Trong vê duû naìy, nhaì quaín lyï phaíi quyãút âënh tiãún haình hay khäng quaï trçnh tæû âäüng hoïa mäüt dáy chuyãön saín xuáút. Phuû thuäüc vaìo thaình cäng cuía quaï trçnh tæû âäüng hoïa, caïc kãút quaí coï thãø laì xáúu, täút hoàûc tuyãût våìi. Chi phê trong tæìng træåìng håüp laì - $ 90, $ 40, vaì $ 300 (âån vë $1000). Xaïc suáút dæû tênh ban âáöu : 0.5, 0.3, 0.2. Hçnh 2.7 laì cáy quyãút âënh mä taí tçnh huäúng trãn. Caïc tênh toaïn cuía 2 phæång aïn trãn laì : Tæû âäüng hoïa : -$ 90 ( 0.5) + $ 40(0.3) + $ 300 (0.2) = $ 27 Khäng tæû âäüng hoïa : $ 0 Nhæîng tênh toaïn trãn cho tháúy ràòng phæång aïn täút nháút laì tæû âäüng hoïa nãúu dæûa trãn giaï trë hiãûn taûi thuáön âem laûi laì $ 27 so våïi $ 0 nãúu khäng thæûc hiãûn dæû aïn. Tuy nhiãn, ruíi ro âi keìm laì coï thãø läù âãún - $ 90 vaì nhaì quaín lyï coï thãø giaím nguy cå âoï bàòng caïch tàng cæåìng thãm thäng tin vãö cäng nghãû måïi naìy. Giaí sæí, âãø laìm mäüt nghiãn cæïu vãö cäng nghãû tæû âäüng hoïa täún máút $ 10 ( giaï trë hiãûn taûi - PW). Nghiãn cæïu seî cho ta tháúy caïc khaí nàng vãö kyî thuáût tæû âäüng laì tháúp, coï hæïa heûn hoàûc 12
  • 13.
    ráút täút. Giaísæí, xaïc suáút cho caïc phæång aïn trãn laì 0.41,0.35 vaì 0.24. Så âäö åí hçnh 2.6 cho tháúy caïc kãút quaí mong âåüi cuìng våïi chi phê vaì xaïc suáút cuía chuïng. Phæång phaïp chung âãø quyãút âënh laì tçm phæång aïn taûo ra âæåüc giaï trë hiãûn taûi thuáön låïn nháút ( NPV max). Hçnh 2.7 Så âäö cáy quyãút âënh cuía dæû aïn tæû âäüng hoïa våïi nghiãn cæïu khaí thi Xáúu ( 0.5) - $ 90 Xáúu ( 0.73) - $ 90 Âæåüc( 0.3) $ 40 Âæåüc( 0.22) $ 40 1a 2a Täút ( 0.2) $ 300 Täút ( 0.05) $ 300 Tæû âäüng Tæû âäüng hoïa hoïa Khäng tæû âäüng $0 Khäng tæû âäüng $0 1 2A Xáúu ( 0.43) - $ 90 Taûm âæåüc Âæåüc( 0.34) $ 40 Nghiãn cæïu 2b (0.41) cäng nghãû Täút ( 0.23) $ 300 Tæû âäüng hoïa Hæïa heûn (0.35) Khäng tæû âäüng $0 1b 2B Ráút täút (0.24) Xáúu ( 0.21) - $ 90 Âæåüc( 0.37) $ 40 2c Täút ( 0.42) $ 300 Tæû âäüng hoïa Khäng tæû âäüng $0 2C 13
  • 14.
    Baíng 2.6 Caïctênh toaïn cho cäng nghãû tæû âäüng hoïa: Âiãøm Phæång aïn NPV æåïc tênh Læûa choün quyãút âënh 2A Tæû âäüng - 2a - $ 90(0.73) + $ 40(0.22) Khäng + $ 300(0.05) = - $ 41.9 Khäng tæû âäüng = $0 2B Tæû âäüng - 2b - $ 90( 0.43) + $ 40(0.34) Tæû âäüng + $ 300(0.23) = $ 43.9 Khäng tæû âäüng = $0 2C Tæû âäüng - 2c - $ 90(0.21) + $ 40(0.37) Tæû âäüng + $ 300 (0.42) = $ 121.9 Khäng tæû âäüng = $0 1 Tæû âäüng - 2a -$ 90 ( 0.5) + $ 40(0.3) + = $ 27 $ 300 (0.2) Khäng tæû âäüng = $0 Nghiãn cæïu $ 0 (0.41) + $ 43.9(0.35) Nghiãn cæïu cäng nghãû -1b + $ 121.9(0.24) - $ 10 = $ 34.62 Âàûc tênh näøi báût cuía cáy quyãút âënh laì cho pheïp nhaì quaín lyï nhçn tráût tæû logic cuía chuäùi caïc quyãút âënh âäöng thåìi, xem xeït aính hæåíng cuía caïc quyãút âënh âäúi våïi nhæîng muûc âêch cuía täø chæïc. 14