ENIS TP de méthodologie et matériels d’expertise
Benjeddou.0 et Jedidi.M Page 0
ECOLE NATIONALE D’INGENIEURS DE SFAX
Département de génie civil
FASCICULE DE TRAVAUX PRATIQUES DE :
METHODOLOGIE ET MATERIELS
D’EXPERTISE DES OUVRAGES DU GENIE CIVIL
Préparé par :
 Mr Benjeddou Omrane
 Mr Jedidi Malek
MARS 2012
ENIS TP de méthodologie et matériels d’expertise
Benjeddou.0 et Jedidi.M Page 1
SOMMAIRE
INTRODUCTION ...............................................................................................................3
TP N°1 : UTILISATION DU PROFOMETRE D’ARMATURES METALLIQUES .......4
I. But :..............................................................................................................................4
II. Références normatives ;.................................................................................................4
III. Présentation d’un profomètre :.......................................................................................4
1. Définition du profomètre :...........................................................................................4
2. Principe de fonctionnement :.......................................................................................4
3. Les applications d’un profpmètre: ...............................................................................5
4. Les limites d’un profomètre : ......................................................................................5
IV. Matériel nécessaire :......................................................................................................5
V. Mode opératoire : ..........................................................................................................5
VI. Travail demandé :..........................................................................................................7
TP N°2 : UTILISATION DU SCLEROMETRE ..............................................................10
I. But :............................................................................................................................10
II. Références normatives :...............................................................................................10
III. Principe de fonctionnement d’un scléromètre : ............................................................10
IV. Limites et avantages du scléromètre à béton : ..............................................................11
V. Matériel nécessaire :....................................................................................................12
VI. Mode opératoire : ........................................................................................................12
1. Utilisation du scléromètre : .......................................................................................12
2. Tarage du scléromètre sur éprouvettes de béton :.......................................................13
3. Mesures sur des ouvrages en béton armé :.................................................................15
VII.Travail demandé :........................................................................................................17
TP N°3 : PRELEVEMENT DES CAROTTES DE BETON DURCI...............................23
I. But :............................................................................................................................23
II. Références normatives :...............................................................................................23
III. Appareillage :..............................................................................................................23
IV. Mode opératoire de prélèvement des carottes :.............................................................24
1. Fixer le diamètre de la carotte : .................................................................................24
2. Choix de la zone de prélèvement :.............................................................................24
3. Extraction de la carotte :............................................................................................25
4. Longueur des carottes : .............................................................................................26
ENIS TP de méthodologie et matériels d’expertise
Benjeddou.0 et Jedidi.M Page 2
5. Marquage et identification :.......................................................................................26
6. Examen :...................................................................................................................26
V. Travail demandé :........................................................................................................28
TP N°4 : ESSAI DE COMPRESSION SUR UNE CAROTTE DE BETON DURCI.......31
I. But :............................................................................................................................31
II. Références normatives :...............................................................................................31
III. Appareillage :..............................................................................................................31
IV. Mode opératoires :.......................................................................................................32
V. Travail demandé:.........................................................................................................34
TP N°5 : MESURE DE LA PROFONDEUR DE CARBONATATION D’UN BETON
ARME PAR LA METHODE PHENOLPHTALEINE.....................................................39
I. But de l’essai :.............................................................................................................39
II. Références normatives :...............................................................................................39
III. Le phénomène de carbonatation du béton: ...................................................................39
1. Présentation du phénomène de la carbonatation :.......................................................39
2. Principe de mesure de la profondeur de carbonatation par la méthode à la
phénolphtaléine : ..................................................................................................................40
IV. Matériels nécessaires :.................................................................................................41
V. Mode opératoire : ........................................................................................................41
1. Essai sur un fragment de l’ouvrage :..........................................................................41
2. Essai sur une carotte de l’ouvrage : ...........................................................................42
VI. Travail demandé :........................................................................................................44
TP N°6 : MESURE DES OUVERTURES DES FISSURES .............................................48
I. But :............................................................................................................................48
II. Généralités sur les fissures :.........................................................................................48
1. Caractéristiques d’une fissure :..................................................................................48
2. Classification des fissures..........................................................................................49
3. Les causes les plus fréquentes des fissures :...............................................................49
4. Mesures de l’évolution des fissures : .........................................................................50
III. Appareillage :..............................................................................................................50
1. Le fissuromètre : .......................................................................................................50
2. Les jauges : ...............................................................................................................51
IV. Travail demandé :........................................................................................................54
Références bibliographiques.................................................................................................55
ENIS TP de méthodologie et matériels d’expertise
Benjeddou.0 et Jedidi.M Page 3
INTRODUCTION
Le béton armé est un matériau de base de structures largement utilisé depuis plus d’un
siècle, aussi bien dans les travaux publics que dans le bâtiment. Il peut se dégrader sous
l’influence de causes liées à sa qualité originelle ou à des sollicitations d’exploitation ou
d’environnement. Des pathologies apparentes ou cachées peuvent survenir. Afin de connaître
leur nature, leur étendue et leur potentialité d’évolution, on établit un diagnostic nécessaire
pour la prise des décisions relatives à la maintenance de l’ouvrage concerné.
L’activité de diagnostic désigne toute démarche relative à la caractérisation de l’état d’une
structure et de ses matériaux constitutifs. Les questions que l’on se pose lors du diagnostic
d’un ouvrage peuvent être résumées de la manière suivante :
 Quelles sont l’origine et l’étendue des désordres ?
 Quelles sont leur évolution probable et leurs conséquences sur la sécurité de l’ouvrage ?
 L’ouvrage est-il réparable et quelles sont les méthodes de réparation et/ou de protection
appropriée ?
Le diagnostic des ouvrages repose souvent sur la détection de zones d’altération, c'est-à-
dire de zones dans lesquelles les propriétés mécaniques ou chimiques se distinguent
significativement des valeurs représentatives des zones « saines ».
Il existe de très nombreuses méthodes ou techniques d’expertise qui peuvent aider à
diagnostiquer les principales causes des dégradations. C'est surtout l'expérience de l'ingénieur
spécialiste en réparations qui permettra de choisir la meilleure méthode de diagnostic parmi
l'ensemble des méthodes disponibles.
Les différentes méthodes d’expertise disponibles permettent de caractériser les propriétés
mécaniques du béton, de déterminer les caractéristiques chimiques et physiques du béton et de
caractériser le comportement l'environnement général de la structure.
Dance ce fascicule on a présenté les méthodes d’expertise suivantes :
 La détection d’armatures par un profomètre
 La détermination de la résistance à la compression du béton durci par un scléromètre
 La méthodologie de prélèvement des carottes de béton durci
 Essai de compression sur des carottes de béton durci
 Mesurage de la profondeur de carbonatation par la méthode de phénolphtaléine
 Mesure des ouvertures des fissures par un fissuromètre
ENIS TP de méthodologie et matériels d’expertise
Benjeddou.0 et Jedidi.M Page 4
TP N°1
UTILISATION DU PROFOMETRE
D’ARMATURES METALLIQUES
I. But :
Le but de l’essai est d’utiliser le profomètre pour :
 La détection d’armatures métalliques et leurs orientations dans le béton.
 La mesure de l’épaisseur d’enrobage de béton sur l’armature.
 Le traçage des schémas de ferraillages d’un poteau et d’une poutre.
II. Références normatives ;
La norme utilisée pour réalisé l’essai est :
 NORME BS 1881, Part 204 (1988), Testing concrete – Non destructive:
Recommendations of the use of electromagnetic covermeters.
III. Présentation d’un profomètre :
1. Définition du profomètre :
C’est un détecteur d’armatures métalliques légères et compactes, utilise la technologie non
destructrice d’induction pulsée pour permettre la localisation d’armatures métalliques dans le
béton. Il permet aussi d’estimer l’épaisseur d’enrobage des armatures.
2. Principe de fonctionnement :
Le fonctionnement des profomètres (Fig.1) est basé sur le principe des courants de
Foucault. Un courant de fréquence connue parcourt la bobine de la sonde, créant un champ
magnétique variable.
Les aciers se trouvant dans l’action de ce
champ sont parcourus par des courants de
Foucault, qui émettent à leur tour un champ
magnétique
Ce champ magnétique induit provoque une
altération de la tension de la bobine de réception
qui est fonction de l’épaisseur de la couverture du
béton et du diamètre de l’armature.
Fig.1 : Photo du profomètre utilisé
ENIS TP de méthodologie et matériels d’expertise
Benjeddou.0 et Jedidi.M Page 5
3. Les applications d’un profpmètre:
 Inspection de conformité de l’enrobage après le décoffrage ;
 Localisation des armatures métalliques pour les éviter lors du perçage des trous ;
 Fournit des données essentielles (position, enrobage, diamètre des armatures) pour les
calculs de résistance des structures en béton armé ;
 Mesure de l'épaisseur d'enrobage en béton ;
4. Les limites d’un profomètre :
La détection n’est pas possible au-delà de 8 cm d’épaisseur de béton. Dans le cas de
réseaux d’armatures très denses, la lecture est quelquefois incertaine. L’enrobage est détecté
avec une erreur de l’ordre de 4 mm, et le diamètre de l’acier est détecté avec une précision
de 2 mm.
IV. Matériel nécessaire :
Le matériel nécessaire pour réaliser l’essai est :
- Profomètre d’armature métallique pour béton
- Mètre ruban
V. Mode opératoire :
1. Mettre le profomètre en marche (Fig.2)
Choisir le type
d’armature
Choisir l’unité
de mesure
Mettre la sonde
en marche
Allumer ou
éteindre le
profomètre
Estimer le
diamètre de
l’aramature
Mettre le son
en marche
Fig.2 : les différentes touches du profomètre
ENIS TP de méthodologie et matériels d’expertise
Benjeddou.0 et Jedidi.M Page 6
2. Brancher la sonde
3. Choisir le type des armatures à détecter :
 Type 1 : HA (armatures haute adhérence)
 Type 2 : RL (rond lisse)
4. Recherche des armatures :
 Pour des armatures longitudinales, placer la sonde parallèlement à l’axe
longitudinal de l’élément (Fig.3-a).
 Pour des armatures transversales, placer la sonde perpendiculairement à l’axe
longitudinal de l’élément (Fig.3-b).
Fig.3-a : Fig.3-b :
Recherche des armatures longitudinales Recherche des armatures transversales
5. Balayer la zone jusqu’au remarquer une variation brusque des valeurs de l’épaisseur
d’enrobage. La valeur minimale affichée correspond à la position de la barre.
Il faut repérer la position des armatures trouvées (Fig.4).
Fig.4 : Repérage des armatures
ENIS TP de méthodologie et matériels d’expertise
Benjeddou.0 et Jedidi.M Page 7
6. Lire la valeur de l’épaisseur d’enrobage de chaque barre : C’est la valeur minimale
affichée sur le profomètre.
7. Mesurer la distance entre les cadres de l’élément (Fig.5).
Fig.5 : Mesure de la distance entre les cadres
VI. Travail demandé :
On s’intéresse à l’étude d’un poteau et d’une poutre d’essais en béton armé.
On vous demande de :
1. Ausculter visuellement le poteau.et la poutre;
2. Localiser les armatures transversales et longitudinales du poteau et de la poutre;
3. Déterminer l’épaisseur d’enrobage de chaque barre de la cage d’armatures du poteau et
celle de la poutre;
4. Tracer le schéma de ferraillage de chacun des deux éléments (Documents réponse 1 et 2);
5. Interpréter les résultats;
ENIS TP de méthodologie et matériels d’expertise
Benjeddou.0 et Jedidi.M Page 8
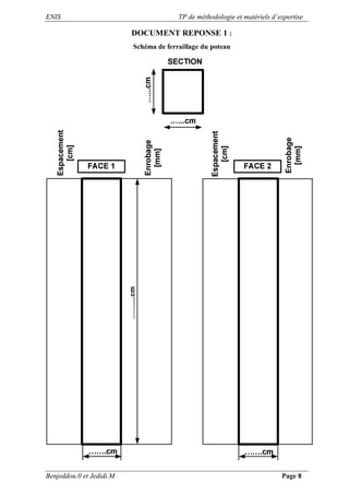
DOCUMENT REPONSE 1 :
Schéma de ferraillage du poteau
ENIS TP de méthodologie et matériels d’expertise
Benjeddou.0 et Jedidi.M Page 9
DOCUMENT REPONSE 2
Schéma de ferraillage de la poutre
ENIS TP de méthodologie et matériels d’expertise
Benjeddou.0 et Jedidi.M Page 10
TP N°2 UTILISATION DU SCLEROMETRE
I. But :
L’utilisation d’essais d’auscultation au scléromètre sur les matériaux de construction, en
particulier sur le béton, date de plusieurs décennies. Cet essai est destiné à mesurer la dureté
superficielle du béton et il existe une corrélation empirique entre la résistance et l’indice
scléromètrique. Le scléromètre, l’un des instruments les plus répandus dans le domaine des
contrôles non destructifs (CND), permet de déterminer la résistance à la compression du
béton sans procéder à un carottage.
Le scléromètre, appliqué sur une face de la partie à ausculter, permet aussi d’évaluer
l’homogénéité du béton in situ, pour déterminer des zones de faible qualité du béton
Finalement cette méthode d’auscultation est la plus rapide et la plus économique pour
évaluer la qualité et la résistance du béton.
II. Références normatives :
L’essai est basé sur les normes suivantes :
- NF P 18-417 : 1989, Mesure de la dureté de surface par rebondissement à l’aide d’un
scléromètre.
- NF EN 12504-2 : 2003, Essais pour béton dans les structures - Partie 2 : Essais non
destructifs - Détermination de l'indice de rebondissement.
- NF EN 12390-3:1999, Essais pour béton durci - Partie 3 : Résistance à la
compression des éprouvettes.
III. Principe de fonctionnement d’un scléromètre :
Le principe de fonctionnement du scléromètre est basé sur le principe de l’impact du
mouton ayant l’énergie normalisée sur la surface du béton, et de la mesure de la hauteur de
son rebondissement en unités conventionnelles de l’échelle de l’instrument étant une
caractéristique indirecte de la dureté du béton à la compression.
Ce rebondissement est d'autant plus important que le béton est dur. Un index fixé sur
l'appareil permet de déterminer l'indice scléromètrique.
Des études réalisées au LCPC ont montré que la corrélation empirique entre la résistance
à la compression et l’indice scléromètrique peut prendre la forme :
ENIS TP de méthodologie et matériels d’expertise
Benjeddou.0 et Jedidi.M Page 11
Rc =a.Is2
+b.Is +c
Avec :
 Is : indice sclérométrique
 Rc : résistance à la compression
 a, b et c : des paramètres empiriques
La surface sur laquelle l'essai est effectué peut être horizontale, verticale vers le bas ou
vers le haut. De ce fait la corrélation devra prendre en compte l'inclinaison de l'appareil par
rapport à cette surface.
La figure suivante présente une coupe longitudinale à travers le scléromètre à béton :
LEGENDE
1. Tige de percussion
2. Surface à examiner
3. Bâti
4. Repère avec tige
5. sans affectation
6. Bouton-poussoir complet
7. Barre de glissement
8. Disque de guidage
9. Calotte
10. Anneau de pression
11. Couvercle
12. Ressort de pression
13. Verrou
14. Marteau
15. Ressort amortisseur
16. Ressort de frappe
17. Douille
18. Rondelle de feutre
19. Fenêtre en plexiglas
20. Vis
21. Contre-écrou
22. Goupille
23. Ressort verrouilleur
Fig.6 : Coupe longitudinale à travers le scléromètre à béton
IV. Limites et avantages du scléromètre à béton :
Le scléromètre est une méthode peu coûteuse, simple et rapide pour connaître la
résistance du béton, mais une précision entre ±15 et ±20% n'est possible qu'avec des
éprouvettes qui ont été coulées et soumises à un traitement de cure et à des essais dans les
conditions pour lesquelles les courbes d'étalonnage ont été établies.
ENIS TP de méthodologie et matériels d’expertise
Benjeddou.0 et Jedidi.M Page 12
Les résultats sont influencés par des facteurs tels que la régularité de la surface, la grosseur
et la forme de l'éprouvette, le degré d'humidité du béton, le type de ciment et les plus gros
granulats et le degré de carbonatation de la surface.
V. Matériel nécessaire :
Le matériel nécessaire pour réaliser l’essai est :
 Un scléromètre numérique et sa courbe de conversion :
 Pierre à polir
Fig.7 : Scléromètre numérique Fig.8 : Pierre à polir
 Mètre ruban
 Presse à béton
Fig.9 : Mètre ruban Fig.10 : Presse à béton
VI. Mode opératoire :
1. Utilisation du scléromètre :
Les étapes d’utilisation du scléromètre à béton sont les suivantes :
 Libérer la sonde scléromètrique en pressant dessus
 Procéder à quelques frappes d'essai sur un support dur et lisse avec le scléromètre à
béton avant d'exécuter les mesures qui devront être analysées.
 Poncer au moyen de la pierre à polir les surfaces de texture rugueuse ou peu résistantes
ou couvertes de laitance jusqu'à ce qu'elles soient lisses (Fig.11).
 Maintenir fermement le scléromètre de manière à permettre à la tige de percussion de
frapper perpendiculairement la surface d'essai (Fig.12).
ENIS TP de méthodologie et matériels d’expertise
Benjeddou.0 et Jedidi.M Page 13
Fig.11 : Préparation de la surface Fig.12 : Méthode de frappe du scléromètre
 Augmenter progressivement la pression exercée sur la tige jusqu'au déclenchement du
choc.
 Après le choc, enregistrer l’indice sclérométrique.
 Déterminer l’indice sclérométrique qui est la valeur médiane des 27 mesures.
Remarque : Si plus de 20% de valeurs s’écartent de plus de 6 unités de la valeur médiane, la
série de mesure doit être considérée comme invalide.
 Utiliser la courbe de conversion (Annexe B) pour déterminer la résistance à la
compression de l’élément testé. Selon cette courbe, la résistance à la compression
dépend de l’indice sclérométrique et de la direction de frappe.
2. Tarage du scléromètre sur éprouvettes de béton :
Il est réalisé trois séries de trois éprouvettes de béton, correspondant aux trois niveaux de
résistance en compression 15, 25 et 35 MPa. Ces éprouvettes, préalablement rectifiées
conformément aux prescriptions de la norme NFP 18-416, doivent être cylindriques de
diamètre 16 cm et de hauteur 32 cm,
Les étapes de tarage du scléromètre à béton sur des éprouvettes cylindriques 16 x 32 cm
sont les suivantes :
a. Préparation de la surface de l’éprouvette:
Poncer au moyen de la pierre à polir
les surfaces de textures rugueuses ou peu
résistantes jusqu’à ce qu’elles soient
lisses (Fig.13). Il convient d'exclure les
éprouvettes présentant des nids de
cailloux, des écaillages, une texture
grossière ou une porosité élevée.
Fig.13 : Préparation de la surface de l’éprouvette
ENIS TP de méthodologie et matériels d’expertise
Benjeddou.0 et Jedidi.M Page 14
b. Préparation des points de mesures:
Tracer sur l’éprouvette 27 points de mesures. Ces points sont répartis sur 3 génératrices et
distants entre eux de 30 mm. Aucune mesure ne doit être située à moins de 40 mm des faces
planes de l’éprouvette (Fig.14).
Fig.14 : Préparation des points de mesure
c. Exécution des mesures :
Les éprouvettes sont maintenues entre les plateaux de la machine d’essais dont leur sens
de confection sous une contrainte de 0,5 MPa (Fig.15). L’appareil étant disposé
perpendiculairement à l’axe de l’éprouvette, il est relevé 27 mesures réparties sur les 27
points déjà préparés.
Fig.15 :Mesure de l’indice scléromètrique
Pour chaque éprouvette, l’indice scléromètrique Is est la médiane des 27 valeurs mesurées.
Les mesures de cet indice sont suivies d’un essai de résistance en compression. Les trois
couples de valeurs ainsi trouvées (Indice scléromètrique et résistance à la compression) sont
reportées sur le graphique de référence (Annexe A). Si les trois valeurs se trouvent à
ENIS TP de méthodologie et matériels d’expertise
Benjeddou.0 et Jedidi.M Page 15
l’intérieur du fuseau, le fonctionnement de l’appareil est correct. Dans le cas contraire, le
fonctionnement de l’appareil est défectueux. Une révision est nécessaire et un nouveau
certificat de tarage doit être établi à l’issue de cette révision.
d. Ecrasement des éprouvettes :
Les étapes de l’utilisation de la presse sont les suivantes :
1. Placez l’éprouvette surfacée au centre des 2 plateaux de la presse.
2. Si l’éprouvette n’est pas surfacée, utiliser un dispositif de remplacement (planchettes
en bois).
Fig.16 : Essai de compression sur l’éprouvette
3. Fermez la porte de sécurité
4. Mettre le dispositif en marche automatique jusqu'à la fissuration de l’éprouvette
5. Lire la valeur de la résistance à la compression affichée sur l’écran
6. Ouvrir la porte de sécurité et nettoyer la presse
3. Mesures sur des ouvrages en béton armé :
a. Choix de la surface d’essai :
Les éléments de béton soumis à l'essai doivent avoir une épaisseur minimale de 100 mm et
être encastrés dans une structure. Des corps d'épreuve de dimensions plus réduites peuvent
être testés à condition qu’ils soient fermement maintenus.
Il convient d'exclure les zones présentant des nids de cailloux, des écaillages, une texture
grossière ou une porosité élevée. Les zones qui présentent des armatures apparentes doivent
être aussi évitées.
b. Préparation de la surface d’essai :
 Les surfaces brutes de coffrage ou lissées à la truelle peuvent être soumises à l'essai sans
meulage préalable.
 Tout enduit ou peinture adhérant à la surface du béton à tester doit être éliminé.
ENIS TP de méthodologie et matériels d’expertise
Benjeddou.0 et Jedidi.M Page 16
 Les surfaces qui présentent une couche superficielle friable de ciment, des particules
étrangères, ainsi que de faibles irrégularités doivent être poncées avec la pierre à polir.
 Toute trace d'humidité constatée à la surface du béton doit être éliminée.
c. Exécution des mesures :
La surface d’essai doit être divisée en
zones d’au moins 400 cm2
(Par exemple : 25
cm x 25 cm) chacune. Le scléromètre doit être
perpendiculaire à la surface d’essai, il est pris
27 mesures sur chaque zone d’essais.
La distance entre deux points de mesure est
d’au moins 30 mm et aucun point ne doit se
situer à moins de 30 mm de l’un des bords de
la surface d’essai (Fig.17).
Fig.17 : Préparation des zones de mesure sur la poutre d’essai
L’indice scléromètrique Is est la médiane des 27 mesures effectuées sur la zone d’ouvrage
testée (Fig.18).
Fig.18 : Mesure de l’indice scléromètrique d’une zone de la poutre
ENIS TP de méthodologie et matériels d’expertise
Benjeddou.0 et Jedidi.M Page 17
Enfin, par report de l’indice scléromètrique sur la courbe de conversion (Annexe B)
du scléromètre et en considérant l’inclinaison du scléromètre, on obtient la résistance en
compression du béton de l’ouvrage considéré.
VII. Travail demandé :
1. Mesurer l’indice scléromètrique de trois éprouvettes de résistances à la compression
respectivement 15, 25 et 35 MPa. Présenter les résultats sur le document réponse 1.
2. Réaliser un essai de compression sur chaque éprouvettes et noter la valeur de la
résistance à la compression pour chacune des ces éprouvettes.
3. Reporter les trois couples de valeurs ainsi trouvées (Indice scléromètrique et résistance
à la compression) sur le graphique de référence (Annexe A).
4. Vérifier l’étalonnage du scléromètre utilisé.
5. Déterminer la résistance à la compression du béton d’une poutre d’essai en utilisant le
scléromètre. Présenter les résultats sur le document réponse 2.
6. Contrôler l’homogénéité du béton de la même poutre.
7. Interpréter les résultats obtenus ;
8. Préparer la fiche d’expertise de l’essai sclérometrique sur la poutre d’essai et ceci
selon le modèle présenté dans l’annexe C.
.
ENIS TP de méthodologie et matériels d’expertise
Benjeddou.0 et Jedidi.M Page 18
DOCUMENT REPONSE 1
Mesure de l’indice scléromètrique des 3 éprouvettes cylindriques 16x32 cm
Essai
Indice scléromètrique IS (MPa)
Indice scléromètrique par ordre
croissant IS (MPa)
Eprouvettes Eprouvettes
1 2 3 1 2 3
1
2
3
4
5
6
7
8
9
10
11
12
13
14
15
16
17
18
19
20
21
22
23
24
25
26
27
Indice scléromètrique IS
ENIS TP de méthodologie et matériels d’expertise
Benjeddou.0 et Jedidi.M Page 19
DOCUMENT REPONSE 2
Mesure de la résistance à la compression par un scléromètre
Essai
Indice scléromètrique IS (MPa)
Indice scléromètrique par ordre
croissant IS (MPa)
Zone 1 Zone 2 Zone 3 Zone 1 Zone 2 Zone 3
1
2
3
4
5
6
7
8
9
10
11
12
13
14
15
16
17
18
19
20
21
22
23
24
25
26
27
Indice sclérométrique IS
Indice sclérométrique moyenne ISm
La résistance à la compression Rc (MPa)
ENIS TP de méthodologie et matériels d’expertise
Benjeddou.0 et Jedidi.M Page 20
ANNEXE A
Graphique de référence
ENIS TP de méthodologie et matériels d’expertise
Benjeddou.0 et Jedidi.M Page 21
ANNEXE B
La courbe de conversion du scléromètre
ENIS TP de méthodologie et matériels d’expertise
Benjeddou.0 et Jedidi.M Page 22
ANNEXE C
Fiche d’expertise de l’essai scléromètrique sur la poutre d’essai
Date de l’essai : Heure de l’essai :
Norme :
Essai réalisé par :
Identification de l’ouvrage :
Localisation de la surface d’essai
(Dimensions des parois)
Schéma de l’élément testé Description de la surface
d’essai
Description du béton
Température au moment de l’essai T (°C)
Angle de direction de l’essai α (°)
Indice scléromètrique moyenne ISm
La résistance à la compression Rc (MPa)
ENIS TP de méthodologie et matériels d’expertise
Benjeddou.0 et Jedidi.M Page 23
TP N°3
PRELEVEMENT DES CAROTTES
DE BETON DURCI
I. But :
Certains essais, destinés à analyser les modifications des propriétés du béton, ne peuvent
être réalisés in situ. En conséquence, il convient de prélever des carottes et de les rapporter
dans un laboratoire pour les analyser. Ces analyses peuvent être demandé en vue de:
 L'identification des agrégats
 La détérioration des agrégats
 L'homogénéité du béton
 La profondeur d'une éventuelle carbonatation
 La répartition des fissures
 L'analyse chimique : la teneur en ciment, présence et quantité de chlorures.
 Des essais physico – mécaniques : densité, résistance à la compression, module
d'élasticité
II. Références normatives :
Le prélèvement des carottes de béton durci est basé sur les normes suivantes :
- NF EN 12504-1:2000, Essais pour béton dans les structures - Partie 1 : Carottes,
prélèvement, examen et essais en compression. Cette norme spécifie une méthode
permettant d'effectuer le prélèvement de carottes de béton durci, leur examen, leur
préparation avant l'essai et la détermination de leur résistance à la compression.
- NF EN 12390-1:1999, Essais pour béton durci - Partie 1 : Forme, dimensions et autres
exigences aux éprouvettes et aux moules.
III. Appareillage :
L’appareillage nécessaire pour cette opération est constitué de :
 Carotteuse : équipement assurant l'extraction de carottes de béton durci (Fig.19).
 Profomètre d’armatures (Fig.20).
 Équerres et gabarits: ils doivent permettre de vérifier la perpendicularité des carottes.
 Dispositif de mesure
 Scie électrique
 Balance ou matériel équivalent
ENIS TP de méthodologie et matériels d’expertise
Benjeddou.0 et Jedidi.M Page 24
Fig.19 : Carotteuse de béton durci Fig.20 : Profomètre d’armatures
IV. Mode opératoire de prélèvement des carottes :
Les étapes de prélèvement d’une carotte de béton durci d’une poutre d’essai sont les
suivantes :
1. Fixer le diamètre de la carotte :
Avant tout prélèvement de carottes, il est essentiel pour beaucoup de raisons de définir les
objectifs de l’essai et le mode d’interprétation des résultats. Le diamètre de la carotte à
prélever dépend de la dimension maximale des granulats du béton et du réseau d’armatures.
Le diamètre de la carotte est au moins égal à 3 fois la dimension maximale du gros granulat.
2. Choix de la zone de prélèvement :
Il est important de retenir que les échantillons doivent être représentatifs des éléments
structuraux analysés. Il est généralement utile de prélever des carottes non seulement dans les
parties les plus détériorées mais aussi dans les parties saines. L'analyse comparative des
résultats d'essais facilite souvent l'identification des causes des dégradations. A noter que le
carottage ne doit pas porter atteinte à la stabilité ou à la résistance structurelle de l'ouvrage.
Les armatures devront être repérées avant le
carottage (Fig.21), pour éviter autant que
faire se peut de récupérer des éprouvettes de
béton avec des armatures. Les carottes
utilisées pour déterminer la résistance à la
compression ne doivent contenir aucune
armature qui soit parallèle, ou presque
parallèle, à leur axe longitudinal.
Fig.21 : Répérage des armatures
ENIS TP de méthodologie et matériels d’expertise
Benjeddou.0 et Jedidi.M Page 25
3. Extraction de la carotte :
Les étapes de prélèvement sont :
1. Raccorder la carotteuse en eau à l'aide d'un tuyau d'eau classique.
2. Repérer l'emplacement de la carotte à prélever.
3. Positionner la carotteuse perpendiculairement à la surface (Fig.22).
4. Stabiliser la carotteuse.
5. Mettre en marche la carotteuse.
6. Ouvrir le robinet d'eau. Il faut voir l'eau arriver et couler. Ne percer jamais sans avoir
ouvert l'eau au risque d'endommager la carotteuse.
7. Commencer à percer doucement (Fig.23).
Fig.22 : Positionnement de la carotte Fig.23 : Extraction de la carotte
8. Si la carotte se bloque, remonter doucement
et refaite la descendante doucement.
9. Vérifier, également, en cours de perçage, que
la carotteuse est toujours bien fixée et
stabilisée.
10. Une fois le carottage est terminé, remonter
la tige doucement (Fig.24). La carotte de
béton, qui en résulte, peut être bloquée dans
le trou percé. Pour la retirer, il suffit de taper
doucement sur la carotte, à l'aide d'un petit
marteau, afin de faire des vibrations (Fig.25). Fig.24 : Fin d’extraction de la carotte
ENIS TP de méthodologie et matériels d’expertise
Benjeddou.0 et Jedidi.M Page 26
Fig.25 : Récupération de la carotte
4. Longueur des carottes :
Selon l’essai à réaliser on fixe la
longueur de la carotte. La longueur des
carottes doit être conditionnée par le
diamètre de la carotte et des méthodes de
rectification applicables.
A titre d’exemple, la longueur de la
carotte destinée à un essai d’écrasement
est fixée de façon que l’élancement soit
égal à 2.
Fig.26 : Réglage de la longueur de la carotte
5. Marquage et identification :
Immédiatement après l'extraction, marquer les carottes sans ambiguïté et de façon
indélébile. L'emplacement et l'orientation selon lesquels il a été procédé à l'extraction de la
carotte hors de l'ouvrage en béton doivent être consignés.
Si une carotte est découpée à plusieurs reprises afin de constituer un certain nombre
d'éprouvettes, chaque éprouvette doit être pourvue d'un marquage indiquant son emplacement
et son orientation par rapport à la carotte dont elle est issue.
6. Examen :
a. Inspection visuelle :
Une inspection visuelle des carottes de béton doit être effectuée afin de déceler la présence
d'anomalies. Les trous de carottage doivent être aussi examinés de façon à apporter des
informations supplémentaires sur la qualité du béton (Fig.27)
ENIS TP de méthodologie et matériels d’expertise
Benjeddou.0 et Jedidi.M Page 27
.
Fig.27 : Inspection visuelle de la carotte
b. Mesurages :
Apres extraction de la carotte, il faut vérifier ses mesures pour les rectifier en cas ou leurs
précision est au delà de ±1 %. Voici les mesures qui doivent être réalisées :
 Déterminer le diamètre moyen, avec une précision égale à ±1 %, à partir de deux
mesures effectuées dans deux directions orthogonales, au milieu et aux quarts de la
longueur de la carotte (Fig.28).
Fig.28 : Mesure du diamètre moyen de la carotte
 Mesurer avec une précision de ±1 % les longueurs maximale et minimale de la carotte
à la réception.
 Déterminer le diamètre de toute armature métallique ainsi que sa position en réalisant
un mesurage entre, d’une part, le centre de la barre concernée, et, d’autre part,
l’extrémité ou les extrémités de la carotte et/ou l’axe de la carotte, aussi bien lors de la
réception qu’à l’issue de la préparation. Les mesures doivent avoir une précision de ±1
mm.
ENIS TP de méthodologie et matériels d’expertise
Benjeddou.0 et Jedidi.M Page 28
V. Travail demandé :
1. Repérer les armatures d’une face de la poutre d’essai à l’aide d’un profomètre
d’armatures. Dessiner le schéma de ferraillage sur le document réponse.
2. Choisir la zone de prélèvement de la carotte.
3. Localiser, sur le document réponse, la zone de prélèvement de la carotte.
4. Prélever une carotte de diamètre 50 mm et d’élancement égal à 2 de la poutre d’essai en
béton armé.
5. Ausculter visuellement la carotte prélevée.
6. Déterminer la masse volumique du béton durci de la poutre.
7. Etablir la fiche de description de la carotte selon le modèle proposé dans l’annexe A.
ENIS TP de méthodologie et matériels d’expertise
Benjeddou.0 et Jedidi.M Page 29
DOCUMENT REPONSE
Schéma de ferraillage d’une face de la poutre
ENIS TP de méthodologie et matériels d’expertise
Benjeddou.0 et Jedidi.M Page 30
ANNEXE A
Fiche de description de la carotte
Date du prélèvement :
Norme :
Essai réalisé par :
Identification de l’ouvrage :
Localisation de la carotte :
Dimensions de la carotte :
Diamètre =
Hauteur =
Schéma de la carotte
- Description de la surface
- Description du béton
- Description de la matrice
cimentaire
- Description des granulats
ENIS TP de méthodologie et matériels d’expertise
Benjeddou.0 et Jedidi.M Page 31
TP N°4
ESSAI DE COMPRESSION SUR
UNE CAROTTE DE BETON DURCI
I. But :
L’objectif de cet essai est de caractériser la résistance à la compression du béton durci au
moment du prélèvement de la carotte. L’essai consiste donc à effectuer un essai de
compression sur une carotte de béton. La résistance à la compression obtenue sera comparée à
celle obtenue par l’essai scléromètrique.
II. Références normatives :
L’essai est basé sur les normes suivantes :
- NF EN 12504-1:2000, Essais pour béton dans les structures - Partie 1 : Carottes,
prélèvement, examen et essais en compression.
- NF EN 12504-2 : 2003, Essais pour béton dans les structures - Partie 2 : Essais non
destructifs - Détermination de l'indice de rebondissement.
- NF EN 12390-1:1999, Essais pour béton durci - Partie 1 : Forme, dimensions et autres
exigences aux éprouvettes et aux moules.
- NF EN 12390-3:1999, Essais pour béton durci - Partie 3 : Résistance à la compression
des éprouvettes.
- NF EN 12390-4:1999, Essais pour béton durci - Partie 4 : Résistance en compression -
Caractéristiques des machines d'essai.
- NF P 18-417 : 1989, Mesure de la dureté de surface par rebondissement à l’aide d’un
scléromètre.
- C 42/C 42M – 99, Standard Test Method for Obtaining and Testing Drilled Cores and
Sawed Beams of Concrete.
III. Appareillage :
- Carotteuse
- Machine d’essai en compression
- Calibre et/ou règles
- Scléromètre
- Profomètre d’armatures
- Mètre à ruban
ENIS TP de méthodologie et matériels d’expertise
Benjeddou.0 et Jedidi.M Page 32
IV. Mode opératoires :
Les différentes étapes pour réaliser l’essai de compression sur une carotte de béton durci sont
les suivantes :
1. Déterminer l’indice scléromètrique moyen sur trois zones de la poutre d’essai.
2. A partir de la courbe de conversion, déterminer la résistance à la compression du béton de
la poutre.
3. Repérer les armatures de la poutre pour éviter autant que faire se peut de récupérer des
éprouvettes de béton avec des armatures.
4. Il faut choisir le diamètre de la carotte en fonction de la dimension maximale du gros
granulat. Le diamètre de la carotte est au moins égal à 3 fois la dimension maximale du
gros granulat.
5. Fixer la zone de prélèvement de la carotte : Les carottes utilisées pour déterminer la
résistance à la compression ne doivent contenir aucune armature qui soit parallèle, ou
presque parallèle, à leur axe longitudinal. Il est important de retenir que les échantillons
doivent être représentatifs des éléments structuraux analysés. Il est généralement utile de
prélever des carottes non seulement dans les parties les plus détériorées mais aussi dans
les parties saines. L'analyse comparative des résultats d'essais facilite souvent
l'identification des causes des dégradations.
6. Prélever une carotte de la poutre.
7. Fixer la longueur de la carotte de façon que l’élancement soit égal à 2.
8. Préparer la carotte : Les faces d’application de l’effort de compression devront être lisses
et perpendiculaires à l’axe longitudinal. Si nécessaire, il convient de meuler les faces de
chargement pour à atteindre cette spécification. Les diamètres minimal et maximal de la
carotte ne devront pas présenter un écart supérieur à 2 % par rapport au diamètre moyen.
Éliminer toute trace de sable ou d’autre matériau de la surface de l’éprouvette. Si
l'éprouvette doit être soumise à l'essai alors qu'elle est encore humide, éliminer toute trace
d’eau superficielle.
9. Réaliser l’essai de compression sur la carotte en utilisant la machine de compression
(Fig.29). Il faut éviter de réaliser l’essai de compression sur une carotte dont les
surfaçages sont fissurés, bullés, ou adhèrent mal au béton. Il faut aussi consigner l'état
d'humidité (humide/sec) de la surface de l’éprouvette au moment de l'essai.
10. Déterminer la résistance à la compression de chaque carotte en divisant la valeur de la
charge maximale par l'aire de la section transversale calculée à partir du diamètre moyen,
et exprimer les résultats à 0,5 MPa près.
ENIS TP de méthodologie et matériels d’expertise
Benjeddou.0 et Jedidi.M Page 33
Remarque: Si l’élancement de la carotte est différent de 2, il faut corriger la valeur de la
résistance à la compression obtenue et ceci conformément à la norme C 42/C 42M – 99.
Il faut donc corriger le résultat obtenu en multipliant par les facteurs de correction
appropriés indiqués dans tableau suivant:
Elancement Facteur de correction
1,75 0,98
1,50 0,96
1,25 0,93
1,00 0,87
Tableau.1 : Facteur de correction de la résistance à la compression en fonction de
l’élancement de la carotte
Utiliser l'interpolation pour déterminer les facteurs de correction pour les élancements
dont les valeurs ne figurent pas dans le tableau.
NOTE :
1. Les facteurs de correction dépendent de l’état d'humidité de la carotte.
2. Ces facteurs de correction s’appliquent à la fois sur le béton léger et le béton normal.
3. Ils sont pour des résistances à la compression allant de 14 à 42 MPa.
4. Les résultats d'essais de compression sur des carottes montrent que les facteurs de
correction pour des bétons à haute performance peuvent être plus grands que les
valeurs indiquées ci-dessus. Ainsi, ces facteurs devraient être pris avec prudence.
Fig.29 : Essai de compression sur une carotte de béton durci
ENIS TP de méthodologie et matériels d’expertise
Benjeddou.0 et Jedidi.M Page 34
V. Travail demandé:
1. Mesure de la résistance à la compression de la poutre à l’aide d’un scléromètre. Le
résultat sera représenté dur le document réponse 1.
2. Repérer les armatures d’une face de la poutre à l’aide d’un profomètre d’armatures.
Dessiner le schéma de ferraillage sur le document réponse 2.
3. Choisir la zone de prélèvement de la carotte.
4. Localiser, sur le document réponse 2, la zone de prélèvement de la carotte.
5. Prélever une carotte de la poutre.
6. Réaliser un essai de compression sur la carotte prélevée.
7. Calculer la résistance à la compression du béton de la poutre. Le résultat doit être
présenté la fiche de résultat de l’essai de compression sur une carotte de béton (Annexe
A).
8. Comparer la valeur de la résistance obtenue par un essai de compression sur la carotte à
celle obtenue par le scléromètre.
9. Interpréter les résultats.
ENIS TP de méthodologie et matériels d’expertise
Benjeddou.0 et Jedidi.M Page 35
DOCUMENT REPONSE 1
Mesure de la résistance à la compression par un scléromètre
Essai
Indice scléromètrique IS (MPa)
Indice scléromètrique par ordre
croissant IS (MPa)
Zone 1 Zone 2 Zone 3 Zone 1 Zone 2 Zone 3
1
2
3
4
5
6
7
8
9
10
11
12
13
14
15
16
17
18
19
20
21
22
23
24
25
26
27
Indice sclérométrique IS
Indice sclérométrique moyenne ISm
La résistance à la compression Rc (MPa)
ENIS TP de méthodologie et matériels d’expertise
Benjeddou.0 et Jedidi.M Page 36
DOCUMENT REPONSE 2
Schéma de ferraillage d’une face de la poutre
ENIS TP de méthodologie et matériels d’expertise
Benjeddou.0 et Jedidi.M Page 37
ANNEXE A
Fiche de résultat de l’essai de compression sur une carotte de béton
Date de l’essai : Heure de l’essai :
Date du prélèvement de ka carotte:
Norme :
Essai réalisé par :
Localisation de la carotte :
Dimension maximale des granulats :
Dimensions de la carotte :
Diamètre =
Hauteur =
Elancement =
Schéma de la carotte
Etat d’humidité de la surface
Description de la carotte
Section de la carotte [mm2
] =
Charge à la rupture [N] =
La résistance à la compression Rc (MPa) =
ENIS TP de méthodologie et matériels d’expertise
Benjeddou.0 et Jedidi.M Page 38
ANNEXE B
La courbe de conversion du scléromètre
ENIS TP de méthodologie et matériels d’expertise
Benjeddou.0 et Jedidi.M Page 39
TP N°5
MESURE DE LA PROFONDEUR DE
CARBONATATION D’UN BETON
ARME PAR LA METHODE
PHENOLPHTALEINE
I. But de l’essai :
La carbonatation est une source de dégradation des ouvrages en béton armé et nuit à leur
durabilité. Ce phénomène conduit à la dépassivation des armatures et à leur oxydation.
Pour mesurer la profondeur de la couche carbonatée situe près de la surface du béton
durci, on utilise la méthode d’essai à la phénolphtaléine. Cette méthode peut être utilisée in
situ ou en laboratoire sur des carottes ou des fragments prélevés sur des structures en béton
durci.
II. Références normatives :
L’essai de la mesure de la profondeur de carbonatation par la méthode de phénophtaléine est
basé sur les normes suivantes :
- NF EN 14630 :2007, Produits et systèmes pour la protection
et la réparation des structures en béton, Méthodes d'essai : Mesurage de la profondeur
de carbonatation d'un béton armé par la méthode phénolphtaléine.
- NF EN 12504-1:2000, Essais pour béton dans les structures - Partie 1 : Carottes,
prélèvement, examen et essais en compression.
- NF EN 12390-1:1999, Essais pour béton durci - Partie 1 : Forme, dimensions et autres
exigences aux éprouvettes et aux moules.
III. Le phénomène de carbonatation du béton:
1. Présentation du phénomène de la carbonatation :
Les bétons exposés à l’atmosphère se carbonatent plus au moins rapidement. Le dioxyde
de carbone qui pénètre à la surface du béton réagit avec les constituants alcalins contenus dans
la pate du ciment, surtout le calcium.
Cette réaction entraine la consommation de bases alcalines présentes dans la solution
interstitielle des bétons aboutissant à une diminution du pH qui passe d'une valeur de 13 à une
valeur inférieure à 9.
D'un point de vue chimique cette réaction se présente ainsi :
CO2 + Ca(OH)2 ---------H2O + bases alcalines-------> CaCO3 + H2O
ENIS TP de méthodologie et matériels d’expertise
Benjeddou.0 et Jedidi.M Page 40
Cette carbonatation a pour conséquence une modification lente de la structure du matériau
et un changement de son comportement.
La carbonatation génère deux propriétés antagonistes:
 Elle est bénéfique en améliorant la résistance mécanique et la résistance aux eaux
agressives ;
 Elle est néfaste en réduisant la protection chimique des armatures : la carbonatation est
de favoriser la corrosion des armatures, lorsque le front de carbonatation les atteint. En
effet, les armatures, passivées dans le béton sain de fort pH, ne sont plus protégées dans
le béton carbonaté. Quand le processus de dégradation est fort, la rouille provoque
l’éclatement du béton d’enrobage et laisse apparaître, à partir d’épaufrures, les armatures
oxydées.
Il est donc nécessaire d’évaluer le stade de vieillissement d’un béton en vue de sa
réparation en connaissant jusqu’ou, a un moment donné, la carbonatation a pénétré, c'est-à-
dire la limite de protection existant encore par rapport aux emplacements des armatures.
La vitesse de carbonatation obéit à un processus de diffusion du CO2 atmosphérique à
travers la couche de carbonates formée. Cette vitesse est fonction de nombreux paramètres
dont les plus importants sont la porosité et le taux d’humidité relative du milieu ambiant. Elle
est maximale pour une humidité comprise entre 40% et 80% .
On peut ralentir la progression de la carbonatation en :
 Augmentant le dosage en ciment
 Diminuant le rapport E/C
 Augmentant le temps de cure
 Augmentant la résistance à la compression.
2. Principe de mesure de la profondeur de carbonatation par la méthode à
la phénolphtaléine :
La technique la plus simple à mettre en œuvre pour mesurer la profondeur de
carbonatation des bétons correspond au test à la phénolphtaléine réalisé sur des fractures
fraiches de béton. La phénolphtaléine est un indicateur de pH coloré dont le virage se situe
aux alentours de 9. Cela permet de différencier la zone carbonatée (pH < 9) qui reste incolore,
de la zone non carbonatée (pH > 9 et allant jusqu' à 13) colorée en violet.
Cet essai doit être effectué à l'échelle d'un ouvrage, sur un nombre de points de mesure
représentatifs en tenant compte des conditions locales d'exposition et de l'hétérogénéité
possible du matériau. Ce test permet une mesure fiable et rapide de la profondeur de
carbonatation dans le cadre de diagnostic d'ouvrages.
ENIS TP de méthodologie et matériels d’expertise
Benjeddou.0 et Jedidi.M Page 41
IV. Matériels nécessaires :
 Une solution Contenant l’indicateur phénolphtaléine (généralement 1g de
phénolphtaléine) dissous dans 70 ml d’alcool éthylique avec 100 ml d’eau distillée.
 Une carotteuse pour retirer des échantillons de carottes de la structure de diamètre
minimal 50 mm.
 Un profomètre pour détecter la position des armatures sur la structure dans le but
d’obtenir des carottes sans détériorer l’acier
 Dispositif de mesure tel qu’un compas ou une règle permettant de mesurer la distance
entre la surface du béton et le front de carbonatation, avec une précision de 1 mm.
V. Mode opératoire :
1. Essai sur un fragment de l’ouvrage :
Les étapes de la mesure de la profondeur de carbonatation par la méthode de
phénolphtaléine sur un fragment de l’ouvrage sont les suivantes :
- En burinant les quatre surfaces du poteau étudié par un marteau pour produire une
surface de béton tout juste cassée (Fig.30).
Fig.30 : Préparation de la surface de Fig.31 : Coloration de la surface après
mesure sur un poteau pulvérisation de la phénolphtaléine
- Eliminer toute poussière ou particules libres des surfaces de cassure sans utiliser d’eau
ou d’abrasif.
- Pulvériser ses surfaces à la solution indicatrice de phénolphtaléine (Fig.31).
- Mesurage de la profondeur de carbonatation entre la surface externe de béton et le bord
de la région colorée en rouge pourpre à l’aide d’un ruban ou d’une réglette.
ENIS TP de méthodologie et matériels d’expertise
Benjeddou.0 et Jedidi.M Page 42
2. Essai sur une carotte de l’ouvrage :
Les étapes de mesure de la profondeur de carbonatation par la méthode de phénolphtaléine
sur une carotte de l’ouvrage sont les suivantes :
a. Détection des armatures :
Utilisation d’un profomètre pour détecter la position des armatures sur la structure dans le
but d’obtenir des carottes sans détériorer les armatures (Fig.32).
Fig.32: Détection des armatures de Fig.33 : Prélèvement d’une carotte
la poutre de béton de la poutre
b. Prélèvement des carottes :
Cette étape consiste à prélever des carottes de béton durci de la poutre. Lorsque les
carottes sont obtenues par carottage à l’eau ou lorsque la grosseur nominale maximale du
granulat est supérieure à 16 mm, le diamètre nominal minimal des carottes doit être égal à 50
mm.
Ensuite, retirer le plus rapidement possible toute eau de surface des carottes, marquer ces
derniers pour indiquer leur position et leur orientation par rapport à la surface de béton
d’origine et enfin les conserver dans un endroit sec jusqu’à l’essai qui doit avoir lieu le plus
rapidement possible après l’échantillonnage.
A noter que toute extraction traversant des armatures doit être éviter autant que possible et
s’il y en a lieu, ces carottes ne seront pas prises dans l’essai de compression.
c. Préparation de la carotte :
Fendre les carottes le long de leur axe longitudinal (si possible à mi- diamètre de la
carotte) (Fig.34).
ENIS TP de méthodologie et matériels d’expertise
Benjeddou.0 et Jedidi.M Page 43
Fig.34 : Fendage d’une carotte le long de son axe longitudinal
Pat la suite, il faut éliminer toute poussière ou particules libres des surfaces de cassure
sans utiliser d’eau ou d’abrasif.
d. Mesurage de la profondeur de carbonatation :
Pulvériser ces surfaces à la solution indicatrice phénolphtaléine pour les humidifier en
veillant à ce que la pulvérisation ne ruisselle pas sur la surface (Fig.35). Lorsque le béton est
très sec, une légère brume d’eau peut être appliquée à la surface cassée juste avant
l’application de la solution de phénolphtaléine.
Béton non
carbonaté
Béton carbonaté
Fig.35 : Pulvérisation de la surface de la Fig.36 : Délimitation de la zone du
carotte par la solution de phénolphtaléine béton carbonaté
Pour faciliter la mesure de la profondeur de carbonatation, il faut délimiter la zone de
béton carbonaté (Fig.36). La profondeur de carbonatation est, en tout point donné, la distance
dK (mesurée en millimètres) entre la surface externe du béton et le bord de la région colorée
en rouge-pourpre.
ENIS TP de méthodologie et matériels d’expertise
Benjeddou.0 et Jedidi.M Page 44
Le front de carbonatation étant dans la pratique irrégulier, la profondeur moyenne dK moy et
la profondeur maximale dK max doivent toutes deux être mesurées au millimètre près (Fig.37).
S'il existe des poches isolées, par exemple au niveau des fissures, où la profondeur
maximale dk max, est beaucoup plus importante que la profondeur moyenne dk moy, alors la
valeur dk max ne doit pas être incluse dans le calcul de dk moy.
Remarque importante :
Il convient de mesurer et de noter le virage instantané au rouge-pourpre dans les 30 s qui
suivent la pulvérisation.
Fig.37 : Front de carbonatation
VI. Travail demandé :
1. Détecter les armatures de la poutre d’essai en utilisant le profomètre et mesurer
l’enrobage de chaque barre.
2. Dessiner le schéma de ferraillage de la poutre sur le document réponse 1.
3. Prélever une carotte de la poutre de diamètre 50 mm. Localiser, sur le document
réponse 1, la zone de prélèvement de la carotte.
4. Mesurer la profondeur de carbonatation du béton de la poutre (dk moy). Le résultat
doit être présenté sur le document réponse 2.
5. Préparer la fiche de l’essai de mesurage de la profondeur de carbonatation par la
méthode de phénolphtaléine de la poutre d’essai selon le modèle présenté dans
l’annexe A.
6. Comparer la profondeur de carbonatation du béton de la poutre à la valeur de
l’enrobage des armatures.
7. Mesurer la profondeur de carbonatation moyenne sur un fragment de béton du poteau
d’essai. Le résultat doit être présenté sur le document réponse 2.
8. Interpréter les résultats obtenus.
ENIS TP de méthodologie et matériels d’expertise
Benjeddou.0 et Jedidi.M Page 45
DOCUMENT REPONSE 1
Schéma de ferraillage de la poutre
ENIS TP de méthodologie et matériels d’expertise
Benjeddou.0 et Jedidi.M Page 46
DOCUMENT REPONSE 2
Tableau de mesure de la profondeur de carbonatation
Profondeur de carbonatation du béton
de la poutre d’essai
Points
Profondeur de
carbonatation
dk [mm]
1
2
3
4
5
6
7
8
dk moy [mm]
dk max [mm]
Profondeur de carbonatation du béton
de la poutre d’essai
Points
Profondeur de
carbonatation
dk [mm]
1
2
3
4
5
6
7
8
dk moy [mm]
dk max [mm]
ENIS TP de méthodologie et matériels d’expertise
Benjeddou.0 et Jedidi.M Page 47
ANNEXE A
Fiche de l’essai de mesurage de la profondeur de carbonatation par la méthode de
phénolphtaléine de la poutre d’essai
Date de l’essai : Heure de l’essai :
Norme :
Essai réalisé par :
Le numéro d’identification et l’emplacement de l’échantillon :
Schéma de l’échantillon testé Exposition de l’échantillon
Taille et type de l’échantillon
Composition et âge du béton
La composition de la solution indicatrice :
Température au moment de l’essai T (°C) :
Valeur de la profondeur de carbonatation moyenne dk moy :
Valeur de la profondeur de carbonatation maximale dk max :
ENIS TP de méthodologie et matériels d’expertise
Benjeddou.0 et Jedidi.M Page 48
TP N°6
MESURE DES OUVERTURES
DES FISSURES
I. But :
L’un des désordres les plus fréquents des structures en béton est la fissuration. De ce fait,
les fissures dans les éléments de structure (poutre, plancher, voile, poteau,…) doivent être
suivies et évaluées avec un soin particulier.
Le suivi des fissures permet non seulement de mesurer l’évolution globale des fissures, sur
la période considérée, mais surtout l’évolution zone par zone, ainsi que les périodes d’activité
des fissures. Ainsi, l'analyse de l'évolution permet la mise en œuvre d'actions de prévention
et/ou de correction des fissures précises.
Le but de cette manipulation est de :
 Manipuler les jauges (G1, G1+,
G3 et G6) de mesure de l’évolution des ouvertures des
fissures.
 Mesurer les ouvertures d’un tracé de fissures par un fissuromètre.
 Dessiner le tracé d’une fissure.
II. Généralités sur les fissures :
1. Caractéristiques d’une fissure :
Une fissure est caractérisée par 4 éléments :
a. Son ouverture :
C’est la largeur entre lèvres qui peut être évaluée à l’œil nu et peut se mesurer avec
précision à l’aide d’un fissuromètre.
b.Son tracé :
C’est le développé de la fissure visible, sur toutes les surfaces de la structure.
c. Sa profondeur :
Selon son caractère traversant ou non, la fissure peut être qualifiée de différentes façons :
 Fissure de surface : fissure qui ne traverse pas l’épaisseur de la structure.
L’ouverture dans ce cas est maximum en surface et nulle au sein du matériau.
 Fissure traversant : fissure visible sur au moins deux faces de la structure.
 Fissure aveugle : Fissure traversant mais non accessible d’un ou plusieurs côtés de
la structure.
ENIS TP de méthodologie et matériels d’expertise
Benjeddou.0 et Jedidi.M Page 49
d.Son activité :
Selon l’activité des fissures, on distingue les deux types de fissures suivantes :
 Fissure passive ou morte : fissure dont l’ouverture ne varie pas dans le temps,
quelque soient les conditions de température ou de sollicitation de l’ouvrage car
leur cause à disparue ou devenue négligeable.
 Fissure active : fissure qui varie dans le temps en fonctions des gradients
thermiques ou hygrométrique, des sollicitations de l’ouvrage ou des défauts
d’exécution
2. Classification des fissures
Il n’existe pas actuellement de normes classant les fissures suivant leur ouverture. On a
coutume néanmoins de distinguer les fissures proprement dites du faïençage et des
microfissures.
a. Faïençage :
C’est un réseau caractéristique d’ouvertures linéaires superficielles de très faible largeur
qui n’intéresse, le plus souvent, que la couche superficielle du béton ou de l’enduit à base de
liant hydraulique.
b.Microfissure :
C’est une fissure très fine au tracé plus ou moins régulier et le plus souvent discontinu et
dont la largeur est inférieure à 0,2 mm. Elle peut évoluer jusqu’à former un réseau.
c. Fissure :
C’est une ouverture linéaire au tracé plus ou moins régulier dont la largeur est d’au moins
0,2 mm.
3. Les causes les plus fréquentes des fissures :
Ces causes sont multiples, on peut les classer en trois grandes catégories :
- les causes propres inhérentes aux propriétés des matériaux : par exemple, le retrait dû à
l’évaporation de l’eau de gâchage, le gonflement dû à la réaction exothermique du liant, la
résistance mécanique de la cohésion du liant ;
- les causes directes externes, c’est-à-dire celles agissant directement sur les structures en
béton : par exemple, les déformations excessives sous l’action des charges, les
déformations sous l’action de la température ou sous l’action de l’humidité ;
- les causes externes indirectes, c’est-à-dire les répercussions sur certaines structures
d’actions provenant d’autres éléments : par exemple, le tassement différentiel des
fondations, certains cas de concentrations de contraintes, l’association à d’autres éléments
qui se déforment excessivement (dilatation de toiture...), les vibrations, les trépidations
soumettant certaines sections à une fatigue de déformations dépassant les limites élastiques
du béton.
ENIS TP de méthodologie et matériels d’expertise
Benjeddou.0 et Jedidi.M Page 50
4. Mesures de l’évolution des fissures :
Avant d’entreprendre le traitement des fissures, il est indispensable, pour choisir la
technique appropriée, de déterminer si elles sont mortes, stabilisées ou actives.
La connaissance de l’amplitude d’ouverture et de la période des battements extrêmes
correspondants est une information nécessaire en pratique avant l’exécution d’une réparation.
Pour cela, il faut appareiller les fissures et suivre leur évolution pendant une durée donnée.
Parmi les dispositifs on peut citer :
 Les fissuromètres ;
 Les jauges ;
III. Appareillage :
Pour le contrôle de la fissuration, plusieurs instruments e techniques servent à mesurer une
fissure et suivre son évolution dans le temps et dans l’espace.
Les instruments utilisés dans ce TP sont :
1. Le fissuromètre :
C’est une réglette en plastique transparent munie de traits de largeurs calibrées que l’on
place successivement sur la fissure à observer pour estimer la largeur de la fissure. Il permet
de mesurer par comparaison, des ouvertures de fissures comprises entre 0,05 et 2 mm.
Fig.38 : Le fissuromètre
Il suffit d’appliquer le fissuromètre sur la fissure et faire glisser jusqu’à superposition
exacte du trait gradué avec l’épaisseur de la fissure.
Fig.39 : Mesure de l’épaisseur d’une fissure par un fissuromètre
ENIS TP de méthodologie et matériels d’expertise
Benjeddou.0 et Jedidi.M Page 51
2. Les jauges :
a. Jauge G1 :
Elle permet de mesure l'évolution des fissures dans un même plan Il s'agit
d'une coulisse graduée dont chacune des parties est fixée de part et d'autre de la fissure. Ce
dispositif permet de lire à plusieurs dates sur les graduations, l'ouverture de la fissure et d'en
déduire son évolution. Sa résolution minimum est de 0,1 mm et le champ de mesure est de 30
mm.
Fig.40 : Jauge G1
 Exemple de lecture de la jauge G1 :
a) Lecture des mm : Le nombre de mm correspond à la graduation située à gauche du
repère du vernier : 13mm dans le cas de fig.41.
b) Lecture de la décimale : Rechercher un trait du vernier qui coïncide avec un trait de
l’échelle de mesure. Dans le cas de Fig.41, la graduation 8 du vernier coïncide avec la
graduation 21 de l’échelle de mesure. C’est à dire que la lecture de la décimale est 8/10ème de
mm. On lira donc 138/10ème de mm.
Fig.41 : Exemple de lecture de la jauge G1
b.Jauge G1+ :
Elle permet de mesure l'évolution des fissures dans un même plan avec lecture digitale
Son principe est le même que la précédente (mesure des déplacements de translation) mais sa
précision est de 1/20.
ENIS TP de méthodologie et matériels d’expertise
Benjeddou.0 et Jedidi.M Page 52
Fig.42 : Jauge G1+
 Exemple de lecture de la jauge G1+ :
Le repère du vernier se situe entre 34 et 35 (Fig.43)
a) Lecture des mm : Le nombre de mm correspond à la graduation située à gauche du
repère du vernier : 34 dans ce cas de figure
b) Lecture de la décimale : Rechercher quelles sont la ou les lignes de lumières obturées.
Dans cet exemple ce sont les lignes 1 et 2 qui sont noircies ce qui signifie que le repère du
vernier se situe à mi distance du premier et du deuxième dixième.
On ne lira donc ni 34,10mm, ni 34,20mm mais bien 34,15 mm
Fig.43 : Exemple de lecture de la jauge G1+
c. Jauge G3 :
La jauge de type G3 est destinée à mesurer l’évolution d’un désaffleurement vertical, d’un
désarasement horizontal, ou d’une façon générale, l’évolution du mouvement d’un plan “Z“
perpendiculaire ou parallèle à un plan de référence “X,Y“. Jauge destinée à mesurer
ENIS TP de méthodologie et matériels d’expertise
Benjeddou.0 et Jedidi.M Page 53
l'évolution d'un plan perpendiculaire ou parallèle par rapport à un plan de référence :
désaffleurement vertical (flèche) ou désarasement horizontal.
Fig.44 : Jauge G3
d.Jauge G6 :
Elle permet de mesure l'évolution de
l'écartement et la rotation des lèvres d'une
fissure dans un même plan Jauge destinée à
mesurer l'évolution de l'écartement et de la
rotation des lèvres d'une fissure, ou d'un
joint quelconque, dans un même plan.
Cette jauge permet d'apprécier les
évolutions des pathologies dues à
différentes contraintes, et se traduisant par
une déformation ou une rupture.
Fig.45 : Jauge G6
Fig.46 : Schéma de la jauge G6
ENIS TP de méthodologie et matériels d’expertise
Benjeddou.0 et Jedidi.M Page 54
IV. Travail demandé :
1. Expliquer comment peut-on lire les mesures des jauges G1, G1+, G3 et G6.
2. Choisir le tracé de la fissure à étudier.
3. Dessiner le tracé de la fissure (La figure 47 présente un exemple de tracé d’une fissure).
4. Mesurer les ouvertures des fissures à l’aide d’un fissuromètre. Présenter les résultats
dans un tableau (Le tableau 2 présente les ouvertures du tracé de la fissure présenté sur la
figure 47).
Fig.47 : Exemple de tracé d’une fissure
Tableau.2 : Exemple d’ouvertures de fissure
Points Largeur de la fissure (mm)
A 0,1
B 0,1
C 0,05
D 0,3
E 0,2
F 0,1
G 0,05
H 0,05
I 0,2
J <0,05
ENIS TP de méthodologie et matériels d’expertise
Benjeddou.0 et Jedidi.M Page 55
REFERENCES BIBLIOGRAPHIQUES
- Norme BS 1881, Part 204: 1988, testing concrete-Non destructive: Recommendations of
the use of electromagnetic covermeters.
- Norme NF P 18-417 : 1989, Mesure de la dureté de surface par rebondissement à l’aide
d’un scléromètre.
- Norme NF EN 12504-1:2000, Essais pour béton dans les structures - Partie 1 : Carottes,
prélèvement, examen et essais en compression.
- Norme NF EN 12504-2 : 2003, Essais pour béton dans les structures - Partie 2 : Essais
non destructifs - Détermination de l'indice de rebondissement.
- Norme NF EN 12390-1:1999, Essais pour béton durci - Partie 1 : Forme, dimensions et
autres exigences aux éprouvettes et aux moules.
- Norme NF EN 12390-3:1999, Essais pour béton durci - Partie 3 : Résistance à la
compression des éprouvettes.
- Norme NF EN 12390-4:1999, Essais pour béton durci - Partie 4 : Résistance en
compression - Caractéristiques des machines d'essai.
- Norme C 42/C 42M – 99, Standard Test Method for Obtaining and Testing Drilled Cores
and Sawed Beams of Concrete.
- Norme NF EN 14630 :2007, Produits et systèmes pour la protection
et la réparation des structures en béton, Méthodes d'essai : Mesurage de la profondeur de
carbonatation d'un béton armé par la méthode phénolphtaléine.
- Laboratoire Central des Ponts et Chaussées, Réaction sulfatique interne au béton- Essai
d’expansion résiduelle sur carotte de béton extraite de l’ouvrage : Méthode d’essai n° 67,
Mars 2009.
- Laboratoire Central des Ponts et Chaussées, Présentation des techniques de diagnostic de
l’état d’un béton soumis à un incendie : Méthodes d’essai n° 62, Décembre 2005.
- Marc MAMILLAN, Restauration des bâtiments en béton armé, Techniques de
l’Ingénieur, traité Construction C 2 350.
- D. Breysse1, S.M. Elachachi1, J.P. Balayssac, Diagnostic de l’état du béton :
combinaison d’informations et réduction des incertitudes, 5ème
rencontres de l’AUGC,
Bordeaux, 2007.

Copie de-fasicule-de-tp-d expertise

  • 1.
    ENIS TP deméthodologie et matériels d’expertise Benjeddou.0 et Jedidi.M Page 0 ECOLE NATIONALE D’INGENIEURS DE SFAX Département de génie civil FASCICULE DE TRAVAUX PRATIQUES DE : METHODOLOGIE ET MATERIELS D’EXPERTISE DES OUVRAGES DU GENIE CIVIL Préparé par :  Mr Benjeddou Omrane  Mr Jedidi Malek MARS 2012
  • 2.
    ENIS TP deméthodologie et matériels d’expertise Benjeddou.0 et Jedidi.M Page 1 SOMMAIRE INTRODUCTION ...............................................................................................................3 TP N°1 : UTILISATION DU PROFOMETRE D’ARMATURES METALLIQUES .......4 I. But :..............................................................................................................................4 II. Références normatives ;.................................................................................................4 III. Présentation d’un profomètre :.......................................................................................4 1. Définition du profomètre :...........................................................................................4 2. Principe de fonctionnement :.......................................................................................4 3. Les applications d’un profpmètre: ...............................................................................5 4. Les limites d’un profomètre : ......................................................................................5 IV. Matériel nécessaire :......................................................................................................5 V. Mode opératoire : ..........................................................................................................5 VI. Travail demandé :..........................................................................................................7 TP N°2 : UTILISATION DU SCLEROMETRE ..............................................................10 I. But :............................................................................................................................10 II. Références normatives :...............................................................................................10 III. Principe de fonctionnement d’un scléromètre : ............................................................10 IV. Limites et avantages du scléromètre à béton : ..............................................................11 V. Matériel nécessaire :....................................................................................................12 VI. Mode opératoire : ........................................................................................................12 1. Utilisation du scléromètre : .......................................................................................12 2. Tarage du scléromètre sur éprouvettes de béton :.......................................................13 3. Mesures sur des ouvrages en béton armé :.................................................................15 VII.Travail demandé :........................................................................................................17 TP N°3 : PRELEVEMENT DES CAROTTES DE BETON DURCI...............................23 I. But :............................................................................................................................23 II. Références normatives :...............................................................................................23 III. Appareillage :..............................................................................................................23 IV. Mode opératoire de prélèvement des carottes :.............................................................24 1. Fixer le diamètre de la carotte : .................................................................................24 2. Choix de la zone de prélèvement :.............................................................................24 3. Extraction de la carotte :............................................................................................25 4. Longueur des carottes : .............................................................................................26
  • 3.
    ENIS TP deméthodologie et matériels d’expertise Benjeddou.0 et Jedidi.M Page 2 5. Marquage et identification :.......................................................................................26 6. Examen :...................................................................................................................26 V. Travail demandé :........................................................................................................28 TP N°4 : ESSAI DE COMPRESSION SUR UNE CAROTTE DE BETON DURCI.......31 I. But :............................................................................................................................31 II. Références normatives :...............................................................................................31 III. Appareillage :..............................................................................................................31 IV. Mode opératoires :.......................................................................................................32 V. Travail demandé:.........................................................................................................34 TP N°5 : MESURE DE LA PROFONDEUR DE CARBONATATION D’UN BETON ARME PAR LA METHODE PHENOLPHTALEINE.....................................................39 I. But de l’essai :.............................................................................................................39 II. Références normatives :...............................................................................................39 III. Le phénomène de carbonatation du béton: ...................................................................39 1. Présentation du phénomène de la carbonatation :.......................................................39 2. Principe de mesure de la profondeur de carbonatation par la méthode à la phénolphtaléine : ..................................................................................................................40 IV. Matériels nécessaires :.................................................................................................41 V. Mode opératoire : ........................................................................................................41 1. Essai sur un fragment de l’ouvrage :..........................................................................41 2. Essai sur une carotte de l’ouvrage : ...........................................................................42 VI. Travail demandé :........................................................................................................44 TP N°6 : MESURE DES OUVERTURES DES FISSURES .............................................48 I. But :............................................................................................................................48 II. Généralités sur les fissures :.........................................................................................48 1. Caractéristiques d’une fissure :..................................................................................48 2. Classification des fissures..........................................................................................49 3. Les causes les plus fréquentes des fissures :...............................................................49 4. Mesures de l’évolution des fissures : .........................................................................50 III. Appareillage :..............................................................................................................50 1. Le fissuromètre : .......................................................................................................50 2. Les jauges : ...............................................................................................................51 IV. Travail demandé :........................................................................................................54 Références bibliographiques.................................................................................................55
  • 4.
    ENIS TP deméthodologie et matériels d’expertise Benjeddou.0 et Jedidi.M Page 3 INTRODUCTION Le béton armé est un matériau de base de structures largement utilisé depuis plus d’un siècle, aussi bien dans les travaux publics que dans le bâtiment. Il peut se dégrader sous l’influence de causes liées à sa qualité originelle ou à des sollicitations d’exploitation ou d’environnement. Des pathologies apparentes ou cachées peuvent survenir. Afin de connaître leur nature, leur étendue et leur potentialité d’évolution, on établit un diagnostic nécessaire pour la prise des décisions relatives à la maintenance de l’ouvrage concerné. L’activité de diagnostic désigne toute démarche relative à la caractérisation de l’état d’une structure et de ses matériaux constitutifs. Les questions que l’on se pose lors du diagnostic d’un ouvrage peuvent être résumées de la manière suivante :  Quelles sont l’origine et l’étendue des désordres ?  Quelles sont leur évolution probable et leurs conséquences sur la sécurité de l’ouvrage ?  L’ouvrage est-il réparable et quelles sont les méthodes de réparation et/ou de protection appropriée ? Le diagnostic des ouvrages repose souvent sur la détection de zones d’altération, c'est-à- dire de zones dans lesquelles les propriétés mécaniques ou chimiques se distinguent significativement des valeurs représentatives des zones « saines ». Il existe de très nombreuses méthodes ou techniques d’expertise qui peuvent aider à diagnostiquer les principales causes des dégradations. C'est surtout l'expérience de l'ingénieur spécialiste en réparations qui permettra de choisir la meilleure méthode de diagnostic parmi l'ensemble des méthodes disponibles. Les différentes méthodes d’expertise disponibles permettent de caractériser les propriétés mécaniques du béton, de déterminer les caractéristiques chimiques et physiques du béton et de caractériser le comportement l'environnement général de la structure. Dance ce fascicule on a présenté les méthodes d’expertise suivantes :  La détection d’armatures par un profomètre  La détermination de la résistance à la compression du béton durci par un scléromètre  La méthodologie de prélèvement des carottes de béton durci  Essai de compression sur des carottes de béton durci  Mesurage de la profondeur de carbonatation par la méthode de phénolphtaléine  Mesure des ouvertures des fissures par un fissuromètre
  • 5.
    ENIS TP deméthodologie et matériels d’expertise Benjeddou.0 et Jedidi.M Page 4 TP N°1 UTILISATION DU PROFOMETRE D’ARMATURES METALLIQUES I. But : Le but de l’essai est d’utiliser le profomètre pour :  La détection d’armatures métalliques et leurs orientations dans le béton.  La mesure de l’épaisseur d’enrobage de béton sur l’armature.  Le traçage des schémas de ferraillages d’un poteau et d’une poutre. II. Références normatives ; La norme utilisée pour réalisé l’essai est :  NORME BS 1881, Part 204 (1988), Testing concrete – Non destructive: Recommendations of the use of electromagnetic covermeters. III. Présentation d’un profomètre : 1. Définition du profomètre : C’est un détecteur d’armatures métalliques légères et compactes, utilise la technologie non destructrice d’induction pulsée pour permettre la localisation d’armatures métalliques dans le béton. Il permet aussi d’estimer l’épaisseur d’enrobage des armatures. 2. Principe de fonctionnement : Le fonctionnement des profomètres (Fig.1) est basé sur le principe des courants de Foucault. Un courant de fréquence connue parcourt la bobine de la sonde, créant un champ magnétique variable. Les aciers se trouvant dans l’action de ce champ sont parcourus par des courants de Foucault, qui émettent à leur tour un champ magnétique Ce champ magnétique induit provoque une altération de la tension de la bobine de réception qui est fonction de l’épaisseur de la couverture du béton et du diamètre de l’armature. Fig.1 : Photo du profomètre utilisé
  • 6.
    ENIS TP deméthodologie et matériels d’expertise Benjeddou.0 et Jedidi.M Page 5 3. Les applications d’un profpmètre:  Inspection de conformité de l’enrobage après le décoffrage ;  Localisation des armatures métalliques pour les éviter lors du perçage des trous ;  Fournit des données essentielles (position, enrobage, diamètre des armatures) pour les calculs de résistance des structures en béton armé ;  Mesure de l'épaisseur d'enrobage en béton ; 4. Les limites d’un profomètre : La détection n’est pas possible au-delà de 8 cm d’épaisseur de béton. Dans le cas de réseaux d’armatures très denses, la lecture est quelquefois incertaine. L’enrobage est détecté avec une erreur de l’ordre de 4 mm, et le diamètre de l’acier est détecté avec une précision de 2 mm. IV. Matériel nécessaire : Le matériel nécessaire pour réaliser l’essai est : - Profomètre d’armature métallique pour béton - Mètre ruban V. Mode opératoire : 1. Mettre le profomètre en marche (Fig.2) Choisir le type d’armature Choisir l’unité de mesure Mettre la sonde en marche Allumer ou éteindre le profomètre Estimer le diamètre de l’aramature Mettre le son en marche Fig.2 : les différentes touches du profomètre
  • 7.
    ENIS TP deméthodologie et matériels d’expertise Benjeddou.0 et Jedidi.M Page 6 2. Brancher la sonde 3. Choisir le type des armatures à détecter :  Type 1 : HA (armatures haute adhérence)  Type 2 : RL (rond lisse) 4. Recherche des armatures :  Pour des armatures longitudinales, placer la sonde parallèlement à l’axe longitudinal de l’élément (Fig.3-a).  Pour des armatures transversales, placer la sonde perpendiculairement à l’axe longitudinal de l’élément (Fig.3-b). Fig.3-a : Fig.3-b : Recherche des armatures longitudinales Recherche des armatures transversales 5. Balayer la zone jusqu’au remarquer une variation brusque des valeurs de l’épaisseur d’enrobage. La valeur minimale affichée correspond à la position de la barre. Il faut repérer la position des armatures trouvées (Fig.4). Fig.4 : Repérage des armatures
  • 8.
    ENIS TP deméthodologie et matériels d’expertise Benjeddou.0 et Jedidi.M Page 7 6. Lire la valeur de l’épaisseur d’enrobage de chaque barre : C’est la valeur minimale affichée sur le profomètre. 7. Mesurer la distance entre les cadres de l’élément (Fig.5). Fig.5 : Mesure de la distance entre les cadres VI. Travail demandé : On s’intéresse à l’étude d’un poteau et d’une poutre d’essais en béton armé. On vous demande de : 1. Ausculter visuellement le poteau.et la poutre; 2. Localiser les armatures transversales et longitudinales du poteau et de la poutre; 3. Déterminer l’épaisseur d’enrobage de chaque barre de la cage d’armatures du poteau et celle de la poutre; 4. Tracer le schéma de ferraillage de chacun des deux éléments (Documents réponse 1 et 2); 5. Interpréter les résultats;
  • 9.
    ENIS TP deméthodologie et matériels d’expertise Benjeddou.0 et Jedidi.M Page 8 DOCUMENT REPONSE 1 : Schéma de ferraillage du poteau
  • 10.
    ENIS TP deméthodologie et matériels d’expertise Benjeddou.0 et Jedidi.M Page 9 DOCUMENT REPONSE 2 Schéma de ferraillage de la poutre
  • 11.
    ENIS TP deméthodologie et matériels d’expertise Benjeddou.0 et Jedidi.M Page 10 TP N°2 UTILISATION DU SCLEROMETRE I. But : L’utilisation d’essais d’auscultation au scléromètre sur les matériaux de construction, en particulier sur le béton, date de plusieurs décennies. Cet essai est destiné à mesurer la dureté superficielle du béton et il existe une corrélation empirique entre la résistance et l’indice scléromètrique. Le scléromètre, l’un des instruments les plus répandus dans le domaine des contrôles non destructifs (CND), permet de déterminer la résistance à la compression du béton sans procéder à un carottage. Le scléromètre, appliqué sur une face de la partie à ausculter, permet aussi d’évaluer l’homogénéité du béton in situ, pour déterminer des zones de faible qualité du béton Finalement cette méthode d’auscultation est la plus rapide et la plus économique pour évaluer la qualité et la résistance du béton. II. Références normatives : L’essai est basé sur les normes suivantes : - NF P 18-417 : 1989, Mesure de la dureté de surface par rebondissement à l’aide d’un scléromètre. - NF EN 12504-2 : 2003, Essais pour béton dans les structures - Partie 2 : Essais non destructifs - Détermination de l'indice de rebondissement. - NF EN 12390-3:1999, Essais pour béton durci - Partie 3 : Résistance à la compression des éprouvettes. III. Principe de fonctionnement d’un scléromètre : Le principe de fonctionnement du scléromètre est basé sur le principe de l’impact du mouton ayant l’énergie normalisée sur la surface du béton, et de la mesure de la hauteur de son rebondissement en unités conventionnelles de l’échelle de l’instrument étant une caractéristique indirecte de la dureté du béton à la compression. Ce rebondissement est d'autant plus important que le béton est dur. Un index fixé sur l'appareil permet de déterminer l'indice scléromètrique. Des études réalisées au LCPC ont montré que la corrélation empirique entre la résistance à la compression et l’indice scléromètrique peut prendre la forme :
  • 12.
    ENIS TP deméthodologie et matériels d’expertise Benjeddou.0 et Jedidi.M Page 11 Rc =a.Is2 +b.Is +c Avec :  Is : indice sclérométrique  Rc : résistance à la compression  a, b et c : des paramètres empiriques La surface sur laquelle l'essai est effectué peut être horizontale, verticale vers le bas ou vers le haut. De ce fait la corrélation devra prendre en compte l'inclinaison de l'appareil par rapport à cette surface. La figure suivante présente une coupe longitudinale à travers le scléromètre à béton : LEGENDE 1. Tige de percussion 2. Surface à examiner 3. Bâti 4. Repère avec tige 5. sans affectation 6. Bouton-poussoir complet 7. Barre de glissement 8. Disque de guidage 9. Calotte 10. Anneau de pression 11. Couvercle 12. Ressort de pression 13. Verrou 14. Marteau 15. Ressort amortisseur 16. Ressort de frappe 17. Douille 18. Rondelle de feutre 19. Fenêtre en plexiglas 20. Vis 21. Contre-écrou 22. Goupille 23. Ressort verrouilleur Fig.6 : Coupe longitudinale à travers le scléromètre à béton IV. Limites et avantages du scléromètre à béton : Le scléromètre est une méthode peu coûteuse, simple et rapide pour connaître la résistance du béton, mais une précision entre ±15 et ±20% n'est possible qu'avec des éprouvettes qui ont été coulées et soumises à un traitement de cure et à des essais dans les conditions pour lesquelles les courbes d'étalonnage ont été établies.
  • 13.
    ENIS TP deméthodologie et matériels d’expertise Benjeddou.0 et Jedidi.M Page 12 Les résultats sont influencés par des facteurs tels que la régularité de la surface, la grosseur et la forme de l'éprouvette, le degré d'humidité du béton, le type de ciment et les plus gros granulats et le degré de carbonatation de la surface. V. Matériel nécessaire : Le matériel nécessaire pour réaliser l’essai est :  Un scléromètre numérique et sa courbe de conversion :  Pierre à polir Fig.7 : Scléromètre numérique Fig.8 : Pierre à polir  Mètre ruban  Presse à béton Fig.9 : Mètre ruban Fig.10 : Presse à béton VI. Mode opératoire : 1. Utilisation du scléromètre : Les étapes d’utilisation du scléromètre à béton sont les suivantes :  Libérer la sonde scléromètrique en pressant dessus  Procéder à quelques frappes d'essai sur un support dur et lisse avec le scléromètre à béton avant d'exécuter les mesures qui devront être analysées.  Poncer au moyen de la pierre à polir les surfaces de texture rugueuse ou peu résistantes ou couvertes de laitance jusqu'à ce qu'elles soient lisses (Fig.11).  Maintenir fermement le scléromètre de manière à permettre à la tige de percussion de frapper perpendiculairement la surface d'essai (Fig.12).
  • 14.
    ENIS TP deméthodologie et matériels d’expertise Benjeddou.0 et Jedidi.M Page 13 Fig.11 : Préparation de la surface Fig.12 : Méthode de frappe du scléromètre  Augmenter progressivement la pression exercée sur la tige jusqu'au déclenchement du choc.  Après le choc, enregistrer l’indice sclérométrique.  Déterminer l’indice sclérométrique qui est la valeur médiane des 27 mesures. Remarque : Si plus de 20% de valeurs s’écartent de plus de 6 unités de la valeur médiane, la série de mesure doit être considérée comme invalide.  Utiliser la courbe de conversion (Annexe B) pour déterminer la résistance à la compression de l’élément testé. Selon cette courbe, la résistance à la compression dépend de l’indice sclérométrique et de la direction de frappe. 2. Tarage du scléromètre sur éprouvettes de béton : Il est réalisé trois séries de trois éprouvettes de béton, correspondant aux trois niveaux de résistance en compression 15, 25 et 35 MPa. Ces éprouvettes, préalablement rectifiées conformément aux prescriptions de la norme NFP 18-416, doivent être cylindriques de diamètre 16 cm et de hauteur 32 cm, Les étapes de tarage du scléromètre à béton sur des éprouvettes cylindriques 16 x 32 cm sont les suivantes : a. Préparation de la surface de l’éprouvette: Poncer au moyen de la pierre à polir les surfaces de textures rugueuses ou peu résistantes jusqu’à ce qu’elles soient lisses (Fig.13). Il convient d'exclure les éprouvettes présentant des nids de cailloux, des écaillages, une texture grossière ou une porosité élevée. Fig.13 : Préparation de la surface de l’éprouvette
  • 15.
    ENIS TP deméthodologie et matériels d’expertise Benjeddou.0 et Jedidi.M Page 14 b. Préparation des points de mesures: Tracer sur l’éprouvette 27 points de mesures. Ces points sont répartis sur 3 génératrices et distants entre eux de 30 mm. Aucune mesure ne doit être située à moins de 40 mm des faces planes de l’éprouvette (Fig.14). Fig.14 : Préparation des points de mesure c. Exécution des mesures : Les éprouvettes sont maintenues entre les plateaux de la machine d’essais dont leur sens de confection sous une contrainte de 0,5 MPa (Fig.15). L’appareil étant disposé perpendiculairement à l’axe de l’éprouvette, il est relevé 27 mesures réparties sur les 27 points déjà préparés. Fig.15 :Mesure de l’indice scléromètrique Pour chaque éprouvette, l’indice scléromètrique Is est la médiane des 27 valeurs mesurées. Les mesures de cet indice sont suivies d’un essai de résistance en compression. Les trois couples de valeurs ainsi trouvées (Indice scléromètrique et résistance à la compression) sont reportées sur le graphique de référence (Annexe A). Si les trois valeurs se trouvent à
  • 16.
    ENIS TP deméthodologie et matériels d’expertise Benjeddou.0 et Jedidi.M Page 15 l’intérieur du fuseau, le fonctionnement de l’appareil est correct. Dans le cas contraire, le fonctionnement de l’appareil est défectueux. Une révision est nécessaire et un nouveau certificat de tarage doit être établi à l’issue de cette révision. d. Ecrasement des éprouvettes : Les étapes de l’utilisation de la presse sont les suivantes : 1. Placez l’éprouvette surfacée au centre des 2 plateaux de la presse. 2. Si l’éprouvette n’est pas surfacée, utiliser un dispositif de remplacement (planchettes en bois). Fig.16 : Essai de compression sur l’éprouvette 3. Fermez la porte de sécurité 4. Mettre le dispositif en marche automatique jusqu'à la fissuration de l’éprouvette 5. Lire la valeur de la résistance à la compression affichée sur l’écran 6. Ouvrir la porte de sécurité et nettoyer la presse 3. Mesures sur des ouvrages en béton armé : a. Choix de la surface d’essai : Les éléments de béton soumis à l'essai doivent avoir une épaisseur minimale de 100 mm et être encastrés dans une structure. Des corps d'épreuve de dimensions plus réduites peuvent être testés à condition qu’ils soient fermement maintenus. Il convient d'exclure les zones présentant des nids de cailloux, des écaillages, une texture grossière ou une porosité élevée. Les zones qui présentent des armatures apparentes doivent être aussi évitées. b. Préparation de la surface d’essai :  Les surfaces brutes de coffrage ou lissées à la truelle peuvent être soumises à l'essai sans meulage préalable.  Tout enduit ou peinture adhérant à la surface du béton à tester doit être éliminé.
  • 17.
    ENIS TP deméthodologie et matériels d’expertise Benjeddou.0 et Jedidi.M Page 16  Les surfaces qui présentent une couche superficielle friable de ciment, des particules étrangères, ainsi que de faibles irrégularités doivent être poncées avec la pierre à polir.  Toute trace d'humidité constatée à la surface du béton doit être éliminée. c. Exécution des mesures : La surface d’essai doit être divisée en zones d’au moins 400 cm2 (Par exemple : 25 cm x 25 cm) chacune. Le scléromètre doit être perpendiculaire à la surface d’essai, il est pris 27 mesures sur chaque zone d’essais. La distance entre deux points de mesure est d’au moins 30 mm et aucun point ne doit se situer à moins de 30 mm de l’un des bords de la surface d’essai (Fig.17). Fig.17 : Préparation des zones de mesure sur la poutre d’essai L’indice scléromètrique Is est la médiane des 27 mesures effectuées sur la zone d’ouvrage testée (Fig.18). Fig.18 : Mesure de l’indice scléromètrique d’une zone de la poutre
  • 18.
    ENIS TP deméthodologie et matériels d’expertise Benjeddou.0 et Jedidi.M Page 17 Enfin, par report de l’indice scléromètrique sur la courbe de conversion (Annexe B) du scléromètre et en considérant l’inclinaison du scléromètre, on obtient la résistance en compression du béton de l’ouvrage considéré. VII. Travail demandé : 1. Mesurer l’indice scléromètrique de trois éprouvettes de résistances à la compression respectivement 15, 25 et 35 MPa. Présenter les résultats sur le document réponse 1. 2. Réaliser un essai de compression sur chaque éprouvettes et noter la valeur de la résistance à la compression pour chacune des ces éprouvettes. 3. Reporter les trois couples de valeurs ainsi trouvées (Indice scléromètrique et résistance à la compression) sur le graphique de référence (Annexe A). 4. Vérifier l’étalonnage du scléromètre utilisé. 5. Déterminer la résistance à la compression du béton d’une poutre d’essai en utilisant le scléromètre. Présenter les résultats sur le document réponse 2. 6. Contrôler l’homogénéité du béton de la même poutre. 7. Interpréter les résultats obtenus ; 8. Préparer la fiche d’expertise de l’essai sclérometrique sur la poutre d’essai et ceci selon le modèle présenté dans l’annexe C. .
  • 19.
    ENIS TP deméthodologie et matériels d’expertise Benjeddou.0 et Jedidi.M Page 18 DOCUMENT REPONSE 1 Mesure de l’indice scléromètrique des 3 éprouvettes cylindriques 16x32 cm Essai Indice scléromètrique IS (MPa) Indice scléromètrique par ordre croissant IS (MPa) Eprouvettes Eprouvettes 1 2 3 1 2 3 1 2 3 4 5 6 7 8 9 10 11 12 13 14 15 16 17 18 19 20 21 22 23 24 25 26 27 Indice scléromètrique IS
  • 20.
    ENIS TP deméthodologie et matériels d’expertise Benjeddou.0 et Jedidi.M Page 19 DOCUMENT REPONSE 2 Mesure de la résistance à la compression par un scléromètre Essai Indice scléromètrique IS (MPa) Indice scléromètrique par ordre croissant IS (MPa) Zone 1 Zone 2 Zone 3 Zone 1 Zone 2 Zone 3 1 2 3 4 5 6 7 8 9 10 11 12 13 14 15 16 17 18 19 20 21 22 23 24 25 26 27 Indice sclérométrique IS Indice sclérométrique moyenne ISm La résistance à la compression Rc (MPa)
  • 21.
    ENIS TP deméthodologie et matériels d’expertise Benjeddou.0 et Jedidi.M Page 20 ANNEXE A Graphique de référence
  • 22.
    ENIS TP deméthodologie et matériels d’expertise Benjeddou.0 et Jedidi.M Page 21 ANNEXE B La courbe de conversion du scléromètre
  • 23.
    ENIS TP deméthodologie et matériels d’expertise Benjeddou.0 et Jedidi.M Page 22 ANNEXE C Fiche d’expertise de l’essai scléromètrique sur la poutre d’essai Date de l’essai : Heure de l’essai : Norme : Essai réalisé par : Identification de l’ouvrage : Localisation de la surface d’essai (Dimensions des parois) Schéma de l’élément testé Description de la surface d’essai Description du béton Température au moment de l’essai T (°C) Angle de direction de l’essai α (°) Indice scléromètrique moyenne ISm La résistance à la compression Rc (MPa)
  • 24.
    ENIS TP deméthodologie et matériels d’expertise Benjeddou.0 et Jedidi.M Page 23 TP N°3 PRELEVEMENT DES CAROTTES DE BETON DURCI I. But : Certains essais, destinés à analyser les modifications des propriétés du béton, ne peuvent être réalisés in situ. En conséquence, il convient de prélever des carottes et de les rapporter dans un laboratoire pour les analyser. Ces analyses peuvent être demandé en vue de:  L'identification des agrégats  La détérioration des agrégats  L'homogénéité du béton  La profondeur d'une éventuelle carbonatation  La répartition des fissures  L'analyse chimique : la teneur en ciment, présence et quantité de chlorures.  Des essais physico – mécaniques : densité, résistance à la compression, module d'élasticité II. Références normatives : Le prélèvement des carottes de béton durci est basé sur les normes suivantes : - NF EN 12504-1:2000, Essais pour béton dans les structures - Partie 1 : Carottes, prélèvement, examen et essais en compression. Cette norme spécifie une méthode permettant d'effectuer le prélèvement de carottes de béton durci, leur examen, leur préparation avant l'essai et la détermination de leur résistance à la compression. - NF EN 12390-1:1999, Essais pour béton durci - Partie 1 : Forme, dimensions et autres exigences aux éprouvettes et aux moules. III. Appareillage : L’appareillage nécessaire pour cette opération est constitué de :  Carotteuse : équipement assurant l'extraction de carottes de béton durci (Fig.19).  Profomètre d’armatures (Fig.20).  Équerres et gabarits: ils doivent permettre de vérifier la perpendicularité des carottes.  Dispositif de mesure  Scie électrique  Balance ou matériel équivalent
  • 25.
    ENIS TP deméthodologie et matériels d’expertise Benjeddou.0 et Jedidi.M Page 24 Fig.19 : Carotteuse de béton durci Fig.20 : Profomètre d’armatures IV. Mode opératoire de prélèvement des carottes : Les étapes de prélèvement d’une carotte de béton durci d’une poutre d’essai sont les suivantes : 1. Fixer le diamètre de la carotte : Avant tout prélèvement de carottes, il est essentiel pour beaucoup de raisons de définir les objectifs de l’essai et le mode d’interprétation des résultats. Le diamètre de la carotte à prélever dépend de la dimension maximale des granulats du béton et du réseau d’armatures. Le diamètre de la carotte est au moins égal à 3 fois la dimension maximale du gros granulat. 2. Choix de la zone de prélèvement : Il est important de retenir que les échantillons doivent être représentatifs des éléments structuraux analysés. Il est généralement utile de prélever des carottes non seulement dans les parties les plus détériorées mais aussi dans les parties saines. L'analyse comparative des résultats d'essais facilite souvent l'identification des causes des dégradations. A noter que le carottage ne doit pas porter atteinte à la stabilité ou à la résistance structurelle de l'ouvrage. Les armatures devront être repérées avant le carottage (Fig.21), pour éviter autant que faire se peut de récupérer des éprouvettes de béton avec des armatures. Les carottes utilisées pour déterminer la résistance à la compression ne doivent contenir aucune armature qui soit parallèle, ou presque parallèle, à leur axe longitudinal. Fig.21 : Répérage des armatures
  • 26.
    ENIS TP deméthodologie et matériels d’expertise Benjeddou.0 et Jedidi.M Page 25 3. Extraction de la carotte : Les étapes de prélèvement sont : 1. Raccorder la carotteuse en eau à l'aide d'un tuyau d'eau classique. 2. Repérer l'emplacement de la carotte à prélever. 3. Positionner la carotteuse perpendiculairement à la surface (Fig.22). 4. Stabiliser la carotteuse. 5. Mettre en marche la carotteuse. 6. Ouvrir le robinet d'eau. Il faut voir l'eau arriver et couler. Ne percer jamais sans avoir ouvert l'eau au risque d'endommager la carotteuse. 7. Commencer à percer doucement (Fig.23). Fig.22 : Positionnement de la carotte Fig.23 : Extraction de la carotte 8. Si la carotte se bloque, remonter doucement et refaite la descendante doucement. 9. Vérifier, également, en cours de perçage, que la carotteuse est toujours bien fixée et stabilisée. 10. Une fois le carottage est terminé, remonter la tige doucement (Fig.24). La carotte de béton, qui en résulte, peut être bloquée dans le trou percé. Pour la retirer, il suffit de taper doucement sur la carotte, à l'aide d'un petit marteau, afin de faire des vibrations (Fig.25). Fig.24 : Fin d’extraction de la carotte
  • 27.
    ENIS TP deméthodologie et matériels d’expertise Benjeddou.0 et Jedidi.M Page 26 Fig.25 : Récupération de la carotte 4. Longueur des carottes : Selon l’essai à réaliser on fixe la longueur de la carotte. La longueur des carottes doit être conditionnée par le diamètre de la carotte et des méthodes de rectification applicables. A titre d’exemple, la longueur de la carotte destinée à un essai d’écrasement est fixée de façon que l’élancement soit égal à 2. Fig.26 : Réglage de la longueur de la carotte 5. Marquage et identification : Immédiatement après l'extraction, marquer les carottes sans ambiguïté et de façon indélébile. L'emplacement et l'orientation selon lesquels il a été procédé à l'extraction de la carotte hors de l'ouvrage en béton doivent être consignés. Si une carotte est découpée à plusieurs reprises afin de constituer un certain nombre d'éprouvettes, chaque éprouvette doit être pourvue d'un marquage indiquant son emplacement et son orientation par rapport à la carotte dont elle est issue. 6. Examen : a. Inspection visuelle : Une inspection visuelle des carottes de béton doit être effectuée afin de déceler la présence d'anomalies. Les trous de carottage doivent être aussi examinés de façon à apporter des informations supplémentaires sur la qualité du béton (Fig.27)
  • 28.
    ENIS TP deméthodologie et matériels d’expertise Benjeddou.0 et Jedidi.M Page 27 . Fig.27 : Inspection visuelle de la carotte b. Mesurages : Apres extraction de la carotte, il faut vérifier ses mesures pour les rectifier en cas ou leurs précision est au delà de ±1 %. Voici les mesures qui doivent être réalisées :  Déterminer le diamètre moyen, avec une précision égale à ±1 %, à partir de deux mesures effectuées dans deux directions orthogonales, au milieu et aux quarts de la longueur de la carotte (Fig.28). Fig.28 : Mesure du diamètre moyen de la carotte  Mesurer avec une précision de ±1 % les longueurs maximale et minimale de la carotte à la réception.  Déterminer le diamètre de toute armature métallique ainsi que sa position en réalisant un mesurage entre, d’une part, le centre de la barre concernée, et, d’autre part, l’extrémité ou les extrémités de la carotte et/ou l’axe de la carotte, aussi bien lors de la réception qu’à l’issue de la préparation. Les mesures doivent avoir une précision de ±1 mm.
  • 29.
    ENIS TP deméthodologie et matériels d’expertise Benjeddou.0 et Jedidi.M Page 28 V. Travail demandé : 1. Repérer les armatures d’une face de la poutre d’essai à l’aide d’un profomètre d’armatures. Dessiner le schéma de ferraillage sur le document réponse. 2. Choisir la zone de prélèvement de la carotte. 3. Localiser, sur le document réponse, la zone de prélèvement de la carotte. 4. Prélever une carotte de diamètre 50 mm et d’élancement égal à 2 de la poutre d’essai en béton armé. 5. Ausculter visuellement la carotte prélevée. 6. Déterminer la masse volumique du béton durci de la poutre. 7. Etablir la fiche de description de la carotte selon le modèle proposé dans l’annexe A.
  • 30.
    ENIS TP deméthodologie et matériels d’expertise Benjeddou.0 et Jedidi.M Page 29 DOCUMENT REPONSE Schéma de ferraillage d’une face de la poutre
  • 31.
    ENIS TP deméthodologie et matériels d’expertise Benjeddou.0 et Jedidi.M Page 30 ANNEXE A Fiche de description de la carotte Date du prélèvement : Norme : Essai réalisé par : Identification de l’ouvrage : Localisation de la carotte : Dimensions de la carotte : Diamètre = Hauteur = Schéma de la carotte - Description de la surface - Description du béton - Description de la matrice cimentaire - Description des granulats
  • 32.
    ENIS TP deméthodologie et matériels d’expertise Benjeddou.0 et Jedidi.M Page 31 TP N°4 ESSAI DE COMPRESSION SUR UNE CAROTTE DE BETON DURCI I. But : L’objectif de cet essai est de caractériser la résistance à la compression du béton durci au moment du prélèvement de la carotte. L’essai consiste donc à effectuer un essai de compression sur une carotte de béton. La résistance à la compression obtenue sera comparée à celle obtenue par l’essai scléromètrique. II. Références normatives : L’essai est basé sur les normes suivantes : - NF EN 12504-1:2000, Essais pour béton dans les structures - Partie 1 : Carottes, prélèvement, examen et essais en compression. - NF EN 12504-2 : 2003, Essais pour béton dans les structures - Partie 2 : Essais non destructifs - Détermination de l'indice de rebondissement. - NF EN 12390-1:1999, Essais pour béton durci - Partie 1 : Forme, dimensions et autres exigences aux éprouvettes et aux moules. - NF EN 12390-3:1999, Essais pour béton durci - Partie 3 : Résistance à la compression des éprouvettes. - NF EN 12390-4:1999, Essais pour béton durci - Partie 4 : Résistance en compression - Caractéristiques des machines d'essai. - NF P 18-417 : 1989, Mesure de la dureté de surface par rebondissement à l’aide d’un scléromètre. - C 42/C 42M – 99, Standard Test Method for Obtaining and Testing Drilled Cores and Sawed Beams of Concrete. III. Appareillage : - Carotteuse - Machine d’essai en compression - Calibre et/ou règles - Scléromètre - Profomètre d’armatures - Mètre à ruban
  • 33.
    ENIS TP deméthodologie et matériels d’expertise Benjeddou.0 et Jedidi.M Page 32 IV. Mode opératoires : Les différentes étapes pour réaliser l’essai de compression sur une carotte de béton durci sont les suivantes : 1. Déterminer l’indice scléromètrique moyen sur trois zones de la poutre d’essai. 2. A partir de la courbe de conversion, déterminer la résistance à la compression du béton de la poutre. 3. Repérer les armatures de la poutre pour éviter autant que faire se peut de récupérer des éprouvettes de béton avec des armatures. 4. Il faut choisir le diamètre de la carotte en fonction de la dimension maximale du gros granulat. Le diamètre de la carotte est au moins égal à 3 fois la dimension maximale du gros granulat. 5. Fixer la zone de prélèvement de la carotte : Les carottes utilisées pour déterminer la résistance à la compression ne doivent contenir aucune armature qui soit parallèle, ou presque parallèle, à leur axe longitudinal. Il est important de retenir que les échantillons doivent être représentatifs des éléments structuraux analysés. Il est généralement utile de prélever des carottes non seulement dans les parties les plus détériorées mais aussi dans les parties saines. L'analyse comparative des résultats d'essais facilite souvent l'identification des causes des dégradations. 6. Prélever une carotte de la poutre. 7. Fixer la longueur de la carotte de façon que l’élancement soit égal à 2. 8. Préparer la carotte : Les faces d’application de l’effort de compression devront être lisses et perpendiculaires à l’axe longitudinal. Si nécessaire, il convient de meuler les faces de chargement pour à atteindre cette spécification. Les diamètres minimal et maximal de la carotte ne devront pas présenter un écart supérieur à 2 % par rapport au diamètre moyen. Éliminer toute trace de sable ou d’autre matériau de la surface de l’éprouvette. Si l'éprouvette doit être soumise à l'essai alors qu'elle est encore humide, éliminer toute trace d’eau superficielle. 9. Réaliser l’essai de compression sur la carotte en utilisant la machine de compression (Fig.29). Il faut éviter de réaliser l’essai de compression sur une carotte dont les surfaçages sont fissurés, bullés, ou adhèrent mal au béton. Il faut aussi consigner l'état d'humidité (humide/sec) de la surface de l’éprouvette au moment de l'essai. 10. Déterminer la résistance à la compression de chaque carotte en divisant la valeur de la charge maximale par l'aire de la section transversale calculée à partir du diamètre moyen, et exprimer les résultats à 0,5 MPa près.
  • 34.
    ENIS TP deméthodologie et matériels d’expertise Benjeddou.0 et Jedidi.M Page 33 Remarque: Si l’élancement de la carotte est différent de 2, il faut corriger la valeur de la résistance à la compression obtenue et ceci conformément à la norme C 42/C 42M – 99. Il faut donc corriger le résultat obtenu en multipliant par les facteurs de correction appropriés indiqués dans tableau suivant: Elancement Facteur de correction 1,75 0,98 1,50 0,96 1,25 0,93 1,00 0,87 Tableau.1 : Facteur de correction de la résistance à la compression en fonction de l’élancement de la carotte Utiliser l'interpolation pour déterminer les facteurs de correction pour les élancements dont les valeurs ne figurent pas dans le tableau. NOTE : 1. Les facteurs de correction dépendent de l’état d'humidité de la carotte. 2. Ces facteurs de correction s’appliquent à la fois sur le béton léger et le béton normal. 3. Ils sont pour des résistances à la compression allant de 14 à 42 MPa. 4. Les résultats d'essais de compression sur des carottes montrent que les facteurs de correction pour des bétons à haute performance peuvent être plus grands que les valeurs indiquées ci-dessus. Ainsi, ces facteurs devraient être pris avec prudence. Fig.29 : Essai de compression sur une carotte de béton durci
  • 35.
    ENIS TP deméthodologie et matériels d’expertise Benjeddou.0 et Jedidi.M Page 34 V. Travail demandé: 1. Mesure de la résistance à la compression de la poutre à l’aide d’un scléromètre. Le résultat sera représenté dur le document réponse 1. 2. Repérer les armatures d’une face de la poutre à l’aide d’un profomètre d’armatures. Dessiner le schéma de ferraillage sur le document réponse 2. 3. Choisir la zone de prélèvement de la carotte. 4. Localiser, sur le document réponse 2, la zone de prélèvement de la carotte. 5. Prélever une carotte de la poutre. 6. Réaliser un essai de compression sur la carotte prélevée. 7. Calculer la résistance à la compression du béton de la poutre. Le résultat doit être présenté la fiche de résultat de l’essai de compression sur une carotte de béton (Annexe A). 8. Comparer la valeur de la résistance obtenue par un essai de compression sur la carotte à celle obtenue par le scléromètre. 9. Interpréter les résultats.
  • 36.
    ENIS TP deméthodologie et matériels d’expertise Benjeddou.0 et Jedidi.M Page 35 DOCUMENT REPONSE 1 Mesure de la résistance à la compression par un scléromètre Essai Indice scléromètrique IS (MPa) Indice scléromètrique par ordre croissant IS (MPa) Zone 1 Zone 2 Zone 3 Zone 1 Zone 2 Zone 3 1 2 3 4 5 6 7 8 9 10 11 12 13 14 15 16 17 18 19 20 21 22 23 24 25 26 27 Indice sclérométrique IS Indice sclérométrique moyenne ISm La résistance à la compression Rc (MPa)
  • 37.
    ENIS TP deméthodologie et matériels d’expertise Benjeddou.0 et Jedidi.M Page 36 DOCUMENT REPONSE 2 Schéma de ferraillage d’une face de la poutre
  • 38.
    ENIS TP deméthodologie et matériels d’expertise Benjeddou.0 et Jedidi.M Page 37 ANNEXE A Fiche de résultat de l’essai de compression sur une carotte de béton Date de l’essai : Heure de l’essai : Date du prélèvement de ka carotte: Norme : Essai réalisé par : Localisation de la carotte : Dimension maximale des granulats : Dimensions de la carotte : Diamètre = Hauteur = Elancement = Schéma de la carotte Etat d’humidité de la surface Description de la carotte Section de la carotte [mm2 ] = Charge à la rupture [N] = La résistance à la compression Rc (MPa) =
  • 39.
    ENIS TP deméthodologie et matériels d’expertise Benjeddou.0 et Jedidi.M Page 38 ANNEXE B La courbe de conversion du scléromètre
  • 40.
    ENIS TP deméthodologie et matériels d’expertise Benjeddou.0 et Jedidi.M Page 39 TP N°5 MESURE DE LA PROFONDEUR DE CARBONATATION D’UN BETON ARME PAR LA METHODE PHENOLPHTALEINE I. But de l’essai : La carbonatation est une source de dégradation des ouvrages en béton armé et nuit à leur durabilité. Ce phénomène conduit à la dépassivation des armatures et à leur oxydation. Pour mesurer la profondeur de la couche carbonatée situe près de la surface du béton durci, on utilise la méthode d’essai à la phénolphtaléine. Cette méthode peut être utilisée in situ ou en laboratoire sur des carottes ou des fragments prélevés sur des structures en béton durci. II. Références normatives : L’essai de la mesure de la profondeur de carbonatation par la méthode de phénophtaléine est basé sur les normes suivantes : - NF EN 14630 :2007, Produits et systèmes pour la protection et la réparation des structures en béton, Méthodes d'essai : Mesurage de la profondeur de carbonatation d'un béton armé par la méthode phénolphtaléine. - NF EN 12504-1:2000, Essais pour béton dans les structures - Partie 1 : Carottes, prélèvement, examen et essais en compression. - NF EN 12390-1:1999, Essais pour béton durci - Partie 1 : Forme, dimensions et autres exigences aux éprouvettes et aux moules. III. Le phénomène de carbonatation du béton: 1. Présentation du phénomène de la carbonatation : Les bétons exposés à l’atmosphère se carbonatent plus au moins rapidement. Le dioxyde de carbone qui pénètre à la surface du béton réagit avec les constituants alcalins contenus dans la pate du ciment, surtout le calcium. Cette réaction entraine la consommation de bases alcalines présentes dans la solution interstitielle des bétons aboutissant à une diminution du pH qui passe d'une valeur de 13 à une valeur inférieure à 9. D'un point de vue chimique cette réaction se présente ainsi : CO2 + Ca(OH)2 ---------H2O + bases alcalines-------> CaCO3 + H2O
  • 41.
    ENIS TP deméthodologie et matériels d’expertise Benjeddou.0 et Jedidi.M Page 40 Cette carbonatation a pour conséquence une modification lente de la structure du matériau et un changement de son comportement. La carbonatation génère deux propriétés antagonistes:  Elle est bénéfique en améliorant la résistance mécanique et la résistance aux eaux agressives ;  Elle est néfaste en réduisant la protection chimique des armatures : la carbonatation est de favoriser la corrosion des armatures, lorsque le front de carbonatation les atteint. En effet, les armatures, passivées dans le béton sain de fort pH, ne sont plus protégées dans le béton carbonaté. Quand le processus de dégradation est fort, la rouille provoque l’éclatement du béton d’enrobage et laisse apparaître, à partir d’épaufrures, les armatures oxydées. Il est donc nécessaire d’évaluer le stade de vieillissement d’un béton en vue de sa réparation en connaissant jusqu’ou, a un moment donné, la carbonatation a pénétré, c'est-à- dire la limite de protection existant encore par rapport aux emplacements des armatures. La vitesse de carbonatation obéit à un processus de diffusion du CO2 atmosphérique à travers la couche de carbonates formée. Cette vitesse est fonction de nombreux paramètres dont les plus importants sont la porosité et le taux d’humidité relative du milieu ambiant. Elle est maximale pour une humidité comprise entre 40% et 80% . On peut ralentir la progression de la carbonatation en :  Augmentant le dosage en ciment  Diminuant le rapport E/C  Augmentant le temps de cure  Augmentant la résistance à la compression. 2. Principe de mesure de la profondeur de carbonatation par la méthode à la phénolphtaléine : La technique la plus simple à mettre en œuvre pour mesurer la profondeur de carbonatation des bétons correspond au test à la phénolphtaléine réalisé sur des fractures fraiches de béton. La phénolphtaléine est un indicateur de pH coloré dont le virage se situe aux alentours de 9. Cela permet de différencier la zone carbonatée (pH < 9) qui reste incolore, de la zone non carbonatée (pH > 9 et allant jusqu' à 13) colorée en violet. Cet essai doit être effectué à l'échelle d'un ouvrage, sur un nombre de points de mesure représentatifs en tenant compte des conditions locales d'exposition et de l'hétérogénéité possible du matériau. Ce test permet une mesure fiable et rapide de la profondeur de carbonatation dans le cadre de diagnostic d'ouvrages.
  • 42.
    ENIS TP deméthodologie et matériels d’expertise Benjeddou.0 et Jedidi.M Page 41 IV. Matériels nécessaires :  Une solution Contenant l’indicateur phénolphtaléine (généralement 1g de phénolphtaléine) dissous dans 70 ml d’alcool éthylique avec 100 ml d’eau distillée.  Une carotteuse pour retirer des échantillons de carottes de la structure de diamètre minimal 50 mm.  Un profomètre pour détecter la position des armatures sur la structure dans le but d’obtenir des carottes sans détériorer l’acier  Dispositif de mesure tel qu’un compas ou une règle permettant de mesurer la distance entre la surface du béton et le front de carbonatation, avec une précision de 1 mm. V. Mode opératoire : 1. Essai sur un fragment de l’ouvrage : Les étapes de la mesure de la profondeur de carbonatation par la méthode de phénolphtaléine sur un fragment de l’ouvrage sont les suivantes : - En burinant les quatre surfaces du poteau étudié par un marteau pour produire une surface de béton tout juste cassée (Fig.30). Fig.30 : Préparation de la surface de Fig.31 : Coloration de la surface après mesure sur un poteau pulvérisation de la phénolphtaléine - Eliminer toute poussière ou particules libres des surfaces de cassure sans utiliser d’eau ou d’abrasif. - Pulvériser ses surfaces à la solution indicatrice de phénolphtaléine (Fig.31). - Mesurage de la profondeur de carbonatation entre la surface externe de béton et le bord de la région colorée en rouge pourpre à l’aide d’un ruban ou d’une réglette.
  • 43.
    ENIS TP deméthodologie et matériels d’expertise Benjeddou.0 et Jedidi.M Page 42 2. Essai sur une carotte de l’ouvrage : Les étapes de mesure de la profondeur de carbonatation par la méthode de phénolphtaléine sur une carotte de l’ouvrage sont les suivantes : a. Détection des armatures : Utilisation d’un profomètre pour détecter la position des armatures sur la structure dans le but d’obtenir des carottes sans détériorer les armatures (Fig.32). Fig.32: Détection des armatures de Fig.33 : Prélèvement d’une carotte la poutre de béton de la poutre b. Prélèvement des carottes : Cette étape consiste à prélever des carottes de béton durci de la poutre. Lorsque les carottes sont obtenues par carottage à l’eau ou lorsque la grosseur nominale maximale du granulat est supérieure à 16 mm, le diamètre nominal minimal des carottes doit être égal à 50 mm. Ensuite, retirer le plus rapidement possible toute eau de surface des carottes, marquer ces derniers pour indiquer leur position et leur orientation par rapport à la surface de béton d’origine et enfin les conserver dans un endroit sec jusqu’à l’essai qui doit avoir lieu le plus rapidement possible après l’échantillonnage. A noter que toute extraction traversant des armatures doit être éviter autant que possible et s’il y en a lieu, ces carottes ne seront pas prises dans l’essai de compression. c. Préparation de la carotte : Fendre les carottes le long de leur axe longitudinal (si possible à mi- diamètre de la carotte) (Fig.34).
  • 44.
    ENIS TP deméthodologie et matériels d’expertise Benjeddou.0 et Jedidi.M Page 43 Fig.34 : Fendage d’une carotte le long de son axe longitudinal Pat la suite, il faut éliminer toute poussière ou particules libres des surfaces de cassure sans utiliser d’eau ou d’abrasif. d. Mesurage de la profondeur de carbonatation : Pulvériser ces surfaces à la solution indicatrice phénolphtaléine pour les humidifier en veillant à ce que la pulvérisation ne ruisselle pas sur la surface (Fig.35). Lorsque le béton est très sec, une légère brume d’eau peut être appliquée à la surface cassée juste avant l’application de la solution de phénolphtaléine. Béton non carbonaté Béton carbonaté Fig.35 : Pulvérisation de la surface de la Fig.36 : Délimitation de la zone du carotte par la solution de phénolphtaléine béton carbonaté Pour faciliter la mesure de la profondeur de carbonatation, il faut délimiter la zone de béton carbonaté (Fig.36). La profondeur de carbonatation est, en tout point donné, la distance dK (mesurée en millimètres) entre la surface externe du béton et le bord de la région colorée en rouge-pourpre.
  • 45.
    ENIS TP deméthodologie et matériels d’expertise Benjeddou.0 et Jedidi.M Page 44 Le front de carbonatation étant dans la pratique irrégulier, la profondeur moyenne dK moy et la profondeur maximale dK max doivent toutes deux être mesurées au millimètre près (Fig.37). S'il existe des poches isolées, par exemple au niveau des fissures, où la profondeur maximale dk max, est beaucoup plus importante que la profondeur moyenne dk moy, alors la valeur dk max ne doit pas être incluse dans le calcul de dk moy. Remarque importante : Il convient de mesurer et de noter le virage instantané au rouge-pourpre dans les 30 s qui suivent la pulvérisation. Fig.37 : Front de carbonatation VI. Travail demandé : 1. Détecter les armatures de la poutre d’essai en utilisant le profomètre et mesurer l’enrobage de chaque barre. 2. Dessiner le schéma de ferraillage de la poutre sur le document réponse 1. 3. Prélever une carotte de la poutre de diamètre 50 mm. Localiser, sur le document réponse 1, la zone de prélèvement de la carotte. 4. Mesurer la profondeur de carbonatation du béton de la poutre (dk moy). Le résultat doit être présenté sur le document réponse 2. 5. Préparer la fiche de l’essai de mesurage de la profondeur de carbonatation par la méthode de phénolphtaléine de la poutre d’essai selon le modèle présenté dans l’annexe A. 6. Comparer la profondeur de carbonatation du béton de la poutre à la valeur de l’enrobage des armatures. 7. Mesurer la profondeur de carbonatation moyenne sur un fragment de béton du poteau d’essai. Le résultat doit être présenté sur le document réponse 2. 8. Interpréter les résultats obtenus.
  • 46.
    ENIS TP deméthodologie et matériels d’expertise Benjeddou.0 et Jedidi.M Page 45 DOCUMENT REPONSE 1 Schéma de ferraillage de la poutre
  • 47.
    ENIS TP deméthodologie et matériels d’expertise Benjeddou.0 et Jedidi.M Page 46 DOCUMENT REPONSE 2 Tableau de mesure de la profondeur de carbonatation Profondeur de carbonatation du béton de la poutre d’essai Points Profondeur de carbonatation dk [mm] 1 2 3 4 5 6 7 8 dk moy [mm] dk max [mm] Profondeur de carbonatation du béton de la poutre d’essai Points Profondeur de carbonatation dk [mm] 1 2 3 4 5 6 7 8 dk moy [mm] dk max [mm]
  • 48.
    ENIS TP deméthodologie et matériels d’expertise Benjeddou.0 et Jedidi.M Page 47 ANNEXE A Fiche de l’essai de mesurage de la profondeur de carbonatation par la méthode de phénolphtaléine de la poutre d’essai Date de l’essai : Heure de l’essai : Norme : Essai réalisé par : Le numéro d’identification et l’emplacement de l’échantillon : Schéma de l’échantillon testé Exposition de l’échantillon Taille et type de l’échantillon Composition et âge du béton La composition de la solution indicatrice : Température au moment de l’essai T (°C) : Valeur de la profondeur de carbonatation moyenne dk moy : Valeur de la profondeur de carbonatation maximale dk max :
  • 49.
    ENIS TP deméthodologie et matériels d’expertise Benjeddou.0 et Jedidi.M Page 48 TP N°6 MESURE DES OUVERTURES DES FISSURES I. But : L’un des désordres les plus fréquents des structures en béton est la fissuration. De ce fait, les fissures dans les éléments de structure (poutre, plancher, voile, poteau,…) doivent être suivies et évaluées avec un soin particulier. Le suivi des fissures permet non seulement de mesurer l’évolution globale des fissures, sur la période considérée, mais surtout l’évolution zone par zone, ainsi que les périodes d’activité des fissures. Ainsi, l'analyse de l'évolution permet la mise en œuvre d'actions de prévention et/ou de correction des fissures précises. Le but de cette manipulation est de :  Manipuler les jauges (G1, G1+, G3 et G6) de mesure de l’évolution des ouvertures des fissures.  Mesurer les ouvertures d’un tracé de fissures par un fissuromètre.  Dessiner le tracé d’une fissure. II. Généralités sur les fissures : 1. Caractéristiques d’une fissure : Une fissure est caractérisée par 4 éléments : a. Son ouverture : C’est la largeur entre lèvres qui peut être évaluée à l’œil nu et peut se mesurer avec précision à l’aide d’un fissuromètre. b.Son tracé : C’est le développé de la fissure visible, sur toutes les surfaces de la structure. c. Sa profondeur : Selon son caractère traversant ou non, la fissure peut être qualifiée de différentes façons :  Fissure de surface : fissure qui ne traverse pas l’épaisseur de la structure. L’ouverture dans ce cas est maximum en surface et nulle au sein du matériau.  Fissure traversant : fissure visible sur au moins deux faces de la structure.  Fissure aveugle : Fissure traversant mais non accessible d’un ou plusieurs côtés de la structure.
  • 50.
    ENIS TP deméthodologie et matériels d’expertise Benjeddou.0 et Jedidi.M Page 49 d.Son activité : Selon l’activité des fissures, on distingue les deux types de fissures suivantes :  Fissure passive ou morte : fissure dont l’ouverture ne varie pas dans le temps, quelque soient les conditions de température ou de sollicitation de l’ouvrage car leur cause à disparue ou devenue négligeable.  Fissure active : fissure qui varie dans le temps en fonctions des gradients thermiques ou hygrométrique, des sollicitations de l’ouvrage ou des défauts d’exécution 2. Classification des fissures Il n’existe pas actuellement de normes classant les fissures suivant leur ouverture. On a coutume néanmoins de distinguer les fissures proprement dites du faïençage et des microfissures. a. Faïençage : C’est un réseau caractéristique d’ouvertures linéaires superficielles de très faible largeur qui n’intéresse, le plus souvent, que la couche superficielle du béton ou de l’enduit à base de liant hydraulique. b.Microfissure : C’est une fissure très fine au tracé plus ou moins régulier et le plus souvent discontinu et dont la largeur est inférieure à 0,2 mm. Elle peut évoluer jusqu’à former un réseau. c. Fissure : C’est une ouverture linéaire au tracé plus ou moins régulier dont la largeur est d’au moins 0,2 mm. 3. Les causes les plus fréquentes des fissures : Ces causes sont multiples, on peut les classer en trois grandes catégories : - les causes propres inhérentes aux propriétés des matériaux : par exemple, le retrait dû à l’évaporation de l’eau de gâchage, le gonflement dû à la réaction exothermique du liant, la résistance mécanique de la cohésion du liant ; - les causes directes externes, c’est-à-dire celles agissant directement sur les structures en béton : par exemple, les déformations excessives sous l’action des charges, les déformations sous l’action de la température ou sous l’action de l’humidité ; - les causes externes indirectes, c’est-à-dire les répercussions sur certaines structures d’actions provenant d’autres éléments : par exemple, le tassement différentiel des fondations, certains cas de concentrations de contraintes, l’association à d’autres éléments qui se déforment excessivement (dilatation de toiture...), les vibrations, les trépidations soumettant certaines sections à une fatigue de déformations dépassant les limites élastiques du béton.
  • 51.
    ENIS TP deméthodologie et matériels d’expertise Benjeddou.0 et Jedidi.M Page 50 4. Mesures de l’évolution des fissures : Avant d’entreprendre le traitement des fissures, il est indispensable, pour choisir la technique appropriée, de déterminer si elles sont mortes, stabilisées ou actives. La connaissance de l’amplitude d’ouverture et de la période des battements extrêmes correspondants est une information nécessaire en pratique avant l’exécution d’une réparation. Pour cela, il faut appareiller les fissures et suivre leur évolution pendant une durée donnée. Parmi les dispositifs on peut citer :  Les fissuromètres ;  Les jauges ; III. Appareillage : Pour le contrôle de la fissuration, plusieurs instruments e techniques servent à mesurer une fissure et suivre son évolution dans le temps et dans l’espace. Les instruments utilisés dans ce TP sont : 1. Le fissuromètre : C’est une réglette en plastique transparent munie de traits de largeurs calibrées que l’on place successivement sur la fissure à observer pour estimer la largeur de la fissure. Il permet de mesurer par comparaison, des ouvertures de fissures comprises entre 0,05 et 2 mm. Fig.38 : Le fissuromètre Il suffit d’appliquer le fissuromètre sur la fissure et faire glisser jusqu’à superposition exacte du trait gradué avec l’épaisseur de la fissure. Fig.39 : Mesure de l’épaisseur d’une fissure par un fissuromètre
  • 52.
    ENIS TP deméthodologie et matériels d’expertise Benjeddou.0 et Jedidi.M Page 51 2. Les jauges : a. Jauge G1 : Elle permet de mesure l'évolution des fissures dans un même plan Il s'agit d'une coulisse graduée dont chacune des parties est fixée de part et d'autre de la fissure. Ce dispositif permet de lire à plusieurs dates sur les graduations, l'ouverture de la fissure et d'en déduire son évolution. Sa résolution minimum est de 0,1 mm et le champ de mesure est de 30 mm. Fig.40 : Jauge G1  Exemple de lecture de la jauge G1 : a) Lecture des mm : Le nombre de mm correspond à la graduation située à gauche du repère du vernier : 13mm dans le cas de fig.41. b) Lecture de la décimale : Rechercher un trait du vernier qui coïncide avec un trait de l’échelle de mesure. Dans le cas de Fig.41, la graduation 8 du vernier coïncide avec la graduation 21 de l’échelle de mesure. C’est à dire que la lecture de la décimale est 8/10ème de mm. On lira donc 138/10ème de mm. Fig.41 : Exemple de lecture de la jauge G1 b.Jauge G1+ : Elle permet de mesure l'évolution des fissures dans un même plan avec lecture digitale Son principe est le même que la précédente (mesure des déplacements de translation) mais sa précision est de 1/20.
  • 53.
    ENIS TP deméthodologie et matériels d’expertise Benjeddou.0 et Jedidi.M Page 52 Fig.42 : Jauge G1+  Exemple de lecture de la jauge G1+ : Le repère du vernier se situe entre 34 et 35 (Fig.43) a) Lecture des mm : Le nombre de mm correspond à la graduation située à gauche du repère du vernier : 34 dans ce cas de figure b) Lecture de la décimale : Rechercher quelles sont la ou les lignes de lumières obturées. Dans cet exemple ce sont les lignes 1 et 2 qui sont noircies ce qui signifie que le repère du vernier se situe à mi distance du premier et du deuxième dixième. On ne lira donc ni 34,10mm, ni 34,20mm mais bien 34,15 mm Fig.43 : Exemple de lecture de la jauge G1+ c. Jauge G3 : La jauge de type G3 est destinée à mesurer l’évolution d’un désaffleurement vertical, d’un désarasement horizontal, ou d’une façon générale, l’évolution du mouvement d’un plan “Z“ perpendiculaire ou parallèle à un plan de référence “X,Y“. Jauge destinée à mesurer
  • 54.
    ENIS TP deméthodologie et matériels d’expertise Benjeddou.0 et Jedidi.M Page 53 l'évolution d'un plan perpendiculaire ou parallèle par rapport à un plan de référence : désaffleurement vertical (flèche) ou désarasement horizontal. Fig.44 : Jauge G3 d.Jauge G6 : Elle permet de mesure l'évolution de l'écartement et la rotation des lèvres d'une fissure dans un même plan Jauge destinée à mesurer l'évolution de l'écartement et de la rotation des lèvres d'une fissure, ou d'un joint quelconque, dans un même plan. Cette jauge permet d'apprécier les évolutions des pathologies dues à différentes contraintes, et se traduisant par une déformation ou une rupture. Fig.45 : Jauge G6 Fig.46 : Schéma de la jauge G6
  • 55.
    ENIS TP deméthodologie et matériels d’expertise Benjeddou.0 et Jedidi.M Page 54 IV. Travail demandé : 1. Expliquer comment peut-on lire les mesures des jauges G1, G1+, G3 et G6. 2. Choisir le tracé de la fissure à étudier. 3. Dessiner le tracé de la fissure (La figure 47 présente un exemple de tracé d’une fissure). 4. Mesurer les ouvertures des fissures à l’aide d’un fissuromètre. Présenter les résultats dans un tableau (Le tableau 2 présente les ouvertures du tracé de la fissure présenté sur la figure 47). Fig.47 : Exemple de tracé d’une fissure Tableau.2 : Exemple d’ouvertures de fissure Points Largeur de la fissure (mm) A 0,1 B 0,1 C 0,05 D 0,3 E 0,2 F 0,1 G 0,05 H 0,05 I 0,2 J <0,05
  • 56.
    ENIS TP deméthodologie et matériels d’expertise Benjeddou.0 et Jedidi.M Page 55 REFERENCES BIBLIOGRAPHIQUES - Norme BS 1881, Part 204: 1988, testing concrete-Non destructive: Recommendations of the use of electromagnetic covermeters. - Norme NF P 18-417 : 1989, Mesure de la dureté de surface par rebondissement à l’aide d’un scléromètre. - Norme NF EN 12504-1:2000, Essais pour béton dans les structures - Partie 1 : Carottes, prélèvement, examen et essais en compression. - Norme NF EN 12504-2 : 2003, Essais pour béton dans les structures - Partie 2 : Essais non destructifs - Détermination de l'indice de rebondissement. - Norme NF EN 12390-1:1999, Essais pour béton durci - Partie 1 : Forme, dimensions et autres exigences aux éprouvettes et aux moules. - Norme NF EN 12390-3:1999, Essais pour béton durci - Partie 3 : Résistance à la compression des éprouvettes. - Norme NF EN 12390-4:1999, Essais pour béton durci - Partie 4 : Résistance en compression - Caractéristiques des machines d'essai. - Norme C 42/C 42M – 99, Standard Test Method for Obtaining and Testing Drilled Cores and Sawed Beams of Concrete. - Norme NF EN 14630 :2007, Produits et systèmes pour la protection et la réparation des structures en béton, Méthodes d'essai : Mesurage de la profondeur de carbonatation d'un béton armé par la méthode phénolphtaléine. - Laboratoire Central des Ponts et Chaussées, Réaction sulfatique interne au béton- Essai d’expansion résiduelle sur carotte de béton extraite de l’ouvrage : Méthode d’essai n° 67, Mars 2009. - Laboratoire Central des Ponts et Chaussées, Présentation des techniques de diagnostic de l’état d’un béton soumis à un incendie : Méthodes d’essai n° 62, Décembre 2005. - Marc MAMILLAN, Restauration des bâtiments en béton armé, Techniques de l’Ingénieur, traité Construction C 2 350. - D. Breysse1, S.M. Elachachi1, J.P. Balayssac, Diagnostic de l’état du béton : combinaison d’informations et réduction des incertitudes, 5ème rencontres de l’AUGC, Bordeaux, 2007.