© EDF/GDF SFP Domaine CAP/7685.matériel .doc.12/.2003 1
Sommaire
 Réseau aérien HTA (Définitions) pages 2 à 6
 Lignes principales et secondaires(doctrine constructive) pages 7 à 12
 Fonctions des supports pages 13 à 17
 Armements rigides pages 18 à 22
 Armements suspendus pages 23 à 27
 Isolé torsadé pages 28 à 30
 Nappes d’arrêts pages 31 à 32
 Dispositifs à allongement contrôlé (DAC) pages 33 à 35
 Isolateurs HTA rigide pages 36 à 37
 Isolateurs HTA suspendu pages 38 à 41
 Surisolement page 42
 Hauteurs règlementaires page 43
 Ordre d’idée des efforts de supports HTA page 44
 Mises à la terre page 45
 Parafoudres pages 46 à 49
 Anti-Paille page 50
 Masses anti-giratoire pages 51
 Matériel avifaune pages 52 à 60
© EDF/GDF SFP Domaine CAP/7685.matériel .doc.12/.2003 2
Réseaux aériens HTA (définitions)
 PORTEE (a):
C’est la distance horizontale entre 2 supports elle s’exprime en mètres.
 PORTEE EQUIVALENTE (ae):
C’est la portée représentative de la tension mécanique dans le canton de pose.
Elle s’exprime en mètres selon la formule suivante :
Exemple :
a a
Σ a3
ae = Σ a
a1 a2 a3 an
Σ a13
+ a23
+ a33
+ an3
ae = Σ a1 + a2 + a3 + an
© EDF/GDF SFP Domaine CAP/7685.matériel .doc.12/.2003 3
Réseaux aériens HTA (définitions)...suite
 CANTON DE POSE (a):
C’est l’ensemble des portées comprises entre 2 supports arrêts de canton (AS, AD,
SA).
Exemple :
 PARAMETRE (P):
Pour SIMPLICATION
C’est le rayon du cercle osculateur (cercle formé par le prolongement du câble),
qui s’exprime en mètres.
a1 a2 a3
AD
Arrêt double
SF
Simple fixation
DA
Double ancrage
AS
Arrêt simple
Canton de pose
a
P
O
© EDF/GDF SFP Domaine CAP/7685.matériel .doc.12/.2003 4
Réseaux aériens HTA (définitions)...suite
 Si le paramètre P augmente, alors la tension mécanique T augmente et la flèche
f diminue.
 Si le paramètre P diminue, alors la tension mécanique T diminue et la flèche f
augmente.
a
P1
O
a >
P2 > P1
O
a
P1
O
a <
P3 < P1
O
© EDF/GDF SFP Domaine CAP/7685.matériel .doc.12/.2003 5
Réseaux aériens HTA (définitions)...suite
 FLECHE (f):
C’est la distance verticale entre la corde et le conducteur
Nota : La flèche médiane est toujours la flèche maximale.
a/2 a/2
f
Corde
a/2 a/2
f
Corde
Portée 2
8 x Paramètre
flèche a2
8P
f
© EDF/GDF SFP Domaine CAP/7685.matériel .doc.12/.2003 6
Réseaux aériens HTA (définitions)...suite
 ARMEMENT :
Un armement est l’ensemble des équipements permettant de positionner les
conducteurs dans l’espace suivant une disposition géométrique déterminée
 Il existe 4 types de disposition d’ armements :
  
3 Nappe 4 Triangle

 
2 Drapeau



1 Alterné



© EDF/GDF SFP Domaine CAP/7685.matériel .doc.12/.2003 7
 Conducteurs de section 148 mm2
aster dans les zones normales et 147 mm2
pastel dans les zones
à aléas climatiques sur isolateurs suspendus.
 Longueur moyenne des départs HTA 35Kms.
 Calculée à minima avec une surcharge de givre de 1Kg/m.
 Conducteurs calculés à l’hypothèse été (A1) à 15° C avec un vent de 570 Pa (Zone à vent normal)
ou (A2) avec un vent de 640 Pa (Zone à vent fort).
 Conducteurs calculés à l’hypothèse hiver (B1) à -10° C avec un vent de 180 Pa ou (B2) à -20° C
avec un vent de 180 Pa..
 Adopter de préférence, des paramètres élevés et des portées courtes.
 Paramètres préconisés :
 1400m (pour le 148 mm2
aster dans une zone à vent normal ou à vent fort)
 1400m (pour le 147 mm2
pastel dans une zone à vent fort).
 Portées équivalentes préconisés :
 175m (pour le 148 mm2
aster dans une zone à vent normal)
 165m (pour le 148 mm2
aster dans une zone à vent fort)
 200m (pour le 147 mm2
pastel dans une zone à vent fort).
 Portées maximales autorisées :
 245m (pour le 148 mm2
aster dans une zone à vent normal)
 230m (pour le 148 mm2
aster dans une zone à vent fort)
 280m (pour le 147 mm2
pastel dans une zone à vent fort).
 Bouclable (sur un autre poste source ou autre demi jeu de barres du même poste source).
 Construction plus solide depuis 1991 (par l’adoption des dispositions constructives de la norme
NFC 11-201 de 1991).
 Amélioration de la fiabilité des lignes existantes.
 La première portée de la dérivation fait partie de la ligne principale (même résistance
mécanique).
 15 portées maximum dans un canton de pose
 Eviter les grandes portées > aux portées maxi autorisées Dans ce cas, elles seront traitées
comme des portées uniques sur supports indépendants (arrêt à chaque extrémité), où les
contraintes mécaniques ne devront pas dépasser les ¾ de celles retenues habituellement.
 Eviter des portées « sèches » (en arrêt) inférieures à 40m.
Doctrine constructive
Ligne principale ou d’ossature aérienne (Technique suspendu)
© EDF/GDF SFP Domaine CAP/7685.matériel .doc.12/.2003 8
 Conducteurs en 54,6 mm2
aster , généralement sur isolateurs rigides (on peut également
construire en suspendu en cas de grandes portées).
 Tracé le plus possible épousant le bord des routes.
 Les armements alternés sont à privilégier (ce sont de très bon « fusibles mécaniques »).
 Calculée à minima avec une surcharge de givre de 1Kg/m.
 Conducteurs calculés à l’hypothèse été (A1) à 15° C avec un vent de 570 Pa (Zone à vent normal)
ou (A2) avec un vent de 640 Pa (Zone à vent fort).
 Conducteurs calculés à l’hypothèse hiver (B1) à -10° C avec un vent de 180 Pa ou (B2) à -20° C
avec un vent de 180 Pa..
 Tensions et portées maximales préconisés :
 23 N/mm2
pour une portée maximale de 110m dans une zone à vent normal (ZVN) et
100m dans une zone à vent fort (ZVF), parcours non ou peu sinueux.
 16 N/mm2
pour une portée maximale de 80m (ZVN) et 70m (ZVF), parcours sinueux.
Doctrine constructive
Ligne secondaire ou de dérivation aérienne (Technique rigide)
© EDF/GDF SFP Domaine CAP/7685.matériel .doc.12/.2003 9
Ligne principale ou d’ossature aérienne (Technique « suspendu »)










 

 

 









 












 
 
 


 



1
2
3
4
5
6
7
4 -1
4 -2
4 -3
4 -4



RAS
RAS
Ligne principale 148 mm2
Aster
Ligne secondaire 54,6 mm2
Aster
© EDF/GDF SFP Domaine CAP/7685.matériel .doc.12/.2003 10
Ligne secondaire ou de dérivation aérienne (Technique « rigide »)










 

 

 









 












 
 
 


 



1
2
3
4
5
6
7
4 -1
4 -2
4 -3
4 -4



RAS
RAS
Ligne secondaire 54,6 mm2
Aster
Ligne principale 148 mm2
Aster
© EDF/GDF SFP Domaine CAP/7685.matériel .doc.12/.2003 11
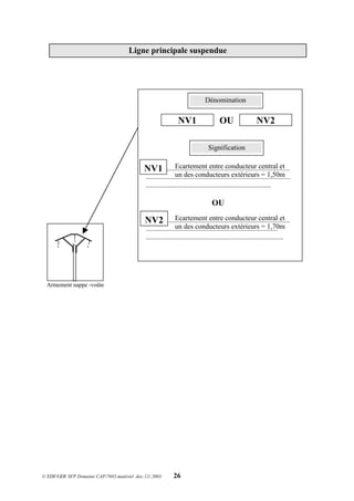
NV1 = nappe voûte (dont l’écartement entre 2 conducteurs de 1,50m )
NV2 = nappe voûte (dont l’écartement entre 2 conducteurs de 1,70m )
NW = nappe voûte pour région ventée (dont l’écartement entre 2 conducteurs de 1,75m )
AS AD SA SF

 
Armement en nappe-voûte
pour région ventée NW
Ligne principale (technique suspendue)
Fonctions de support possibles

 
Armement nappe -voûte
NV1 ou NV2
Armement en nappe d’ancrage
NA
  
Problèmes d’écartements
de conducteurs
OUI
NON

 
Armement en nappe-voûte
pour région ventée NW
Zone ventée
© EDF/GDF SFP Domaine CAP/7685.matériel .doc.12/.2003 12
VRB = voûte rigide en position basse (avifaune)
VRH = voûte rigide en position haute (normale)
AS DA SA SF
Ligne secondaire (technique rigide)
Fonctions de support possibles
Armement en nappe d’ancrage
NA
  
Problèmes d’avifaune
OUI NON



Armement alterné
A63 ou A70
Armement alterné
A63 ou A70



OU
OU

 
VRH

 
VRB
ou VR avec montants gainés
© EDF/GDF SFP Domaine CAP/7685.matériel .doc.12/.2003 13
FONCTIONS DES SUPPORTS HTA
Fonction : AS (Arrêt Simple)
Utilisation : Tête de ligne (ligne principale et ligne secondaire)



 Arrêt de canton
aux hypothèses été (A) et hiver (B) à son
effort nominal (FN)



 Arrêt de canton
à l’hypothèse givre (G) à sa limite
élastique (LE)
Tenue mécanique du support :
Le support fléchit
© EDF/GDF SFP Domaine CAP/7685.matériel .doc.12/.2003 14
FONCTIONS DES SUPPORTS HTA
Fonction : AD (Arrêt Double) ; 1 AD = 2 AS.
Utilisation :  Lignes principales :Limite de canton (tous les 2kms ou
toutes les 15 à 20 portées) et interrupteurs .
Tenue mécanique du support :
 Résultante des efforts entre :
T1 (tension mécanique 1) et T2 (tension mécanique 2)
aux hypothèses été (A) et hiver (B) à son effort
nominal (FN)
T1 # T2 
 Résultante des efforts
à l’hypothèse givre (G) à sa limite
élastique (LE)
T1 # T2
 Arrêt de chacun des cantons
aux hypothèses été (A) et hiver (B) à son
effort nominal (FN)



 Arrêt de chacun des cantons
aux hypothèses été (A) et hiver (B) à son effort
nominal (FN)
 Arrêt de chacun des cantons
à l’hypothèse givre (G) à sa limite
élastique (LE)
 Arrêt de chacun des cantons
à l’hypothèse givre (G) à sa limite élastique (LE)



© EDF/GDF SFP Domaine CAP/7685.matériel .doc.12/.2003 15
FONCTIONS DES SUPPORTS HTA
Fonction : SA (Semi Arrêt).
Utilisation :  Lignes principales :Limite de canton aux points bas
(angles importants,...).
 Lignes secondaires :Limite de canton (tous les 2kms ou
toutes les 15 à 20 portées) et interrupteurs .
Tenue mécanique du support :
 Résultante des efforts
aux hypothèses été (A) et hiver (B) à son effort
nominal (FN)
T1 # T2
 Résultante des efforts
à l’hypothèse givre (G) à sa limite
élastique (LE)
T1 # T2
 Arrêt de chacun des cantons
aux hypothèses été (A) et hiver (B) à sa
limite élastique (LE)
 Arrêt de chacun des cantons
aux hypothèses été (A) et hiver (B)) à sa limite
élastique (LE)



© EDF/GDF SFP Domaine CAP/7685.matériel .doc.12/.2003 16
FONCTIONS DES SUPPORTS HTA
Fonction : DA (Double Ancrage).
Utilisation :  Lignes secondaires :Points singuliers (points bas, angles
importants,...).
Tenue mécanique du support :
 Résultante des efforts
aux hypothèses été (A) et hiver (B) à son effort
nominal (FN)
T1 # T2
 Résultante des efforts
à l’hypothèse givre (G) à sa limite
élastique (LE)
T1 # T2
© EDF/GDF SFP Domaine CAP/7685.matériel .doc.12/.2003 17
FONCTIONS DES SUPPORTS HTA
Fonction : SF (Simple Fixation).
Utilisation :  Lignes suspendues : alignements, angles faibles (en
ligne principale et en ligne secondaire).
Tenue mécanique du support :
 Résultante des efforts
aux hypothèses été (A) et hiver (B) à son effort
nominal (FN)
T1 # T2
 Résultante des efforts
à l’hypothèse givre (G) à sa limite
élastique (LE)
Utilisation :  Lignes rigides : alignements, angles faibles (en ligne
secondaire).
Tenue mécanique du support :
 Résultante des efforts
aux hypothèses été (A) et hiver (B) à son effort
nominal (FN)
T1 # T2
 Résultante des efforts
à l’hypothèse givre (G) à sa limite
élastique (LE)

 
T1 # T2

 

 
T1 # T2

 
© EDF/GDF SFP Domaine CAP/7685.matériel .doc.12/.2003 18
ARMEMENTS RIGIDES
VR = voûte rigide
Armement alterné
Ecartement 63 ou A70



LIGNE
RIGIDE



Armement alterné
Ecartement A63 ou A70



Armement drapeau décalé
Ecartement DD105



Armement drapeau décalé
Ecartement DD105

 
Armement VR
VR1 ou VR2
  
Armement en nappe d’ancrage
NA
63 cm
ou
70cm
105 cm
63 cm
ou
70cm
105 cm
© EDF/GDF SFP Domaine CAP/7685.matériel .doc.12/.2003 19



Armement drapeau décalé
DD105



Armement alterné
A63 ou A70
Dénomination
CI 27 170 300
Signification
.....................................................................
..........................................................................
.....................................................................
..........................................................................
.....................................................................
..........................................................................
.....................................................................
................................................................................
CI
27
170
300
Dénomination
CT 27 210 100
Signification
.....................................................................
..........................................................................
.....................................................................
..........................................................................
.....................................................................
..........................................................................
.....................................................................
................................................................................
CT
27
210
100
Console Inclinée
Diamètre (en mm) de la console
inclinée
Longueur supérieure (en mm) de la
partie rectiligne de la console inclinée.
Déport (en mm) de la console par
rapport au support
Console de tête
Diamètre (en mm) de la console de tête
Longueur supérieure (en mm) de la partie
rectiligne de la console de tête.
Déport (en mm) de la console par rapport
au support
(A privilégier car cet armement est un
excellent fusible mécanique ; et de surcroît, il
règle bien des problèmes d’écartements de
conducteurs)
Ligne secondaire rigide
© EDF/GDF SFP Domaine CAP/7685.matériel .doc.12/.2003 20
Ligne secondaire rigide
Dénomination
BI 70 320 OU BIR 320
Signification
.....................................................................
..........................................................................
.....................................................................
..........................................................................
.....................................................................
..........................................................................
OU
.....................................................................
........................................................................
.....................................................................
................................................................................
BI
70
320
BIR
Dénomination
BT 70 150 OU BIR 150
Signification
.....................................................................
..........................................................................
.....................................................................
.
.....................................................................
...;......................................................................
OU
.....................................................................
................................................................................
.....................................................................
................................................................................
BT
70
BIR
150
Bras incliné
Largeur du profilé en U
Déport (en mm) de l’axe de fixation de
la tige par rapport au support
Bras incliné renforcé
Déport (en mm) de l’axe de fixation de
la tige par rapport au support
Bras de tête
Largeur du profilé en U
Déport (en mm) de l’axe de fixation de la
tige par rapport au support
Bras incliné renforcé
Déport (en mm) de l’axe de fixation de la
tige par rapport au support



Armement drapeau décalé
DD105
Armement alterné
A63 ou A70



320
150
© EDF/GDF SFP Domaine CAP/7685.matériel .doc.12/.2003 21
Ligne secondaire rigide
Dénomination
TR 25 200 80
OU
25 240 80
OU
25 285 80
Signification
.....................................................................
..........................................................................
.....................................................................
..........................................................................
..................................................................
.............................................................................
..................................................................
.............................................................................
OU
.....................................................................
..........................................................................
.....................................................................
..........................................................................
..................................................................
.............................................................................
OU
.....................................................................
..........................................................................
.....................................................................
..........................................................................
..................................................................
.............................................................................
25
240
80
TR
25
200
80
Tige renforcée
Filetage Ø 25mm (coté isolateur)
Longueur hors fixation (émergence
douille-embase) 200mm
Longueur de la partie fixation de la tige
80mm
Filetage Ø 25mm (coté isolateur)
Longueur hors fixation (émergence
douille-embase)) 240mm
Longueur de la partie fixation de la tige
80mm
Filetage Ø 25mm (coté isolateur)
Longueur hors fixation (émergence
douille-embase) 285mm
Longueur de la partie fixation de la tige
80mm



Armement drapeau décalé
DD105
Armement alterné
A63 ou A70




 
Armement
Voûte rigide
25
285
80
© EDF/GDF SFP Domaine CAP/7685.matériel .doc.12/.2003 22
Dénomination
VR1
OU
VR2
Signification
.....................................................................
..........................................................................
OU
.....................................................................
..........................................................................
VR1
VR2
Cornière du montant en 50mm
et cornière de la traverse en 60mm
Cornière du montant en 70mm
et cornière de la traverse en 80mm

 

 
VRH Position haute
(sans problème d’avifaune)
VRB Position basse
(avec problème d’avifaune)
ou achat de celui-ci avec montants gainés
Ligne secondaire rigide
© EDF/GDF SFP Domaine CAP/7685.matériel .doc.12/.2003 23
ARMEMENTS SUSPENDUS
Armement alterné
AS70 ou AS84



LIGNE
SUSPENDUE

 
Armement nappe -voûte
NV1 ou NV2



Armement drapeau
Ecartement DS105

 
Armement en nappe-voûte
pour région ventée NW
  
Armement en nappe
d’ancrage NA
105 cm
70 cm
ou
84 cm
© EDF/GDF SFP Domaine CAP/7685.matériel .doc.12/.2003 24
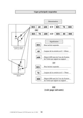
Ligne principale suspendue
.....................................................................
..........................................................................
.....................................................................
..........................................................................
..................................................................
................................................................
ET
.....................................................................
..........................................................................
.....................................................................
..........................................................................
.....................................................................
..........................................................................
OU
(voir page suivante)
Dénomination
BIS 70 600 ET BIS 80 800
Bras incliné suspendu
Largeur de la cornière en U = 60mm
Déport (600 mm) de l’axe de fixation
de l’étrier par rapport au support
Bras Incliné suspendu
Largeur de la cornière en U = 70mm
Déport (800 mm) de l’axe de fixation
de l’étrier par rapport au support



Armement drapeau
DS105
Armement alterné
AS70 ou AS84



BIS 60 600 ET BIS 70 800
OU
Signification
BIS
60
600
BIS
70
800
© EDF/GDF SFP Domaine CAP/7685.matériel .doc.12/.2003 25
.....................................................................
..........................................................................
.....................................................................
..........................................................................
.....................................................................
..........................................................................
ET
.....................................................................
.........................................................................
.....................................................................
..........................................................................
.....................................................................
..........................................................................
Bras Incliné Suspendu
Largeur de la cornière en U = 70mm
Déport (700 mm) de l’axe de fixation
de l’étrier par rapport au support
Bras incliné suspendu
Largeur de la cornière en U = 80mm
Déport (800 mm) de l’axe de fixation
de l’étrier par rapport au support
BIS
70
600
BIS
80
800
Ligne principale suspendue
© EDF/GDF SFP Domaine CAP/7685.matériel .doc.12/.2003 26
Armement nappe -voûte
Dénomination
NV1 OU NV2
Signification
.....................................................................
.................................................................................
......................................................................
OU
.....................................................................
..........................................................................
.............................................................................
NV1
NV2
Ecartement entre conducteur central et
un des conducteurs extérieurs = 1,50m
Ecartement entre conducteur central et
un des conducteurs extérieurs = 1,70m

 
Ligne principale suspendue
© EDF/GDF SFP Domaine CAP/7685.matériel .doc.12/.2003 27
Dénomination
NW 1er
chiffre X 2ème
chiffre
Signification
.....................................................................
.................................................................................
......................................................................
.....................................................................
..........................................................................
................................................................................
Largeur de la cornière de la
traverse en mm (50, 60, 70, 80
ou 90)
Largeur de la cornière des
montants en mm (50, 60, 70, 80
ou 90)

 
Armement en nappe-voûte
pour région ventée
(Cet armement règle aussi des
problèmes d’écartements de conducteurs)
1er
chiffre :
2ème
chiffre :
Ligne principale suspendue
© EDF/GDF SFP Domaine CAP/7685.matériel .doc.12/.2003 28
Quand les circonstances l’exigent, il est préférable d’utiliser du câble HTA aérien isolé,
ces circonstances sont répertoriées dans la doctrine « politiques et règles techniques »(PRT-
B.II.3, page 6)
 Passage en souterrain trop difficile,
 Régions boisées,
 Régions montagneuses sujettes au givre,
 Zones fortement polluées,
 Zones évolutives de construction,
 Pénétration à l’intérieur de petites agglomérations,
 Chantiers de construction.
 Le torsadé HTA est considéré comme « le vilain petit canard », par les exploitants (c’est
compréhensible), car les efforts mécaniques sont importants, ce qui nécessite des moyens
de traction adaptés dont les unités ne sont pas dotées, et, en cas de défaut sur le conducteur,
la recherche n’est pas toujours très aisée.
Ligne HTA isolée torsadée
© EDF/GDF SFP Domaine CAP/7685.matériel .doc.12/.2003 29
EA 50-10 ?
(Vous remarquerez qu’a la page 11 du B.32.3 s’est glissée « une petite coquille » EA 54-10 au
lieu de EA 50-10).
ES 50-25 ?
...................................................................................................................
...........................................................................................................
....................................................................................................................
..........................................................................................................
.....................................................................................................................
............................................................................................................
EA
50
10
...................................................................................................................
...........................................................................................................
....................................................................................................................
..........................................................................................................
.....................................................................................................................
............................................................................................................
ES
50
25
Ensemble d’ancrage (Console + Pince)
Porteur isolé acier 50mm2
.
Console de 10cm d’avancée.
Ensemble de suspension. (Console + Pince)
Porteur isolé acier 50mm2
.
Console de 25cm d’avancée.
Ligne HTA isolée torsadée
© EDF/GDF SFP Domaine CAP/7685.matériel .doc.12/.2003 30
8 gr
35 gr
Support n°4
......................................
......................................
.
Support n°3
.......................................
.......................................
Support n°2
.......................................
.......................................
Support n°1
........................................
.......................................
1 EA 50-10
1 EA 50-10
2 EA 50-10
1 ES 50-25
Ligne HTA isolée torsadée
© EDF/GDF SFP Domaine CAP/7685.matériel .doc.12/.2003 31
Lignes HTA principales ou secondaires nappes d’arrêts
NA
1
2
3
4
5
6
1,05m
1,20m
1,50m
2,00m
2,50m
3,00m
=
=
=
=
=
=
X
Y
Z
de 1600 à 6300
2000 à 12500
4000 à 20000
S (simple)
ou
D (double)
Nappe
d’arrêt
Ecartement
Forme
géométrique
Effort nominal
unifilaire (en N)
Accrochage
  
  
SUPPORT
UNIQUE
PORTIQUE
Nota : Les supports de classe D n’acceptent que les traverses de type NA1 et
NA2, à partir de la traverse NA3 il faut associer un support de classe E ou
bien surdimensionner de 20% le support de classe D (Couple de torsion).
© EDF/GDF SFP Domaine CAP/7685.matériel .doc.12/.2003 32
Lignes HTA principales ou secondaires nappes d’arrêts (fonctions : AS, AD, DA, SA)
?
Ecartement entre 2 conducteurs :
1 = 1,05m
2 = 1,20m
3 = 1,50m
4 = 2,00m
5 = 2,50m
6 = 3,00m
Forme géométrique de la traverse :
X 
Y 
Z 
Effort nominal unifilaire (en N)
S = Traverse simple
D = Traverse double
N = Nappe
A = d’arrêt
{
{
  
Support unique
  
Portique
NA 1X 1600 S
© EDF/GDF SFP Domaine CAP/7685.matériel .doc.12/.2003 33
DISPOSITIFS A ALLONGEMENT CONTROLE (DAC)
 Ils sont obligatoires sur les lignes neuves ou les anciennes fiabilisées (les
lignes HTA rigides et suspendues sont calculées à minima avec 1 Kg/m de
givre).
 2 jeux sont nécessaires dans tous les cantons de pose entre arrêt simple (AS)
ou arrêt double(AD) > à 3 portées et 1 seul jeu dans les cantons de pose ≤ à
3 portées.
Nota : Pas de DAC sur des semi arrêt (SA).
2 bretelles fusibles Témoin de détente
4 bretelles fusibles
Dispositif double
Dispositif simple
Avant fonctionnement
Avant fonctionnement
DAC type « compas » :
Après fonctionnement
 Gamme de 2.500N à 16.000N.
 Détente jusqu’à 33cm (pour le 16.000N).
 Poids d’environ 7,8Kg.
Après fonctionnement
© EDF/GDF SFP Domaine CAP/7685.matériel .doc.12/.2003 34
DISPOSITIFS A ALLONGEMENT CONTROLE (DAC)
DAC type « oméga » :
Avant fonctionnement
Après fonctionnement
 Gamme de 2.500N à 25.000N.
 Détente de 26cm (pour le 2.500N), jusqu’à
52cm (pour le 25.000N).
© EDF/GDF SFP Domaine CAP/7685.matériel .doc.12/.2003 35
DISPOSITIFS A ALLONGEMENT CONTROLE (DAC)
DAC type « Torflex » :
Après fonctionnement
 Gamme de 2.000N à 25.000N.
 Détente de 45cm (pour le 2.000N de type a),
jusqu’à 92cm (pour le 25.000N) de type b).
Avant fonctionnement
© EDF/GDF SFP Domaine CAP/7685.matériel .doc.12/.2003 36
VHT 20T/P ou 22T/P
TP
V : Verre
HT : Haute tension
20 : Pour ligne courante
T : Trempé / P : à pince
ou
22 : Pour les surisolements
T : Trempé / P : à pince
ISOLATEURS Ligne secondaire rigide
(alignements et angles faibles de fonction SF de dénivelées < 8 grades)



Armement alterné
A63 ou A70
Armement alterné
A63 ou A70




 
V : Verre
HT : Haute tension
20 : Pour ligne courante
T : Trempé
ou
22 : Pour les surisolements
T : Trempé
VHT 20T ou 22T
VRH ou VRB
OU
© EDF/GDF SFP Domaine CAP/7685.matériel .doc.12/.2003 37



Armement alterné
A63 ou A70
Armement alterné
A63 ou A70



325 AT

 
VRH ou VRB
ISOLATEURS Ligne secondaire rigide
(alignements et angles faibles de fonction SF (Zones polluées)
325 AT : est sa désignation (Sans décodage particulier)
© EDF/GDF SFP Domaine CAP/7685.matériel .doc.12/.2003 38

 
Armement en nappe-voûte
pour région ventée NW
ISOLATEURS Ligne principale suspendue
(alignements , angles, arrêts)
Norme de 11 (charge de rupture 40kN)

 
Armement nappe -voûte
NV1 ou NV2
Armement en nappe d’ancrage
NA
  
CT 175/40
CT : Capot tige
175 : Ø de l’élément isolant
40 : Charge de rupture en kN
© EDF/GDF SFP Domaine CAP/7685.matériel .doc.12/.2003 39

 
Armement en nappe-voûte
pour région ventée NW

 
Armement nappe -voûte
NV1 ou NV2
Armement en nappe d’ancrage
NA
  
CT : Capot tige
254 : Ø de l’élément isolant
40 ou 70: Charge de rupture en kN
CT 254/40
ou
CT 254/70
ISOLATEURS Ligne principale suspendue
(alignements , angles, arrêts) avec surisolement
Norme de 11 (charge de rupture 40kN) ou
Norme de 16 (charge de rupture 70kN)
© EDF/GDF SFP Domaine CAP/7685.matériel .doc.12/.2003 40

 
Armement en nappe-voûte
pour région ventée NW

 
Armement nappe -voûte
NV1 ou NV2
Armement en nappe d’ancrage
NA
  
F8P
ISOLATEURS Ligne principale suspendue (alignements , angles, arrêts)
Zone polluée
Norme de 16 (charge de rupture 70kN)
F8P : : est sa désignation (Sans décodage particulier)
© EDF/GDF SFP Domaine CAP/7685.matériel .doc.12/.2003 41

 
Armement en nappe-voûte
pour région ventée NW
ISOLATEURS Ligne principale suspendue (alignements , angles, arrêts)
Zones particulièrement sensibles aux perturbations radioélectriques
Norme de 11 (charge de rupture 40kN)

 
Armement nappe -voûte
NV1 ou NV2
Armement en nappe d’ancrage
NA
  
V 72 BS
ou
V 82 BS
V 72 BS : (1 pièce scellée) Isolement normal
V 82 BS : (1 pièce scellée) Surisolement
Shunt antiparasite
© EDF/GDF SFP Domaine CAP/7685.matériel .doc.12/.2003 42
DISPOSITION A
 Eloignement de l’arc.
 Accrochage de l’arc (avec ferrures
du support et des supports adjacents
mises à la terre s’ils ne sont pas
conducteurs).
DISPOSITION B
 Surisolement de 20% par
rapport à l’isolement normal
(avec ferrures des supports
adjacents mises à la terre si le
support ou a été fait le surisolement
est conducteur).
Le surisolement n’est plus recommandé
sur les Lignes suspendues.
On utilise systématiquement la disposition A
Pour les lignes neuves, on utilise :
 La disposition « A » en suspendu
 La disposition « B » en rigide
Cas particulier : Si la disposition B est appliquée à plus de 4 supports consécutifs, 1 ou
plusieurs de ces surisolements sont supprimés et remplacés par la disposition A. Dans ce
cas, les supports adjacents munis d’isolateurs visés en B ne doivent pas être mis à la terre.
LIGNES HTA Modalités de surisolement
R
I
G
I
D
E
A
N
C
R
A
G
E
35 cm
Corne
d’accrochage
de l’arc CD 40
Uniquement
dans les
zones
foudroyées
Double cône
d’accrochage
d’arc
VHT 22 T
au lieu de
VHT 20 T
Parafoudre
Dans ce cas, il n’est pas nécessaire
de mettre à la terre les ferrures des
supports adjacents
3 CT 175
ou
2 CT 254
2 CT 175
VHT 20T
2 CT 175
© EDF/GDF SFP Domaine CAP/7685.matériel .doc.12/.2003 43
Distances aux obstacles
Conditions
Normales
Conditions
Climatiques
exceptionnelles
Surplomb des terrains
Terrain ordinaire ou agricole 6 m 3 m Art. 24
Cours de ferme, d’usine H+1 m 4.5 m Art. 24
Cours d’enseignement, sport, jeux 6 m
(à éviter)
4 m Art. 24-48-60-99
Surplomb de voies
Voies ouvertes à la circulation 8 m 6 m Art. 24
Autoroute 8 m 8 m Art. 24
Voies pour passage d’engins de
grande hauteur
H+1 m
(D8 m)
6 m Art. 24-47
Bâtiments
>3 m accessible à des personnes et
pente >12°
3.2 m 2 m Art. 25-49
idem mais pente <12° ou terrasse 3.2 m 3 m Art. 25-49
Voisinage 3 m 3 m Art. 25-49
Arbres et divers
Surplomb 3 m 0.5 m Art. 26 / C11201 p 15
Voisinage 2 m 0.5 m Art. 26 / C11201 p 15
Couloir d’élagage
(/ cond. extérieur)
5 m Suspendu
4 m Rigide
0.5 m C11201 p 15
Lignes Basse Tension
Cond. nus mêmes supports 1 m 0.5 m Art. 35
Cond. isolés mêmes supports 1 m 0.5 m Art. 35
Cond. nus supports indépendants 2 m 0.5 m Art. 34
Cond. isolés supports indépendants 2 m 0.5 m Art. 34
Lignes PTT
Sur supports indépendants 2 m 0.5 m Art. 33-51
Sur mêmes supports 2 m 0.5 m Art. 52-64
Conditions Normales: Surplomb: + 40°C sans vent Voisinage: + 15°C vent de 240 Pa (ZVN) ou 360 Pa (ZVF)
Conditions Climatiques exceptionnelles: Surplomb: - 5°C sans vent, Givre, DAC ouvert Voisinage: -----
*Arrêté Technique
*NFC 11201 ( du
10/1996)
HTA en Conducteurs nus
Nature des Obstacles
© EDF/GDF SFP Domaine CAP/7685.matériel .doc.12/.2003 44
Ordre d’idée des efforts de supports HTA
Voici un ordre de grandeur des supports HTA calculés aujourd’hui (par fonction et type de
ligne) avec le logiciel de calculs mécaniques de lignes « CAMELIA ».
Fonction de support Ligne principale
AS (arrêt simple) E 40kN
AD (arrêt double) E 40kN
SA (semi-arrêt) E 25kN
SF (simple fixation) entre D 5kN et D 6,5kN (selon )
Fonction de support Ligne secondaire
AS (arrêt simple) E 12,5kN
SA (semi-arrêt) entre E 8kN et E 10kN
SF (simple fixation) entre D 2kN et D 5kN (selon )
DA (double ancrage) entre D 5kN et D 10kN (selon )
© EDF/GDF SFP Domaine CAP/7685.matériel .doc.12/.2003 45
Mises à la terre en HTA (Lignes nues et isolées)
 Doivent être obligatoirement mis à la terre :
Supports métalliques Porteur du câble torsadé
isolé aux extrémités
Interrupteurs aériens sur
supports métalliques
Porteur du câble torsadé
isolé à tous les supports
Interrupteurs aériens sur
supports béton
Ecrans de câbles isolés
torsadés
aux extrémités
du réseau
Interrupteurs aériens sur
supports bois
Ecrans de câbles
isolés torsadés
tous les km
Transformateurs haut de
poteau de type« H 61 »
sur support béton
Raccordement
à la terre
obligatoire
Support bois adjacents
avec isolateurs VHT 20T
Parafoudres sur
supports bois
Les supports bois sont
adjacents à des supports
conducteurs équipés de
cornes d’accrochage de
l’arc
Parafoudres sur
supports béton
Support béton adjacents
avec isolateurs VHT 20T
Ferrures et armements
de « H 61 » sur support
bois
Ecrans de câbles
isolés torsadés
à tous les supports
Support béton adjacents
avec isolateurs VHT 22T
© EDF/GDF SFP Domaine CAP/7685.matériel .doc.12/.2003 46
Parafoudres HTA Zno (oxyde de zinc) à enveloppe synthétique
Ils sont obligatoires :
 Pour les remontées aéro-souterraines
 Pour les transformateurs sur poteau de type « H 61 »
Montage :
 En position horizontale par ferrure support
 Connectique HTA adaptée aux travaux sous tension HTA
 Ponts gainés
Parafoudre
© EDF/GDF SFP Domaine CAP/7685.matériel .doc.12/.2003 47
Parafoudres synthétiques Zno (oxyde de zinc)
montés sur transformateut haut de poteau « H61 »
D.A.C
Parafoudre synthétique
Z.N.O
Manchon d’ancrage à broche A.B.T.
Connecteurs pour broche C.B.O.
Ponts gainés rigides.
Coffret disjoncteur BT
Plateforme de manoeuvre
Liaison : ferrure support parafoudre / Cuve transfo
réalisée en câble cuivre isolé U 1000 RO2V 25 mm2
(côté opposé aux bornes BT)
TPC (transformateur protection coupure)
Avec fusibles HTA intégrés
Prise de terre multidirectionnelle et Rt ≤ 10 ou 30Ω selon le régime de neutre hta
© EDF/GDF SFP Domaine CAP/7685.matériel .doc.12/.2003 48
Parafoudres synthétiques Zno (oxyde de zinc)
montés sur transformateut haut de poteau « H61 »
avec fusibles « LIMITOR »
D.A.C
Fusible
LIMITOR
Manchon d’ancrage à broche A.B.T.
Connecteur pour broche C.B.O.
Pont gainé rigide.
Pont gainé rigide.
Parafoudre synthétique
Z.N.O
Pour les postes sur poteau existants ou
neufs, respectant les 3 conditions suivantes:
 Sans protection contre les défauts internes
et
 La puissance de court-circuit au niveau du
poste dépasse 30 MVA
et
 Le poste se trouve dans une zone à risque
 Zone à moins de 8m d’un bâtiment
ou
 Zone présentant un risque d’incendie
ou
 Zone à proximité de tiers (école,
passage intense,...)
ou
 Zone à fort niveau kéraunique
ou
 Zone à risque particulier
Fusibles HTA en pont
« LIMITOR »
Coffret disjoncteur BT
Plateforme de manoeuvre
Liaison : ferrure support
parafoudre / Cuve transfo
réalisée en câble cuivre
isolé U 1000 RO2V 25
mm2
Prise de terre multidirectionnelle et Rt ≤ 10 ou 30Ω selon le régime de neutre
© EDF/GDF SFP Domaine CAP/7685.matériel .doc.12/.2003 49
Parafoudres HTA Zno (oxyde de zinc) à enveloppe synthétique
avec remontée aéro-souterraine
D.A.C
Manchon d’ancrage à broche
A.B.T.
Connecteur pour broche C.B.O.
Pont gainé rigide.
Parafoudre
synthétique
Z.N.O
Extrèmité HTA
Remontée aéro-
souterraine (R.A.S.)
Mise à la terre des écrans du
câble HTA (si le câble en
possède
Collecteur de tresses
© EDF/GDF SFP Domaine CAP/7685.matériel .doc.12/.2003 50
Réseaux aériens HTA (Matériel divers)
 Anti-paille :
 Se met en place sur les conducteurs nus HTA
(à ± 60 cm des isolateurs).
 Il évite ainsi aux « bouchons de paille », se
formant sur les conducteurs, de s’approcher des
ferrures et de provoquer des amorçages.
(il est à noter qu’aujourd’hui, les machines
agricoles broient beaucoup plus finement la paille
que par le passé, ce qui rend l’utilisation de l’anti-
paille de moins en moins systématique).
© EDF/GDF SFP Domaine CAP/7685.matériel .doc.12/.2003 51
Réseaux aériens HTA (Matériel divers)
 Masse Anti-giratoire (M.A.G.) :
Les M.A.G. empêchent la rotation des conducteurs en s’opposant à la
formation de manchons, en cas de précipitations neigeuses.
La mise en place s’effectue tous les 30 à 40m sur chacun des 3 conducteurs
(capacité : Aster 117, Aster 148 et Pastel 117).
 Le M.A.G.  « Dervaux », se met en place à l’aide d’une perche
isolante, à partir d’une nacelle « Dervaux ».
 Le M.A.G.  « Dervaux », se met en place à l’aide d’une perche
isolante, à partir du sol.
 Le M.A.G.  « S.A.E.E. », se met en place à l’aide d’un robot.
3Kg
3,2Kg 3,5Kg
  
© EDF/GDF SFP Domaine CAP/7685.matériel .doc.12/.2003 52
Réseaux aériens HTA (Matériel Avifaune)
 Dispositifs pour la protection des oiseaux (D.P.O.) :
Ces tiges de polyamide peuvent être mises en place sous tension à distance.
Elles empêchent les oiseaux de se poser sur des armements HTA rigide
anciens.
Dispositif Désignation
Nombre
(par armement)
Schéma
D’utilisation
DPO NR
NVR
(nappe voûte rigide)
1, 2 ou 3
2
DPO BP
BP
(bras horizontal)
BP 70-760
1
DPO TA Traverses 6
DPO IA Interrupteurs
aériens
12
© EDF/GDF SFP Domaine CAP/7685.matériel .doc.12/.2003 53
Réseaux aériens HTA (Matériel Avifaune)
 Dispositifs pour la protection des oiseaux (A.V.I.) :
a
(mm)
b
(mm)
c
(mm) Désignation
Exemples
d’utilisation
AVI 1C 500
AVI 1 sur IACM
Etau court AVI 1C 1200 ou traverse d’ancrage
Capacité
110 x 100
110 115 140
AVI 1C 500
AVI 1C 500 AVI 2 sur BP ou BP / FR
Etau long AVI 1L 500
AVI 3 sur NVR
Capacité
145 x 160
145 175 200
AVI 1L 1200 ou traverse d’ancrage
 Ce dispositif est composé
d’une, deux ou trois
chandelles en nylon et vient se
fixer sur un étau possédant une
vis à anneau (permettant ainsi
sa fixation sous tension sur le
straverses entre chaque phase.
c
b
a
L
© EDF/GDF SFP Domaine CAP/7685.matériel .doc.12/.2003 54
Réseaux aériens HTA (Matériel Avifaune)
 Dispositifs pour la protection des oiseaux (D.P.O. - T.R.) :
Ce dispositif est destiné aux armements rigides.
Il est fixé par l’intermédiaire d’une plaque entre la TR (tige renforcée et
l’armement).
Sur cette plaque, sont serties 2 branches en rond thermoformées, terminées
par des embouts en plastique.
La forme de l’ensemble incite les oiseaux à venir se poser sur les embouts.
© EDF/GDF SFP Domaine CAP/7685.matériel .doc.12/.2003 55
Réseaux aériens HTA (Matériel Avifaune)
 Dispositifs pour la protection des oiseaux (Spirale de dissuasion S.P.D.) :
Ce dispositif est destiné aux armements nappe voûte ; il peut être posé sous
tension.
Il est constitué d’un enroulement monté sur un collier à anneau.
Il interdit la pose de petits rapaces (faucons, crécerelles), sur la tête du
support équipé d’un armement nappe voûte.
les spirales se positionnent sur le conducteur central, de part et d’autre de la
pince d’alignement à environ 0,25m de celle-ci.
S.P.D. 60 (pour conducteurs en alliage d’aluminium S ≤ 60 mm2
).
S.P.D. 230 (pour conducteurs en alliage d’aluminium S ≤ 230 mm2
).
0,25m
0,25m
© EDF/GDF SFP Domaine CAP/7685.matériel .doc.12/.2003 56
Réseaux aériens HTA (Matériel Avifaune)
 Dispositifs pour la protection des oiseaux (Coiffe pour borne de
transformateur haut de poteau « H 61 ») :
Utilisable en 20 kV en zones de pollution 1 et 2.
220mm
Φ 150mm
Pont gainé
Capuchon
(épaisseur 4mm)
Cosse équerre
Qn 2 AU 54 G
4 profilés d’appui
Cosse
CN 2 AU 54G
© EDF/GDF SFP Domaine CAP/7685.matériel .doc.12/.2003 57
Réseaux aériens HTA (Matériel Avifaune)
 Dispositifs pour la protection des oiseaux Lignes sur isolateurs rigides(
I.P.A. dispositif d’isolation pour protection de l’avifaune) :
Dispositif d’isolation des conducteurs et des masses pour armements rigides
NVR et BP pour conducteurs de diamètre compris entre 4 et 10 mm.
Sa mise en oeuvre peut être faite sous tension.
Composition :
Désignation Protection
de phases
Protection de masses
NVR BP
IPA 2O NVR C2
IPA 2O NVR L2
6 éléments de 0,70m
12 éléments de 0,70m
4 x 0,50m
4 x 0,50m
IPA 2O BP C2
IPA 2O BP L2
6 éléments de 0,70m
12 éléments de 0,70m
2 x 0,50m
2 x 0,50m
Désignation par :
 Un groupe de lettre IPA (Isolation Protection Avifaune)
 La tension du réseau en kV 20 kV)
 L’armement auquel il est destiné (NVR ou BP)
 La longueur des protections de phase (C pour 0,70m et L pour 1,40m)
© EDF/GDF SFP Domaine CAP/7685.matériel .doc.12/.2003 58
Réseaux aériens HTA (Matériel Avifaune)
 Dispositifs pour la protection des oiseaux (Perchoirs supérieurs et
inférieurs pour avifaune) :
A mettre en place sur lignes HTA, sous ou hors tension.
Les perchoirs supérieurs pourront être utilisés simples ou doubles selon le
cas.
Perchoir supérieur : PS-L50.90
Perchoir inférieur : PI
Perchoir pour I.A.C.M. : P. I.A.C.M.
© EDF/GDF SFP Domaine CAP/7685.matériel .doc.12/.2003 59
Réseaux aériens HTA (Matériel Avifaune)
 Dispositifs pour la protection des oiseaux (B.A.R balise avifaune) :
Cette balise est utilisée pour diminuer les risques de collision des oiseaux
migrateurs avec les conducteurs aériens.
Mise en oeuvre tous les 15m (si l’on équipe une seule phase)
Mise en oeuvre tous les 45m (si l’on équipe les 3 phases)
La mise en place peut s’effectuer sous tension avec un robot, ou à la main
depuis une nacelle.
Désignation Section Couleur
BAR 34.75 R 34,4 à 75,5 Rouge
BAR 34.75 B 34,4 à 75,5 Blanc
BAR 93.148 R 93,3 à 148 Rouge
BAR 93.148 B 93,3 à 148 Blanc
740gr
© EDF/GDF SFP Domaine CAP/7685.matériel .doc.12/.2003 60
Réseaux aériens HTA (Matériel Avifaune)
 Dispositifs pour la protection des oiseaux (B.A.V balise avifaune) :
Cette balise est utilisée pour diminuer les risques de collision des oiseaux
migrateurs avec les conducteurs aériens.
Mise en oeuvre tous les 15m (si l’on équipe une seule phase)
Mise en oeuvre tous les 45m (si l’on équipe les 3 phases)
La mise en place peut s’effectuer sous tension à la main depuis une nacelle.
Il est préférable d’alterner les couleurs.
Désignation Conducteurs Couleur
BAV 34-38 B
BAV 34-38 R
Aster 34,4
Canna, Phlox 37,7
Blanc
Rouge
BAV 54-60 B
BAV 54-60 R
Aster 54,6
Canna, Phlox 59,7
Blanc
Rouge
BAV 75 B
BAV 75 R
Aster 75,6
Canna, Phlox 75,5
Blanc
Rouge
BAV 117 B
BAV 117 R
Aster 117
Canna 116
Blanc
Rouge
BAV 148 B
BAV 148 R
Aster 148
Canna, Pastel 147
Blanc
Rouge
BAV 228 B
BAV 228 R
Aster 228
Canna 228
Blanc
Rouge

Matériel hta

  • 1.
    © EDF/GDF SFPDomaine CAP/7685.matériel .doc.12/.2003 1 Sommaire  Réseau aérien HTA (Définitions) pages 2 à 6  Lignes principales et secondaires(doctrine constructive) pages 7 à 12  Fonctions des supports pages 13 à 17  Armements rigides pages 18 à 22  Armements suspendus pages 23 à 27  Isolé torsadé pages 28 à 30  Nappes d’arrêts pages 31 à 32  Dispositifs à allongement contrôlé (DAC) pages 33 à 35  Isolateurs HTA rigide pages 36 à 37  Isolateurs HTA suspendu pages 38 à 41  Surisolement page 42  Hauteurs règlementaires page 43  Ordre d’idée des efforts de supports HTA page 44  Mises à la terre page 45  Parafoudres pages 46 à 49  Anti-Paille page 50  Masses anti-giratoire pages 51  Matériel avifaune pages 52 à 60
  • 2.
    © EDF/GDF SFPDomaine CAP/7685.matériel .doc.12/.2003 2 Réseaux aériens HTA (définitions)  PORTEE (a): C’est la distance horizontale entre 2 supports elle s’exprime en mètres.  PORTEE EQUIVALENTE (ae): C’est la portée représentative de la tension mécanique dans le canton de pose. Elle s’exprime en mètres selon la formule suivante : Exemple : a a Σ a3 ae = Σ a a1 a2 a3 an Σ a13 + a23 + a33 + an3 ae = Σ a1 + a2 + a3 + an
  • 3.
    © EDF/GDF SFPDomaine CAP/7685.matériel .doc.12/.2003 3 Réseaux aériens HTA (définitions)...suite  CANTON DE POSE (a): C’est l’ensemble des portées comprises entre 2 supports arrêts de canton (AS, AD, SA). Exemple :  PARAMETRE (P): Pour SIMPLICATION C’est le rayon du cercle osculateur (cercle formé par le prolongement du câble), qui s’exprime en mètres. a1 a2 a3 AD Arrêt double SF Simple fixation DA Double ancrage AS Arrêt simple Canton de pose a P O
  • 4.
    © EDF/GDF SFPDomaine CAP/7685.matériel .doc.12/.2003 4 Réseaux aériens HTA (définitions)...suite  Si le paramètre P augmente, alors la tension mécanique T augmente et la flèche f diminue.  Si le paramètre P diminue, alors la tension mécanique T diminue et la flèche f augmente. a P1 O a > P2 > P1 O a P1 O a < P3 < P1 O
  • 5.
    © EDF/GDF SFPDomaine CAP/7685.matériel .doc.12/.2003 5 Réseaux aériens HTA (définitions)...suite  FLECHE (f): C’est la distance verticale entre la corde et le conducteur Nota : La flèche médiane est toujours la flèche maximale. a/2 a/2 f Corde a/2 a/2 f Corde Portée 2 8 x Paramètre flèche a2 8P f
  • 6.
    © EDF/GDF SFPDomaine CAP/7685.matériel .doc.12/.2003 6 Réseaux aériens HTA (définitions)...suite  ARMEMENT : Un armement est l’ensemble des équipements permettant de positionner les conducteurs dans l’espace suivant une disposition géométrique déterminée  Il existe 4 types de disposition d’ armements :    3 Nappe 4 Triangle    2 Drapeau    1 Alterné   
  • 7.
    © EDF/GDF SFPDomaine CAP/7685.matériel .doc.12/.2003 7  Conducteurs de section 148 mm2 aster dans les zones normales et 147 mm2 pastel dans les zones à aléas climatiques sur isolateurs suspendus.  Longueur moyenne des départs HTA 35Kms.  Calculée à minima avec une surcharge de givre de 1Kg/m.  Conducteurs calculés à l’hypothèse été (A1) à 15° C avec un vent de 570 Pa (Zone à vent normal) ou (A2) avec un vent de 640 Pa (Zone à vent fort).  Conducteurs calculés à l’hypothèse hiver (B1) à -10° C avec un vent de 180 Pa ou (B2) à -20° C avec un vent de 180 Pa..  Adopter de préférence, des paramètres élevés et des portées courtes.  Paramètres préconisés :  1400m (pour le 148 mm2 aster dans une zone à vent normal ou à vent fort)  1400m (pour le 147 mm2 pastel dans une zone à vent fort).  Portées équivalentes préconisés :  175m (pour le 148 mm2 aster dans une zone à vent normal)  165m (pour le 148 mm2 aster dans une zone à vent fort)  200m (pour le 147 mm2 pastel dans une zone à vent fort).  Portées maximales autorisées :  245m (pour le 148 mm2 aster dans une zone à vent normal)  230m (pour le 148 mm2 aster dans une zone à vent fort)  280m (pour le 147 mm2 pastel dans une zone à vent fort).  Bouclable (sur un autre poste source ou autre demi jeu de barres du même poste source).  Construction plus solide depuis 1991 (par l’adoption des dispositions constructives de la norme NFC 11-201 de 1991).  Amélioration de la fiabilité des lignes existantes.  La première portée de la dérivation fait partie de la ligne principale (même résistance mécanique).  15 portées maximum dans un canton de pose  Eviter les grandes portées > aux portées maxi autorisées Dans ce cas, elles seront traitées comme des portées uniques sur supports indépendants (arrêt à chaque extrémité), où les contraintes mécaniques ne devront pas dépasser les ¾ de celles retenues habituellement.  Eviter des portées « sèches » (en arrêt) inférieures à 40m. Doctrine constructive Ligne principale ou d’ossature aérienne (Technique suspendu)
  • 8.
    © EDF/GDF SFPDomaine CAP/7685.matériel .doc.12/.2003 8  Conducteurs en 54,6 mm2 aster , généralement sur isolateurs rigides (on peut également construire en suspendu en cas de grandes portées).  Tracé le plus possible épousant le bord des routes.  Les armements alternés sont à privilégier (ce sont de très bon « fusibles mécaniques »).  Calculée à minima avec une surcharge de givre de 1Kg/m.  Conducteurs calculés à l’hypothèse été (A1) à 15° C avec un vent de 570 Pa (Zone à vent normal) ou (A2) avec un vent de 640 Pa (Zone à vent fort).  Conducteurs calculés à l’hypothèse hiver (B1) à -10° C avec un vent de 180 Pa ou (B2) à -20° C avec un vent de 180 Pa..  Tensions et portées maximales préconisés :  23 N/mm2 pour une portée maximale de 110m dans une zone à vent normal (ZVN) et 100m dans une zone à vent fort (ZVF), parcours non ou peu sinueux.  16 N/mm2 pour une portée maximale de 80m (ZVN) et 70m (ZVF), parcours sinueux. Doctrine constructive Ligne secondaire ou de dérivation aérienne (Technique rigide)
  • 9.
    © EDF/GDF SFPDomaine CAP/7685.matériel .doc.12/.2003 9 Ligne principale ou d’ossature aérienne (Technique « suspendu »)                                                       1 2 3 4 5 6 7 4 -1 4 -2 4 -3 4 -4    RAS RAS Ligne principale 148 mm2 Aster Ligne secondaire 54,6 mm2 Aster
  • 10.
    © EDF/GDF SFPDomaine CAP/7685.matériel .doc.12/.2003 10 Ligne secondaire ou de dérivation aérienne (Technique « rigide »)                                                       1 2 3 4 5 6 7 4 -1 4 -2 4 -3 4 -4    RAS RAS Ligne secondaire 54,6 mm2 Aster Ligne principale 148 mm2 Aster
  • 11.
    © EDF/GDF SFPDomaine CAP/7685.matériel .doc.12/.2003 11 NV1 = nappe voûte (dont l’écartement entre 2 conducteurs de 1,50m ) NV2 = nappe voûte (dont l’écartement entre 2 conducteurs de 1,70m ) NW = nappe voûte pour région ventée (dont l’écartement entre 2 conducteurs de 1,75m ) AS AD SA SF    Armement en nappe-voûte pour région ventée NW Ligne principale (technique suspendue) Fonctions de support possibles    Armement nappe -voûte NV1 ou NV2 Armement en nappe d’ancrage NA    Problèmes d’écartements de conducteurs OUI NON    Armement en nappe-voûte pour région ventée NW Zone ventée
  • 12.
    © EDF/GDF SFPDomaine CAP/7685.matériel .doc.12/.2003 12 VRB = voûte rigide en position basse (avifaune) VRH = voûte rigide en position haute (normale) AS DA SA SF Ligne secondaire (technique rigide) Fonctions de support possibles Armement en nappe d’ancrage NA    Problèmes d’avifaune OUI NON    Armement alterné A63 ou A70 Armement alterné A63 ou A70    OU OU    VRH    VRB ou VR avec montants gainés
  • 13.
    © EDF/GDF SFPDomaine CAP/7685.matériel .doc.12/.2003 13 FONCTIONS DES SUPPORTS HTA Fonction : AS (Arrêt Simple) Utilisation : Tête de ligne (ligne principale et ligne secondaire)     Arrêt de canton aux hypothèses été (A) et hiver (B) à son effort nominal (FN)     Arrêt de canton à l’hypothèse givre (G) à sa limite élastique (LE) Tenue mécanique du support : Le support fléchit
  • 14.
    © EDF/GDF SFPDomaine CAP/7685.matériel .doc.12/.2003 14 FONCTIONS DES SUPPORTS HTA Fonction : AD (Arrêt Double) ; 1 AD = 2 AS. Utilisation :  Lignes principales :Limite de canton (tous les 2kms ou toutes les 15 à 20 portées) et interrupteurs . Tenue mécanique du support :  Résultante des efforts entre : T1 (tension mécanique 1) et T2 (tension mécanique 2) aux hypothèses été (A) et hiver (B) à son effort nominal (FN) T1 # T2   Résultante des efforts à l’hypothèse givre (G) à sa limite élastique (LE) T1 # T2  Arrêt de chacun des cantons aux hypothèses été (A) et hiver (B) à son effort nominal (FN)     Arrêt de chacun des cantons aux hypothèses été (A) et hiver (B) à son effort nominal (FN)  Arrêt de chacun des cantons à l’hypothèse givre (G) à sa limite élastique (LE)  Arrêt de chacun des cantons à l’hypothèse givre (G) à sa limite élastique (LE)   
  • 15.
    © EDF/GDF SFPDomaine CAP/7685.matériel .doc.12/.2003 15 FONCTIONS DES SUPPORTS HTA Fonction : SA (Semi Arrêt). Utilisation :  Lignes principales :Limite de canton aux points bas (angles importants,...).  Lignes secondaires :Limite de canton (tous les 2kms ou toutes les 15 à 20 portées) et interrupteurs . Tenue mécanique du support :  Résultante des efforts aux hypothèses été (A) et hiver (B) à son effort nominal (FN) T1 # T2  Résultante des efforts à l’hypothèse givre (G) à sa limite élastique (LE) T1 # T2  Arrêt de chacun des cantons aux hypothèses été (A) et hiver (B) à sa limite élastique (LE)  Arrêt de chacun des cantons aux hypothèses été (A) et hiver (B)) à sa limite élastique (LE)   
  • 16.
    © EDF/GDF SFPDomaine CAP/7685.matériel .doc.12/.2003 16 FONCTIONS DES SUPPORTS HTA Fonction : DA (Double Ancrage). Utilisation :  Lignes secondaires :Points singuliers (points bas, angles importants,...). Tenue mécanique du support :  Résultante des efforts aux hypothèses été (A) et hiver (B) à son effort nominal (FN) T1 # T2  Résultante des efforts à l’hypothèse givre (G) à sa limite élastique (LE) T1 # T2
  • 17.
    © EDF/GDF SFPDomaine CAP/7685.matériel .doc.12/.2003 17 FONCTIONS DES SUPPORTS HTA Fonction : SF (Simple Fixation). Utilisation :  Lignes suspendues : alignements, angles faibles (en ligne principale et en ligne secondaire). Tenue mécanique du support :  Résultante des efforts aux hypothèses été (A) et hiver (B) à son effort nominal (FN) T1 # T2  Résultante des efforts à l’hypothèse givre (G) à sa limite élastique (LE) Utilisation :  Lignes rigides : alignements, angles faibles (en ligne secondaire). Tenue mécanique du support :  Résultante des efforts aux hypothèses été (A) et hiver (B) à son effort nominal (FN) T1 # T2  Résultante des efforts à l’hypothèse givre (G) à sa limite élastique (LE)    T1 # T2       T1 # T2   
  • 18.
    © EDF/GDF SFPDomaine CAP/7685.matériel .doc.12/.2003 18 ARMEMENTS RIGIDES VR = voûte rigide Armement alterné Ecartement 63 ou A70    LIGNE RIGIDE    Armement alterné Ecartement A63 ou A70    Armement drapeau décalé Ecartement DD105    Armement drapeau décalé Ecartement DD105    Armement VR VR1 ou VR2    Armement en nappe d’ancrage NA 63 cm ou 70cm 105 cm 63 cm ou 70cm 105 cm
  • 19.
    © EDF/GDF SFPDomaine CAP/7685.matériel .doc.12/.2003 19    Armement drapeau décalé DD105    Armement alterné A63 ou A70 Dénomination CI 27 170 300 Signification ..................................................................... .......................................................................... ..................................................................... .......................................................................... ..................................................................... .......................................................................... ..................................................................... ................................................................................ CI 27 170 300 Dénomination CT 27 210 100 Signification ..................................................................... .......................................................................... ..................................................................... .......................................................................... ..................................................................... .......................................................................... ..................................................................... ................................................................................ CT 27 210 100 Console Inclinée Diamètre (en mm) de la console inclinée Longueur supérieure (en mm) de la partie rectiligne de la console inclinée. Déport (en mm) de la console par rapport au support Console de tête Diamètre (en mm) de la console de tête Longueur supérieure (en mm) de la partie rectiligne de la console de tête. Déport (en mm) de la console par rapport au support (A privilégier car cet armement est un excellent fusible mécanique ; et de surcroît, il règle bien des problèmes d’écartements de conducteurs) Ligne secondaire rigide
  • 20.
    © EDF/GDF SFPDomaine CAP/7685.matériel .doc.12/.2003 20 Ligne secondaire rigide Dénomination BI 70 320 OU BIR 320 Signification ..................................................................... .......................................................................... ..................................................................... .......................................................................... ..................................................................... .......................................................................... OU ..................................................................... ........................................................................ ..................................................................... ................................................................................ BI 70 320 BIR Dénomination BT 70 150 OU BIR 150 Signification ..................................................................... .......................................................................... ..................................................................... . ..................................................................... ...;...................................................................... OU ..................................................................... ................................................................................ ..................................................................... ................................................................................ BT 70 BIR 150 Bras incliné Largeur du profilé en U Déport (en mm) de l’axe de fixation de la tige par rapport au support Bras incliné renforcé Déport (en mm) de l’axe de fixation de la tige par rapport au support Bras de tête Largeur du profilé en U Déport (en mm) de l’axe de fixation de la tige par rapport au support Bras incliné renforcé Déport (en mm) de l’axe de fixation de la tige par rapport au support    Armement drapeau décalé DD105 Armement alterné A63 ou A70    320 150
  • 21.
    © EDF/GDF SFPDomaine CAP/7685.matériel .doc.12/.2003 21 Ligne secondaire rigide Dénomination TR 25 200 80 OU 25 240 80 OU 25 285 80 Signification ..................................................................... .......................................................................... ..................................................................... .......................................................................... .................................................................. ............................................................................. .................................................................. ............................................................................. OU ..................................................................... .......................................................................... ..................................................................... .......................................................................... .................................................................. ............................................................................. OU ..................................................................... .......................................................................... ..................................................................... .......................................................................... .................................................................. ............................................................................. 25 240 80 TR 25 200 80 Tige renforcée Filetage Ø 25mm (coté isolateur) Longueur hors fixation (émergence douille-embase) 200mm Longueur de la partie fixation de la tige 80mm Filetage Ø 25mm (coté isolateur) Longueur hors fixation (émergence douille-embase)) 240mm Longueur de la partie fixation de la tige 80mm Filetage Ø 25mm (coté isolateur) Longueur hors fixation (émergence douille-embase) 285mm Longueur de la partie fixation de la tige 80mm    Armement drapeau décalé DD105 Armement alterné A63 ou A70       Armement Voûte rigide 25 285 80
  • 22.
    © EDF/GDF SFPDomaine CAP/7685.matériel .doc.12/.2003 22 Dénomination VR1 OU VR2 Signification ..................................................................... .......................................................................... OU ..................................................................... .......................................................................... VR1 VR2 Cornière du montant en 50mm et cornière de la traverse en 60mm Cornière du montant en 70mm et cornière de la traverse en 80mm       VRH Position haute (sans problème d’avifaune) VRB Position basse (avec problème d’avifaune) ou achat de celui-ci avec montants gainés Ligne secondaire rigide
  • 23.
    © EDF/GDF SFPDomaine CAP/7685.matériel .doc.12/.2003 23 ARMEMENTS SUSPENDUS Armement alterné AS70 ou AS84    LIGNE SUSPENDUE    Armement nappe -voûte NV1 ou NV2    Armement drapeau Ecartement DS105    Armement en nappe-voûte pour région ventée NW    Armement en nappe d’ancrage NA 105 cm 70 cm ou 84 cm
  • 24.
    © EDF/GDF SFPDomaine CAP/7685.matériel .doc.12/.2003 24 Ligne principale suspendue ..................................................................... .......................................................................... ..................................................................... .......................................................................... .................................................................. ................................................................ ET ..................................................................... .......................................................................... ..................................................................... .......................................................................... ..................................................................... .......................................................................... OU (voir page suivante) Dénomination BIS 70 600 ET BIS 80 800 Bras incliné suspendu Largeur de la cornière en U = 60mm Déport (600 mm) de l’axe de fixation de l’étrier par rapport au support Bras Incliné suspendu Largeur de la cornière en U = 70mm Déport (800 mm) de l’axe de fixation de l’étrier par rapport au support    Armement drapeau DS105 Armement alterné AS70 ou AS84    BIS 60 600 ET BIS 70 800 OU Signification BIS 60 600 BIS 70 800
  • 25.
    © EDF/GDF SFPDomaine CAP/7685.matériel .doc.12/.2003 25 ..................................................................... .......................................................................... ..................................................................... .......................................................................... ..................................................................... .......................................................................... ET ..................................................................... ......................................................................... ..................................................................... .......................................................................... ..................................................................... .......................................................................... Bras Incliné Suspendu Largeur de la cornière en U = 70mm Déport (700 mm) de l’axe de fixation de l’étrier par rapport au support Bras incliné suspendu Largeur de la cornière en U = 80mm Déport (800 mm) de l’axe de fixation de l’étrier par rapport au support BIS 70 600 BIS 80 800 Ligne principale suspendue
  • 26.
    © EDF/GDF SFPDomaine CAP/7685.matériel .doc.12/.2003 26 Armement nappe -voûte Dénomination NV1 OU NV2 Signification ..................................................................... ................................................................................. ...................................................................... OU ..................................................................... .......................................................................... ............................................................................. NV1 NV2 Ecartement entre conducteur central et un des conducteurs extérieurs = 1,50m Ecartement entre conducteur central et un des conducteurs extérieurs = 1,70m    Ligne principale suspendue
  • 27.
    © EDF/GDF SFPDomaine CAP/7685.matériel .doc.12/.2003 27 Dénomination NW 1er chiffre X 2ème chiffre Signification ..................................................................... ................................................................................. ...................................................................... ..................................................................... .......................................................................... ................................................................................ Largeur de la cornière de la traverse en mm (50, 60, 70, 80 ou 90) Largeur de la cornière des montants en mm (50, 60, 70, 80 ou 90)    Armement en nappe-voûte pour région ventée (Cet armement règle aussi des problèmes d’écartements de conducteurs) 1er chiffre : 2ème chiffre : Ligne principale suspendue
  • 28.
    © EDF/GDF SFPDomaine CAP/7685.matériel .doc.12/.2003 28 Quand les circonstances l’exigent, il est préférable d’utiliser du câble HTA aérien isolé, ces circonstances sont répertoriées dans la doctrine « politiques et règles techniques »(PRT- B.II.3, page 6)  Passage en souterrain trop difficile,  Régions boisées,  Régions montagneuses sujettes au givre,  Zones fortement polluées,  Zones évolutives de construction,  Pénétration à l’intérieur de petites agglomérations,  Chantiers de construction.  Le torsadé HTA est considéré comme « le vilain petit canard », par les exploitants (c’est compréhensible), car les efforts mécaniques sont importants, ce qui nécessite des moyens de traction adaptés dont les unités ne sont pas dotées, et, en cas de défaut sur le conducteur, la recherche n’est pas toujours très aisée. Ligne HTA isolée torsadée
  • 29.
    © EDF/GDF SFPDomaine CAP/7685.matériel .doc.12/.2003 29 EA 50-10 ? (Vous remarquerez qu’a la page 11 du B.32.3 s’est glissée « une petite coquille » EA 54-10 au lieu de EA 50-10). ES 50-25 ? ................................................................................................................... ........................................................................................................... .................................................................................................................... .......................................................................................................... ..................................................................................................................... ............................................................................................................ EA 50 10 ................................................................................................................... ........................................................................................................... .................................................................................................................... .......................................................................................................... ..................................................................................................................... ............................................................................................................ ES 50 25 Ensemble d’ancrage (Console + Pince) Porteur isolé acier 50mm2 . Console de 10cm d’avancée. Ensemble de suspension. (Console + Pince) Porteur isolé acier 50mm2 . Console de 25cm d’avancée. Ligne HTA isolée torsadée
  • 30.
    © EDF/GDF SFPDomaine CAP/7685.matériel .doc.12/.2003 30 8 gr 35 gr Support n°4 ...................................... ...................................... . Support n°3 ....................................... ....................................... Support n°2 ....................................... ....................................... Support n°1 ........................................ ....................................... 1 EA 50-10 1 EA 50-10 2 EA 50-10 1 ES 50-25 Ligne HTA isolée torsadée
  • 31.
    © EDF/GDF SFPDomaine CAP/7685.matériel .doc.12/.2003 31 Lignes HTA principales ou secondaires nappes d’arrêts NA 1 2 3 4 5 6 1,05m 1,20m 1,50m 2,00m 2,50m 3,00m = = = = = = X Y Z de 1600 à 6300 2000 à 12500 4000 à 20000 S (simple) ou D (double) Nappe d’arrêt Ecartement Forme géométrique Effort nominal unifilaire (en N) Accrochage       SUPPORT UNIQUE PORTIQUE Nota : Les supports de classe D n’acceptent que les traverses de type NA1 et NA2, à partir de la traverse NA3 il faut associer un support de classe E ou bien surdimensionner de 20% le support de classe D (Couple de torsion).
  • 32.
    © EDF/GDF SFPDomaine CAP/7685.matériel .doc.12/.2003 32 Lignes HTA principales ou secondaires nappes d’arrêts (fonctions : AS, AD, DA, SA) ? Ecartement entre 2 conducteurs : 1 = 1,05m 2 = 1,20m 3 = 1,50m 4 = 2,00m 5 = 2,50m 6 = 3,00m Forme géométrique de la traverse : X  Y  Z  Effort nominal unifilaire (en N) S = Traverse simple D = Traverse double N = Nappe A = d’arrêt { {    Support unique    Portique NA 1X 1600 S
  • 33.
    © EDF/GDF SFPDomaine CAP/7685.matériel .doc.12/.2003 33 DISPOSITIFS A ALLONGEMENT CONTROLE (DAC)  Ils sont obligatoires sur les lignes neuves ou les anciennes fiabilisées (les lignes HTA rigides et suspendues sont calculées à minima avec 1 Kg/m de givre).  2 jeux sont nécessaires dans tous les cantons de pose entre arrêt simple (AS) ou arrêt double(AD) > à 3 portées et 1 seul jeu dans les cantons de pose ≤ à 3 portées. Nota : Pas de DAC sur des semi arrêt (SA). 2 bretelles fusibles Témoin de détente 4 bretelles fusibles Dispositif double Dispositif simple Avant fonctionnement Avant fonctionnement DAC type « compas » : Après fonctionnement  Gamme de 2.500N à 16.000N.  Détente jusqu’à 33cm (pour le 16.000N).  Poids d’environ 7,8Kg. Après fonctionnement
  • 34.
    © EDF/GDF SFPDomaine CAP/7685.matériel .doc.12/.2003 34 DISPOSITIFS A ALLONGEMENT CONTROLE (DAC) DAC type « oméga » : Avant fonctionnement Après fonctionnement  Gamme de 2.500N à 25.000N.  Détente de 26cm (pour le 2.500N), jusqu’à 52cm (pour le 25.000N).
  • 35.
    © EDF/GDF SFPDomaine CAP/7685.matériel .doc.12/.2003 35 DISPOSITIFS A ALLONGEMENT CONTROLE (DAC) DAC type « Torflex » : Après fonctionnement  Gamme de 2.000N à 25.000N.  Détente de 45cm (pour le 2.000N de type a), jusqu’à 92cm (pour le 25.000N) de type b). Avant fonctionnement
  • 36.
    © EDF/GDF SFPDomaine CAP/7685.matériel .doc.12/.2003 36 VHT 20T/P ou 22T/P TP V : Verre HT : Haute tension 20 : Pour ligne courante T : Trempé / P : à pince ou 22 : Pour les surisolements T : Trempé / P : à pince ISOLATEURS Ligne secondaire rigide (alignements et angles faibles de fonction SF de dénivelées < 8 grades)    Armement alterné A63 ou A70 Armement alterné A63 ou A70       V : Verre HT : Haute tension 20 : Pour ligne courante T : Trempé ou 22 : Pour les surisolements T : Trempé VHT 20T ou 22T VRH ou VRB OU
  • 37.
    © EDF/GDF SFPDomaine CAP/7685.matériel .doc.12/.2003 37    Armement alterné A63 ou A70 Armement alterné A63 ou A70    325 AT    VRH ou VRB ISOLATEURS Ligne secondaire rigide (alignements et angles faibles de fonction SF (Zones polluées) 325 AT : est sa désignation (Sans décodage particulier)
  • 38.
    © EDF/GDF SFPDomaine CAP/7685.matériel .doc.12/.2003 38    Armement en nappe-voûte pour région ventée NW ISOLATEURS Ligne principale suspendue (alignements , angles, arrêts) Norme de 11 (charge de rupture 40kN)    Armement nappe -voûte NV1 ou NV2 Armement en nappe d’ancrage NA    CT 175/40 CT : Capot tige 175 : Ø de l’élément isolant 40 : Charge de rupture en kN
  • 39.
    © EDF/GDF SFPDomaine CAP/7685.matériel .doc.12/.2003 39    Armement en nappe-voûte pour région ventée NW    Armement nappe -voûte NV1 ou NV2 Armement en nappe d’ancrage NA    CT : Capot tige 254 : Ø de l’élément isolant 40 ou 70: Charge de rupture en kN CT 254/40 ou CT 254/70 ISOLATEURS Ligne principale suspendue (alignements , angles, arrêts) avec surisolement Norme de 11 (charge de rupture 40kN) ou Norme de 16 (charge de rupture 70kN)
  • 40.
    © EDF/GDF SFPDomaine CAP/7685.matériel .doc.12/.2003 40    Armement en nappe-voûte pour région ventée NW    Armement nappe -voûte NV1 ou NV2 Armement en nappe d’ancrage NA    F8P ISOLATEURS Ligne principale suspendue (alignements , angles, arrêts) Zone polluée Norme de 16 (charge de rupture 70kN) F8P : : est sa désignation (Sans décodage particulier)
  • 41.
    © EDF/GDF SFPDomaine CAP/7685.matériel .doc.12/.2003 41    Armement en nappe-voûte pour région ventée NW ISOLATEURS Ligne principale suspendue (alignements , angles, arrêts) Zones particulièrement sensibles aux perturbations radioélectriques Norme de 11 (charge de rupture 40kN)    Armement nappe -voûte NV1 ou NV2 Armement en nappe d’ancrage NA    V 72 BS ou V 82 BS V 72 BS : (1 pièce scellée) Isolement normal V 82 BS : (1 pièce scellée) Surisolement Shunt antiparasite
  • 42.
    © EDF/GDF SFPDomaine CAP/7685.matériel .doc.12/.2003 42 DISPOSITION A  Eloignement de l’arc.  Accrochage de l’arc (avec ferrures du support et des supports adjacents mises à la terre s’ils ne sont pas conducteurs). DISPOSITION B  Surisolement de 20% par rapport à l’isolement normal (avec ferrures des supports adjacents mises à la terre si le support ou a été fait le surisolement est conducteur). Le surisolement n’est plus recommandé sur les Lignes suspendues. On utilise systématiquement la disposition A Pour les lignes neuves, on utilise :  La disposition « A » en suspendu  La disposition « B » en rigide Cas particulier : Si la disposition B est appliquée à plus de 4 supports consécutifs, 1 ou plusieurs de ces surisolements sont supprimés et remplacés par la disposition A. Dans ce cas, les supports adjacents munis d’isolateurs visés en B ne doivent pas être mis à la terre. LIGNES HTA Modalités de surisolement R I G I D E A N C R A G E 35 cm Corne d’accrochage de l’arc CD 40 Uniquement dans les zones foudroyées Double cône d’accrochage d’arc VHT 22 T au lieu de VHT 20 T Parafoudre Dans ce cas, il n’est pas nécessaire de mettre à la terre les ferrures des supports adjacents 3 CT 175 ou 2 CT 254 2 CT 175 VHT 20T 2 CT 175
  • 43.
    © EDF/GDF SFPDomaine CAP/7685.matériel .doc.12/.2003 43 Distances aux obstacles Conditions Normales Conditions Climatiques exceptionnelles Surplomb des terrains Terrain ordinaire ou agricole 6 m 3 m Art. 24 Cours de ferme, d’usine H+1 m 4.5 m Art. 24 Cours d’enseignement, sport, jeux 6 m (à éviter) 4 m Art. 24-48-60-99 Surplomb de voies Voies ouvertes à la circulation 8 m 6 m Art. 24 Autoroute 8 m 8 m Art. 24 Voies pour passage d’engins de grande hauteur H+1 m (D8 m) 6 m Art. 24-47 Bâtiments >3 m accessible à des personnes et pente >12° 3.2 m 2 m Art. 25-49 idem mais pente <12° ou terrasse 3.2 m 3 m Art. 25-49 Voisinage 3 m 3 m Art. 25-49 Arbres et divers Surplomb 3 m 0.5 m Art. 26 / C11201 p 15 Voisinage 2 m 0.5 m Art. 26 / C11201 p 15 Couloir d’élagage (/ cond. extérieur) 5 m Suspendu 4 m Rigide 0.5 m C11201 p 15 Lignes Basse Tension Cond. nus mêmes supports 1 m 0.5 m Art. 35 Cond. isolés mêmes supports 1 m 0.5 m Art. 35 Cond. nus supports indépendants 2 m 0.5 m Art. 34 Cond. isolés supports indépendants 2 m 0.5 m Art. 34 Lignes PTT Sur supports indépendants 2 m 0.5 m Art. 33-51 Sur mêmes supports 2 m 0.5 m Art. 52-64 Conditions Normales: Surplomb: + 40°C sans vent Voisinage: + 15°C vent de 240 Pa (ZVN) ou 360 Pa (ZVF) Conditions Climatiques exceptionnelles: Surplomb: - 5°C sans vent, Givre, DAC ouvert Voisinage: ----- *Arrêté Technique *NFC 11201 ( du 10/1996) HTA en Conducteurs nus Nature des Obstacles
  • 44.
    © EDF/GDF SFPDomaine CAP/7685.matériel .doc.12/.2003 44 Ordre d’idée des efforts de supports HTA Voici un ordre de grandeur des supports HTA calculés aujourd’hui (par fonction et type de ligne) avec le logiciel de calculs mécaniques de lignes « CAMELIA ». Fonction de support Ligne principale AS (arrêt simple) E 40kN AD (arrêt double) E 40kN SA (semi-arrêt) E 25kN SF (simple fixation) entre D 5kN et D 6,5kN (selon ) Fonction de support Ligne secondaire AS (arrêt simple) E 12,5kN SA (semi-arrêt) entre E 8kN et E 10kN SF (simple fixation) entre D 2kN et D 5kN (selon ) DA (double ancrage) entre D 5kN et D 10kN (selon )
  • 45.
    © EDF/GDF SFPDomaine CAP/7685.matériel .doc.12/.2003 45 Mises à la terre en HTA (Lignes nues et isolées)  Doivent être obligatoirement mis à la terre : Supports métalliques Porteur du câble torsadé isolé aux extrémités Interrupteurs aériens sur supports métalliques Porteur du câble torsadé isolé à tous les supports Interrupteurs aériens sur supports béton Ecrans de câbles isolés torsadés aux extrémités du réseau Interrupteurs aériens sur supports bois Ecrans de câbles isolés torsadés tous les km Transformateurs haut de poteau de type« H 61 » sur support béton Raccordement à la terre obligatoire Support bois adjacents avec isolateurs VHT 20T Parafoudres sur supports bois Les supports bois sont adjacents à des supports conducteurs équipés de cornes d’accrochage de l’arc Parafoudres sur supports béton Support béton adjacents avec isolateurs VHT 20T Ferrures et armements de « H 61 » sur support bois Ecrans de câbles isolés torsadés à tous les supports Support béton adjacents avec isolateurs VHT 22T
  • 46.
    © EDF/GDF SFPDomaine CAP/7685.matériel .doc.12/.2003 46 Parafoudres HTA Zno (oxyde de zinc) à enveloppe synthétique Ils sont obligatoires :  Pour les remontées aéro-souterraines  Pour les transformateurs sur poteau de type « H 61 » Montage :  En position horizontale par ferrure support  Connectique HTA adaptée aux travaux sous tension HTA  Ponts gainés Parafoudre
  • 47.
    © EDF/GDF SFPDomaine CAP/7685.matériel .doc.12/.2003 47 Parafoudres synthétiques Zno (oxyde de zinc) montés sur transformateut haut de poteau « H61 » D.A.C Parafoudre synthétique Z.N.O Manchon d’ancrage à broche A.B.T. Connecteurs pour broche C.B.O. Ponts gainés rigides. Coffret disjoncteur BT Plateforme de manoeuvre Liaison : ferrure support parafoudre / Cuve transfo réalisée en câble cuivre isolé U 1000 RO2V 25 mm2 (côté opposé aux bornes BT) TPC (transformateur protection coupure) Avec fusibles HTA intégrés Prise de terre multidirectionnelle et Rt ≤ 10 ou 30Ω selon le régime de neutre hta
  • 48.
    © EDF/GDF SFPDomaine CAP/7685.matériel .doc.12/.2003 48 Parafoudres synthétiques Zno (oxyde de zinc) montés sur transformateut haut de poteau « H61 » avec fusibles « LIMITOR » D.A.C Fusible LIMITOR Manchon d’ancrage à broche A.B.T. Connecteur pour broche C.B.O. Pont gainé rigide. Pont gainé rigide. Parafoudre synthétique Z.N.O Pour les postes sur poteau existants ou neufs, respectant les 3 conditions suivantes:  Sans protection contre les défauts internes et  La puissance de court-circuit au niveau du poste dépasse 30 MVA et  Le poste se trouve dans une zone à risque  Zone à moins de 8m d’un bâtiment ou  Zone présentant un risque d’incendie ou  Zone à proximité de tiers (école, passage intense,...) ou  Zone à fort niveau kéraunique ou  Zone à risque particulier Fusibles HTA en pont « LIMITOR » Coffret disjoncteur BT Plateforme de manoeuvre Liaison : ferrure support parafoudre / Cuve transfo réalisée en câble cuivre isolé U 1000 RO2V 25 mm2 Prise de terre multidirectionnelle et Rt ≤ 10 ou 30Ω selon le régime de neutre
  • 49.
    © EDF/GDF SFPDomaine CAP/7685.matériel .doc.12/.2003 49 Parafoudres HTA Zno (oxyde de zinc) à enveloppe synthétique avec remontée aéro-souterraine D.A.C Manchon d’ancrage à broche A.B.T. Connecteur pour broche C.B.O. Pont gainé rigide. Parafoudre synthétique Z.N.O Extrèmité HTA Remontée aéro- souterraine (R.A.S.) Mise à la terre des écrans du câble HTA (si le câble en possède Collecteur de tresses
  • 50.
    © EDF/GDF SFPDomaine CAP/7685.matériel .doc.12/.2003 50 Réseaux aériens HTA (Matériel divers)  Anti-paille :  Se met en place sur les conducteurs nus HTA (à ± 60 cm des isolateurs).  Il évite ainsi aux « bouchons de paille », se formant sur les conducteurs, de s’approcher des ferrures et de provoquer des amorçages. (il est à noter qu’aujourd’hui, les machines agricoles broient beaucoup plus finement la paille que par le passé, ce qui rend l’utilisation de l’anti- paille de moins en moins systématique).
  • 51.
    © EDF/GDF SFPDomaine CAP/7685.matériel .doc.12/.2003 51 Réseaux aériens HTA (Matériel divers)  Masse Anti-giratoire (M.A.G.) : Les M.A.G. empêchent la rotation des conducteurs en s’opposant à la formation de manchons, en cas de précipitations neigeuses. La mise en place s’effectue tous les 30 à 40m sur chacun des 3 conducteurs (capacité : Aster 117, Aster 148 et Pastel 117).  Le M.A.G.  « Dervaux », se met en place à l’aide d’une perche isolante, à partir d’une nacelle « Dervaux ».  Le M.A.G.  « Dervaux », se met en place à l’aide d’une perche isolante, à partir du sol.  Le M.A.G.  « S.A.E.E. », se met en place à l’aide d’un robot. 3Kg 3,2Kg 3,5Kg   
  • 52.
    © EDF/GDF SFPDomaine CAP/7685.matériel .doc.12/.2003 52 Réseaux aériens HTA (Matériel Avifaune)  Dispositifs pour la protection des oiseaux (D.P.O.) : Ces tiges de polyamide peuvent être mises en place sous tension à distance. Elles empêchent les oiseaux de se poser sur des armements HTA rigide anciens. Dispositif Désignation Nombre (par armement) Schéma D’utilisation DPO NR NVR (nappe voûte rigide) 1, 2 ou 3 2 DPO BP BP (bras horizontal) BP 70-760 1 DPO TA Traverses 6 DPO IA Interrupteurs aériens 12
  • 53.
    © EDF/GDF SFPDomaine CAP/7685.matériel .doc.12/.2003 53 Réseaux aériens HTA (Matériel Avifaune)  Dispositifs pour la protection des oiseaux (A.V.I.) : a (mm) b (mm) c (mm) Désignation Exemples d’utilisation AVI 1C 500 AVI 1 sur IACM Etau court AVI 1C 1200 ou traverse d’ancrage Capacité 110 x 100 110 115 140 AVI 1C 500 AVI 1C 500 AVI 2 sur BP ou BP / FR Etau long AVI 1L 500 AVI 3 sur NVR Capacité 145 x 160 145 175 200 AVI 1L 1200 ou traverse d’ancrage  Ce dispositif est composé d’une, deux ou trois chandelles en nylon et vient se fixer sur un étau possédant une vis à anneau (permettant ainsi sa fixation sous tension sur le straverses entre chaque phase. c b a L
  • 54.
    © EDF/GDF SFPDomaine CAP/7685.matériel .doc.12/.2003 54 Réseaux aériens HTA (Matériel Avifaune)  Dispositifs pour la protection des oiseaux (D.P.O. - T.R.) : Ce dispositif est destiné aux armements rigides. Il est fixé par l’intermédiaire d’une plaque entre la TR (tige renforcée et l’armement). Sur cette plaque, sont serties 2 branches en rond thermoformées, terminées par des embouts en plastique. La forme de l’ensemble incite les oiseaux à venir se poser sur les embouts.
  • 55.
    © EDF/GDF SFPDomaine CAP/7685.matériel .doc.12/.2003 55 Réseaux aériens HTA (Matériel Avifaune)  Dispositifs pour la protection des oiseaux (Spirale de dissuasion S.P.D.) : Ce dispositif est destiné aux armements nappe voûte ; il peut être posé sous tension. Il est constitué d’un enroulement monté sur un collier à anneau. Il interdit la pose de petits rapaces (faucons, crécerelles), sur la tête du support équipé d’un armement nappe voûte. les spirales se positionnent sur le conducteur central, de part et d’autre de la pince d’alignement à environ 0,25m de celle-ci. S.P.D. 60 (pour conducteurs en alliage d’aluminium S ≤ 60 mm2 ). S.P.D. 230 (pour conducteurs en alliage d’aluminium S ≤ 230 mm2 ). 0,25m 0,25m
  • 56.
    © EDF/GDF SFPDomaine CAP/7685.matériel .doc.12/.2003 56 Réseaux aériens HTA (Matériel Avifaune)  Dispositifs pour la protection des oiseaux (Coiffe pour borne de transformateur haut de poteau « H 61 ») : Utilisable en 20 kV en zones de pollution 1 et 2. 220mm Φ 150mm Pont gainé Capuchon (épaisseur 4mm) Cosse équerre Qn 2 AU 54 G 4 profilés d’appui Cosse CN 2 AU 54G
  • 57.
    © EDF/GDF SFPDomaine CAP/7685.matériel .doc.12/.2003 57 Réseaux aériens HTA (Matériel Avifaune)  Dispositifs pour la protection des oiseaux Lignes sur isolateurs rigides( I.P.A. dispositif d’isolation pour protection de l’avifaune) : Dispositif d’isolation des conducteurs et des masses pour armements rigides NVR et BP pour conducteurs de diamètre compris entre 4 et 10 mm. Sa mise en oeuvre peut être faite sous tension. Composition : Désignation Protection de phases Protection de masses NVR BP IPA 2O NVR C2 IPA 2O NVR L2 6 éléments de 0,70m 12 éléments de 0,70m 4 x 0,50m 4 x 0,50m IPA 2O BP C2 IPA 2O BP L2 6 éléments de 0,70m 12 éléments de 0,70m 2 x 0,50m 2 x 0,50m Désignation par :  Un groupe de lettre IPA (Isolation Protection Avifaune)  La tension du réseau en kV 20 kV)  L’armement auquel il est destiné (NVR ou BP)  La longueur des protections de phase (C pour 0,70m et L pour 1,40m)
  • 58.
    © EDF/GDF SFPDomaine CAP/7685.matériel .doc.12/.2003 58 Réseaux aériens HTA (Matériel Avifaune)  Dispositifs pour la protection des oiseaux (Perchoirs supérieurs et inférieurs pour avifaune) : A mettre en place sur lignes HTA, sous ou hors tension. Les perchoirs supérieurs pourront être utilisés simples ou doubles selon le cas. Perchoir supérieur : PS-L50.90 Perchoir inférieur : PI Perchoir pour I.A.C.M. : P. I.A.C.M.
  • 59.
    © EDF/GDF SFPDomaine CAP/7685.matériel .doc.12/.2003 59 Réseaux aériens HTA (Matériel Avifaune)  Dispositifs pour la protection des oiseaux (B.A.R balise avifaune) : Cette balise est utilisée pour diminuer les risques de collision des oiseaux migrateurs avec les conducteurs aériens. Mise en oeuvre tous les 15m (si l’on équipe une seule phase) Mise en oeuvre tous les 45m (si l’on équipe les 3 phases) La mise en place peut s’effectuer sous tension avec un robot, ou à la main depuis une nacelle. Désignation Section Couleur BAR 34.75 R 34,4 à 75,5 Rouge BAR 34.75 B 34,4 à 75,5 Blanc BAR 93.148 R 93,3 à 148 Rouge BAR 93.148 B 93,3 à 148 Blanc 740gr
  • 60.
    © EDF/GDF SFPDomaine CAP/7685.matériel .doc.12/.2003 60 Réseaux aériens HTA (Matériel Avifaune)  Dispositifs pour la protection des oiseaux (B.A.V balise avifaune) : Cette balise est utilisée pour diminuer les risques de collision des oiseaux migrateurs avec les conducteurs aériens. Mise en oeuvre tous les 15m (si l’on équipe une seule phase) Mise en oeuvre tous les 45m (si l’on équipe les 3 phases) La mise en place peut s’effectuer sous tension à la main depuis une nacelle. Il est préférable d’alterner les couleurs. Désignation Conducteurs Couleur BAV 34-38 B BAV 34-38 R Aster 34,4 Canna, Phlox 37,7 Blanc Rouge BAV 54-60 B BAV 54-60 R Aster 54,6 Canna, Phlox 59,7 Blanc Rouge BAV 75 B BAV 75 R Aster 75,6 Canna, Phlox 75,5 Blanc Rouge BAV 117 B BAV 117 R Aster 117 Canna 116 Blanc Rouge BAV 148 B BAV 148 R Aster 148 Canna, Pastel 147 Blanc Rouge BAV 228 B BAV 228 R Aster 228 Canna 228 Blanc Rouge