Nom : ……………………..…
Prenom : ………………...….
Classe : ………………...…….
A.S : ……….. 2018 / 2019
Labo Génie Mécanique de Kélibia Page 1
01 ANALYSE FONCTIONNELLE
EXTERNE D’UN PRODUIT
I. MISE EN SITUATION :
Le cycle de vie d’un produit prend en compte toutes les activités qui entrent en jeu dans la fabrication,
l’utilisation, le transport et l’élimination de ce produit.
Le cycle de vie est généralement illustré comme une série d’étapes.
Un besoin est un désir (ou une nécessité) éprouvée par un utilisateur. [Définition Afnor NF X50 – 150]
L’analyse du besoin se fait en trois étapes :
La méthode de l’analyse du besoin s’appuie sur deux hypothèses :
hypothèse1 : la satisfaction du besoin est réalisée par l’utilisation du produit à concevoir.
hypothèse2 : le besoin est satisfait par le changement d’état d’une matière d’œuvre.
01 Analyse du besoin
02 Etude de la faisabilité
03 Conception du produit
10 Elimination du produit
Cahier de Charges
Fonctionnels (CdCF)
saisie
du besoin
énoncé
du besoin
validation
du besoin
idée besoin valide
besoin non valide
abandon
perception
du marché
Labo Génie Mécanique de Kélibia Page 2
II. ANALYSE FONCTIONNELLE :
L’analyse fonctionnelle est une approche scientifique qui raisonne en terme de fonctions devant être assurées
par un produit, elle consiste à recenser, caractériser, hiérarchiser les fonctions d’un système.
L'analyse fonctionnelle n'est pas une fin en soi, mais une étape dans le processus de conception d'un produit
ou d'un système.
L'analyse fonctionnelle permet:
De mieux définir le besoin,
De mieux adapter le produit au besoin,
De ne rien oublier au moment de la conception
D'innover
De diminuer les modifications de mise au point : « faire bien du premier coup »
La synergie du travail en groupe
La combinaison de la rigueur et de la créativité
L’analyse fonctionnelle externe, décrit le point de vue de l’utilisateur et ne s’intéresse au produit qu’en tant
une « boîte noire » capable de fournir des services dans son environnement durant son cycle d’utilisation.
C’est une démarche menée par le concepteur dans le cadre d’un projet pour la conception (création ou
amélioration) d’un produit. Elle débouche sur la l’élaboration du Cahier des Charges Fonctionnel (C.d.C.F).
Dans ce qui suit, l’étude sera portée sur l’exemple d’un tournevis électrique.
III. PRESENTATION DU THEME D’ETUDE :
1. Historique du produit:
L’usage du tournevis manuel devient rapidement fastidieux en cas d’utilisation intense. L’idée de motoriser
l’appareil s’est donc imposée.
La première visseuse électrique fut inventée en 1925 par l'entreprise allemande « C. & E. Fein ».
En 1968, « Skil » conçoit une première perceuse à batterie NiCd de 6 volts. Il faudra attendre 1986 pour voir
apparaître le tournevis sans fil « Twist » équipé d’une batterie incorporée NiCd de 2,4 V. Cet outil sera
fabriqué à un million d’exemplaires dans le monde.
La miniaturisation des différents composants (moteur, transmission…) et les progrès effectués en matière de
stockage de l’énergie ont conduit aux produits que nous connaissons aujourd’hui et qui nous sont proposés
par de nombreux constructeurs avec des caractéristiques variables suivant l’utilisation souhaitée.
fonctions
de service
fonctions
techniques
besoin produit
Analyse fonctionnelle
extene
Analyse fonctionnelle
intene
Analyse fonctionnelle
externe d’un produit
besoin
Cahier des Charges Fonctionnel
« C.d.C.F »insatisfactions
Labo Génie Mécanique de Kélibia Page 3
2. Descriptif du produit:
3. Caractéristiques techniques du produit:
Tension Secteur du chargeur 230V~50 Hz
Tension du chargeur 6 V
Tension de la batterie 3.6 V
Type de batterie Lithium-Ion
Vitesse max. de rotation à vide 200 tr/min
Diamètre du porte embout 6.35 mm (tête hexagonale)
Couple max. 8 Nm
Durée de charge 5 ~ 8 heures
Marche à droite/gauche oui
Poids 0.4 kg
4. Utilisation du produit:
Le tournevis électrique est conçu pour le vissage et le dévissage des vis.
Avec un embout très court et une grosse poignée, cet outil offre une bonne
préhension et permet ainsi de développer la force nécessaire en cas ou on dispose
de peu d’espace.
Il est adapté à des embouts de différents types et de diverses longueurs
ayant une tige hexagonale de 6.35mm (caractéristiques techniques) entre les
surfaces planes. Il est fourni avec 10 embouts inclus.
5. Manipulation du produit:
Choisir l’embout adapté au vis qu’on va utiliser.
Insérer l’embout dans le porte-embout, en s’assurant qu’il est introduit bien
fermement.
Actionner l’interrupteur (4) afin d’assurer la rotation de l’embout
o Pour visser : actionner la partie inférieure (4.1) de l’interrupteur.
o Pour dévisser : actionner la partie supérieure (4.2) de l’interrupteur.
NB: la broche s’arrête automatiquement lorsqu’on éteint l’outil, ce qui permet de
l’utiliser de façon manuelle.
Dispositif des composants :
1. Porte-embout à aimant
2. Corps de la visseuse
3. Voyant de charge
4. Commutateur du sens de rotation
5. Prise du chargeur électrique
6. Poignée en caoutchouc souple
1 2 3
5
6
4
Labo Génie Mécanique de Kélibia Page 4
IV. RECENSEMENT DES FONCTIONS DE SERVICE :
1. Expression fonctionnelle du besoin:
La démarche de conception, pour être rationnelle et efficace, commence par une formulation exhaustive
du besoin exprimé ou implicite des utilisateurs. [Définition Afnor AFN90]
Fonctions principales (F.P.) : les fonctions pour lesquelles le produit est créé. Elles correspondent à la raison
d'être du produit, en établissant les relations entre au moins deux milieux environnants par l'intermédiaire
du produit.
* Le tournevis électrique doit rendre service à l’opérateur souhaitant visser et dévisser des vis sans effort
de sa part.
FP1 : ……………………………………………………………….
Fonctions contraintes (F.C.) : les fonctions qui limitent la liberté du concepteur par rapport au réalisateur
d'un produit et jugées nécessaires par le demandeur. Elles relient le produit à un milieu environnant.
* L’opérateur doit manipuler facilement le tournevis (ergonomie de la manche)
FC1 : ……………………………………………………………
* Les outils de vissage doivent s’adapter facilement au tournevis malgré des formes différentes
FC2 : ……………………………………………………………
* Le tournevis ne doit pas être branché au secteur lors de son utilisation (autonomie)
FC3 : ……………………………………………………………
2. Le diagramme des interactions:
Appelé parfois « diagramme pieuvre », il montre de manière visuelle et littérale les relations entre un produit
et ses milieux environnants. Ces relations correspondent au service rendu par le produit et contribuent à
l'élaboration du cahier des charges fonctionnel.
Légende
Produit :
ME :
FP :
FC :
nom du produit analysé
milieux environnants du produit
fonctions principales
fonctions contraintes
ME1
ME3
FC2
FP2
FC4
Produit
ME2
ME5
ME4
FC3
FC5
FP1
FC1
Labo Génie Mécanique de Kélibia Page 5
Compléter le diagramme d’interactions
V. CARACTERISATION DES FONCTIONS DE SERVICE:
1. Introduction:
Dans cette partie, on va définir pour chaque fonction de service des critères d’appréciation qui permettent
d’apprécier la manière dont elle est remplie.
Cette caractérisation constitue le noyau du cahier des charges fonctionnel (C.d.C.F).
2. Marche à suivre:
3. Critères d’appréciation: (voir manuel scolaire p.15)
Ils caractérisent qualitativement la fonction (caractéristiques des milieux environnants et de l'action)
4. Niveau d’exigence:
Chau critère d’appréciation est accompagné par son niveau de flexibilité; ce niveau doit permettre de
quantifier le critère.
Fonctions de service Expression des fonctions de service
FP1 ……………………………………………..………………………………………
FC1 ……………………………………………..………………………………………
FC2 ……………………………………………..………………………………………
FC3 ……………………………………………..………………………………………
Vis Utilisateur
Energie
Electrique
Tournevis électrique
……
……
……
……
Enoncer
les critères
d’appréciation
Définir
le niveau de
chaque critère
Associer
Chaque niveau
d’une flexibilité
F.S
idéntifieé
FS
caractérisée
Labo Génie Mécanique de Kélibia Page 6
Compléter le tableau de caractérisation des fonctions de service du système tournevis électrique
VI. HIERARCHISATION DES FONCTIONS DE SERVICE :
1. Introduction:
Cette opération consiste à classer les fonctions de service selon leurs importances relatives aux yeux de
l’utilisateur. Elle servira de référence pour l’étude des coûts par fonction.
2. Marche à suivre:
L’outil appelé Tri-croisé permet de comparer les fonctions de service une à
une et d’attribuer à chaque fois une note de supériorité allant de 0 à 3
3. Mode d’emploi:
• Indiquer les fonctions à l’extérieur de la matrice (lignes et colonnes)
• Comparer les deux fonctions d’intersection pour chaque cellule tout en indiquant dans la case la
fonction supérieure avec sa pondération
• Faire le compte des points attribués à chaque fonction et calculer son pourcentage
4. Outil tri-croisé:
Compléter l’outil tri-croisé pour hiérarchiser les fonctions de service du tournevis électrique.
FC1 FC2 FC3 Points %
FP1 ……… …. ……… …. ……… …. ……… ………
FC1 ……… …. ……… …. ……… ………
FC2 ……… …. ……… ………
FC3 ……… ………
Total ……… 100
F.S EXPRESSION CRITERES NIVEAU & FLEXIBILITE
FP1 .………….……………………………
.………………………………………
.………………………………………
.……………… ……...
.……………… ……...
FC1 .………….……………………………
.………………………………………
.………………………………………
.……………… ……...
.……………… ……...
FC2 .………….……………………………
.………………………………………
.………………………………………
.……………… ……...
.……………… ……...
FC3 .………….……………………………
.………………………………………
.………………………………………
.……………… ……...
.……………… ……...
0 : pas de superiorité
1 : légèrement supérieure
2 : moyennement supérieure
3 : nettement supérieure
Comparer
les fonctions de
service
Pondérer
les fonctions de
service
Etablir
l’histogramme
F.S
caractériseé
FS
hiérarchisée
Labo Génie Mécanique de Kélibia Page 7
4. Elaboration de l’histogramme des fonctions:
Il consiste à tracer un diagramme en bâtonnets représentant en pourcentages les notes attribuées à
chaque fonction de service par ordre décroissant. L’histogramme permet de faire apparaître les fonctions
de service par ordre d’importance souhaité par l’utilisateur.
Etablir l’histogramme des fonctions de service du tournevis électrique
VII. REDACTION DU CAHIER DES CHARGES FONCTIONNEL :
Le cahier des charges fonctionnel comprend :
une description du besoin et du système auquel il s'intègre,
le cycle de vie du produit,
les fonctions, leur importance relative avec leurs caractéristiques et les flexibilités, éventuellement
complété par leur structuration,
les contraintes,
les normes ou règlements spécifiques au produit.
Rédiger le cahier des charges fonctionnel du tournevis électrique.
1. Le produit et son marché :
……………………………………………………………………….………………………………….……………………………
….………………………………….………………………………….………………………………….……………………………
2. Contexte du projet et objectifs :
……………………………………………………………………….………………………………….……………………………
3. Enoncé fonctionnel du besoin :
4. Les contraintes :
……………………………………………………………………….………………………………….……………………………
….………………………………….………………………………….………………………………….……………………………
F.S EXPRESSION CRITERES NIVEAU & FLEXIBILITE
…… .………….……………………………
.………………………………………
.………………………………………
.……………… ……...
.……………… ……...
…… .………….……………………………
.………………………………………
.………………………………………
.……………… ……...
.……………… ……...
…… .………….……………………………
.………………………………………
.………………………………………
.……………… ……...
.……………… ……...
…… .………….……………………………
.………………………………………
.………………………………………
.……………… ……...
.……………… ……...
souhaits en %
fonctions
…… ……
FC1
……
FC2
……
FC3
Labo Génie Mécanique de Kélibia Page 8
VIII. EXERCICE D’APPLICATION : PERFORATEUR
1. Description du produt:
Les figures ci-contre représentent une perforatrice utilisée pour percer des papiers
d’épaisseurs de 0,5 mm à 5 mm avec un diamètre de 10 mm afin de les insérer dans un
classeur.
2. Modèle fonctionnel du système:
3. Recensement des fonctions de service:
F.S Expression des fonctions de service
FP1 …………………………………………………….…………………………..…………
FC1 …………………………………………………….…………………………..…………
FC2 …………………………………………………….…………………………..…………
FC3 …………………………………………………….…………………………..…………
FC4 Etre déposable sur un bureau
FC5 …………………………………………………….…………………………..…………
……………………..……
………………………….
……………..…… ……………..……
……………………..……
……………..……
……………………..……
…………………………………..……
A-0
Perforateur
Utilisateur
Feuille(s)
Bureau
Oeil
Déchets
Prix
FP1
FC1
FC4FC3
FC2
FC5
Labo Génie Mécanique de Kélibia Page 9
4. Hiérarchisation des fonctions de service:
FC1 FC2 FC3 FC4 FC5 Points %
FP1 FP1 2 FP1 2 FP1 3 FP1 2 FP1 1 ……… ………
FC1 FC1 1 FC1 2 FC1 2 FC1 2 ……… ………
FC2 FC2 2 0 FC2 2 ……… ………
FC3 FC4 2 FC3 1 ……… ………
Pondération :
0 : pas de superiorité
1 : légèrement supérieure
2 : moyennement supérieure
3 : nettement supérieure
FC4 FC4 1 ……… ………
FC5 ……… ………
Total ……… 100
Tracer l’histogramme (ordre décroissant) des fonctions de service
….. ….. ….. ….. ….. ….. …..
IX. EXERCICE D’APPLICATION:FRAISEUSE AUTOMATIQUE
Description de la machine :
La fraiseuse automatique est utilisée pour usiner pendant un travail
sériel des pièces ayant de grandes précisions et des états de surface
de faibles valeurs de rugosité. Ces pièces sont destinées pour la
production des supports des appareils électroménagers.
1. Compléter le modèle fonctionnel du système
souhaits en %
fonctions
………..………..
……………..…… ……………..……
………………
………………
……………………..
Fraiseuse automatique
……………………..……
………………………….
A-0 ……………..……
………..………..
Labo Génie Mécanique de Kélibia Page 10
2. Compléter le diagramme de la pieuvre et déterminer les fonctions de service
3. Compléter le tableau de tri-croisé
FC1 FC2 FC3 FC4 FC5 Points %
FP1 ….……. FP1 1 FP1 2 FP1 1 FP1 3 8 ………
FC1 0 FC1 2 FC1 1 ….…..… ……… ………
FC2 FC2 2 0 FC2 3 5 ………
Pondération :
0 : pas de supériorité
1 : légèrement supérieure
2 : moyennement supérieure
3 : nettement supérieure
FC3 FC4 2 0 ……… ………
FC4 FC4 1 ……… ………
FC5 0 ………
Total ……… 100
4. Tracer l’histogramme (en ordre décroissant) des fonctions de service
….. ….. ….. ….. ….. ….. ….. …..
F.S Expression des fonctions de service
FP1 …………………………………………………….…………………………………………....…………
FC1 …………………………………………………….…………………………………………....…………
FC2 …………………………………………………….…………………………………………....…………
FC3 …………………………………………………….…………………………………………....…………
FC4 Etre stable sur le sol
FC5 …………………………………………………….…………………………………………....…………
souhaits en %
fonctions
Fraiseuse
automatique
Opérateur Pièce
huile
Milieu
ambiant
Sécurité….……..…
FP1
FC3 FC2
FC5
FC1
FC4
Labo Génie Mécanique de Kélibia Page 11
02 LECTURE D’UN
DESSIN D’ENSEMBLE
I. MISE EN SITUATION :
1. Le dessin technique:
Le dessin technique est un moyen d’expression universel et indispensable à tous les techniciens, il est soumis
à des règles définies par une normalisation ne permettant aucune erreur d’interprétation.
C’est un outil de conception qui permet de représenter une idée
2. Le dessin d’ensemble:
Le dessin d’ensemble contient les informations nécessaires à la définition du produit.
Son rôle est essentiellement de montrer le fonctionnement d’un mécanisme et la
façon dont le concepteur a agencé les pièces constituant le système.
II. REGLES DE LECTURE D’UN DESSIN D’ENSEMBLE :
Dans ce qui suit, l’étude sera portée sur l’exemple d’un étau a mors parallèles.
Faire un regard global sur la planche :
- Lire le nom du produit.
- Reconnaître l’orientation du dessin.
- Différencier entre les différentes vues.
Consulter la mise en situation, la
description et la documentation.
Identifier les pièces standards et les
formes usuelles.
- Identifier chaque pièce.
- Consulter la nomenclature.
- Procéder au coloriage des pièces pilotes.
Susciter l’imagination pour identifier les
formes cachées et comprendre ainsi l’utilité
des agencements proposés
Les cinq règles
de lecture.
Labo Génie Mécanique de Kélibia Page 12
III. PRESENTATION DU THEME D’ETUDE :
11 1 Tête du levier de manoeuvre C 30
10 2 Tige de serrage C 30
9 1 Vis de blocage C 30
8 1 Mors mobile EN-GJS-1050
7 1 Levier de manoeuvre C 30
6 1 Rondelle plate C 30
5 2 Goupille tendue S 275
4 1 Embase S 275
3 2 Ecrou Cu Sn 8P
2 1 Vis de manoeuvre C 50
1 1 Mors fixe EN-GJS-1050
REP QTT DESIGNATION MATIERE OBSERVATIONS
Echelle 1 :2
123 10 9
11
8
7
6 5 4
7
11
Détail E échelle 1:1
E
B-B
A-A
Labo Génie Mécanique de Kélibia Page 13
1. Description:
Un étau est un dispositif mécanique qui permet la « mise en position »
et le « maintien en position » (serrage) d'une pièce.
En général, l'étau est composé d'une partie fixe (généralement liée au
plan de travail : établi, table de machine-outil…), d'une partie mobile, et
d'un système de serrage.
2. Fonctionnement:
Le plan (page 3) représente un étau a mors parallèles que l'on fixe sur un établi par des boulons (vis-écrou).
La rotation de la vis de manœuvre (2) commandée par le bras (7) assure le déplacement du mors mobile (8)
ce qui permet le serrage ou le desserrage de toute pièce placée entre les deux mors (1) et (8).
IV. LECTURE DU DESSIN D’ENSEMBLE :
1. Règle (1) :
…………………………………………………………………………………………………………………………………………
2. Règle (2) :
…………………………………………………………………………………………………………………………………………
3. Règle (3) :
………………………………………………………………………………………………
………………………………………………………………………………………………
4. Règle (4) :
REP DESIGNATION MATIERE EXPLICATION MODE D’OBTENTION
1 Mors fixe EN-GJS-1050 ……………...……….…………………...….…… …..…….………………
2 Vis de manœuvre C 50 ……………...……….…………………...….…… …..…….………………
3 Ecrou Cu Sn 8 P ……………...……….…………………...….…… …..…….………………
4 Embase S 275 ……………...……….…………………...….…… …..…….………………
14 Tige de serrage C 30 ……………...……….…………………...….…… …..…….………………
5. Règle (5) :
……………………………………………………………………………
……………………………………………………………………………
……………………………………………………………………………
……………………………………………………………………………
……………………………………………………………………………
……………………………………………………………………………
Labo Génie Mécanique de Kélibia Page 14
03 DESIGNATION DES MATERIAUX
I. MISE EN SITUATION :
Symboles chimiques internationaux des éléments d’alliage
Eléments d’alliage
Symbole
chimique
Eléments d’alliage
Symbole
chimique
Eléments d’alliage
Symbole
chimique
Aluminium Al Cobalt Co Nickel Ni
Antimoine Sb Cuivre Cu Niobium Nb
Argent Ag Etain Sn Plomb Pb
Béryllium Be Fer Fe Silicium Si
Bismuth Bi Gallium Ga Strontium Sr
Bore B Lithium U Titane Ti
Cadmium Cd Magnésium Mg Vanadium V
Cérium Ce Manganèse Mn Zinc Zn
Chrome Cr Molybdène Mo Zirconium Zr
Les matériaux
matériaux métalliques matériaux non métalliques
conducteurs
attiré par un
aimant
métaux ferreux métaux non ferreux
oui non
oui
non
Fontes
Aciers
Cuivre
Aluminium
Matières plastiques
Labo Génie Mécanique de Kélibia Page 15
II. LES FONTES :
1. Description:
La fonte est un alliage de fer riche en carbone (2,11 6,67%), elle se distingue des aciers par une
sursaturation en carbone qui peut précipiter sous la forme de graphite au moment de la solidification.
Les fontes sont des alliages destinés à la fonderie, elles se distinguent des autres alliages par leur
excellente coulabilité (fluidité de l’alliage en fusion)
2. Désignation normalisée:
La norme européenne EN1560 indique :
Le préfixe EN-GJ indique qu’il s’agit de la fonte.
3. Fonte blanche:
Principalement utilisée pour les pièces d’aspect et la fonderie d’art, ses principales qualités sont :
- excellente résistance à l’usure et à l’abrasion
- un bel aspect
- une excellente coulabilité
Son principal défaut est le fait d’être difficilement usinable.
4. Fonte grise:
Famille des fontes où le carbone se trouve sous forme de graphite
a. fonte à graphite lamellaire :
C’est la plus coutante des fontes grises, le graphite se trouve sous forme de
lamelles. Ses principales qualités sont :
- facilité d’usinage
- très bonne résistance à la corrosion et à la déformation à chaud
- très bonne absorption des vibrations
- prix du métal peu élevé
Son principal défaut est le fait d’être relativement fragile.
Cette fonte est principalement utilisée pour l’usinage des pièces mécaniques, bâtis, machines outils, blocs
moteurs, tuyaux et canalisations.
exemlpe: EN-GJL-300 ………………………………………………………………………………………..…………
………………………………………………………….……………………………………….
b. fonte à graphite sphéroïdal :
Fonte dans laquelle le graphite se trouve sous forme de nodules (sphéroïdes).
Cette fonte appelée aussi fonte ductile possède des caractéristiques mécaniques
proches de l’acier.
EN-GJL-300
préfixe Rmin
symbole
avec
Rmin : valeur de la résistance minimale à la
rupture par extension (unité Mpa)
Labo Génie Mécanique de Kélibia Page 16
Cette fonte est principalement utilisée pour la fabrication des tuyaux soumis à haute pression.
exemlpe: EN-GJS-300-22 ………………………………………………………………………………………..…………
………………………………………………………….……………………………………….
c. fonte malléable :
l’interêt des fontes malléables c’est que tout en gardant les bonnes propriétés de coulabilité, ces
matériaux ont des caractéristiques mécaniques proches de l’acier
exemlpe: EN-GJMW-400-10 ………………………………………………………………………………………..…………
………………………………………………………….………………………….…………….
EN-GJMB-350-10 ………………………………………………………………………………………..…………
………………………………………………………….…………………………….………….
III. LES ACIERS :
1. Description:
L’acier est un alliage de fer et de carbone (0,02 2%).
Les aciers sont élaborés pour résister à des sollicitations mécaniques ou chimiques ou une combinaison des
deux. Pour résister à ces sollicitations, des éléments chimiques peuvent être ajoutés à sa composition en
plus du carbone, ces éléments sont appelés « éléments d’additions ».
2. Classification:
On peut classer les aciers de deux manières :
- Classification par emploi
- Classification par composition chimique
EN-GJS-300-22
préfixe
Rminsymbole
A%
avec
A% : pourcentage de l’allongement après la
rupture
Rmin : valeur de la résistance minimale à la
rupture par extension (unité Mpa)
EN-GJM…-300-22
préfixe
Rminsymbole
A%
avec
A% : pourcentage de l’allongement après la
rupture
Rmin : valeur de la résistance minimale à la
rupture par extension (unité Mpa)
GJMW : fonte malléable à cœur blanc (White)
GJMB : fonte malléable à cœur noir (Black)
Labo Génie Mécanique de Kélibia Page 17
3. Désignation normalisée:
Chaque pays a son mode de désignation des aciers.
La désignation européenne selon la norme EN10027 distingue quatre catégories :
- Les aciers non alliés d’usage général,
- Les aciers non alliés spéciaux,
- Les aciers faiblement alliés,
- Les aciers fortement alliés.
4. Classification par emploi:
On trouve deux catégories :
a. Aciers d’usage général:
Utilisés généralement pour les travaux de construction de bâtiment.
exemlpe: S 185 ……………………………………………………………………………………………….……..…………
b. Aciers de construction:
Ce sont des aciers spéciaux, utilisés généralement pour les travaux de construction mécanique et métallique
(soudables, forgeables…).
exemlpe: E 135 ……………………………………………………………………………………………….……..…………
* Remarque:
S’il s’agit d’un acier moulé,la désignation sera précédée par la lettre G.
exemlpe: GS 185 ……………………………………………………………………………………………..………….……
GE 135 ………………………………………………………………………………………….……….………..…
4. Classification par composition chimique:
a. Aciers non alliés pour traitement thermique:
Leur composition est plus précise et plus pure et correspond à des usages définis à l’avance, leurs
applications courantes sont les forets (perceuses), ressorts, arbres de transmission, matrices (moules)…
exemlpe: C 45 ……………………………………………………………………………………………….……..…………
S 185
symbole Re
avec
Re : valeur minimale de la limite d’élasticité
E 135
symbole Re
avec
Re : valeur minimale de la limite d’élasticité
C 45
symbole Teneur en carbone multipliée par 100
Labo Génie Mécanique de Kélibia Page 18
* Remarque:
S’il s’agit d’un acier moulé,la désignation sera précédée par la lettre G.
exemlpe: GC 45 ……………………………………………………………………………………………….……
a. Aciers faiblement alliés:
Ce sont des aciers dont aucun élément d’addition n’atteint la teneur 5%.
Ces aciers sont urtilisés lorsqu’on a besoin d’une haute résistance.
( ) Ces teneurs seront multipliés par un facteur qui
varie en fonction des éléments d’alliage.
(voir tableau du coefficient multiplicateur >>>
* Remarque:
S’il s’agit de plusieurs éléments d’addition, ils seront rangés par ordre des teneurs décroissant.
exemlpe: 20 Mo 5 ………………………………………………………………………………………..…………
20 CrMo 15-4 ………………………………………………………………………………………..…………
………………………………………………………….…………………………….………….
20 MoCr 5 ………………………………………………………………………………………..…………
………………………………………………………….…………………………….………….
a. Aciers fortement alliés:
Ce sont des aciers dont l’un des éléments d’addition dépasse la teneur de 5%.
Ces aciers sont réservés pour des usages particuliers (ex : acier inoxydable, riche en carbone > 11%).
exemlpe: X 10 NiCr 18-10 ………………………………………………………………………………………..…………
………………………………………………………….………………………….……………
Elément d’alliage Facteur
Cr, Co, Mn, Ni, Si, W 4
Al, Be, Cu, Mo, Nb, Pb, Ta, Tl, V, Zr 10
Ce, N, P, S 100
B 1000
20 Mo 5
Teneur en carbone Pourcentage de la teneur
*
moyenne de chaque élément ( )
Symbole chimique des éléments d’addition
X 10 NiCr 18-10
symbole
Symbole chimique des éléments d’addition
Teneur en carbone
Teneur en éléments d’alliage (pas de facteur)
Labo Génie Mécanique de Kélibia Page 19
III. ALUMINIUM ET ALLIAGES D’ALUMINIUM :
1. Description:
L’Aluminium est un métal pauvre, malléable, de couleur argentée, remarquable par sa résistance à
l’oxydation et sa faible densité.
2. Aluminium et alliages d’aluminium moulés:
Les alliages d'aluminium pour fonderie sont des alliages dont le constituant principal est l'aluminium,
destinés à être transformés par des techniques de fonderie. Ils sont souvent appelés « alliages légers »
du fait de leur masse volumique nettement inférieure à celles d'autres métaux utilisés dans l'industrie.
a. Désignation normalisée:
La norme européenne EN1780 indique :
Le préfixe EN AB indique qu’il s’agit des alliages d’aluminium moulé.
b. Désignation symbolique:
c. Désignation numérique:
exemlpe: EN AB-2110[Al Cu4 Mg Ti] ……….…………...……………………………………………………..…………
………………………………………………………….…………………………….………….
EN AB-42000[Al Si7 Mg] ……...……………………………………………………………………..…………
………………………………………………………….…………………………….………….
3. Aluminium et alliages d’aluminium corroyés:
Les alliages d'aluminium pour corroyage sont des alliages à base d'aluminium destinés pour la majorité à
être transformés par des techniques de forge (laminage, filage, matriçage, forge, etc.).
a. Désignation normalisée:
La norme européenne EN573 indique :
Le préfixe EN AW indique qu’il s’agit des alliages d’aluminium corroyé.
EN AB-Al Cu4 Mg Ti
préfixe
symbole
Symboles chimiques des éléments d’alliage
suivis du nombre indiquant leur teneur.
EN AB-2110
préfixe
symbole
Elément principal d’addition.
Labo Génie Mécanique de Kélibia Page 20
b. Désignation symbolique:
c. Désignation numérique:
exemlpe: EN AW-7049[Al Zn8 Mg Cu] …………..……………..……………………………………………..…………
………………………………………………………….…………………………….………….
EN AW-2017[Al Cu4 Mg Si] ……...…………………………………………………………………..…………
………………………………………………………….…………………………….………….
III. CUIVRE ET ALLIAGES DE CUIVRE :
1. Description:
Le cuivre, appelé aussi « métal rouge » constitue ,avec l’or, le seul métal coloré c’est un métal ductile
possédant des conductivités électriques et thermiques particulièrement élevées qui lui confèrent des usages
variés. Il intervient également comme matériau de construction et entre dans la composition de nombreux
alliages.
2. Désignation normalisée :
La désignation peut utiliser un code numérique ou les symboles chimiques des éléments.
a. Désignation symbolique:
Le préfixe Cu suivi des symboles des éléments d’addition munis de leurs teneur indique qu’il s’agit des
alliages de cuivre.
exemple: Cu Zn39 Pb2
b. Désignation numérique:
Le préfixe CW suivi d’un code numérique indique qu’il s’agit des alliages de cuivre.
exemple: CW 612 N
exemlpe: CW 612 N [Cu Zn39 Pb2] ……………...……………………………………………………………..…………
………………………………………………………….…………………………….………….
EN AW-Al Zn8 Mg Cu
préfixe
symbole
Symboles chimiques des éléments d’alliage
suivis du nombre indiquant leur teneur.
EN AW-7049
préfixe
symbole
Elément principal d’addition.
Labo Génie Mécanique de Kélibia Page 21
3. Alliages de cuivre :
Les alliages de cuivre désignent un ensemble d’alliages où le cuivre est majoritaire. Ils ont en général une
bonne résistance à la corrosion.
Les alliages de cuivre les plus courants sont :
Laiton : Cuivre + Zinc
Bronze: Cuivre + Etain
Curpo-Alu: Cuivre + Aluminium
Curpo-Nickel: Cuivre + Nickel
III. LES MATIERES PLASTIQUES :
1. Description :
Un plastique est un mélange dont le constituant de base est une résine, ou polymère, à laquelle on associe
des adjuvants (charges, renforts, plastifiants …) et des additifs (pigments et colorants, lubrifiants…). Il est
susceptible d'être moulé, façonné, en général à chaud et sous pression, afin de conduire à un semi-produit
ou à un objet.
2. Classification :
Pour l’utilisateur, les plastiques se classent en deux grandes catégories :
a. Les thermoplastiques :
Ce sont des matières plastiques qui, une fois chauffée, peuvent être déformées sans perdre leurs
propriétés.
Symbole Signification Nom commercial
PA6 Polyamide Nylon
PMMA Polyméthacrylate de méthyle Plexiglas
PVC Polychlorure de vinyle
b. Les thermodurcissables :
Ce sont des matières plastiques qui, une fois mises en forme, ne peuvent plus être déformées sous l’action
de la chaleur.
Symbole Signification Nom commercial
EP Epoxyde Araldite, Néonite,…
UP Polyester Rutapal, Norsodyne,…
c. Les élastomères :
Les élastomères sont des polymères à caractère amorphe ou cristallin présentant des propriétés
remarquables en élasticité, amortissement et étanchéité (air, eau).
Labo Génie Mécanique de Kélibia Page 22
04 FORMES GEOMETRIQUES
VOCABULAIRE TECHNIQUE :
Alésage Arbre Arrondi Bossage
Chambrage Chanfrein Collerette Collet
Congé Dégagement Embase Encoche
Entaille Epaulement Evidement Fraisure
Labo Génie Mécanique de Kélibia Page 23
Gorge Lamage Languette Lumière
Méplat Mortaise Nervure Queue d’aronde
Rainure Rainure de clavette Saignée Tenon
Téton Trou Trou oblong Vé
Labo Génie Mécanique de Kélibia Page 24
EXERCICE D’APLICATION :
Donner le nom de chacune des formes indiquées sur les dessins suivants :
…………… ……………
……………
……………
…………………………
……………
……………
……………
……………
……………………………………………………
……………
……………
Labo Génie Mécanique de Kélibia Page 25
05 LE SCHEMA CINEMATIQUE
I. MISE EN SITUATION :
1. Contact entre deux solides :
Le contact entre deux solides (pièces) différents crée une liaison mécanique entre ces deux éléments. En
fonction de la forme des surfaces mises en contact, on obtient différentes liaisons mécaniques
Contact ponctuel Contact linéique Contact surfacique
Il existe donc 6 mouvements élémentaires permettant de définir n’importe quelle combinaison de translation
et de rotation.
2. Degré de liberté :
Tout solide libre situé dans un espace a trois dimensions peut réaliser six (6)
mouvements différents.
Toute liaison entre deux solides limite certains mouvements relatifs à l’un des
solides par rapport à l’autre, chaque mouvement indépendant possible s’appelle
degré de liberté
II. MODELISATION DES LIAIONS :
1. Modèle cinématique:
Présente les mouvements possibles que peut tolérer une liaison entre deux solides S1 et S2
/
2. Modèle statique:
Présente les efforts transmissibles dans une liaison entre deux solides S1 et S2
/
Labo Génie Mécanique de Kélibia Page 26
III. LES LIAISONS MECANIQUES :
Degré de
liberté
Nom de la
liaison
Symbole
Représentation Cinematique statiqueReprésentation
plane
Perspective
…
… T
… R
Liaison
ponctuelle
…
…
				
…
…
				
…
…
…
…
				
…
…
				
…
…
…
… T
… R
Liaison
linéaire
rectiligne
…
…
				
…
…
				
…
…
…
…
				
…
…
				
…
…
…
… T
… R
Liaison
linéaire
annulaire
…
…
				
…
…
				
…
…
…
…
				
…
…
				
…
…
…
… T
… R
Liaison rotule
…
…
				
…
…
				
…
…
…
…
				
…
…
				
…
…
…
… T
… R
Liaison appui
plan
…
…
				
…
…
				
…
…
…
…
				
…
…
				
…
…
…
… T
… R
Liaison rotule
à doigt
…
…
				
…
…
				
…
…
…
…
				
…
…
				
…
…
…
… T
… R
Liaison pivot
glissant
…
…
				
…
…
				
…
…
…
…
				
…
…
				
…
…
…
… T
… R
Liaison
hélicoïdale
…
…
				
…
…
				
…
…
…
…
				
…
…
				
…
…
…
… T
… R
Liaison
glissière
…
…
				
…
…
				
…
…
…
…
				
…
…
				
…
…
…
… T
… R
Liaison pivot
…
…
				
…
…
				
…
…
…
…
				
…
…
				
…
…
…
… T
… R
Liaison
encastrement
…
…
				
…
…
				
…
…
…
…
				
…
…
				
…
…
Labo Génie Mécanique de Kélibia Page 27
III. PRESENTATION DU THEME D’ETUDE :
10 1 Noix Cu Sn8 P
9 1 Embout C 30
8 1 Manivelle C 30
7 1 Goupille S 275
6 1 Vis de manoeuvre C 35
5 1 Ressort
4 2 Rondelle C 30
3 1 Mors mobile EN-JM 1050
2 2 Machoire …………….
1 1 Mors fixe EN-JM 1050
REP QTT DESIGNATION MATIERE OBSERVATIONS
Echelle 1 : 5
1 2 3
7
6
5
8
10
4
9
2’
4’
Labo Génie Mécanique de Kélibia Page 28
1. Description:
Un étau est un dispositif mécanique qui permet la « mise en position » et
le « maintien en position » (serrage) d'une pièce.
En général, l'étau est composé d'une partie fixe (généralement liée au plan
de travail : établi, table de machine-outil…), d'une partie mobile, et d'un
système de serrage.
2. Fonctionnement:
Le plan (page 4) représente un étau d’établi que l'on fixe sur un établi par des boulons (système vis-écrou,
à négliger dans cette partie). La rotation de la vis de manoeuvre (6) commandée par la manivelle (8) assure
le déplacement du mors mobile (3) ce qui permet le serrage ou le desserrage de toute pièce placée entre les
deux machoires (2).
IV. MODELISATION STATIQUE ET CINEMATIQUE :
Compléter le tableau suivant :
Liaison Désignation Symbole Modèle cinematique Modèle statique
3 / 1
……………………
……………………
Mc3/1 =
…
…
…
…
…
…
Ms3/1 =
…
…
…
…
…
…
6 / 3
……………………
……………………
Mc6/3 =
…
…
…
…
…
…
Ms6/3 =
…
…
…
…
…
…
6 / 10
……………………
……………………
Mc6/10 =
…
…
…
…
…
…
Ms6/10 =
…
…
…
…
…
…
8 / 6
……………………
……………………
Mc8/6 =
…
…
…
…
…
…
Ms8/6 =
…
…
…
…
…
…
10 / 1
……………………
……………………
Mc10/1 =
…
…
…
…
…
…
Ms10/1 =
…
…
…
…
…
…
8 / 9
……………………
……………………
Mc8/9 =
…
…
…
…
…
…
Ms8/9 =
…
…
…
…
…
…
Labo Génie Mécanique de Kélibia Page 29
V. CLASSE D’EQUIVALENE CINEMATIQUE :
Définition:
Une Classe d'équivalence cinématique est l'ensemble des pièces qui ont le même mouvement pendant le
fonctionnement du mécanisme. On met dans une même classe d'équivalence cinématique toutes les pièces en
liaison encastrement les unes avec les autres (ou en liaison considérée comme étant un encastrement pendant
la phase de fonctionnement du système).
Pour modéliser un mécanisme, il faut exclure toutes les pièces dont la fonction est de se déformer (solides
déformables), comme les ressorts, les joints et roulements.
Déterminer les classes d’aquivalence et colorier les
éléments de chaque classe avec une couleur :
A = { 1, ……………………………………………… }
B = { 3, ……………………………………………… }
C = { 6, ……………………………………………… }
D = { 8, ……………………………………………… }
Remarque :
……………………………………………………………………………………………………………………………….………
……………………………………………………………………………………………………………………………….………
VI. GRAPHE DES LIAISONS :
Définition:
Un graphe des liaisons est une représentation plane qui définit les liaisons mécaniques reliant les classes
d’équivalence deux à deux.
Terminer le graphe des liaisons du système :
…………………………………………………
…………………………………………………
…………………………………………………
…………………………………………………
…………………………………………………
A
C
BD
Labo Génie Mécanique de Kélibia Page 30
VII. SCHEMA CINEMATIQUE :
Définition :
Un schéma cinématique a pour but de représenter un mécanisme sous forme schématique en faisant apparaître
seulement les mouvements relatifs possibles des différents ensembles de pièces qui le constitue.
Terminer le schéma cinématique du système :
VIII. ETUDE D’UNE SOLUTION CONSTRUCTIVE :
En se reférant au dessin d’ensemble et du mécanisme réel.
La liaison entre le mors fixe (1) et la machoire (2) est :
Complète Partielle
Directe Indirecte
Démontable Indémontable
Par obstacle Par adhérence
Donner le nom de cette liaison : ……………………………………………………………..
Dessiner à l’échelle 2 : 1 l’assemblage des pièces (1) et (2) par une vis de fixation FS M5-30 :
1 2
… …
……
Labo Génie Mécanique de Kélibia Page 31
IX. EXERCICE D’APPLICATION : MEULE MANUELLE
Labo Génie Mécanique de Kélibia Page 32
Définition :
La meule manuelle se fixe sur un établie. Elle sert à affuter des outils de
coupe.
La meule (14) serrée sur l’axe (3) est entraînée en rotation par la main à
l’aide de la poignée (7), l’axe (8) et la manivelle (2).
Lecture de dessin :
Repérer sur la vue en perspective éclatée les pièces constitutives de la
meule en suivant la nomenclature fournie au cartouche du dessin
d’ensemble.
…..
.
…..
.
…..
.
…..
.
…..
.
…..
.
…..
.
…..
.
…..
.
…..
.
…..
.
…..
.
…..
.
Labo Génie Mécanique de Kélibia Page 33
Etude des liaisons mécaniques :
Compléter les classes d’équivalence cinématique A et B.
A = { 1, …………..…… } ; B = { 2, …………………..…..…… } ; C= { 7 } ; D= { 11 } ; E= { 12 } ; F= { 13 }
Remplir le graphe des liaisons en inscrivant les liaisons entre les différentes classes d’équivalence :
□ …… : …………………………………………… □ …… : ……………………………………………
□ …… : …………………………………………… □ …… : ……………………………………………
□ …… : …………………………………………… □ …… : ……………………………………………
Compléter le schéma cinématique et repérer les blocs de pièces cinématiquement liées :
EF A
D CB
….
..
….
..
….
..
….
..
….
..
…
…
…
…
…
…
Labo Génie Mécanique de Kélibia Page 34
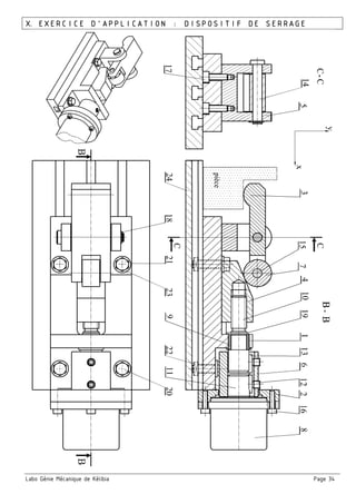
X. EXERCICE D’APPLICATION : DISPOSITIF DE SERRAGE
Labo Génie Mécanique de Kélibia Page 35
Bride
Cale oblique
Moteur
Support
Présentation du système :
Ce mécanisme permet la fixation des pièces lors d’une opération d’usinage sur des machines – outils.
Fonctionnement du système:
L’alimentation du moteur entraine la rotation de la vis de manœuvre (10) ce qui provoque le déplacement de
la cale oblique (4) permettant le serrage de la pièce par pivotement de la bride (3).
1. Compléter le modèle fonctionnel du système
1. Compléter le schéma cinématique minimal du système
La liaison (5 + 1) est une liaison encastrement :
2. Quels sont les éléments qui assurent cette liaison ? ………..……….………………………………………………
3. dans quelle vue peut-on identifier clairement ces éléments ? ………….....…...……………………….……………
4. La liaison est-elle ?
Démontable non démontable
Par obstacle par adhérence
……………………..……
………………………….
………..…… ……………..
……………………..…… ……………………..……
…………………………………..……
A-0
……………
…
.…
.
…
.
….
…
.
…
.pièce
Labo Génie Mécanique de Kélibia Page 36
06 LA SOLUTION ENCASTREMENT
I. MISE EN SITUATION :
La liaison encastrement ne laisse subsister aucun degré de liberté. On parle aussi de liaison complète.
Des adjectifs permettent d’affiner la classification. Ainsi une liaison encastrement peut être caractérisée de
:
Liaison encastrement permanente :
Les deux pièces ne peuvent être séparées sans en détériorer au moins l’une d’entre-elle.
Liaison encastrement démontable :
Les deux pièces ne peuvent être montées et démontées à volonté.
Réaliser une liaison encastrement consiste à …….…………
deux ou plusieurs pièces l’une par rapport l’autre.
Solution démontable Solution permanente
démontable
Il est possible de supprimer
la liaison sans détériorer
les pièces ou les éléments
liés
oui non
LIAISON
ENCASTREMENT
Les deux pièces ne peuvent
être démontées sans en
détériorer l’une d’entre
elles au moins.
LIAISON ENSASTREMENT
Complète
Aucune
liberté de
déplacement.
Partielle
Il reste une
liberté de
déplacement
en rotation
ou en
translation.
Rigide
La position
des pièces
liées varie au
cours du
temps.
Elastique
La position
des pièces
liées est
invariable au
cours du
temps.
Permanente
Impossible de
séparer sans
détruire l'une
des pièces.
Démontable
Les deux
pièces
peuvent être
séparées ou
unies à
volonté.
Indirecte
La liaison
s’obtient en
ajoutant une
ou plusieurs
pièces
intermédiaires
Directe
La liaison
s’obtient par
les formes
des pièces
elles-mêmes.
Labo Génie Mécanique de Kélibia Page 37
II. ASSEMBLAGE PAR ELEMENTS FILETES :
Par vis d’assemblage :
La pièce (2) seule possède un trou taraudé
recevant la partie filetée de la vis. Les autres
pièces possèdent un trou lisse.
Par vis de pression :
L’effort de serrage nécessaire à liaison fixe est
exercé par l’extrémité de la vis de pression (3).
Par boulon :
Un boulon = vis + écrou
Toutes les pièces à assembler possèdent un trou
lisse
Par goujons :
Il est composé d’une tige, filetée à ses deux
extrémités séparées par une partie lisse. Le goujon
(4) est implanté dans la pièce (5) possédant un trou
taraudé. Les autres pièces possèdent un trou lisse
Labo Génie Mécanique de Kélibia Page 38
III. EXERCICES D’APPLICATION :
Exercice 01: Montage dans un trou taraudé débouchant
Compléter la représentation de la liaison encastrement entre (1) et (2) par une vis H M…… -……
Exercice 02: Montage dans un trou taraudé débouchant
Compléter la représentation de la liaison encastrement entre (1) et (2) par une vis CHC M…… - ……
1 2
1 2
Labo Génie Mécanique de Kélibia Page 39
Exercice 04: Liaison complète par pincement
A gauche de l’axe
Mettre en place la vis H, M12 agissant sur le chapeau (3), permettant ainsi
la liaison complète entre (1) et (2)
A droite de l’axe
Représenter en vue extérieure les usinages nécessaires pour le montage de
la vis.
Prendre des cotes sur le dessin, à gauche de l’axe
Exercice 05:
Terminer sur chacun des figures suivantes, le dessin de la liaison encastrement entre la poulie (3) et l’arbre
(1) en utilisant les éléments suivants :
(4) : Goupille élastique 8x45 (5) : Vis de pression HC M8-20
Labo Génie Mécanique de Kélibia Page 40
(6) : Clavette parallèle forme A, 6 x 6 x20
(7) : Anneau élastique pour arbre 22 x 1,2
7
6
32
1
C
(6) : Clavette parallèle forme A, 6 x 6 x20
(7) : (8) écrou H, M 16
(9) rondelle, W16
(6) : Clavette parallèle forme A, 6 x 6 x20
(10) : Vis de serrage H, M 10-22
(11) : Rondelle LL 10
(14) clavette disque, 5 x 6.5
(12) écrou KM 20
(13) rondelle frein MB 20
Labo Génie Mécanique de Kélibia Page 41
07 TOLERANCES DIMENSIONNELLES
I. MISE EN SITUATION :
Compte tenu du processus de fabrication choisi et des machines utilisées, une cote réelle mesurant l’une des
dimensions d’un objet ne peut être exactement la même que celle indiquée sur le dessin de définition.
Il est impossible de fabriquer une série d’objets identiques ayant toujours les mêmes dimensions.
Mesurer une grandeur, c'est la comparer à une autre de même espèce prise comme unité, une mesure n'est
jamais exacte, elle est toujours établit par comparaison avec une autre dite étalon de mesure.
Le contrôle dimensionnel s'applique en particulier en construction mécanique et le mesurage se rapporte
généralement à celui des dimensions linéaires et angulaires des pièces mécaniques.
L'impossibilité de précision des procédés d'usinage fait qu'une pièce ne peut être réalisée de façon
rigoureusement conforme aux dimensions fixées au préalable. Le contrôle nous permet de s'assurer que les
dimensions des valeurs réelles sont comprises entre deux limites (compatibles avec un fonctionnement correct
de la pièce) définies par la tolérance : IT = Cmax - Cmin
II. NORMALISATION DES TOLERANCES :
Le système ISO définit un ensemble de tolérances concernant la taille linéaire d’un élément c-à-d :
□ Le diamètre d’un cylindre.
□ Le diamètre d’une sphère.
□ La distance entre deux surfaces planes parallèles.
Les termes alésage et arbre désignent également l’espace contenant et l’espace contenu compris entre
deux surfaces planes parallèles d’une pièce quelconque : largeur de rainure, épaisseur de clavette…
IT (tolérance)
Cote minimale
Cote maximale
……………….
……………….
Labo Génie Mécanique de Kélibia Page 42
Eléments Intervalle de tolérance Ecart supérieur Ecart inférieur
ALESAGE IT = Es - Ei Es = Cmax - Cnom Ei = Cmin - Cnom
arbre IT = es - ei es = cmax - cnom ei = cmin - Cnom
▻ Conventionnellement, écrire les valeurs : ALESAGE en majuscules arbre en minuscules
Pour chaque cote nominale, il est prévu toute une gamme de tolérances :
Degré de la tolérance (en µm)
Alésages : positions schématisées des tolérances
Arbres : positions schématisées des tolérances
ligne
zéro
Ecarts
(+)
Ecarts
(-)…………..…
…………..…
…………..…
…..…
…..…
…..…
……………….
………..…
…………..…
…..…
…..…
…..…
……………….
16 H 8
Dimension
nominale
Degré de la tolérance
Position de l’intervalle
de tolérance.
Labo Génie Mécanique de Kélibia Page 43
III. LES AJUSTEMENTS :
Un ajustement est l'assemblage de deux pièces (alésage & arbre) de même cote nominale au moyen d'une
liaison qui permet ou non le mouvement relatif de l'une par rapport à l'autre.
▻ Pour qu'il y ait ajustement, il faut que l'une des pièces pénètre dans l'autre.
Exemple : Chape de frein arrière
L’ajustement entre la chape et la biellette à l’écriture suivante :
……….………….… ….…………… ……………...
……….………….… ….…………… ……………...
ALESAGE arbre
Elément ……………..… ……………..…
Désignation ……………..… ……………..…
biellette
axe
chape
20 H8 e7
Cote nominale commune Tolérance
ARBRE
Tolérance
ALESAGE
…………….
………..
………..
Labo Génie Mécanique de Kélibia Page 44
Principaux ajustements:
* Utiliser de préférence les qualités teintées
Principaux écarts des alésages: Les valeurs sont exprimées en micromètres 1µm = 0.001mm
JS = ± IT/2 (voir tableau : degré de la tolérance p.2) * Utiliser de préférence les qualités teintées
Labo Génie Mécanique de Kélibia Page 45
Principaux écarts des alésages: Les valeurs sont exprimées en micromètres 1µm = 0.001mm
js = ± IT/2 (voir tableau : degré de la tolérance p.2) * Utiliser de préférence les qualités teintées
Labo Génie Mécanique de Kélibia Page 46
D’après les tableaux des principaux écarts on peut exploiter :
Tolérance
normalisée
Cote
nominale
Ecarts IT (mm)
Tolérance
chiffrée
Cote
maximale
Cote
minimale
ALSAGE ….….…… ….….…
……
……
Es = ……… = …………
….….…
.........
.........
.......
….….… ….….…
Ei = ……… = …………
arbre ….….…… ….….…
……
……
es = ……… = …………
….….…
.........
.........
.......
….….… ….….…
ei = ……… = …………
IV. NATURE D’UN AJUSTEMENT :
1. Ajustement avec jeu: exemple (H8 / f7)
On donne l’ajustement ∅12H8f7
Compléter le tableau suivant :
ALESAGE arbre
Tolérance normalisée ….….…… ….….……
Ecart supérieur (mm) ….….…… ….….……
Ecart inférieur (mm) ….….…… ….….……
Tolérance chiffrée
.........
.........
.......
.........
.........
.......
Intervalle de tolérance (mm) ….….…… ….….……
Cote maximale (mm) ….….…… ….….……
Cote minimale (mm) ….….…… ….….……
Positionner les IT par rapport à la ligne « zéro » (ligne des écarts nuls)
▻ Les I.T ….…………………………..……
▻ Cote (alésage) toujours .………….… à Cote (arbre)
Ajustement ….…………………………..…
10 --
20 --
30 --
40 --
-40 --
-30 --
-20 --
-10 --
Ligne
zéro
Labo Génie Mécanique de Kélibia Page 47
Calculer les jeux possibles :
Jeu max = ………...… - …….……..…
= ……. - ……. = ………….
Jeu min = ………...… - ……..……..…
= ……. - ……. = ………….
IT jeu = ……….…… - …….…………
= ……….… - ……….…
= ………………….
Pour vérification :
IT jeu = ……….…… + …….…………
= ……….… + ……….…
= ………………….
2. Ajustement avec serrage: exemple (H7 / p6)
On donne l’ajustement ∅20H7p6
Compléter le tableau suivant :
ALESAGE arbre
Tolérance normalisée ….….…… ….….……
Ecart supérieur (mm) ….….…… ….….……
Ecart inférieur (mm) ….….…… ….….……
Tolérance chiffrée
.........
.........
.......
.........
.........
.......
Intervalle de tolérance (mm) ….….…… ….….……
Cote maximale (mm) ….….…… ….….……
Cote minimale (mm) ….….…… ….….……
Positionner les IT par rapport à la ligne « zéro » (ligne des écarts nuls)
▻ Les I.T ….…………………………..……
▻ Cote (alésage) toujours .………….… à Cote (arbre)
Ajustement ….…………………………..…
……………...……
…………...…..
………..…
…………..…
………………..
.
………………..
.
10 --
20 --
30 --
40 --
-40 --
-30 --
-20 --
-10 --
Ligne
zéro
Labo Génie Mécanique de Kélibia Page 48
Calculer les serrages possibles :
Serrage max = …………. - ………………
= ….…. - ……. = ….....….
Serrage min = ……..……. - …………..…
= ….…. - ……. = ….....….
IT serrage = ………..….… - ……….……
= ….…. - ……. = ….....….
Pour vérification :
IT serrage = ………….… + ………………
= ….…. + ……. = ….....….
3. Ajustement incertain: exemple (H7 / js6)
On donne l’ajustement 24H7js6
Compléter le tableau suivant :
ALESAGE arbre
Tolérance normalisée ….….…… ….….……
Ecart supérieur (mm) ….….…… ….….……
Ecart inférieur (mm) ….….…… ….….……
Tolérance chiffrée
.........
.........
.......
.........
.........
.......
Intervalle de tolérance (mm) ….….…… ….….……
Cote maximale (mm) ….….…… ….….……
Cote minimale (mm) ….….…… ….….……
Positionner les IT par rapport à la ligne « zéro » (ligne des écarts nuls)
▻ Les I.T ….…………………………..……
▻ L’ajustement obtenu sera
□ soit ….………………………
□ soit ….………………………
Ajustement ….…………………………..…
……………...……
…………...…..
………..…
…………..…
………………..
.
………………..
.
10 --
20 --
30 --
40 --
-40 --
-30 --
-20 --
-10 --
Ligne
zéro
Labo Génie Mécanique de Kélibia Page 49
Calculer les jeux / serrages possibles :
Jeu max = ……..……. - ……..………
= ….…. - ……. = ….....….
Serrage max = ………..…. - ..………...…
= ….…. - ……. = ….....….
V. AJUSTEMENT NORMALISES USUELSS :
Le choix d'un ajustement se fait en fonction du jeu ou du serrage désiré, et en fonction du type de
mécanisme dans lequel il est utilisé.
Remarques :
□ Système de l’alésage normal : on conserve la même position H de la zone de tolérance de
l’alésage.
□ On associe habituellement un alésage de qualité de tolérance donnée avec un arbre de qualité de
tolérance voisine inférieure.
Exemples : H6 k…. ou D8 p….
Type Observations
Arbre
Alésage
H6 H7 H8 H9 H11
Piècesmobiles
Jeu
Jeu élevé
Pièce dont le fonctionnement nécessite un grand jeu (dilatation, mauvais
alignement, portées très longues, etc.)
c 9 11
d 9 11
Jeu moyen
Cas ordinaire des pièces tournant ou glissant dans une bague ou palier (bon
graissage assuré)
e 7 8 9
f 6 6-7 7
Jeu faible Pièce avec guidage précis pour mouvement de faible amplitude g 5 6
Piècesimmobiles
Ajusté
Démontage et remontage
possible sans
détérioration des pièces
L'ajustement ne
peut pas
transmettre
d'effort
Mise en place possible à la
main
h 5 6 7 8
Incertain
Très ajusté js 5 6
Peu serré Mise en place au maillet
k 5
m 7
Serrage
Serré
Démontage impossible sans
détérioration des pièces
L'ajustement peut
transmettre des
efforts
Mise en place à la presse p 6
Serré fort
Mise en place à la presse
lourde ou par dilatation
(frettage)
s 7
u 7
x 7
z 7
A retenir :
Pièces mobiles
l’une par rapport à l’autre
Guidage avec jeu H8 / f7
Guidage précis H7 / g6
Pièces immobiles
l’une par rapport à l’autre
Assemblage à la main H7 / h6
Assemblage au maillet H8 / m7
Assemblage à la presse H8 / p6
………..…
………..
…..…
……...
……………...
……………...
Labo Génie Mécanique de Kélibia Page 50
VI. EXERCICE D’APPLICATION :
Liaison entre un piston et une bielle.
Liaison bielle / axe:
Donner la désignation de l’ajustement : ….………………………..……
Positionner les IT par rapport à la ligne zéro :
Quelle est la nature de l’ajustement :
Ajustement ….…………………………..…
Calculer l’intervalle de tolérance
▻ …….… max = ……….…… - …….………… = ……….………………………… = ……………..…….
▻ ….…… min = ……….…… - …….………… = ……….………………………… = ……………..…….
IT …....… = ……….…… - …….………… = ……….………………………… = ……………..…….
□ Vérification de l’IT : …...……………………………….….………………………………………..…….
ALESAGE arbre
Tolérance normalisée ….….…… ….….……
Ecart supérieur (mm) ….….…… ….….……
Ecart inférieur (mm) ….….…… ….….……
Tolérance chiffrée
.........
.........
.......
.........
.........
.......
Intervalle de tolérance (mm) ….….…… ….….……
Cote maximale (mm) ….….…… ….….……
Cote minimale (mm) ….….…… ….….……
piston
axe
bielle
∅12H6p6∅12F7f7
10 --
20 --
30 --
Ecarts (µm)
-30 --
-20 --
-10 --
Ligne
zéro
Labo Génie Mécanique de Kélibia Page 51
VI. EXERCICE D’APPLICATION : VERIN DE SERRAGE
Mise en situation :
Ce vérin de serrage permet d'obtenir à l'aide d'huile sous pression le serrage de pièce par l'extrémité du
piston 2.
7 1 Anneau élastique pour alésage
6 1 Coussinet
5 1 Ressort C 60
4 1 Joint d’étanchéité
3 1 Chapeau A-U 8S
2 1 Piston C 35
1 1 Corps A-U 8S
REP. QTT. DESIGNATION MATIERE OBSERVATIONS
Q1. Sachant que l'huile arrive par l'orifice A, colorier en rouge le volume occupé par l'huile dans la position
du dessin d'ensemble.
Q2. Reporter sur les dessins de définition des pièces 1, 2, 3 et 6 les cotes tolérancées relatives aux
ajustements.
Labo Génie Mécanique de Kélibia Page 52
Q3. Le coussinet 6 permet de réduire les frottements entre le piston 2 et le chapeau 3. D’après les
ajustements, ce coussinet est-il monté serrer sur la pièce 2 ou la pièce 3 ?
Ajustement coussinet (6) / piston (2) : ….………………………..……
Ajustement ….…………………………..…
Calculer l’intervalle de tolérance
▻ …….… max = ……….…… - …….………… = ……….………………………… = ……………..…….
▻ ….…… min = ……….…… - …….………… = ……….………………………… = ……………..…….
IT …....… = ……….…… - …….………… = ……….………………………… = ……………..…….
□ Vérification de l’IT : …...……………………………….….………………………………………..…….
Ajustement coussinet (6) / chapeau (3) : ….………………………..……
Ajustement ….…………………………..…
Calculer l’intervalle de tolérance
▻ …….… max = ……….…… - …….………… = ……….………………………… = ……………..…….
▻ ….…… min = ……….…… - …….………… = ……….………………………… = ……………..…….
IT …....… = ……….…… - …….………… = ……….………………………… = ……………..…….
□ Vérification de l’IT : …...……………………………….….………………………………………..…….
Réponse :
▻
…...…………………………………………………………………………….….………………………………………..…………..
.
ALESAGE arbre
Elément ….….…… ….….……
Tolérance normalisée ….….…… ….….……
Ecart supérieur (mm) ….….…… ….….……
Ecart inférieur (mm) ….….…… ….….……
Tolérance chiffrée
.........
.........
.......
.........
.........
.......
Intervalle de tolérance (mm) ….….…… ….….……
Cote maximale (mm) ….….…… ….….……
Cote minimale (mm) ….….…… ….….……
ALESAGE arbre
Elément ….….…… ….….……
Tolérance normalisée ….….…… ….….……
Ecart supérieur (mm) ….….…… ….….……
Ecart inférieur (mm) ….….…… ….….……
Tolérance chiffrée
.........
.........
.......
.........
.........
.......
Intervalle de tolérance (mm) ….….…… ….….……
Cote maximale (mm) ….….…… ….….……
Cote minimale (mm) ….….…… ….….……
10 --
20 --
30 --
Ecarts (µm)
-30 --
-20 --
-10 --
Ligne
zéro
10 --
20 --
30 --
Ecarts (µm)
-30 --
-20 --
-10 --
Ligne
zéro
Labo Génie Mécanique de Kélibia Page 53
08 TOLERANCES GEOMETRIQUES
I. MISE EN SITUATION :
L’imperfection des procédés d’usinage fait qu’il est impossible d’obtenir des surfaces géométriquement
parfaites.
x
point ligne cercle plan cylindre sphère
x
Les tolérances dimensionnelles usuelles (ajustements, …) ne suffisent pas pour définir avec exactitude la
forme géométrique d’un objet. Les tolérances géométriques permettent de corriger ces insuffisances et
précisent les variations permises.
II. INTRODUCTION :
Il existe trois grands types de tolérances géométriques :
□ Tolérances de forme :
Les tolérances de forme, sous forme d’éléments géométriques de base s’appliquent à l’élément lui-même
(ligne ou surface) indépendamment de la position et de l’orientation.
□ Tolérances d’orientation :
Les tolérances d’orientation associent deux éléments entre eux uniquement par l’angle défini et par leur
direction. Cela concerne l’orientation des éléments les uns par rapport aux autres.
□ Tolérances de position :
La tolérance de position définit une zone de tolérance dans une position fixée par des cotes encadrées par
rapport à un ou plusieurs éléments de référence. C’est leur positionnement dans l’espace.
Modèle de peau:
représentation imagée du produit avec
des défauts possibles.
Labo Génie Mécanique de Kélibia Page 54
III. INSCRIPTION DES TOLERANCES :
La forme à coter est repérée par une flèche.
Les tolérances s’inscrivent dans un cadre pouvant avoir 2 ou 3 cases (parfois plus). Dans ces cases sont
inscrites dans l’ordre :
□ Le symbole du défaut géométrique à coter.
□ La valeur de la tolérance (I.T) en mm.
□ La lettre majuscule repérant le ou les éléments de référence (si nécessaire).
L’élément de référence se repère par une lettre majuscule inscrite dans un
carré relié à un triangle noirci dont la base touche l’élément de référence.
Lorsque l’élément de référence est proche du cadre de la tolérance, il est
possible de les relier directement.
IV. INDICATION D’UN ELEMENT :
Surfaces / lignes Axe de la pièce
Grand cylindre Axe du grand / petit cylindre Plan médian de la pièce
A
 0,1
………………………………..………….
 0,1 A
………………………………..………….
………………………………..………….
Labo Génie Mécanique de Kélibia Page 55
V. TOLERANCES GEOMETRIQUES:
1. Tolérances de forme :
SYMBOLE EXEMPLE SIGNIFICATION

Planéité

Rectitude

Circularité

Cylindricité
2. Tolérances d’orientation :
SYMBOLE EXEMPLE SIGNIFICATION

Parallélisme
Labo Génie Mécanique de Kélibia Page 56

Perpendicularité

Inclinaison
3. Tolérances de position :
SYMBOLE EXEMPLE SIGNIFICATION

Coaxialité

Symétrie

Localisation
Labo Génie Mécanique de Kélibia Page 57
4. Tolérances de battement :
La tolérance de battement s’applique aux pièces de révolution en traduisant directement le défaut maximal
admissible lors de la rotation de la pièce. Le battement peut être mesuré suivant :
□ La même direction que l’axe de rotation : Battement Axial.
□ Perpendiculairement à l’axe de rotation : Battement Radial.
SYMBOLE EXEMPLE SIGNIFICATION

Battement
simple
radialaxialoblique
VI. EXERCICE D’APPLICATION :
* Inscrire dans les cadres les tolérances géométriques permettant d’assurer les conditions de fonctionnement :
□ Elément de référence : Axe du cylindre (A).
□ Le plan médian de rainure de clavette est symétrique par rapport au plan médian de (A) … IT = 0,04
□ L’extrémité de la pièce est perpendiculaire par rapport à l’axe du cylindre (A) ……………… IT = 0,1
□ Les deux alésages sont coaxiaux ………………………………………………………………………… IT = ∅0,2
□ L’alésage est circulaire …………………………………………………………………………..………… IT = 0,01
□ Le taraudage est perpendiculaire par rapport à l’axe du cylindre (A) …………………………… IT = 0,2
Labo Génie Mécanique de Kélibia Page 58
* Vérin pneumatique à simple effet :
Inscrire dans les cadres les tolérances géométriques permettant d’assurer les conditions de fonctionnement
données.
Chape (1) :
□ Elément de référence : Axe du cylindre (A)
□ La mortaise est parallèle à l’axe du cylindre (A) avec IT= 0,1/100
□ L’alésage coté ∅ est perpendiculaire à l’axe du cylindre (A) avec IT= 0,05
□ La surface plane est perpendiculaire à l’axe du cylindre (A) avec IT= 0,05
Piston (3) :
□ Elément de référence : Axe de l’alésage (B)
□ Les cylindres cotés ∅ sont coaxiaux à l’alésage de
référence (B) avec IT= ∅0,05
Cylindre (4) :
□ Elément de référence : Axe du cylindre (D)
□ L’alésage est circulaire avec IT= 0,01
□ L’extrémité de la pièce est perpendiculaire à l’axe du cylindre
(A) avec IT= 0,01
1 2 3 4
Labo Génie Mécanique de Kélibia Page 59
VII. ETATS DE SURFACE :
Une surface usinée n’est jamais parfaitement lisse. Elle comporte
des aspérités plus ou moins profondes dues aux moyens d’usinage.
Si l’on coupe normalement une surface par un plan, on obtient une
courbe appelée « profil de surface ».
C’est à partir de ce profil que l’on analyse les différents défauts de
la surface.
1. Rugosité Ra :
L’écart moyen arithmétique de rugosité est la mesure
arithmétique, calculée sur la longueur d’évaluation L de
tous les écarts Y1, Y2, Y3, …, Yn
| | | | | | ⋯ | |
n
2. Valeurs usuelles :
Les valeurs usuelles de Ra en fonction de l’état de surface à titre indicatif
Ra
Surface
0,025 0,05 0,1 0,2 0,4 0,8 1,6 3,2 6,3 12,5 25
Très lisse x x x x
Lisse x x x
Moyenne x x
Rugueuse x x
3. Symboles d’indication :
Le symbole de base est constitué de deux branches de longueurs inégales, inclinées de 60°
environ, comme l'indique la figure ci-contre.
Remarque : pris individuellement, ce symbole indique que l'état de la surface repérée est
pris en considération, sans pour autant avoir d'exigence particulière concernant la rugosité.
Labo Génie Mécanique de Kélibia Page 60
a. Symbole utilisé lorsqu' un enlèvement de matière par usinage est exigé :
Si un enlèvement de matière par usinage est exigé, un trait doit être ajouté au symbole de
base.
Remarque : pris individuellement, ce symbole indique que la surface repérée doit être usinée,
sans pour autant avoir d'exigence particulière concernant la rugosité.
b. Symbole utilisé lorsqu'un enlèvement de matière est interdit :
Lorsqu'un enlèvement de matière est interdit, un cercle doit être ajouté au symbole de
base.
Remarque : utilisé sur un dessin d'opération, le symbole indique que la surface repérée doit
rester en l'état (au stade précédent de la fabrication).
c. Symbole utilisé pour écrire des caractéristiques complémentaires :
S'il est nécessaire de fournir des caractéristiques ou des valeurs concernant la
surface, le symbole de base doit être complété par un trait horizontal supplémentaire
destiné à recevoir les indications.
d. Symbole utilisé pour coter en même temps toutes les surfaces d'une même pièce :
Si un même état de surface est exigé pour toutes les surfaces d'une même pièce, il
suffit d'ajouter un cercle au symbole précédent.
4. Exemples d'indications :
L’enlèvement de matière par usinage est : Observations
facultatif obligatoire interdit
Surface avec rugosité Ra max de 3,2µm
Surface avec rugosité Ra maxi de 3,2µm
et Ra min de 1,6µm
5. Positions du symbole :
Les symboles de base, ou les lignes de repère, sont tracés du
côté libre de matière. Les inscriptions doivent être orientées pour
être lues depuis le bas ou depuis la droite du dessin.
Labo Génie Mécanique de Kélibia Page 61
09 STATIQUE GRAPHIQUE
I. MISE EN SITUATION :
La statique est l’étude de l’équilibre des solides.
Principe Fondamental de la Statique (P.F.S) :
Un système matériel est en équilibre lorsque
∑ 0" Théorème de la résultante statique
∑ "" #( ) 0" Théorème du moment statique
Système matériel :
Un système matériel est un solide ou un ensemble de solides considérés comme indéformables.
Force &"" '() :
Une force extérieure est l’action mécanique exercée par un système matériel sur un autre système matériel.
On représente une force par un vecteur caractérisé par :
□ Un point d’application
□ Une direction
□ Un sens
□ Une intensité (unité : N)
Une action mécanique peut s’exercer :
■ de contact
ponctuel linéaire superficiel
■ à distance
- action de la terre (poids) * +. -
- action d’un aimant (champs magnétique)
Labo Génie Mécanique de Kélibia Page 62
Moment d’une force .""" /(&"" ) :
Le moment d’une force par rapport au point A est une action
mécanique qui possède les caractéristiques suivantes :
□ Point d’application : A
□ Direction : perpendiculaire au plan formé par A et
□ Sens : (vois schéma)
□ Intensité : ./0&"" 1 2. 3&"" 3 (unité : Nm)
Bilan des actions mécaniques extérieures :
Isoler un solide consiste à le séparer du reste du mécanisme afin d’effectuer le bilan des actions mécaniques
qui lui sont appliquées par l’extérieur.
II. PRESENTATION DU THEME D’ETUDE :
Description :
Le mécanisme représenté sur le dessin ci-contre
est une bride à serrage manuel.
Fonctionnement :
La pièce à usiner (6), en appui sur le bâti (1) est
serrée en C par la bride (2).
La bride (2) est articulée en B sur le bâti (1).
L’effort de serrage est fourni par le boulon à
oeil (4+5) articulé en A sur la bride (2).
L’action exercée par l’écrou (5) sur la vis (4) est
modélisée par une force verticale dans l’axe de
la vis telle que 3 3	 	300	5 (voir schéma)
Hypothèses :
■ Le mécanisme est représenté dans son plan de symétrie (6, 8, 9)
■ Les actions à distance (poids propres des pièces) sont négligées.
■ La liaison en C est une liaison ponctuelle de normale (C, 9)
■ Les liaisons sont considérées comme parfaites (pas de jeu, pas de frottements…)
Travail demandé:
Etudier l’équilibre de la bride (2).
&""
Labo Génie Mécanique de Kélibia Page 63
III. SOLIDE SOUMIS A L’ACTION DE DEUX FORCES :
Dans cette partie, on va isoler la vis (4) afin d’étudier son équilibre
1. Isolement:
La vis étant soumise à l’action de
□ La force verticale en D
□ Une force : /; en A
Bilan des actions
D Vertical 300 N
: /; A ……… ……… ………
1. Principe fondamental de la statistique (P.F.S):
La vis (4) est en équilibre lorsque
∑ 0" 	: /; 	0" (1)
∑ "" <$ % 0" "" =$ % 	 "" =(: /;) 	0" (2)
Etude de l’équation (1) :
Proj (A, 8) 0 + 3: /;3. >?	(@) = 0 >?	(@) = 0 (3)
Proj (A, 9) 3 3 - 3: /;3. A 	(@) = 0 A 	(@) > 0 (4)
Etude de l’équation (2), le calcul du moment s’effectue par rapport au point A :
Proj (A, B) 0 + 3	 "" #(: /;)3 = 0 (5)
(3) & (4) 	@ = 0 : /; est opposée à
(5) La direction de : /; passe par le point A
Donc : /; et sont directement opposées et 3: /;3 300	5
Pour qu’un système matériel soumis à deux forces soit en équilibre,
Il faut que ces deux forces soient :
□ de même direction
□ de sens opposés
□ de même intensité
&""
/"" C/D
α
Labo Génie Mécanique de Kélibia Page 64
IV. SOLIDE SOUMIS A L’ACTION DE TROIS FORCES PARALLELES :
Dans cette partie, on va isoler la bride (2) afin d’étudier son équilibre
1. Isolement:
La bride étant soumise à l’action de
□ La force verticale :;/ en A
□ La force verticale EF/ en A
□ Une force 6" / en A
Bilan des actions
:;/ A Verticale 300 N
EF/ C Verticale ………
6" / B ……… ……… ………
2. Principe fondamental de la statistique (P.F.S):
La vis (4) est en équilibre lorsque
∑ = 0" :;/ + 6" / + EF/ = 0" (1)
∑ "" <( ) = 0" "" =(:;/ ) + "" =(6" / ) + "" =(EF/ ) = 0" (2)
Etude de l’équation (1) :
Proj (O, 8) …………………………………………………………………………...…….
Proj (O, 9) …………………………………………………………………………...…….
Etude de l’équation (2), le calcul du moment s’effectue par rapport au point B :
Proj (A, B) …………………………………………………………………………...…….
……………………………………………………..………………………………….…………………………...…….
………………………………………………...……………………………………….……………………………...…
……………………………………………………..……………………………………….……………………...…….
……………………………………………………..……………………………………….……………………...…….
………………………………………………...……………………………………………….……………………...…
3 :;/ 3 = ……………… 36" F/ 3 = ……………… 3EF/ 3 = ………………
α
:;/
6" /
EF/
8
9
52 40
+
Labo Génie Mécanique de Kélibia Page 65
3. Résolution graphique:
Pour résoudre graphiquement ce problème, on utilise la technique du « polygone funiculaire » qu’on admettra
le tracé sans chercher à le justifier
Pour qu’un système matériel soumis à trois forces dont deux parmi eux sont
parallèles soit en équilibre,
Il faut que la troisième force soit parallèle aux autres :
Démarche à suivre :
□ Tracer la force 6′""" 	//	6"
□ Choisir arbitrairement un pole (H)
□ Tracer deux lignes polaires 0 et 1
□ Choisir un point ≪ + ≫ quelconque sur la direction de la force B
□ Mener une droite 0L
	//	0 qui coupe la direction de E en un point
□ Mener une droite 1L
	//	1 qui coupe la direction de : en un point M
□ Tracer la ligne	M de fermeture du funiculaire.
□ Mener une droite M′NL
	//	MN qui passe par (H)
□ Déduire le résultat en fermant le dynamique.
Ech 1 mm -----> 10 N
:;/ …… mm -----> …… N
6" / …… mm -----> …… N
EF/ …… mm -----> …… N
:;/
EF/
EF/
DynamiqueFuniculaire
Labo Génie Mécanique de Kélibia Page 66
:;/
6" /
50
50
V. SOLIDE SOUMIS A L’ACTION DE TROIS FORCES NON PARALLELES :
Description :
Le mécanisme représenté sur le dessin ci-contre est un
dispositif de blocage manuel.
Fonctionnement :
Un dispositif de blocage est constitué par une bride coudée
(1), articulée sur un axe (3) fixé sur un bâti fixe (5) et dans
lequel se visse une vis de pression (2).
Quand le blocage de la pièce (4) est réalisé, l'action exercée
par la vis sur la pièce : /; est de module 800 N en A.
Hypothèses :
■ Le mécanisme est représenté dans son plan de symétrie (E, 8, 9)
■ Les actions à distance (poids propres des pièces) sont négligées.
■ La liaison en B est une liaison ponctuelle de normale (B, 8)
■ Les liaisons sont considérées comme parfaites (pas de jeu, pas de frottements…)
Travail demandé:
Etudier l’équilibre de la bride (1).
1. Isolement:
La bride étant soumise à l’action de
□ La force verticale :;/ en A
□ La force verticale 6" ;/ en A
□ Une force E / en C
Bilan des actions
:;/ A Verticale 800 N
6" ;/ C Horizontale ………
E / B ……… ……… ………
α
8
9
E /
Labo Génie Mécanique de Kélibia Page 67
2. Principe fondamental de la statistique (P.F.S):
La bride (1) est en équilibre lorsque
∑ = 0" 	:;/ 	 		6" ;/ 	 	E / 	 	0" (1)
∑ "" <$ % 0" "" =$:;/ %	 	 "" =(6" ;/ ) 	 "" =(E / ) 	0" (2)
Etude de l’équation (1) :
Proj (O, 8) …………………………………………………………………………...…….
Proj (O, 9) …………………………………………………………………………...…….
Etude de l’équation (2), le calcul du moment s’effectue par rapport au point C :
Proj (C, B) …………………………………………………………………………...…….
……………………………………………………..………………………………….…………………………...…….
………………………………………………...……………………………………….……………………………...…
……………………………………………………..………………………………….…………………………...…….
………………………………………………...……………………………………….……………………………...…
……………………………………………………..………………………………….…………………………...…….
………………………………………………...……………………………………….……………………………...…
………………………………………………...……………………………………….……………………………...…
3	:;/ 3 = ……………… 3	6" ;/ 3	 = ……………… 3	E / 3 = ………………
D’après (…) on a trouvé que que α = ...……
Tracer la direction de 	E / passant par le point C
Que peut-on conclure ?
……………………………………………..……………
……………………………………………..……………
……………………………………………..……………
……………………………………………..……………
……………………………………………..……………
……………………………………………..……………
Labo Génie Mécanique de Kélibia Page 68
3. Résolution graphique:
Pour résoudre graphiquement ce problème, on utilise la technique de la « dynamique ».
Pour qu’un système matériel soumis à trois forces non parallèles soit en équilibre.
Il faut que:
▷ Les trois forces sont coplanaires et concourantes en un même point
▷ Le dynamique des vecteurs forces est fermé.
Démarche à suivre:
□ Isoler le système à étudier et faire le
bilan des forces extérieures (point
d’application, direction, sens, valeur).
□ Tracer les supports des forces connues,
leur intersection donne le point de concours
(I).
□ Tracer le 3è support de la force inconnue
passant par le point d’application et le point
de concours.
□ Choisir une échelle des forces convenable.
□ Construire le dynamique fermé (SFext = 0)
; pour cela :
A partir d’une origine choisie
arbitrairement, tracer à l’échelle le 1er
vecteur force (connue) parallèle à son
support.
A partir de l’extrémité du 1er vecteur,
tracer la direction de la 2éme force parallèle
à son support.
A partir de l’extrémité de la 2ème force
tracer la direction de la 3émeparallèle à son
support.
□ Relever les modules des vecteurs forces et
déduire les résultats.
Ech 1 mm -----> 10 N
:;/ …… mm -----> …… N
6" ;/ …… mm -----> …… N
E / …… mm -----> …… N
Dynamique
Labo Génie Mécanique de Kélibia Page 69
VI. EXERCICE D’APPLICATION : BRIDE DE SERRAGE
Description :
La bride de serrage présentée ci-contre est utilisée sur un
montage d’usinage afin de réaliser l’ablocage de la pièce (2).
But de l’étude :
Déterminer les charges dans les liaisons afin de les
dimensionner et de déterminer le couple de serrage
nécessaire sur la vis (4).
Hypothèses d’étude :
■ Le mécanisme est représenté dans son plan de
symétrie (:, 8, 9)
■ Les poids des pièces seront négligés devant les
autres efforts mis en jeu.
■ Les liaisons sont considérées parfaites (pas de jeu, pas de frottement, pas de déformations)
■ La liaison entre la bride (3) et le bâti (1) sera modélisée par une liaison pivot d’axe (:, B)
■ Les liaisons en N et en I seront assimilées à des contacts ponctuels :
□ En N (0 , -35) : Liaison ponctuelle de normale (5, O" ) telle que (8, O" ) = 30°.
On estime que l’effort de serrage minimum en N doit avoir une intensité de 35"" / 3
1000	5. On donne 5"" / = 866.	8 + 500.	9
□ En I (-40 , -20) : Liaison ponctuelle de normale (P, 9)
Travail demandé:
■ Isoler le système matériel S = {3+4} et dresser le bilan des actions mécaniques extérieures.
■ Appliquer le Principe Fondamental de la Statique
Exprimer les équations d’équilibre puis les résoudre analytiquement.
■ Présenter une synthèse des résultats
Représenter graphiquement les actions agissant sur S = {3+4}. (Échelle : 1 mm → 20 N)
1. Isolement système matériel S = {3+4}
………………………………..…………………………………………
………………………………..…………………………………………
………………………………..…………………………………………
………………………………..…………………………………………
Bilan des actions
5"" / N ……… ……… 1000 N
P /; I ……… ……… ………
: / A ……… ……… ………
8
9
Labo Génie Mécanique de Kélibia Page 70
2. Principe fondamental de la statique (P.F.S)
………………………………………………………………………….........………………..………………………………………
………………………………………………………………………….........………………..………………………………………
………………………………………………………………………….........………………..………………………………………
………………………………………………………………………….........………………..………………………………………
………………………………………………………………………….........………………..………………………………………
………………………………………………………………………….........………………..………………………………………
………………………………………………………………………….........………………..………………………………………
………………………………………………………………………….........………………..………………………………………
………………………………………………………………………….........………………..………………………………………
………………………………………………………………………….........………………..………………………………………
………………………………………………………………………….........………………..………………………………………
………………………………………………………………………….........………………..………………………………………
………………………………………………………………………….........………………..………………………………………
………………………………………………………………………….........………………..………………………………………
4. Résolution graphique :
…………………………..………………………..……..……………
…………………………………..……………………………….……
…………………………..………………………..……..……………
…………………………………..……………………………………
…………………………..………………………..……..……………
…………………………………..……………………………………
…………………………..………………………..……..……………
…………………………..………………………..……..……………
Ech 1 mm --------> 20 N
5"" / …… mm --------> …… N
P /; …… mm --------> …… N
: / …… mm --------> …… N

Cahier Meca 3 ST Part 1/2

  • 1.
    Nom : ……………………..… Prenom: ………………...…. Classe : ………………...……. A.S : ……….. 2018 / 2019
  • 2.
    Labo Génie Mécaniquede Kélibia Page 1 01 ANALYSE FONCTIONNELLE EXTERNE D’UN PRODUIT I. MISE EN SITUATION : Le cycle de vie d’un produit prend en compte toutes les activités qui entrent en jeu dans la fabrication, l’utilisation, le transport et l’élimination de ce produit. Le cycle de vie est généralement illustré comme une série d’étapes. Un besoin est un désir (ou une nécessité) éprouvée par un utilisateur. [Définition Afnor NF X50 – 150] L’analyse du besoin se fait en trois étapes : La méthode de l’analyse du besoin s’appuie sur deux hypothèses : hypothèse1 : la satisfaction du besoin est réalisée par l’utilisation du produit à concevoir. hypothèse2 : le besoin est satisfait par le changement d’état d’une matière d’œuvre. 01 Analyse du besoin 02 Etude de la faisabilité 03 Conception du produit 10 Elimination du produit Cahier de Charges Fonctionnels (CdCF) saisie du besoin énoncé du besoin validation du besoin idée besoin valide besoin non valide abandon perception du marché
  • 3.
    Labo Génie Mécaniquede Kélibia Page 2 II. ANALYSE FONCTIONNELLE : L’analyse fonctionnelle est une approche scientifique qui raisonne en terme de fonctions devant être assurées par un produit, elle consiste à recenser, caractériser, hiérarchiser les fonctions d’un système. L'analyse fonctionnelle n'est pas une fin en soi, mais une étape dans le processus de conception d'un produit ou d'un système. L'analyse fonctionnelle permet: De mieux définir le besoin, De mieux adapter le produit au besoin, De ne rien oublier au moment de la conception D'innover De diminuer les modifications de mise au point : « faire bien du premier coup » La synergie du travail en groupe La combinaison de la rigueur et de la créativité L’analyse fonctionnelle externe, décrit le point de vue de l’utilisateur et ne s’intéresse au produit qu’en tant une « boîte noire » capable de fournir des services dans son environnement durant son cycle d’utilisation. C’est une démarche menée par le concepteur dans le cadre d’un projet pour la conception (création ou amélioration) d’un produit. Elle débouche sur la l’élaboration du Cahier des Charges Fonctionnel (C.d.C.F). Dans ce qui suit, l’étude sera portée sur l’exemple d’un tournevis électrique. III. PRESENTATION DU THEME D’ETUDE : 1. Historique du produit: L’usage du tournevis manuel devient rapidement fastidieux en cas d’utilisation intense. L’idée de motoriser l’appareil s’est donc imposée. La première visseuse électrique fut inventée en 1925 par l'entreprise allemande « C. & E. Fein ». En 1968, « Skil » conçoit une première perceuse à batterie NiCd de 6 volts. Il faudra attendre 1986 pour voir apparaître le tournevis sans fil « Twist » équipé d’une batterie incorporée NiCd de 2,4 V. Cet outil sera fabriqué à un million d’exemplaires dans le monde. La miniaturisation des différents composants (moteur, transmission…) et les progrès effectués en matière de stockage de l’énergie ont conduit aux produits que nous connaissons aujourd’hui et qui nous sont proposés par de nombreux constructeurs avec des caractéristiques variables suivant l’utilisation souhaitée. fonctions de service fonctions techniques besoin produit Analyse fonctionnelle extene Analyse fonctionnelle intene Analyse fonctionnelle externe d’un produit besoin Cahier des Charges Fonctionnel « C.d.C.F »insatisfactions
  • 4.
    Labo Génie Mécaniquede Kélibia Page 3 2. Descriptif du produit: 3. Caractéristiques techniques du produit: Tension Secteur du chargeur 230V~50 Hz Tension du chargeur 6 V Tension de la batterie 3.6 V Type de batterie Lithium-Ion Vitesse max. de rotation à vide 200 tr/min Diamètre du porte embout 6.35 mm (tête hexagonale) Couple max. 8 Nm Durée de charge 5 ~ 8 heures Marche à droite/gauche oui Poids 0.4 kg 4. Utilisation du produit: Le tournevis électrique est conçu pour le vissage et le dévissage des vis. Avec un embout très court et une grosse poignée, cet outil offre une bonne préhension et permet ainsi de développer la force nécessaire en cas ou on dispose de peu d’espace. Il est adapté à des embouts de différents types et de diverses longueurs ayant une tige hexagonale de 6.35mm (caractéristiques techniques) entre les surfaces planes. Il est fourni avec 10 embouts inclus. 5. Manipulation du produit: Choisir l’embout adapté au vis qu’on va utiliser. Insérer l’embout dans le porte-embout, en s’assurant qu’il est introduit bien fermement. Actionner l’interrupteur (4) afin d’assurer la rotation de l’embout o Pour visser : actionner la partie inférieure (4.1) de l’interrupteur. o Pour dévisser : actionner la partie supérieure (4.2) de l’interrupteur. NB: la broche s’arrête automatiquement lorsqu’on éteint l’outil, ce qui permet de l’utiliser de façon manuelle. Dispositif des composants : 1. Porte-embout à aimant 2. Corps de la visseuse 3. Voyant de charge 4. Commutateur du sens de rotation 5. Prise du chargeur électrique 6. Poignée en caoutchouc souple 1 2 3 5 6 4
  • 5.
    Labo Génie Mécaniquede Kélibia Page 4 IV. RECENSEMENT DES FONCTIONS DE SERVICE : 1. Expression fonctionnelle du besoin: La démarche de conception, pour être rationnelle et efficace, commence par une formulation exhaustive du besoin exprimé ou implicite des utilisateurs. [Définition Afnor AFN90] Fonctions principales (F.P.) : les fonctions pour lesquelles le produit est créé. Elles correspondent à la raison d'être du produit, en établissant les relations entre au moins deux milieux environnants par l'intermédiaire du produit. * Le tournevis électrique doit rendre service à l’opérateur souhaitant visser et dévisser des vis sans effort de sa part. FP1 : ………………………………………………………………. Fonctions contraintes (F.C.) : les fonctions qui limitent la liberté du concepteur par rapport au réalisateur d'un produit et jugées nécessaires par le demandeur. Elles relient le produit à un milieu environnant. * L’opérateur doit manipuler facilement le tournevis (ergonomie de la manche) FC1 : …………………………………………………………… * Les outils de vissage doivent s’adapter facilement au tournevis malgré des formes différentes FC2 : …………………………………………………………… * Le tournevis ne doit pas être branché au secteur lors de son utilisation (autonomie) FC3 : …………………………………………………………… 2. Le diagramme des interactions: Appelé parfois « diagramme pieuvre », il montre de manière visuelle et littérale les relations entre un produit et ses milieux environnants. Ces relations correspondent au service rendu par le produit et contribuent à l'élaboration du cahier des charges fonctionnel. Légende Produit : ME : FP : FC : nom du produit analysé milieux environnants du produit fonctions principales fonctions contraintes ME1 ME3 FC2 FP2 FC4 Produit ME2 ME5 ME4 FC3 FC5 FP1 FC1
  • 6.
    Labo Génie Mécaniquede Kélibia Page 5 Compléter le diagramme d’interactions V. CARACTERISATION DES FONCTIONS DE SERVICE: 1. Introduction: Dans cette partie, on va définir pour chaque fonction de service des critères d’appréciation qui permettent d’apprécier la manière dont elle est remplie. Cette caractérisation constitue le noyau du cahier des charges fonctionnel (C.d.C.F). 2. Marche à suivre: 3. Critères d’appréciation: (voir manuel scolaire p.15) Ils caractérisent qualitativement la fonction (caractéristiques des milieux environnants et de l'action) 4. Niveau d’exigence: Chau critère d’appréciation est accompagné par son niveau de flexibilité; ce niveau doit permettre de quantifier le critère. Fonctions de service Expression des fonctions de service FP1 ……………………………………………..……………………………………… FC1 ……………………………………………..……………………………………… FC2 ……………………………………………..……………………………………… FC3 ……………………………………………..……………………………………… Vis Utilisateur Energie Electrique Tournevis électrique …… …… …… …… Enoncer les critères d’appréciation Définir le niveau de chaque critère Associer Chaque niveau d’une flexibilité F.S idéntifieé FS caractérisée
  • 7.
    Labo Génie Mécaniquede Kélibia Page 6 Compléter le tableau de caractérisation des fonctions de service du système tournevis électrique VI. HIERARCHISATION DES FONCTIONS DE SERVICE : 1. Introduction: Cette opération consiste à classer les fonctions de service selon leurs importances relatives aux yeux de l’utilisateur. Elle servira de référence pour l’étude des coûts par fonction. 2. Marche à suivre: L’outil appelé Tri-croisé permet de comparer les fonctions de service une à une et d’attribuer à chaque fois une note de supériorité allant de 0 à 3 3. Mode d’emploi: • Indiquer les fonctions à l’extérieur de la matrice (lignes et colonnes) • Comparer les deux fonctions d’intersection pour chaque cellule tout en indiquant dans la case la fonction supérieure avec sa pondération • Faire le compte des points attribués à chaque fonction et calculer son pourcentage 4. Outil tri-croisé: Compléter l’outil tri-croisé pour hiérarchiser les fonctions de service du tournevis électrique. FC1 FC2 FC3 Points % FP1 ……… …. ……… …. ……… …. ……… ……… FC1 ……… …. ……… …. ……… ……… FC2 ……… …. ……… ……… FC3 ……… ……… Total ……… 100 F.S EXPRESSION CRITERES NIVEAU & FLEXIBILITE FP1 .………….…………………………… .……………………………………… .……………………………………… .……………… ……... .……………… ……... FC1 .………….…………………………… .……………………………………… .……………………………………… .……………… ……... .……………… ……... FC2 .………….…………………………… .……………………………………… .……………………………………… .……………… ……... .……………… ……... FC3 .………….…………………………… .……………………………………… .……………………………………… .……………… ……... .……………… ……... 0 : pas de superiorité 1 : légèrement supérieure 2 : moyennement supérieure 3 : nettement supérieure Comparer les fonctions de service Pondérer les fonctions de service Etablir l’histogramme F.S caractériseé FS hiérarchisée
  • 8.
    Labo Génie Mécaniquede Kélibia Page 7 4. Elaboration de l’histogramme des fonctions: Il consiste à tracer un diagramme en bâtonnets représentant en pourcentages les notes attribuées à chaque fonction de service par ordre décroissant. L’histogramme permet de faire apparaître les fonctions de service par ordre d’importance souhaité par l’utilisateur. Etablir l’histogramme des fonctions de service du tournevis électrique VII. REDACTION DU CAHIER DES CHARGES FONCTIONNEL : Le cahier des charges fonctionnel comprend : une description du besoin et du système auquel il s'intègre, le cycle de vie du produit, les fonctions, leur importance relative avec leurs caractéristiques et les flexibilités, éventuellement complété par leur structuration, les contraintes, les normes ou règlements spécifiques au produit. Rédiger le cahier des charges fonctionnel du tournevis électrique. 1. Le produit et son marché : ……………………………………………………………………….………………………………….…………………………… ….………………………………….………………………………….………………………………….…………………………… 2. Contexte du projet et objectifs : ……………………………………………………………………….………………………………….…………………………… 3. Enoncé fonctionnel du besoin : 4. Les contraintes : ……………………………………………………………………….………………………………….…………………………… ….………………………………….………………………………….………………………………….…………………………… F.S EXPRESSION CRITERES NIVEAU & FLEXIBILITE …… .………….…………………………… .……………………………………… .……………………………………… .……………… ……... .……………… ……... …… .………….…………………………… .……………………………………… .……………………………………… .……………… ……... .……………… ……... …… .………….…………………………… .……………………………………… .……………………………………… .……………… ……... .……………… ……... …… .………….…………………………… .……………………………………… .……………………………………… .……………… ……... .……………… ……... souhaits en % fonctions …… …… FC1 …… FC2 …… FC3
  • 9.
    Labo Génie Mécaniquede Kélibia Page 8 VIII. EXERCICE D’APPLICATION : PERFORATEUR 1. Description du produt: Les figures ci-contre représentent une perforatrice utilisée pour percer des papiers d’épaisseurs de 0,5 mm à 5 mm avec un diamètre de 10 mm afin de les insérer dans un classeur. 2. Modèle fonctionnel du système: 3. Recensement des fonctions de service: F.S Expression des fonctions de service FP1 …………………………………………………….…………………………..………… FC1 …………………………………………………….…………………………..………… FC2 …………………………………………………….…………………………..………… FC3 …………………………………………………….…………………………..………… FC4 Etre déposable sur un bureau FC5 …………………………………………………….…………………………..………… ……………………..…… …………………………. ……………..…… ……………..…… ……………………..…… ……………..…… ……………………..…… …………………………………..…… A-0 Perforateur Utilisateur Feuille(s) Bureau Oeil Déchets Prix FP1 FC1 FC4FC3 FC2 FC5
  • 10.
    Labo Génie Mécaniquede Kélibia Page 9 4. Hiérarchisation des fonctions de service: FC1 FC2 FC3 FC4 FC5 Points % FP1 FP1 2 FP1 2 FP1 3 FP1 2 FP1 1 ……… ……… FC1 FC1 1 FC1 2 FC1 2 FC1 2 ……… ……… FC2 FC2 2 0 FC2 2 ……… ……… FC3 FC4 2 FC3 1 ……… ……… Pondération : 0 : pas de superiorité 1 : légèrement supérieure 2 : moyennement supérieure 3 : nettement supérieure FC4 FC4 1 ……… ……… FC5 ……… ……… Total ……… 100 Tracer l’histogramme (ordre décroissant) des fonctions de service ….. ….. ….. ….. ….. ….. ….. IX. EXERCICE D’APPLICATION:FRAISEUSE AUTOMATIQUE Description de la machine : La fraiseuse automatique est utilisée pour usiner pendant un travail sériel des pièces ayant de grandes précisions et des états de surface de faibles valeurs de rugosité. Ces pièces sont destinées pour la production des supports des appareils électroménagers. 1. Compléter le modèle fonctionnel du système souhaits en % fonctions ………..……….. ……………..…… ……………..…… ……………… ……………… …………………….. Fraiseuse automatique ……………………..…… …………………………. A-0 ……………..…… ………..………..
  • 11.
    Labo Génie Mécaniquede Kélibia Page 10 2. Compléter le diagramme de la pieuvre et déterminer les fonctions de service 3. Compléter le tableau de tri-croisé FC1 FC2 FC3 FC4 FC5 Points % FP1 ….……. FP1 1 FP1 2 FP1 1 FP1 3 8 ……… FC1 0 FC1 2 FC1 1 ….…..… ……… ……… FC2 FC2 2 0 FC2 3 5 ……… Pondération : 0 : pas de supériorité 1 : légèrement supérieure 2 : moyennement supérieure 3 : nettement supérieure FC3 FC4 2 0 ……… ……… FC4 FC4 1 ……… ……… FC5 0 ……… Total ……… 100 4. Tracer l’histogramme (en ordre décroissant) des fonctions de service ….. ….. ….. ….. ….. ….. ….. ….. F.S Expression des fonctions de service FP1 …………………………………………………….…………………………………………....………… FC1 …………………………………………………….…………………………………………....………… FC2 …………………………………………………….…………………………………………....………… FC3 …………………………………………………….…………………………………………....………… FC4 Etre stable sur le sol FC5 …………………………………………………….…………………………………………....………… souhaits en % fonctions Fraiseuse automatique Opérateur Pièce huile Milieu ambiant Sécurité….……..… FP1 FC3 FC2 FC5 FC1 FC4
  • 12.
    Labo Génie Mécaniquede Kélibia Page 11 02 LECTURE D’UN DESSIN D’ENSEMBLE I. MISE EN SITUATION : 1. Le dessin technique: Le dessin technique est un moyen d’expression universel et indispensable à tous les techniciens, il est soumis à des règles définies par une normalisation ne permettant aucune erreur d’interprétation. C’est un outil de conception qui permet de représenter une idée 2. Le dessin d’ensemble: Le dessin d’ensemble contient les informations nécessaires à la définition du produit. Son rôle est essentiellement de montrer le fonctionnement d’un mécanisme et la façon dont le concepteur a agencé les pièces constituant le système. II. REGLES DE LECTURE D’UN DESSIN D’ENSEMBLE : Dans ce qui suit, l’étude sera portée sur l’exemple d’un étau a mors parallèles. Faire un regard global sur la planche : - Lire le nom du produit. - Reconnaître l’orientation du dessin. - Différencier entre les différentes vues. Consulter la mise en situation, la description et la documentation. Identifier les pièces standards et les formes usuelles. - Identifier chaque pièce. - Consulter la nomenclature. - Procéder au coloriage des pièces pilotes. Susciter l’imagination pour identifier les formes cachées et comprendre ainsi l’utilité des agencements proposés Les cinq règles de lecture.
  • 13.
    Labo Génie Mécaniquede Kélibia Page 12 III. PRESENTATION DU THEME D’ETUDE : 11 1 Tête du levier de manoeuvre C 30 10 2 Tige de serrage C 30 9 1 Vis de blocage C 30 8 1 Mors mobile EN-GJS-1050 7 1 Levier de manoeuvre C 30 6 1 Rondelle plate C 30 5 2 Goupille tendue S 275 4 1 Embase S 275 3 2 Ecrou Cu Sn 8P 2 1 Vis de manoeuvre C 50 1 1 Mors fixe EN-GJS-1050 REP QTT DESIGNATION MATIERE OBSERVATIONS Echelle 1 :2 123 10 9 11 8 7 6 5 4 7 11 Détail E échelle 1:1 E B-B A-A
  • 14.
    Labo Génie Mécaniquede Kélibia Page 13 1. Description: Un étau est un dispositif mécanique qui permet la « mise en position » et le « maintien en position » (serrage) d'une pièce. En général, l'étau est composé d'une partie fixe (généralement liée au plan de travail : établi, table de machine-outil…), d'une partie mobile, et d'un système de serrage. 2. Fonctionnement: Le plan (page 3) représente un étau a mors parallèles que l'on fixe sur un établi par des boulons (vis-écrou). La rotation de la vis de manœuvre (2) commandée par le bras (7) assure le déplacement du mors mobile (8) ce qui permet le serrage ou le desserrage de toute pièce placée entre les deux mors (1) et (8). IV. LECTURE DU DESSIN D’ENSEMBLE : 1. Règle (1) : ………………………………………………………………………………………………………………………………………… 2. Règle (2) : ………………………………………………………………………………………………………………………………………… 3. Règle (3) : ……………………………………………………………………………………………… ……………………………………………………………………………………………… 4. Règle (4) : REP DESIGNATION MATIERE EXPLICATION MODE D’OBTENTION 1 Mors fixe EN-GJS-1050 ……………...……….…………………...….…… …..…….……………… 2 Vis de manœuvre C 50 ……………...……….…………………...….…… …..…….……………… 3 Ecrou Cu Sn 8 P ……………...……….…………………...….…… …..…….……………… 4 Embase S 275 ……………...……….…………………...….…… …..…….……………… 14 Tige de serrage C 30 ……………...……….…………………...….…… …..…….……………… 5. Règle (5) : …………………………………………………………………………… …………………………………………………………………………… …………………………………………………………………………… …………………………………………………………………………… …………………………………………………………………………… ……………………………………………………………………………
  • 15.
    Labo Génie Mécaniquede Kélibia Page 14 03 DESIGNATION DES MATERIAUX I. MISE EN SITUATION : Symboles chimiques internationaux des éléments d’alliage Eléments d’alliage Symbole chimique Eléments d’alliage Symbole chimique Eléments d’alliage Symbole chimique Aluminium Al Cobalt Co Nickel Ni Antimoine Sb Cuivre Cu Niobium Nb Argent Ag Etain Sn Plomb Pb Béryllium Be Fer Fe Silicium Si Bismuth Bi Gallium Ga Strontium Sr Bore B Lithium U Titane Ti Cadmium Cd Magnésium Mg Vanadium V Cérium Ce Manganèse Mn Zinc Zn Chrome Cr Molybdène Mo Zirconium Zr Les matériaux matériaux métalliques matériaux non métalliques conducteurs attiré par un aimant métaux ferreux métaux non ferreux oui non oui non Fontes Aciers Cuivre Aluminium Matières plastiques
  • 16.
    Labo Génie Mécaniquede Kélibia Page 15 II. LES FONTES : 1. Description: La fonte est un alliage de fer riche en carbone (2,11 6,67%), elle se distingue des aciers par une sursaturation en carbone qui peut précipiter sous la forme de graphite au moment de la solidification. Les fontes sont des alliages destinés à la fonderie, elles se distinguent des autres alliages par leur excellente coulabilité (fluidité de l’alliage en fusion) 2. Désignation normalisée: La norme européenne EN1560 indique : Le préfixe EN-GJ indique qu’il s’agit de la fonte. 3. Fonte blanche: Principalement utilisée pour les pièces d’aspect et la fonderie d’art, ses principales qualités sont : - excellente résistance à l’usure et à l’abrasion - un bel aspect - une excellente coulabilité Son principal défaut est le fait d’être difficilement usinable. 4. Fonte grise: Famille des fontes où le carbone se trouve sous forme de graphite a. fonte à graphite lamellaire : C’est la plus coutante des fontes grises, le graphite se trouve sous forme de lamelles. Ses principales qualités sont : - facilité d’usinage - très bonne résistance à la corrosion et à la déformation à chaud - très bonne absorption des vibrations - prix du métal peu élevé Son principal défaut est le fait d’être relativement fragile. Cette fonte est principalement utilisée pour l’usinage des pièces mécaniques, bâtis, machines outils, blocs moteurs, tuyaux et canalisations. exemlpe: EN-GJL-300 ………………………………………………………………………………………..………… ………………………………………………………….………………………………………. b. fonte à graphite sphéroïdal : Fonte dans laquelle le graphite se trouve sous forme de nodules (sphéroïdes). Cette fonte appelée aussi fonte ductile possède des caractéristiques mécaniques proches de l’acier. EN-GJL-300 préfixe Rmin symbole avec Rmin : valeur de la résistance minimale à la rupture par extension (unité Mpa)
  • 17.
    Labo Génie Mécaniquede Kélibia Page 16 Cette fonte est principalement utilisée pour la fabrication des tuyaux soumis à haute pression. exemlpe: EN-GJS-300-22 ………………………………………………………………………………………..………… ………………………………………………………….………………………………………. c. fonte malléable : l’interêt des fontes malléables c’est que tout en gardant les bonnes propriétés de coulabilité, ces matériaux ont des caractéristiques mécaniques proches de l’acier exemlpe: EN-GJMW-400-10 ………………………………………………………………………………………..………… ………………………………………………………….………………………….……………. EN-GJMB-350-10 ………………………………………………………………………………………..………… ………………………………………………………….…………………………….…………. III. LES ACIERS : 1. Description: L’acier est un alliage de fer et de carbone (0,02 2%). Les aciers sont élaborés pour résister à des sollicitations mécaniques ou chimiques ou une combinaison des deux. Pour résister à ces sollicitations, des éléments chimiques peuvent être ajoutés à sa composition en plus du carbone, ces éléments sont appelés « éléments d’additions ». 2. Classification: On peut classer les aciers de deux manières : - Classification par emploi - Classification par composition chimique EN-GJS-300-22 préfixe Rminsymbole A% avec A% : pourcentage de l’allongement après la rupture Rmin : valeur de la résistance minimale à la rupture par extension (unité Mpa) EN-GJM…-300-22 préfixe Rminsymbole A% avec A% : pourcentage de l’allongement après la rupture Rmin : valeur de la résistance minimale à la rupture par extension (unité Mpa) GJMW : fonte malléable à cœur blanc (White) GJMB : fonte malléable à cœur noir (Black)
  • 18.
    Labo Génie Mécaniquede Kélibia Page 17 3. Désignation normalisée: Chaque pays a son mode de désignation des aciers. La désignation européenne selon la norme EN10027 distingue quatre catégories : - Les aciers non alliés d’usage général, - Les aciers non alliés spéciaux, - Les aciers faiblement alliés, - Les aciers fortement alliés. 4. Classification par emploi: On trouve deux catégories : a. Aciers d’usage général: Utilisés généralement pour les travaux de construction de bâtiment. exemlpe: S 185 ……………………………………………………………………………………………….……..………… b. Aciers de construction: Ce sont des aciers spéciaux, utilisés généralement pour les travaux de construction mécanique et métallique (soudables, forgeables…). exemlpe: E 135 ……………………………………………………………………………………………….……..………… * Remarque: S’il s’agit d’un acier moulé,la désignation sera précédée par la lettre G. exemlpe: GS 185 ……………………………………………………………………………………………..………….…… GE 135 ………………………………………………………………………………………….……….………..… 4. Classification par composition chimique: a. Aciers non alliés pour traitement thermique: Leur composition est plus précise et plus pure et correspond à des usages définis à l’avance, leurs applications courantes sont les forets (perceuses), ressorts, arbres de transmission, matrices (moules)… exemlpe: C 45 ……………………………………………………………………………………………….……..………… S 185 symbole Re avec Re : valeur minimale de la limite d’élasticité E 135 symbole Re avec Re : valeur minimale de la limite d’élasticité C 45 symbole Teneur en carbone multipliée par 100
  • 19.
    Labo Génie Mécaniquede Kélibia Page 18 * Remarque: S’il s’agit d’un acier moulé,la désignation sera précédée par la lettre G. exemlpe: GC 45 ……………………………………………………………………………………………….…… a. Aciers faiblement alliés: Ce sont des aciers dont aucun élément d’addition n’atteint la teneur 5%. Ces aciers sont urtilisés lorsqu’on a besoin d’une haute résistance. ( ) Ces teneurs seront multipliés par un facteur qui varie en fonction des éléments d’alliage. (voir tableau du coefficient multiplicateur >>> * Remarque: S’il s’agit de plusieurs éléments d’addition, ils seront rangés par ordre des teneurs décroissant. exemlpe: 20 Mo 5 ………………………………………………………………………………………..………… 20 CrMo 15-4 ………………………………………………………………………………………..………… ………………………………………………………….…………………………….…………. 20 MoCr 5 ………………………………………………………………………………………..………… ………………………………………………………….…………………………….…………. a. Aciers fortement alliés: Ce sont des aciers dont l’un des éléments d’addition dépasse la teneur de 5%. Ces aciers sont réservés pour des usages particuliers (ex : acier inoxydable, riche en carbone > 11%). exemlpe: X 10 NiCr 18-10 ………………………………………………………………………………………..………… ………………………………………………………….………………………….…………… Elément d’alliage Facteur Cr, Co, Mn, Ni, Si, W 4 Al, Be, Cu, Mo, Nb, Pb, Ta, Tl, V, Zr 10 Ce, N, P, S 100 B 1000 20 Mo 5 Teneur en carbone Pourcentage de la teneur * moyenne de chaque élément ( ) Symbole chimique des éléments d’addition X 10 NiCr 18-10 symbole Symbole chimique des éléments d’addition Teneur en carbone Teneur en éléments d’alliage (pas de facteur)
  • 20.
    Labo Génie Mécaniquede Kélibia Page 19 III. ALUMINIUM ET ALLIAGES D’ALUMINIUM : 1. Description: L’Aluminium est un métal pauvre, malléable, de couleur argentée, remarquable par sa résistance à l’oxydation et sa faible densité. 2. Aluminium et alliages d’aluminium moulés: Les alliages d'aluminium pour fonderie sont des alliages dont le constituant principal est l'aluminium, destinés à être transformés par des techniques de fonderie. Ils sont souvent appelés « alliages légers » du fait de leur masse volumique nettement inférieure à celles d'autres métaux utilisés dans l'industrie. a. Désignation normalisée: La norme européenne EN1780 indique : Le préfixe EN AB indique qu’il s’agit des alliages d’aluminium moulé. b. Désignation symbolique: c. Désignation numérique: exemlpe: EN AB-2110[Al Cu4 Mg Ti] ……….…………...……………………………………………………..………… ………………………………………………………….…………………………….…………. EN AB-42000[Al Si7 Mg] ……...……………………………………………………………………..………… ………………………………………………………….…………………………….…………. 3. Aluminium et alliages d’aluminium corroyés: Les alliages d'aluminium pour corroyage sont des alliages à base d'aluminium destinés pour la majorité à être transformés par des techniques de forge (laminage, filage, matriçage, forge, etc.). a. Désignation normalisée: La norme européenne EN573 indique : Le préfixe EN AW indique qu’il s’agit des alliages d’aluminium corroyé. EN AB-Al Cu4 Mg Ti préfixe symbole Symboles chimiques des éléments d’alliage suivis du nombre indiquant leur teneur. EN AB-2110 préfixe symbole Elément principal d’addition.
  • 21.
    Labo Génie Mécaniquede Kélibia Page 20 b. Désignation symbolique: c. Désignation numérique: exemlpe: EN AW-7049[Al Zn8 Mg Cu] …………..……………..……………………………………………..………… ………………………………………………………….…………………………….…………. EN AW-2017[Al Cu4 Mg Si] ……...…………………………………………………………………..………… ………………………………………………………….…………………………….…………. III. CUIVRE ET ALLIAGES DE CUIVRE : 1. Description: Le cuivre, appelé aussi « métal rouge » constitue ,avec l’or, le seul métal coloré c’est un métal ductile possédant des conductivités électriques et thermiques particulièrement élevées qui lui confèrent des usages variés. Il intervient également comme matériau de construction et entre dans la composition de nombreux alliages. 2. Désignation normalisée : La désignation peut utiliser un code numérique ou les symboles chimiques des éléments. a. Désignation symbolique: Le préfixe Cu suivi des symboles des éléments d’addition munis de leurs teneur indique qu’il s’agit des alliages de cuivre. exemple: Cu Zn39 Pb2 b. Désignation numérique: Le préfixe CW suivi d’un code numérique indique qu’il s’agit des alliages de cuivre. exemple: CW 612 N exemlpe: CW 612 N [Cu Zn39 Pb2] ……………...……………………………………………………………..………… ………………………………………………………….…………………………….…………. EN AW-Al Zn8 Mg Cu préfixe symbole Symboles chimiques des éléments d’alliage suivis du nombre indiquant leur teneur. EN AW-7049 préfixe symbole Elément principal d’addition.
  • 22.
    Labo Génie Mécaniquede Kélibia Page 21 3. Alliages de cuivre : Les alliages de cuivre désignent un ensemble d’alliages où le cuivre est majoritaire. Ils ont en général une bonne résistance à la corrosion. Les alliages de cuivre les plus courants sont : Laiton : Cuivre + Zinc Bronze: Cuivre + Etain Curpo-Alu: Cuivre + Aluminium Curpo-Nickel: Cuivre + Nickel III. LES MATIERES PLASTIQUES : 1. Description : Un plastique est un mélange dont le constituant de base est une résine, ou polymère, à laquelle on associe des adjuvants (charges, renforts, plastifiants …) et des additifs (pigments et colorants, lubrifiants…). Il est susceptible d'être moulé, façonné, en général à chaud et sous pression, afin de conduire à un semi-produit ou à un objet. 2. Classification : Pour l’utilisateur, les plastiques se classent en deux grandes catégories : a. Les thermoplastiques : Ce sont des matières plastiques qui, une fois chauffée, peuvent être déformées sans perdre leurs propriétés. Symbole Signification Nom commercial PA6 Polyamide Nylon PMMA Polyméthacrylate de méthyle Plexiglas PVC Polychlorure de vinyle b. Les thermodurcissables : Ce sont des matières plastiques qui, une fois mises en forme, ne peuvent plus être déformées sous l’action de la chaleur. Symbole Signification Nom commercial EP Epoxyde Araldite, Néonite,… UP Polyester Rutapal, Norsodyne,… c. Les élastomères : Les élastomères sont des polymères à caractère amorphe ou cristallin présentant des propriétés remarquables en élasticité, amortissement et étanchéité (air, eau).
  • 23.
    Labo Génie Mécaniquede Kélibia Page 22 04 FORMES GEOMETRIQUES VOCABULAIRE TECHNIQUE : Alésage Arbre Arrondi Bossage Chambrage Chanfrein Collerette Collet Congé Dégagement Embase Encoche Entaille Epaulement Evidement Fraisure
  • 24.
    Labo Génie Mécaniquede Kélibia Page 23 Gorge Lamage Languette Lumière Méplat Mortaise Nervure Queue d’aronde Rainure Rainure de clavette Saignée Tenon Téton Trou Trou oblong Vé
  • 25.
    Labo Génie Mécaniquede Kélibia Page 24 EXERCICE D’APLICATION : Donner le nom de chacune des formes indiquées sur les dessins suivants : …………… …………… …………… …………… ………………………… …………… …………… …………… …………… …………………………………………………… …………… ……………
  • 26.
    Labo Génie Mécaniquede Kélibia Page 25 05 LE SCHEMA CINEMATIQUE I. MISE EN SITUATION : 1. Contact entre deux solides : Le contact entre deux solides (pièces) différents crée une liaison mécanique entre ces deux éléments. En fonction de la forme des surfaces mises en contact, on obtient différentes liaisons mécaniques Contact ponctuel Contact linéique Contact surfacique Il existe donc 6 mouvements élémentaires permettant de définir n’importe quelle combinaison de translation et de rotation. 2. Degré de liberté : Tout solide libre situé dans un espace a trois dimensions peut réaliser six (6) mouvements différents. Toute liaison entre deux solides limite certains mouvements relatifs à l’un des solides par rapport à l’autre, chaque mouvement indépendant possible s’appelle degré de liberté II. MODELISATION DES LIAIONS : 1. Modèle cinématique: Présente les mouvements possibles que peut tolérer une liaison entre deux solides S1 et S2 / 2. Modèle statique: Présente les efforts transmissibles dans une liaison entre deux solides S1 et S2 /
  • 27.
    Labo Génie Mécaniquede Kélibia Page 26 III. LES LIAISONS MECANIQUES : Degré de liberté Nom de la liaison Symbole Représentation Cinematique statiqueReprésentation plane Perspective … … T … R Liaison ponctuelle … … … … … … … … … … … … … … T … R Liaison linéaire rectiligne … … … … … … … … … … … … … … T … R Liaison linéaire annulaire … … … … … … … … … … … … … … T … R Liaison rotule … … … … … … … … … … … … … … T … R Liaison appui plan … … … … … … … … … … … … … … T … R Liaison rotule à doigt … … … … … … … … … … … … … … T … R Liaison pivot glissant … … … … … … … … … … … … … … T … R Liaison hélicoïdale … … … … … … … … … … … … … … T … R Liaison glissière … … … … … … … … … … … … … … T … R Liaison pivot … … … … … … … … … … … … … … T … R Liaison encastrement … … … … … … … … … … … …
  • 28.
    Labo Génie Mécaniquede Kélibia Page 27 III. PRESENTATION DU THEME D’ETUDE : 10 1 Noix Cu Sn8 P 9 1 Embout C 30 8 1 Manivelle C 30 7 1 Goupille S 275 6 1 Vis de manoeuvre C 35 5 1 Ressort 4 2 Rondelle C 30 3 1 Mors mobile EN-JM 1050 2 2 Machoire ……………. 1 1 Mors fixe EN-JM 1050 REP QTT DESIGNATION MATIERE OBSERVATIONS Echelle 1 : 5 1 2 3 7 6 5 8 10 4 9 2’ 4’
  • 29.
    Labo Génie Mécaniquede Kélibia Page 28 1. Description: Un étau est un dispositif mécanique qui permet la « mise en position » et le « maintien en position » (serrage) d'une pièce. En général, l'étau est composé d'une partie fixe (généralement liée au plan de travail : établi, table de machine-outil…), d'une partie mobile, et d'un système de serrage. 2. Fonctionnement: Le plan (page 4) représente un étau d’établi que l'on fixe sur un établi par des boulons (système vis-écrou, à négliger dans cette partie). La rotation de la vis de manoeuvre (6) commandée par la manivelle (8) assure le déplacement du mors mobile (3) ce qui permet le serrage ou le desserrage de toute pièce placée entre les deux machoires (2). IV. MODELISATION STATIQUE ET CINEMATIQUE : Compléter le tableau suivant : Liaison Désignation Symbole Modèle cinematique Modèle statique 3 / 1 …………………… …………………… Mc3/1 = … … … … … … Ms3/1 = … … … … … … 6 / 3 …………………… …………………… Mc6/3 = … … … … … … Ms6/3 = … … … … … … 6 / 10 …………………… …………………… Mc6/10 = … … … … … … Ms6/10 = … … … … … … 8 / 6 …………………… …………………… Mc8/6 = … … … … … … Ms8/6 = … … … … … … 10 / 1 …………………… …………………… Mc10/1 = … … … … … … Ms10/1 = … … … … … … 8 / 9 …………………… …………………… Mc8/9 = … … … … … … Ms8/9 = … … … … … …
  • 30.
    Labo Génie Mécaniquede Kélibia Page 29 V. CLASSE D’EQUIVALENE CINEMATIQUE : Définition: Une Classe d'équivalence cinématique est l'ensemble des pièces qui ont le même mouvement pendant le fonctionnement du mécanisme. On met dans une même classe d'équivalence cinématique toutes les pièces en liaison encastrement les unes avec les autres (ou en liaison considérée comme étant un encastrement pendant la phase de fonctionnement du système). Pour modéliser un mécanisme, il faut exclure toutes les pièces dont la fonction est de se déformer (solides déformables), comme les ressorts, les joints et roulements. Déterminer les classes d’aquivalence et colorier les éléments de chaque classe avec une couleur : A = { 1, ……………………………………………… } B = { 3, ……………………………………………… } C = { 6, ……………………………………………… } D = { 8, ……………………………………………… } Remarque : ……………………………………………………………………………………………………………………………….……… ……………………………………………………………………………………………………………………………….……… VI. GRAPHE DES LIAISONS : Définition: Un graphe des liaisons est une représentation plane qui définit les liaisons mécaniques reliant les classes d’équivalence deux à deux. Terminer le graphe des liaisons du système : ………………………………………………… ………………………………………………… ………………………………………………… ………………………………………………… ………………………………………………… A C BD
  • 31.
    Labo Génie Mécaniquede Kélibia Page 30 VII. SCHEMA CINEMATIQUE : Définition : Un schéma cinématique a pour but de représenter un mécanisme sous forme schématique en faisant apparaître seulement les mouvements relatifs possibles des différents ensembles de pièces qui le constitue. Terminer le schéma cinématique du système : VIII. ETUDE D’UNE SOLUTION CONSTRUCTIVE : En se reférant au dessin d’ensemble et du mécanisme réel. La liaison entre le mors fixe (1) et la machoire (2) est : Complète Partielle Directe Indirecte Démontable Indémontable Par obstacle Par adhérence Donner le nom de cette liaison : …………………………………………………………….. Dessiner à l’échelle 2 : 1 l’assemblage des pièces (1) et (2) par une vis de fixation FS M5-30 : 1 2 … … ……
  • 32.
    Labo Génie Mécaniquede Kélibia Page 31 IX. EXERCICE D’APPLICATION : MEULE MANUELLE
  • 33.
    Labo Génie Mécaniquede Kélibia Page 32 Définition : La meule manuelle se fixe sur un établie. Elle sert à affuter des outils de coupe. La meule (14) serrée sur l’axe (3) est entraînée en rotation par la main à l’aide de la poignée (7), l’axe (8) et la manivelle (2). Lecture de dessin : Repérer sur la vue en perspective éclatée les pièces constitutives de la meule en suivant la nomenclature fournie au cartouche du dessin d’ensemble. ….. . ….. . ….. . ….. . ….. . ….. . ….. . ….. . ….. . ….. . ….. . ….. . ….. .
  • 34.
    Labo Génie Mécaniquede Kélibia Page 33 Etude des liaisons mécaniques : Compléter les classes d’équivalence cinématique A et B. A = { 1, …………..…… } ; B = { 2, …………………..…..…… } ; C= { 7 } ; D= { 11 } ; E= { 12 } ; F= { 13 } Remplir le graphe des liaisons en inscrivant les liaisons entre les différentes classes d’équivalence : □ …… : …………………………………………… □ …… : …………………………………………… □ …… : …………………………………………… □ …… : …………………………………………… □ …… : …………………………………………… □ …… : …………………………………………… Compléter le schéma cinématique et repérer les blocs de pièces cinématiquement liées : EF A D CB …. .. …. .. …. .. …. .. …. .. … … … … … …
  • 35.
    Labo Génie Mécaniquede Kélibia Page 34 X. EXERCICE D’APPLICATION : DISPOSITIF DE SERRAGE
  • 36.
    Labo Génie Mécaniquede Kélibia Page 35 Bride Cale oblique Moteur Support Présentation du système : Ce mécanisme permet la fixation des pièces lors d’une opération d’usinage sur des machines – outils. Fonctionnement du système: L’alimentation du moteur entraine la rotation de la vis de manœuvre (10) ce qui provoque le déplacement de la cale oblique (4) permettant le serrage de la pièce par pivotement de la bride (3). 1. Compléter le modèle fonctionnel du système 1. Compléter le schéma cinématique minimal du système La liaison (5 + 1) est une liaison encastrement : 2. Quels sont les éléments qui assurent cette liaison ? ………..……….……………………………………………… 3. dans quelle vue peut-on identifier clairement ces éléments ? ………….....…...……………………….…………… 4. La liaison est-elle ? Démontable non démontable Par obstacle par adhérence ……………………..…… …………………………. ………..…… …………….. ……………………..…… ……………………..…… …………………………………..…… A-0 …………… … .… . … . …. … . … .pièce
  • 37.
    Labo Génie Mécaniquede Kélibia Page 36 06 LA SOLUTION ENCASTREMENT I. MISE EN SITUATION : La liaison encastrement ne laisse subsister aucun degré de liberté. On parle aussi de liaison complète. Des adjectifs permettent d’affiner la classification. Ainsi une liaison encastrement peut être caractérisée de : Liaison encastrement permanente : Les deux pièces ne peuvent être séparées sans en détériorer au moins l’une d’entre-elle. Liaison encastrement démontable : Les deux pièces ne peuvent être montées et démontées à volonté. Réaliser une liaison encastrement consiste à …….………… deux ou plusieurs pièces l’une par rapport l’autre. Solution démontable Solution permanente démontable Il est possible de supprimer la liaison sans détériorer les pièces ou les éléments liés oui non LIAISON ENCASTREMENT Les deux pièces ne peuvent être démontées sans en détériorer l’une d’entre elles au moins. LIAISON ENSASTREMENT Complète Aucune liberté de déplacement. Partielle Il reste une liberté de déplacement en rotation ou en translation. Rigide La position des pièces liées varie au cours du temps. Elastique La position des pièces liées est invariable au cours du temps. Permanente Impossible de séparer sans détruire l'une des pièces. Démontable Les deux pièces peuvent être séparées ou unies à volonté. Indirecte La liaison s’obtient en ajoutant une ou plusieurs pièces intermédiaires Directe La liaison s’obtient par les formes des pièces elles-mêmes.
  • 38.
    Labo Génie Mécaniquede Kélibia Page 37 II. ASSEMBLAGE PAR ELEMENTS FILETES : Par vis d’assemblage : La pièce (2) seule possède un trou taraudé recevant la partie filetée de la vis. Les autres pièces possèdent un trou lisse. Par vis de pression : L’effort de serrage nécessaire à liaison fixe est exercé par l’extrémité de la vis de pression (3). Par boulon : Un boulon = vis + écrou Toutes les pièces à assembler possèdent un trou lisse Par goujons : Il est composé d’une tige, filetée à ses deux extrémités séparées par une partie lisse. Le goujon (4) est implanté dans la pièce (5) possédant un trou taraudé. Les autres pièces possèdent un trou lisse
  • 39.
    Labo Génie Mécaniquede Kélibia Page 38 III. EXERCICES D’APPLICATION : Exercice 01: Montage dans un trou taraudé débouchant Compléter la représentation de la liaison encastrement entre (1) et (2) par une vis H M…… -…… Exercice 02: Montage dans un trou taraudé débouchant Compléter la représentation de la liaison encastrement entre (1) et (2) par une vis CHC M…… - …… 1 2 1 2
  • 40.
    Labo Génie Mécaniquede Kélibia Page 39 Exercice 04: Liaison complète par pincement A gauche de l’axe Mettre en place la vis H, M12 agissant sur le chapeau (3), permettant ainsi la liaison complète entre (1) et (2) A droite de l’axe Représenter en vue extérieure les usinages nécessaires pour le montage de la vis. Prendre des cotes sur le dessin, à gauche de l’axe Exercice 05: Terminer sur chacun des figures suivantes, le dessin de la liaison encastrement entre la poulie (3) et l’arbre (1) en utilisant les éléments suivants : (4) : Goupille élastique 8x45 (5) : Vis de pression HC M8-20
  • 41.
    Labo Génie Mécaniquede Kélibia Page 40 (6) : Clavette parallèle forme A, 6 x 6 x20 (7) : Anneau élastique pour arbre 22 x 1,2 7 6 32 1 C (6) : Clavette parallèle forme A, 6 x 6 x20 (7) : (8) écrou H, M 16 (9) rondelle, W16 (6) : Clavette parallèle forme A, 6 x 6 x20 (10) : Vis de serrage H, M 10-22 (11) : Rondelle LL 10 (14) clavette disque, 5 x 6.5 (12) écrou KM 20 (13) rondelle frein MB 20
  • 42.
    Labo Génie Mécaniquede Kélibia Page 41 07 TOLERANCES DIMENSIONNELLES I. MISE EN SITUATION : Compte tenu du processus de fabrication choisi et des machines utilisées, une cote réelle mesurant l’une des dimensions d’un objet ne peut être exactement la même que celle indiquée sur le dessin de définition. Il est impossible de fabriquer une série d’objets identiques ayant toujours les mêmes dimensions. Mesurer une grandeur, c'est la comparer à une autre de même espèce prise comme unité, une mesure n'est jamais exacte, elle est toujours établit par comparaison avec une autre dite étalon de mesure. Le contrôle dimensionnel s'applique en particulier en construction mécanique et le mesurage se rapporte généralement à celui des dimensions linéaires et angulaires des pièces mécaniques. L'impossibilité de précision des procédés d'usinage fait qu'une pièce ne peut être réalisée de façon rigoureusement conforme aux dimensions fixées au préalable. Le contrôle nous permet de s'assurer que les dimensions des valeurs réelles sont comprises entre deux limites (compatibles avec un fonctionnement correct de la pièce) définies par la tolérance : IT = Cmax - Cmin II. NORMALISATION DES TOLERANCES : Le système ISO définit un ensemble de tolérances concernant la taille linéaire d’un élément c-à-d : □ Le diamètre d’un cylindre. □ Le diamètre d’une sphère. □ La distance entre deux surfaces planes parallèles. Les termes alésage et arbre désignent également l’espace contenant et l’espace contenu compris entre deux surfaces planes parallèles d’une pièce quelconque : largeur de rainure, épaisseur de clavette… IT (tolérance) Cote minimale Cote maximale ………………. ……………….
  • 43.
    Labo Génie Mécaniquede Kélibia Page 42 Eléments Intervalle de tolérance Ecart supérieur Ecart inférieur ALESAGE IT = Es - Ei Es = Cmax - Cnom Ei = Cmin - Cnom arbre IT = es - ei es = cmax - cnom ei = cmin - Cnom ▻ Conventionnellement, écrire les valeurs : ALESAGE en majuscules arbre en minuscules Pour chaque cote nominale, il est prévu toute une gamme de tolérances : Degré de la tolérance (en µm) Alésages : positions schématisées des tolérances Arbres : positions schématisées des tolérances ligne zéro Ecarts (+) Ecarts (-)…………..… …………..… …………..… …..… …..… …..… ………………. ………..… …………..… …..… …..… …..… ………………. 16 H 8 Dimension nominale Degré de la tolérance Position de l’intervalle de tolérance.
  • 44.
    Labo Génie Mécaniquede Kélibia Page 43 III. LES AJUSTEMENTS : Un ajustement est l'assemblage de deux pièces (alésage & arbre) de même cote nominale au moyen d'une liaison qui permet ou non le mouvement relatif de l'une par rapport à l'autre. ▻ Pour qu'il y ait ajustement, il faut que l'une des pièces pénètre dans l'autre. Exemple : Chape de frein arrière L’ajustement entre la chape et la biellette à l’écriture suivante : ……….………….… ….…………… ……………... ……….………….… ….…………… ……………... ALESAGE arbre Elément ……………..… ……………..… Désignation ……………..… ……………..… biellette axe chape 20 H8 e7 Cote nominale commune Tolérance ARBRE Tolérance ALESAGE ……………. ……….. ………..
  • 45.
    Labo Génie Mécaniquede Kélibia Page 44 Principaux ajustements: * Utiliser de préférence les qualités teintées Principaux écarts des alésages: Les valeurs sont exprimées en micromètres 1µm = 0.001mm JS = ± IT/2 (voir tableau : degré de la tolérance p.2) * Utiliser de préférence les qualités teintées
  • 46.
    Labo Génie Mécaniquede Kélibia Page 45 Principaux écarts des alésages: Les valeurs sont exprimées en micromètres 1µm = 0.001mm js = ± IT/2 (voir tableau : degré de la tolérance p.2) * Utiliser de préférence les qualités teintées
  • 47.
    Labo Génie Mécaniquede Kélibia Page 46 D’après les tableaux des principaux écarts on peut exploiter : Tolérance normalisée Cote nominale Ecarts IT (mm) Tolérance chiffrée Cote maximale Cote minimale ALSAGE ….….…… ….….… …… …… Es = ……… = ………… ….….… ......... ......... ....... ….….… ….….… Ei = ……… = ………… arbre ….….…… ….….… …… …… es = ……… = ………… ….….… ......... ......... ....... ….….… ….….… ei = ……… = ………… IV. NATURE D’UN AJUSTEMENT : 1. Ajustement avec jeu: exemple (H8 / f7) On donne l’ajustement ∅12H8f7 Compléter le tableau suivant : ALESAGE arbre Tolérance normalisée ….….…… ….….…… Ecart supérieur (mm) ….….…… ….….…… Ecart inférieur (mm) ….….…… ….….…… Tolérance chiffrée ......... ......... ....... ......... ......... ....... Intervalle de tolérance (mm) ….….…… ….….…… Cote maximale (mm) ….….…… ….….…… Cote minimale (mm) ….….…… ….….…… Positionner les IT par rapport à la ligne « zéro » (ligne des écarts nuls) ▻ Les I.T ….…………………………..…… ▻ Cote (alésage) toujours .………….… à Cote (arbre) Ajustement ….…………………………..… 10 -- 20 -- 30 -- 40 -- -40 -- -30 -- -20 -- -10 -- Ligne zéro
  • 48.
    Labo Génie Mécaniquede Kélibia Page 47 Calculer les jeux possibles : Jeu max = ………...… - …….……..… = ……. - ……. = …………. Jeu min = ………...… - ……..……..… = ……. - ……. = …………. IT jeu = ……….…… - …….………… = ……….… - ……….… = …………………. Pour vérification : IT jeu = ……….…… + …….………… = ……….… + ……….… = …………………. 2. Ajustement avec serrage: exemple (H7 / p6) On donne l’ajustement ∅20H7p6 Compléter le tableau suivant : ALESAGE arbre Tolérance normalisée ….….…… ….….…… Ecart supérieur (mm) ….….…… ….….…… Ecart inférieur (mm) ….….…… ….….…… Tolérance chiffrée ......... ......... ....... ......... ......... ....... Intervalle de tolérance (mm) ….….…… ….….…… Cote maximale (mm) ….….…… ….….…… Cote minimale (mm) ….….…… ….….…… Positionner les IT par rapport à la ligne « zéro » (ligne des écarts nuls) ▻ Les I.T ….…………………………..…… ▻ Cote (alésage) toujours .………….… à Cote (arbre) Ajustement ….…………………………..… ……………...…… …………...….. ………..… …………..… ……………….. . ……………….. . 10 -- 20 -- 30 -- 40 -- -40 -- -30 -- -20 -- -10 -- Ligne zéro
  • 49.
    Labo Génie Mécaniquede Kélibia Page 48 Calculer les serrages possibles : Serrage max = …………. - ……………… = ….…. - ……. = ….....…. Serrage min = ……..……. - …………..… = ….…. - ……. = ….....…. IT serrage = ………..….… - ……….…… = ….…. - ……. = ….....…. Pour vérification : IT serrage = ………….… + ……………… = ….…. + ……. = ….....…. 3. Ajustement incertain: exemple (H7 / js6) On donne l’ajustement 24H7js6 Compléter le tableau suivant : ALESAGE arbre Tolérance normalisée ….….…… ….….…… Ecart supérieur (mm) ….….…… ….….…… Ecart inférieur (mm) ….….…… ….….…… Tolérance chiffrée ......... ......... ....... ......... ......... ....... Intervalle de tolérance (mm) ….….…… ….….…… Cote maximale (mm) ….….…… ….….…… Cote minimale (mm) ….….…… ….….…… Positionner les IT par rapport à la ligne « zéro » (ligne des écarts nuls) ▻ Les I.T ….…………………………..…… ▻ L’ajustement obtenu sera □ soit ….……………………… □ soit ….……………………… Ajustement ….…………………………..… ……………...…… …………...….. ………..… …………..… ……………….. . ……………….. . 10 -- 20 -- 30 -- 40 -- -40 -- -30 -- -20 -- -10 -- Ligne zéro
  • 50.
    Labo Génie Mécaniquede Kélibia Page 49 Calculer les jeux / serrages possibles : Jeu max = ……..……. - ……..……… = ….…. - ……. = ….....…. Serrage max = ………..…. - ..………...… = ….…. - ……. = ….....…. V. AJUSTEMENT NORMALISES USUELSS : Le choix d'un ajustement se fait en fonction du jeu ou du serrage désiré, et en fonction du type de mécanisme dans lequel il est utilisé. Remarques : □ Système de l’alésage normal : on conserve la même position H de la zone de tolérance de l’alésage. □ On associe habituellement un alésage de qualité de tolérance donnée avec un arbre de qualité de tolérance voisine inférieure. Exemples : H6 k…. ou D8 p…. Type Observations Arbre Alésage H6 H7 H8 H9 H11 Piècesmobiles Jeu Jeu élevé Pièce dont le fonctionnement nécessite un grand jeu (dilatation, mauvais alignement, portées très longues, etc.) c 9 11 d 9 11 Jeu moyen Cas ordinaire des pièces tournant ou glissant dans une bague ou palier (bon graissage assuré) e 7 8 9 f 6 6-7 7 Jeu faible Pièce avec guidage précis pour mouvement de faible amplitude g 5 6 Piècesimmobiles Ajusté Démontage et remontage possible sans détérioration des pièces L'ajustement ne peut pas transmettre d'effort Mise en place possible à la main h 5 6 7 8 Incertain Très ajusté js 5 6 Peu serré Mise en place au maillet k 5 m 7 Serrage Serré Démontage impossible sans détérioration des pièces L'ajustement peut transmettre des efforts Mise en place à la presse p 6 Serré fort Mise en place à la presse lourde ou par dilatation (frettage) s 7 u 7 x 7 z 7 A retenir : Pièces mobiles l’une par rapport à l’autre Guidage avec jeu H8 / f7 Guidage précis H7 / g6 Pièces immobiles l’une par rapport à l’autre Assemblage à la main H7 / h6 Assemblage au maillet H8 / m7 Assemblage à la presse H8 / p6 ………..… ……….. …..… ……... ……………... ……………...
  • 51.
    Labo Génie Mécaniquede Kélibia Page 50 VI. EXERCICE D’APPLICATION : Liaison entre un piston et une bielle. Liaison bielle / axe: Donner la désignation de l’ajustement : ….………………………..…… Positionner les IT par rapport à la ligne zéro : Quelle est la nature de l’ajustement : Ajustement ….…………………………..… Calculer l’intervalle de tolérance ▻ …….… max = ……….…… - …….………… = ……….………………………… = ……………..……. ▻ ….…… min = ……….…… - …….………… = ……….………………………… = ……………..……. IT …....… = ……….…… - …….………… = ……….………………………… = ……………..……. □ Vérification de l’IT : …...……………………………….….………………………………………..……. ALESAGE arbre Tolérance normalisée ….….…… ….….…… Ecart supérieur (mm) ….….…… ….….…… Ecart inférieur (mm) ….….…… ….….…… Tolérance chiffrée ......... ......... ....... ......... ......... ....... Intervalle de tolérance (mm) ….….…… ….….…… Cote maximale (mm) ….….…… ….….…… Cote minimale (mm) ….….…… ….….…… piston axe bielle ∅12H6p6∅12F7f7 10 -- 20 -- 30 -- Ecarts (µm) -30 -- -20 -- -10 -- Ligne zéro
  • 52.
    Labo Génie Mécaniquede Kélibia Page 51 VI. EXERCICE D’APPLICATION : VERIN DE SERRAGE Mise en situation : Ce vérin de serrage permet d'obtenir à l'aide d'huile sous pression le serrage de pièce par l'extrémité du piston 2. 7 1 Anneau élastique pour alésage 6 1 Coussinet 5 1 Ressort C 60 4 1 Joint d’étanchéité 3 1 Chapeau A-U 8S 2 1 Piston C 35 1 1 Corps A-U 8S REP. QTT. DESIGNATION MATIERE OBSERVATIONS Q1. Sachant que l'huile arrive par l'orifice A, colorier en rouge le volume occupé par l'huile dans la position du dessin d'ensemble. Q2. Reporter sur les dessins de définition des pièces 1, 2, 3 et 6 les cotes tolérancées relatives aux ajustements.
  • 53.
    Labo Génie Mécaniquede Kélibia Page 52 Q3. Le coussinet 6 permet de réduire les frottements entre le piston 2 et le chapeau 3. D’après les ajustements, ce coussinet est-il monté serrer sur la pièce 2 ou la pièce 3 ? Ajustement coussinet (6) / piston (2) : ….………………………..…… Ajustement ….…………………………..… Calculer l’intervalle de tolérance ▻ …….… max = ……….…… - …….………… = ……….………………………… = ……………..……. ▻ ….…… min = ……….…… - …….………… = ……….………………………… = ……………..……. IT …....… = ……….…… - …….………… = ……….………………………… = ……………..……. □ Vérification de l’IT : …...……………………………….….………………………………………..……. Ajustement coussinet (6) / chapeau (3) : ….………………………..…… Ajustement ….…………………………..… Calculer l’intervalle de tolérance ▻ …….… max = ……….…… - …….………… = ……….………………………… = ……………..……. ▻ ….…… min = ……….…… - …….………… = ……….………………………… = ……………..……. IT …....… = ……….…… - …….………… = ……….………………………… = ……………..……. □ Vérification de l’IT : …...……………………………….….………………………………………..……. Réponse : ▻ …...…………………………………………………………………………….….………………………………………..………….. . ALESAGE arbre Elément ….….…… ….….…… Tolérance normalisée ….….…… ….….…… Ecart supérieur (mm) ….….…… ….….…… Ecart inférieur (mm) ….….…… ….….…… Tolérance chiffrée ......... ......... ....... ......... ......... ....... Intervalle de tolérance (mm) ….….…… ….….…… Cote maximale (mm) ….….…… ….….…… Cote minimale (mm) ….….…… ….….…… ALESAGE arbre Elément ….….…… ….….…… Tolérance normalisée ….….…… ….….…… Ecart supérieur (mm) ….….…… ….….…… Ecart inférieur (mm) ….….…… ….….…… Tolérance chiffrée ......... ......... ....... ......... ......... ....... Intervalle de tolérance (mm) ….….…… ….….…… Cote maximale (mm) ….….…… ….….…… Cote minimale (mm) ….….…… ….….…… 10 -- 20 -- 30 -- Ecarts (µm) -30 -- -20 -- -10 -- Ligne zéro 10 -- 20 -- 30 -- Ecarts (µm) -30 -- -20 -- -10 -- Ligne zéro
  • 54.
    Labo Génie Mécaniquede Kélibia Page 53 08 TOLERANCES GEOMETRIQUES I. MISE EN SITUATION : L’imperfection des procédés d’usinage fait qu’il est impossible d’obtenir des surfaces géométriquement parfaites. x point ligne cercle plan cylindre sphère x Les tolérances dimensionnelles usuelles (ajustements, …) ne suffisent pas pour définir avec exactitude la forme géométrique d’un objet. Les tolérances géométriques permettent de corriger ces insuffisances et précisent les variations permises. II. INTRODUCTION : Il existe trois grands types de tolérances géométriques : □ Tolérances de forme : Les tolérances de forme, sous forme d’éléments géométriques de base s’appliquent à l’élément lui-même (ligne ou surface) indépendamment de la position et de l’orientation. □ Tolérances d’orientation : Les tolérances d’orientation associent deux éléments entre eux uniquement par l’angle défini et par leur direction. Cela concerne l’orientation des éléments les uns par rapport aux autres. □ Tolérances de position : La tolérance de position définit une zone de tolérance dans une position fixée par des cotes encadrées par rapport à un ou plusieurs éléments de référence. C’est leur positionnement dans l’espace. Modèle de peau: représentation imagée du produit avec des défauts possibles.
  • 55.
    Labo Génie Mécaniquede Kélibia Page 54 III. INSCRIPTION DES TOLERANCES : La forme à coter est repérée par une flèche. Les tolérances s’inscrivent dans un cadre pouvant avoir 2 ou 3 cases (parfois plus). Dans ces cases sont inscrites dans l’ordre : □ Le symbole du défaut géométrique à coter. □ La valeur de la tolérance (I.T) en mm. □ La lettre majuscule repérant le ou les éléments de référence (si nécessaire). L’élément de référence se repère par une lettre majuscule inscrite dans un carré relié à un triangle noirci dont la base touche l’élément de référence. Lorsque l’élément de référence est proche du cadre de la tolérance, il est possible de les relier directement. IV. INDICATION D’UN ELEMENT : Surfaces / lignes Axe de la pièce Grand cylindre Axe du grand / petit cylindre Plan médian de la pièce A  0,1 ………………………………..………….  0,1 A ………………………………..…………. ………………………………..………….
  • 56.
    Labo Génie Mécaniquede Kélibia Page 55 V. TOLERANCES GEOMETRIQUES: 1. Tolérances de forme : SYMBOLE EXEMPLE SIGNIFICATION  Planéité  Rectitude  Circularité  Cylindricité 2. Tolérances d’orientation : SYMBOLE EXEMPLE SIGNIFICATION  Parallélisme
  • 57.
    Labo Génie Mécaniquede Kélibia Page 56  Perpendicularité  Inclinaison 3. Tolérances de position : SYMBOLE EXEMPLE SIGNIFICATION  Coaxialité  Symétrie  Localisation
  • 58.
    Labo Génie Mécaniquede Kélibia Page 57 4. Tolérances de battement : La tolérance de battement s’applique aux pièces de révolution en traduisant directement le défaut maximal admissible lors de la rotation de la pièce. Le battement peut être mesuré suivant : □ La même direction que l’axe de rotation : Battement Axial. □ Perpendiculairement à l’axe de rotation : Battement Radial. SYMBOLE EXEMPLE SIGNIFICATION  Battement simple radialaxialoblique VI. EXERCICE D’APPLICATION : * Inscrire dans les cadres les tolérances géométriques permettant d’assurer les conditions de fonctionnement : □ Elément de référence : Axe du cylindre (A). □ Le plan médian de rainure de clavette est symétrique par rapport au plan médian de (A) … IT = 0,04 □ L’extrémité de la pièce est perpendiculaire par rapport à l’axe du cylindre (A) ……………… IT = 0,1 □ Les deux alésages sont coaxiaux ………………………………………………………………………… IT = ∅0,2 □ L’alésage est circulaire …………………………………………………………………………..………… IT = 0,01 □ Le taraudage est perpendiculaire par rapport à l’axe du cylindre (A) …………………………… IT = 0,2
  • 59.
    Labo Génie Mécaniquede Kélibia Page 58 * Vérin pneumatique à simple effet : Inscrire dans les cadres les tolérances géométriques permettant d’assurer les conditions de fonctionnement données. Chape (1) : □ Elément de référence : Axe du cylindre (A) □ La mortaise est parallèle à l’axe du cylindre (A) avec IT= 0,1/100 □ L’alésage coté ∅ est perpendiculaire à l’axe du cylindre (A) avec IT= 0,05 □ La surface plane est perpendiculaire à l’axe du cylindre (A) avec IT= 0,05 Piston (3) : □ Elément de référence : Axe de l’alésage (B) □ Les cylindres cotés ∅ sont coaxiaux à l’alésage de référence (B) avec IT= ∅0,05 Cylindre (4) : □ Elément de référence : Axe du cylindre (D) □ L’alésage est circulaire avec IT= 0,01 □ L’extrémité de la pièce est perpendiculaire à l’axe du cylindre (A) avec IT= 0,01 1 2 3 4
  • 60.
    Labo Génie Mécaniquede Kélibia Page 59 VII. ETATS DE SURFACE : Une surface usinée n’est jamais parfaitement lisse. Elle comporte des aspérités plus ou moins profondes dues aux moyens d’usinage. Si l’on coupe normalement une surface par un plan, on obtient une courbe appelée « profil de surface ». C’est à partir de ce profil que l’on analyse les différents défauts de la surface. 1. Rugosité Ra : L’écart moyen arithmétique de rugosité est la mesure arithmétique, calculée sur la longueur d’évaluation L de tous les écarts Y1, Y2, Y3, …, Yn | | | | | | ⋯ | | n 2. Valeurs usuelles : Les valeurs usuelles de Ra en fonction de l’état de surface à titre indicatif Ra Surface 0,025 0,05 0,1 0,2 0,4 0,8 1,6 3,2 6,3 12,5 25 Très lisse x x x x Lisse x x x Moyenne x x Rugueuse x x 3. Symboles d’indication : Le symbole de base est constitué de deux branches de longueurs inégales, inclinées de 60° environ, comme l'indique la figure ci-contre. Remarque : pris individuellement, ce symbole indique que l'état de la surface repérée est pris en considération, sans pour autant avoir d'exigence particulière concernant la rugosité.
  • 61.
    Labo Génie Mécaniquede Kélibia Page 60 a. Symbole utilisé lorsqu' un enlèvement de matière par usinage est exigé : Si un enlèvement de matière par usinage est exigé, un trait doit être ajouté au symbole de base. Remarque : pris individuellement, ce symbole indique que la surface repérée doit être usinée, sans pour autant avoir d'exigence particulière concernant la rugosité. b. Symbole utilisé lorsqu'un enlèvement de matière est interdit : Lorsqu'un enlèvement de matière est interdit, un cercle doit être ajouté au symbole de base. Remarque : utilisé sur un dessin d'opération, le symbole indique que la surface repérée doit rester en l'état (au stade précédent de la fabrication). c. Symbole utilisé pour écrire des caractéristiques complémentaires : S'il est nécessaire de fournir des caractéristiques ou des valeurs concernant la surface, le symbole de base doit être complété par un trait horizontal supplémentaire destiné à recevoir les indications. d. Symbole utilisé pour coter en même temps toutes les surfaces d'une même pièce : Si un même état de surface est exigé pour toutes les surfaces d'une même pièce, il suffit d'ajouter un cercle au symbole précédent. 4. Exemples d'indications : L’enlèvement de matière par usinage est : Observations facultatif obligatoire interdit Surface avec rugosité Ra max de 3,2µm Surface avec rugosité Ra maxi de 3,2µm et Ra min de 1,6µm 5. Positions du symbole : Les symboles de base, ou les lignes de repère, sont tracés du côté libre de matière. Les inscriptions doivent être orientées pour être lues depuis le bas ou depuis la droite du dessin.
  • 62.
    Labo Génie Mécaniquede Kélibia Page 61 09 STATIQUE GRAPHIQUE I. MISE EN SITUATION : La statique est l’étude de l’équilibre des solides. Principe Fondamental de la Statique (P.F.S) : Un système matériel est en équilibre lorsque ∑ 0" Théorème de la résultante statique ∑ "" #( ) 0" Théorème du moment statique Système matériel : Un système matériel est un solide ou un ensemble de solides considérés comme indéformables. Force &"" '() : Une force extérieure est l’action mécanique exercée par un système matériel sur un autre système matériel. On représente une force par un vecteur caractérisé par : □ Un point d’application □ Une direction □ Un sens □ Une intensité (unité : N) Une action mécanique peut s’exercer : ■ de contact ponctuel linéaire superficiel ■ à distance - action de la terre (poids) * +. - - action d’un aimant (champs magnétique)
  • 63.
    Labo Génie Mécaniquede Kélibia Page 62 Moment d’une force .""" /(&"" ) : Le moment d’une force par rapport au point A est une action mécanique qui possède les caractéristiques suivantes : □ Point d’application : A □ Direction : perpendiculaire au plan formé par A et □ Sens : (vois schéma) □ Intensité : ./0&"" 1 2. 3&"" 3 (unité : Nm) Bilan des actions mécaniques extérieures : Isoler un solide consiste à le séparer du reste du mécanisme afin d’effectuer le bilan des actions mécaniques qui lui sont appliquées par l’extérieur. II. PRESENTATION DU THEME D’ETUDE : Description : Le mécanisme représenté sur le dessin ci-contre est une bride à serrage manuel. Fonctionnement : La pièce à usiner (6), en appui sur le bâti (1) est serrée en C par la bride (2). La bride (2) est articulée en B sur le bâti (1). L’effort de serrage est fourni par le boulon à oeil (4+5) articulé en A sur la bride (2). L’action exercée par l’écrou (5) sur la vis (4) est modélisée par une force verticale dans l’axe de la vis telle que 3 3 300 5 (voir schéma) Hypothèses : ■ Le mécanisme est représenté dans son plan de symétrie (6, 8, 9) ■ Les actions à distance (poids propres des pièces) sont négligées. ■ La liaison en C est une liaison ponctuelle de normale (C, 9) ■ Les liaisons sont considérées comme parfaites (pas de jeu, pas de frottements…) Travail demandé: Etudier l’équilibre de la bride (2). &""
  • 64.
    Labo Génie Mécaniquede Kélibia Page 63 III. SOLIDE SOUMIS A L’ACTION DE DEUX FORCES : Dans cette partie, on va isoler la vis (4) afin d’étudier son équilibre 1. Isolement: La vis étant soumise à l’action de □ La force verticale en D □ Une force : /; en A Bilan des actions D Vertical 300 N : /; A ……… ……… ……… 1. Principe fondamental de la statistique (P.F.S): La vis (4) est en équilibre lorsque ∑ 0" : /; 0" (1) ∑ "" <$ % 0" "" =$ % "" =(: /;) 0" (2) Etude de l’équation (1) : Proj (A, 8) 0 + 3: /;3. >? (@) = 0 >? (@) = 0 (3) Proj (A, 9) 3 3 - 3: /;3. A (@) = 0 A (@) > 0 (4) Etude de l’équation (2), le calcul du moment s’effectue par rapport au point A : Proj (A, B) 0 + 3 "" #(: /;)3 = 0 (5) (3) & (4) @ = 0 : /; est opposée à (5) La direction de : /; passe par le point A Donc : /; et sont directement opposées et 3: /;3 300 5 Pour qu’un système matériel soumis à deux forces soit en équilibre, Il faut que ces deux forces soient : □ de même direction □ de sens opposés □ de même intensité &"" /"" C/D α
  • 65.
    Labo Génie Mécaniquede Kélibia Page 64 IV. SOLIDE SOUMIS A L’ACTION DE TROIS FORCES PARALLELES : Dans cette partie, on va isoler la bride (2) afin d’étudier son équilibre 1. Isolement: La bride étant soumise à l’action de □ La force verticale :;/ en A □ La force verticale EF/ en A □ Une force 6" / en A Bilan des actions :;/ A Verticale 300 N EF/ C Verticale ……… 6" / B ……… ……… ……… 2. Principe fondamental de la statistique (P.F.S): La vis (4) est en équilibre lorsque ∑ = 0" :;/ + 6" / + EF/ = 0" (1) ∑ "" <( ) = 0" "" =(:;/ ) + "" =(6" / ) + "" =(EF/ ) = 0" (2) Etude de l’équation (1) : Proj (O, 8) …………………………………………………………………………...……. Proj (O, 9) …………………………………………………………………………...……. Etude de l’équation (2), le calcul du moment s’effectue par rapport au point B : Proj (A, B) …………………………………………………………………………...……. ……………………………………………………..………………………………….…………………………...……. ………………………………………………...……………………………………….……………………………...… ……………………………………………………..……………………………………….……………………...……. ……………………………………………………..……………………………………….……………………...……. ………………………………………………...……………………………………………….……………………...… 3 :;/ 3 = ……………… 36" F/ 3 = ……………… 3EF/ 3 = ……………… α :;/ 6" / EF/ 8 9 52 40 +
  • 66.
    Labo Génie Mécaniquede Kélibia Page 65 3. Résolution graphique: Pour résoudre graphiquement ce problème, on utilise la technique du « polygone funiculaire » qu’on admettra le tracé sans chercher à le justifier Pour qu’un système matériel soumis à trois forces dont deux parmi eux sont parallèles soit en équilibre, Il faut que la troisième force soit parallèle aux autres : Démarche à suivre : □ Tracer la force 6′""" // 6" □ Choisir arbitrairement un pole (H) □ Tracer deux lignes polaires 0 et 1 □ Choisir un point ≪ + ≫ quelconque sur la direction de la force B □ Mener une droite 0L // 0 qui coupe la direction de E en un point □ Mener une droite 1L // 1 qui coupe la direction de : en un point M □ Tracer la ligne M de fermeture du funiculaire. □ Mener une droite M′NL // MN qui passe par (H) □ Déduire le résultat en fermant le dynamique. Ech 1 mm -----> 10 N :;/ …… mm -----> …… N 6" / …… mm -----> …… N EF/ …… mm -----> …… N :;/ EF/ EF/ DynamiqueFuniculaire
  • 67.
    Labo Génie Mécaniquede Kélibia Page 66 :;/ 6" / 50 50 V. SOLIDE SOUMIS A L’ACTION DE TROIS FORCES NON PARALLELES : Description : Le mécanisme représenté sur le dessin ci-contre est un dispositif de blocage manuel. Fonctionnement : Un dispositif de blocage est constitué par une bride coudée (1), articulée sur un axe (3) fixé sur un bâti fixe (5) et dans lequel se visse une vis de pression (2). Quand le blocage de la pièce (4) est réalisé, l'action exercée par la vis sur la pièce : /; est de module 800 N en A. Hypothèses : ■ Le mécanisme est représenté dans son plan de symétrie (E, 8, 9) ■ Les actions à distance (poids propres des pièces) sont négligées. ■ La liaison en B est une liaison ponctuelle de normale (B, 8) ■ Les liaisons sont considérées comme parfaites (pas de jeu, pas de frottements…) Travail demandé: Etudier l’équilibre de la bride (1). 1. Isolement: La bride étant soumise à l’action de □ La force verticale :;/ en A □ La force verticale 6" ;/ en A □ Une force E / en C Bilan des actions :;/ A Verticale 800 N 6" ;/ C Horizontale ……… E / B ……… ……… ……… α 8 9 E /
  • 68.
    Labo Génie Mécaniquede Kélibia Page 67 2. Principe fondamental de la statistique (P.F.S): La bride (1) est en équilibre lorsque ∑ = 0" :;/ 6" ;/ E / 0" (1) ∑ "" <$ % 0" "" =$:;/ % "" =(6" ;/ ) "" =(E / ) 0" (2) Etude de l’équation (1) : Proj (O, 8) …………………………………………………………………………...……. Proj (O, 9) …………………………………………………………………………...……. Etude de l’équation (2), le calcul du moment s’effectue par rapport au point C : Proj (C, B) …………………………………………………………………………...……. ……………………………………………………..………………………………….…………………………...……. ………………………………………………...……………………………………….……………………………...… ……………………………………………………..………………………………….…………………………...……. ………………………………………………...……………………………………….……………………………...… ……………………………………………………..………………………………….…………………………...……. ………………………………………………...……………………………………….……………………………...… ………………………………………………...……………………………………….……………………………...… 3 :;/ 3 = ……………… 3 6" ;/ 3 = ……………… 3 E / 3 = ……………… D’après (…) on a trouvé que que α = ...…… Tracer la direction de E / passant par le point C Que peut-on conclure ? ……………………………………………..…………… ……………………………………………..…………… ……………………………………………..…………… ……………………………………………..…………… ……………………………………………..…………… ……………………………………………..……………
  • 69.
    Labo Génie Mécaniquede Kélibia Page 68 3. Résolution graphique: Pour résoudre graphiquement ce problème, on utilise la technique de la « dynamique ». Pour qu’un système matériel soumis à trois forces non parallèles soit en équilibre. Il faut que: ▷ Les trois forces sont coplanaires et concourantes en un même point ▷ Le dynamique des vecteurs forces est fermé. Démarche à suivre: □ Isoler le système à étudier et faire le bilan des forces extérieures (point d’application, direction, sens, valeur). □ Tracer les supports des forces connues, leur intersection donne le point de concours (I). □ Tracer le 3è support de la force inconnue passant par le point d’application et le point de concours. □ Choisir une échelle des forces convenable. □ Construire le dynamique fermé (SFext = 0) ; pour cela : A partir d’une origine choisie arbitrairement, tracer à l’échelle le 1er vecteur force (connue) parallèle à son support. A partir de l’extrémité du 1er vecteur, tracer la direction de la 2éme force parallèle à son support. A partir de l’extrémité de la 2ème force tracer la direction de la 3émeparallèle à son support. □ Relever les modules des vecteurs forces et déduire les résultats. Ech 1 mm -----> 10 N :;/ …… mm -----> …… N 6" ;/ …… mm -----> …… N E / …… mm -----> …… N Dynamique
  • 70.
    Labo Génie Mécaniquede Kélibia Page 69 VI. EXERCICE D’APPLICATION : BRIDE DE SERRAGE Description : La bride de serrage présentée ci-contre est utilisée sur un montage d’usinage afin de réaliser l’ablocage de la pièce (2). But de l’étude : Déterminer les charges dans les liaisons afin de les dimensionner et de déterminer le couple de serrage nécessaire sur la vis (4). Hypothèses d’étude : ■ Le mécanisme est représenté dans son plan de symétrie (:, 8, 9) ■ Les poids des pièces seront négligés devant les autres efforts mis en jeu. ■ Les liaisons sont considérées parfaites (pas de jeu, pas de frottement, pas de déformations) ■ La liaison entre la bride (3) et le bâti (1) sera modélisée par une liaison pivot d’axe (:, B) ■ Les liaisons en N et en I seront assimilées à des contacts ponctuels : □ En N (0 , -35) : Liaison ponctuelle de normale (5, O" ) telle que (8, O" ) = 30°. On estime que l’effort de serrage minimum en N doit avoir une intensité de 35"" / 3 1000 5. On donne 5"" / = 866. 8 + 500. 9 □ En I (-40 , -20) : Liaison ponctuelle de normale (P, 9) Travail demandé: ■ Isoler le système matériel S = {3+4} et dresser le bilan des actions mécaniques extérieures. ■ Appliquer le Principe Fondamental de la Statique Exprimer les équations d’équilibre puis les résoudre analytiquement. ■ Présenter une synthèse des résultats Représenter graphiquement les actions agissant sur S = {3+4}. (Échelle : 1 mm → 20 N) 1. Isolement système matériel S = {3+4} ………………………………..………………………………………… ………………………………..………………………………………… ………………………………..………………………………………… ………………………………..………………………………………… Bilan des actions 5"" / N ……… ……… 1000 N P /; I ……… ……… ……… : / A ……… ……… ……… 8 9
  • 71.
    Labo Génie Mécaniquede Kélibia Page 70 2. Principe fondamental de la statique (P.F.S) ………………………………………………………………………….........………………..……………………………………… ………………………………………………………………………….........………………..……………………………………… ………………………………………………………………………….........………………..……………………………………… ………………………………………………………………………….........………………..……………………………………… ………………………………………………………………………….........………………..……………………………………… ………………………………………………………………………….........………………..……………………………………… ………………………………………………………………………….........………………..……………………………………… ………………………………………………………………………….........………………..……………………………………… ………………………………………………………………………….........………………..……………………………………… ………………………………………………………………………….........………………..……………………………………… ………………………………………………………………………….........………………..……………………………………… ………………………………………………………………………….........………………..……………………………………… ………………………………………………………………………….........………………..……………………………………… ………………………………………………………………………….........………………..……………………………………… 4. Résolution graphique : …………………………..………………………..……..…………… …………………………………..……………………………….…… …………………………..………………………..……..…………… …………………………………..…………………………………… …………………………..………………………..……..…………… …………………………………..…………………………………… …………………………..………………………..……..…………… …………………………..………………………..……..…………… Ech 1 mm --------> 20 N 5"" / …… mm --------> …… N P /; …… mm --------> …… N : / …… mm --------> …… N