Etude et conception d’une table élévatrice
ISET Nabeul Page 1 MEDIS
Dédicace
C’est avec un immense que je dédie ce modeste travail et ma profonde
gratitude aux personnes les plus chers à mon cœur :
A mes très chers parents qu’ont faite moi la personne qui je suis, en
signe de reconnaissance et de profonde gratitude auxquels je dois tout
ce que j’ai pu réaliser et en particulier ce travail.
A ma très chère mère Chebbi Hakima, pour toute les attentions dont
elle sait si bien m’entoure et pour tous les sacrifices consentis sans
jamais l’ombre d’une hésitation.
A mon cher père Hidri charfeddine, en témoignage de ma
connaissance pour tous les efforts consentis, pour sa bienveillance et sa
bénédiction.
A mes chers frères, pour leurs soutiens et encouragements.
A mes amis, et à tous mes proches.
Wihem...
Etude et conception d’une table élévatrice
ISET Nabeul Page 2 MEDIS
Dédicace
Au Dieu tout puisant mon créateur.
A mon père, Mahroug Nawfel, en signe d’amour, de reconnaissance et
de gratitude pour tous les soutiens et les sacrifices dont il a fait preuve
à mon égard.
A ma mère Ben Rhouma Kalthoum, ma raison d’être, ma raison de
vivre, la lanterne qui éclaire mon chemin et m’illumine de douceur et
d’amour.
A mes frères et mes sœurs, source de soutien et d’encouragement.
A mes amies, et à tous mes proches.
Baha...
Etude et conception d’une table élévatrice
ISET Nabeul Page 3 MEDIS
Remerciement
Nous souhaitons rendre un hommage tout particulier à monsieur
BEN AISSA Chokri professeur en mécanique, notre encadreur a
L’ISET, pour son amabilité et à son assistance, sa complète disponibilité
et ces précieux conseil qui nous a prodigué lors de l’élaboration de ce
travail, qu’il trouve ici l’expression de nos profond de reconnaissance.
Nous voulons exprimer toutes nos gratitudes à monsieur Lassaad
Boujbal Directeur général à MEDIS pour son esprit de travail mutuel,
pour son soutien continu.
Aussi nous remercions sincèrement notre encadreur de la société
Monsieur Hriga Mohamed Ali pour leur gentillesse, leur disponibilité
et pour leurs soutien continu tout le long de notre projet qui nous a
beaucoup aidé pour son finalisation.
Enfin, nos vifs remerciements sont adressés à tous ceux qui nous ont
aidés de prés ou de loin pour la réalisation de ce travail.
Etude et conception d’une table élévatrice
ISET Nabeul Page 4 MEDIS
SOMMAIRE
Introduction générale.............................................................................................................. 8
CHAPITRE I :............................................................................................................................ 9
PRESENTATION DE L’ORGANISME D’ACCEUIL............................................................. 9
Introduction .......................................................................................................................... 10
1. Présentation de l’entreprise d’accueil : ......................................................................... 10
2. Activité :........................................................................................................................ 11
3. Organisations des ressources humaines de la société :.................................................. 11
3.1. Effectif : ................................................................................................................. 11
3.2. Organigramme de la société :................................................................................. 12
4. Les procédés de fabrication :......................................................................................... 13
4.1. La préparation :...................................................................................................... 13
4.2. La ligne de production : ......................................................................................... 14
4.3. La lyophilisation : .................................................................................................. 14
4.4. L’inspection : ......................................................................................................... 14
4.5. L’emballage : ......................................................................................................... 15
5. Problématique : ............................................................................................................. 15
5.1. Description des problèmes existe :......................................................................... 15
5.2. Données à propos la table : .................................................................................... 16
CHAPITRE II :......................................................................................................................... 18
ETUDE BIBLIOGRAPHIQUE ............................................................................................... 18
Introduction .......................................................................................................................... 19
1. Fonctionnement du système :........................................................................................ 19
2. Les différents types des tables élévatrices : .................................................................. 19
2.1. Chariot élévatrice :..................................................................................................... 19
2.2. Monte charge ............................................................................................................. 21
3. L'alimentation :.............................................................................................................. 23
4. Avantage d’utilisation des Tables élévatrices :............................................................. 23
5. Domaines d’utilisation : ................................................................................................ 24
6. Accouplements :............................................................................................................ 24
CHAPITRE III : ....................................................................................................................... 27
ANALYSE FONCTIONNELLE ............................................................................................. 27
Introduction .......................................................................................................................... 28
1. Modélisation du système :............................................................................................. 28
2. Analyse de besoin : ....................................................................................................... 28
Etude et conception d’une table élévatrice
ISET Nabeul Page 5 MEDIS
2.1. Saisir les besoin : ................................................................................................... 29
2.2. Enoncer le besoin :................................................................................................. 29
2.3. Validation de besoin : ............................................................................................ 30
3. Analyse fonctionnelle externe : étude de la faisabilité :................................................ 30
3.1. Identifier les fonctions de services :....................................................................... 31
3.2. Validation des fonctions de service : ..................................................................... 32
3.3. Caractériser les fonctions de service :.................................................................... 34
4. Hiérarchiser les fonctions de services :......................................................................... 36
CHAPITRE IV:........................................................................................................................ 38
ANALYSE FONCTIONNELLE TECHNIQUE ET CHOIX DES SOLUTIONS
TECHNOLOGIQUES.............................................................................................................. 38
1. Analyse fonctionnelle technique :................................................................................. 39
1.1 Présentation de la méthode FAST : ....................................................................... 39
1.2 FAST créatif : « séquence d’utilisation » : ............................................................ 40
2. Choix des solutions technologique :.............................................................................. 43
2.1. Critère de choix :.................................................................................................... 43
CHAPITRE V : ........................................................................................................................ 49
DIMENSIONNEMENT DE PROJET ..................................................................................... 49
1. Schéma de la table élévatrice : ...................................................................................... 50
2. Calcule des réactions appliquées sur la table supérieure (plateforme) : ................ 50
2.1. Interprétation :........................................................................................................ 53
3. Calcul des réactions appliquées sur les ciseaux :................................................... 56
3.2. Simulation solidworks et interprétation :............................................................... 59
4. Chapes aux extrémités du plateau et du châssis :................................................... 60
4.1. Dimensionnement des chapes :.............................................................................. 60
5.1. Calcule de durée de vie de roulement de palier :................................................... 61
(Voir annexe 4)................................................................................................................. 61
5.2. Calcule des boulons au cisaillement : .................................................................... 61
6. Choix motoréducteur :................................................................................................... 63
6.1. Sélection de l’actionneur mécanique : ................................................................... 63
Etude et conception d’une table élévatrice
ISET Nabeul Page 6 MEDIS
TABLE DES FIGURES
Figure 1 : Vue externe de Médis .............................................................................................. 10
Figure 2 : organigramme de la société Médis .......................................................................... 12
Figure 3 : procédé de fabrication au sein de Médis.................................................................. 13
Figure 4 : la table ancienne....................................................................................................... 16
Figure 5 : Table élévatrice simple ciseaux............................................................................... 19
Figure 6 : Table élévatrice double ciseaux............................................................................... 20
Figure 7 : Table élévatrice triple ciseaux ................................................................................. 20
Figure 8 : Table élévatrice mobile............................................................................................ 21
Figure 9 : Table élévatrice à soufflet........................................................................................ 21
Figure 10 : Monte-charge à colonnes....................................................................................... 22
Figure 11 : Nacelle élévatrice................................................................................................... 22
Figure 12 : bloc d'alimentation................................................................................................. 23
Figure 13 : Accouplement........................................................................................................ 25
Figure 14 : description globale d'un produit............................................................................. 28
Figure 15 : Diagramme bête à cornes....................................................................................... 30
Figure 16 : Diagramme PIEUVRE........................................................................................... 31
Figure 17 : matrice d'hiérarchisation........................................................................................ 36
Figure 18 : Graphe d'hiérarchisation ........................................................................................ 37
Figure 19 : Diagramme FAST.................................................................................................. 48
Figure 20 : structure de la table élévatrice ............................................................................... 50
Figure 21 : les réactions au niveau de la plateforme................................................................ 50
Figure 22 : diagramme de l'effort tranchant............................................................................. 53
Figure 23 : diagramme de moment fléchissant ........................................................................ 53
Figure 24 : profil de la poutre................................................................................................... 54
Figure 25 : les ractions appliquées sur les ciseaux................................................................... 56
Figure 26 : palier ...................................................................................................................... 60
Figure 27 : Table au niveau haute ............................................................................................ 64
Figure 28 : table au niveau bas................................................................................................. 65
Figure 29 : liaison plateforme et ciseau ................................................................................... 65
Etude et conception d’une table élévatrice
ISET Nabeul Page 7 MEDIS
LISTE DES TABLEAUX
Tableau 1: Ressources humaines de Médis.............................................................................. 11
Tableau 2 : degrés de flexibilité ............................................................................................... 34
Tableau 3 : Caractéristiques des fonctions des services........................................................... 35
Tableau 4 : valorisation d'interet .............................................................................................. 43
Tableau 5 : Valorisation globale .............................................................................................. 44
Tableau 6 : les expresions des reactions appliquées aux ciseaux............................................. 58
Etude et conception d’une table élévatrice
ISET Nabeul Page 8 MEDIS
Introduction générale
Le projet de fin d’étude marque la fin de notre formation en tant que techniciens supérieurs à
l’ISET. Donc, il représente la possibilité de mettre en œuvre toutes nos connaissances
théoriques requises durant les trois dernières années d’études à l’institut puisqu’il offre une
meilleure confrontation avec le milieu de travail avant de s’intégrer réellement dans la vie
professionnelle.
Ce projet de fin d’étude a été réalisé dans la société Médis dans le but d’étudier et concevoir
une table élévatrice.
Dans cette perspective, notre projet parait comme une solution répondant à ces besoins.
Pour se faire, nous avons concentré notre recherche sur cinque axes différents pour obtenir le
besoin. En effet la premier chapitre de ce rapport est réservé à la présentation de la société et à
la mise en situation du projet. A la fin de ce chapitre la problématique sera exposée.
L’étude bibliographique se traite dans le deuxième chapitre ou nous mentionnons une idée
générale sur les tables élévatrices.
Ensuite une analyse fonctionnelle du besoin fera l’objet d’un troisième chapitre, dans lequel
nous identifions les fonctions de service validées et caractériser qui seront la base de
l’élaboration de cahier de charges fonctionnelle “C.D.C.F“ pour chaque sous ensemble du
table.
La recherche des solutions technologiques pour chacune des fonctions des services établit le
quatrième chapitre qu’est l’analyse fonctionnelle technique et pour aboutir à une meilleure
solution, il est nécessaire de faire une recherche progressive et descendante des fonctions
technique a partir de chacun chapitre des services qui répondent aux exigences du “CDCF“
Au niveau de cinquième chapitre, nous étudions le dimensionnement et la validation de la
solution retenue dont la modélisation de la station est réalisée par SOLIDWORKS 2016.
Finalement nous finissons par une conclusion générale.
Etude et conception d’une table élévatrice
ISET Nabeul Page 9 MEDIS
CHAPITRE I :
PRESENTATION DE L’ORGANISME
D’ACCEUIL
Etude et conception d’une table élévatrice
ISET Nabeul Page 10 MEDIS
Introduction
Dans ce chapitre, nous allons présenter la société dans laquelle s’est déroulé notre projet.
Nous identifions, le profil de la société ainsi que ses activités et nous illustrons son
organigramme.
1. Présentation de l’entreprise d’accueil :
- Raison sociale : Les Laboratoires Médis sont une société anonyme de droit tunisien
ayant le mandat de fabriquer et commercialiser divers médicaments génériques qui a
été Fondée en 1995 par l’entrepreneur Lassaad Boujbal.
- Adresse et localisation : L’entreprise se situe à Nabeul au kilomètre 7 sur la route de
Tunis, dans une zone forestière .Le choix du site a été fait pour éviter tout risque de
pollution de l’air, de l’eau et du sol.
- Historique : La création de l’entreprise a connu quatre phases :
 Entre 1995 et 1996 est une phase d’étude et de détermination des cahiers de charges
du matériel.
 Entre 1996 et 1998 est une phase d’installation et d’implantation du matériel
 Entre 1998 et 1999 est une phase de qualification et mise en marche des
équipements.
 De 1999 une phase d’obtention des AMM (Autorisation de Mise sur le Marché) et
de production et vente.
Grâce à ces compétences et l’expertise de son personnel, les laboratoires Médis a pu
afficher rapidement un taux de croissance assez élevé et lance sur le marché Tunisien une
gamme de produits pharmaceutiques relativement variées surtout dans le domaine des
injectables. De ce fait, la compagnie enregistre aujourd’hui un capital plus de 7.777.130 TND.
Figure 1 : Vue externe de Médis
Etude et conception d’une table élévatrice
ISET Nabeul Page 11 MEDIS
2. Activité :
L’activité principale de "Médis" est la production des médicaments stériles à usage
parentérale, qui ne sont pas encore couvertes par la production locale en Tunisie.
Les types pharmaceutiques qui seront produites sont les suivantes :
 Les solutions d’anesthésiques locaux injectables dans des crapulés en verre.
 Les flacons de collyres.
 Les ampoules.
 Les formes sèches.
 Ces produits sont groupés en trois gammes :
 Produits à grand volume de consommation.
 Produits à grande valeur et à petit volume de consommation.
 Produits destinés à l’exportation.
3. Organisations des ressources humaines de la société :
3.1. Effectif :
La société "Médis" possède une ressource humaine très qualifiée et très expérimentée, qui
peut mener les activités de l’entreprise conformément.
Tableau 1: Ressources humaines de Médis
Département ou service Effectif
Direction Générale 11
Département Développent 12
Département Logistique 15
Département de Production 61
Département Contrôle Qualité 20
Département Assurance Qualité 6
Département Maintenance 48
Etude et conception d’une table élévatrice
ISET Nabeul Page 12 MEDIS
3.2. Organigramme de la société :
Figure 2 : organigramme de la société Médis
Direction
Générale
Département
Administratif
Département
Logistique
Centrale
Département
de Production
Département
Contrôle
Qualité
Département
Assurance
Qualité
Département de
Recherche et de
Développement
Département de
Maintenance et
de Sécurité
Service contrôle
biologique
Service contrôle
physico-chimique
Direction des
formes sèches
Direction des
formes stériles
Direction
d’emballage
Service d’achat Service marketing Service vente
Direction d’économie et
gestion
Direction financière Direction des
ressources humaines
Direction commerciale
et marketing
Direction du service
informatique
Etude et conception d’une table élévatrice
ISET Nabeul Page 13 MEDIS
4. Les procédés de fabrication :
Le processus de fabrication dans "Médis" peut être décrit en utilisant la figure suivante :
 Schéma du procédé
4.1. La préparation :
4.1.1. Préparation du matériel :
Tout le matériel destiné à la production, ainsi que les contenants du médicament, doivent
être exempts des fibres ou des particules, et apyrogènes ne contenant pas d’éléments pouvant
provoquer de la fièvre. Le lavage des pièces de machine ainsi que des contenants se fait avec
de l’eau pour préparation injectable, dans des locaux dont l’air est contrôlé.
Ligne de
remplissage
d’ampoules
Ligne de
remplissage
des flacons
Ligne de
production de
seringue
Préparation
Inspection
Emballage
Ligne de
remplissage
des carpules et
collyres
Ligne de
production
forme sèche
Lyophilisation
Figure 3 : procédé de fabrication au sein de Médis
Etude et conception d’une table élévatrice
ISET Nabeul Page 14 MEDIS
La stérilisation a lieu dans des autoclaves, des fours ou des tunnels, à des températures
élevées. Une date de péremption fixe le laps de temps pendant lequel le matériel peut être
utilisé pour la production d’un prochain lot de médicaments injectables.
4.1.2. Préparation du produit (formulation) :
La préparation des médicaments se fait dans un centre de pesée avec un niveau de
stérilité propre. Les matières premières substance active et substances excipient, seront
pesées grâce à des balances très sophistiquées puis dissoutes dans des désolateurs munis
d’agitateurs magnétiques. Une fois la molécule active ainsi « formulée», il faut la rendre
stérile pour qu’elle puisse être injectable.
4.2. La ligne de production :
La ligne de production comporte plusieurs équipements permettant le remplissage de
médicaments dans les meilleures conditions, chaque ligne contient quatre types
d’équipements, qui sont les suivants :
 Des laveuses permettant le lavage et le rinçage des carpules et des flacons avec de
l’eau purifié.
 Des tunnels de stérilisation permettant la stérilisation sèche des carpules et des
ampoules.
 Machines de remplissage permettant le remplissage des solutions des ampoules, des
carpules et des flacons de collyres.
 Machine de capsulage permettant le capsulage des carpules et des flacons.
4.3. La lyophilisation :
La lyophilisation repose sur le principe physique de la sublimation : l’eau contenue
dans une solution passe directement de l’état solide (glace) à l’état gazeux (vapeur) sans
passage par l’état liquide (l’extraction de la poudre stérile à partir de la solution préparée).
4.4. L’inspection :
Après le remplissage, les médicaments à usage parentéral doivent subir un contrôle
individuel destiné à détecter toute contamination ou autre défaut. Lorsque ce contrôle est
effectué visuellement, il doit être fait dans des conditions convenables. Les opérateurs
Etude et conception d’une table élévatrice
ISET Nabeul Page 15 MEDIS
effectuant ces contrôles doivent subir des examens oculaires réguliers, avec leurs verres
correcteurs s‘ils en portent, et avoir droit à des pauses répétées.
4.5. L’emballage :
Une fois le remplissage est achevés, les produits seront transportés grâce à des
chariots vers une chaîne d’emballage ou ils seront encartonnés et emballés. Enfin les produits
finis seront transportés vers le magasin de stockage ou ils seront stockés...
5. Problématique :
5.1. Description des problèmes existe :
Photo Problèmes Causes Conséquences
Inversement de
tourelle et de table
La surface d’appui
entre tourelle et
porte tourelle est
petite
La charge est plus
grande par rapport
à la porte tourelle
Accident de travail
Inversement de
tourelle
Tourelle n’est pas
en équilibre
Accident de travail
Entretien de
tourelle sur sa
place
Entretien et lavage
de matrice et
poinçon sur même
place
Perdre de temps de
production
Etude et conception d’une table élévatrice
ISET Nabeul Page 16 MEDIS
Inversement de la
table avec la
tourelle
Déformation de sol
cause le
basculement de
table et tourelle
Un travailleur
devenir handicapé
Il perd l’utilisation
de son pied de 85%
5.2. Données à propos la table :
1- Charge à élever 2 tonne
2- Des roues pivotantes (l’ancienne roue)
3- Hauteur maximale Hmax = 1180 mm
Figure 4 : la table ancienne
Vu les accidents que les travailleurs peuvent recouvrir au cours de transportation même lors
de leur service autour de la tourelle et vu que le temps de nettoyage de tourelle est long la
société pense à un système assurant le changement et la transportation facile de tourelle par
Etude et conception d’une table élévatrice
ISET Nabeul Page 17 MEDIS
une autre en tout sécurité pour faciliter la tâche de l’équipe de service et éviter de faire un
encombrement dans une zone un peu limitée.
Alors notre groupe de projet va chercher une solution conforme avec le cahier de charge de
client.
Etude et conception d’une table élévatrice
ISET Nabeul Page 18 MEDIS
CHAPITRE II :
ETUDE BIBLIOGRAPHIQUE
Etude et conception d’une table élévatrice
ISET Nabeul Page 19 MEDIS
Introduction
Notre projet consiste à faire l’étude et la conception d'une table élévatrice.
Une table élévatrice, encore appelée table à ciseaux, est un matériel de manutention
permettant de lever ou de baisser une charge. Le mouvement d'élévation est assuré par un
vérin hydraulique ; il est manuel pour les faibles charges et automatique pour les grandes
charges. La course du vérin est amplifiée par des ciseaux, en application du principe de levier.
Les tables élévatrices sont très souvent utilisées pour travailler dans une position la plus
ergonomique possible.
1. Fonctionnement du système :
Le mouvement de levage est générée lorsque le package de ciseaux est ouvert par l'action des
cylindres dans le bloc hydraulique, et le mouvement de descente lorsque l'huile dans le
cylindre est retourné vers le réservoir, le paquet de ciseaux se ferme.
2. Les différents types des tables élévatrices :
2.1. Chariot élévatrice :
 Table élévatrice simple ciseaux
Figure 5 : Table élévatrice simple ciseaux
Etude et conception d’une table élévatrice
ISET Nabeul Page 20 MEDIS
C’est un modèle de table élévatrice qui contient un seul ciseau, elle est utilisée pour l’élevage
de courte hauteur.
 Table élévatrice double ciseaux
Figure 6 : Table élévatrice double ciseaux
C’est un modèle de table élévatrice qui contient 2 ciseaux, elle est utilisée pour l’élevage de
moyenne hauteur.
 Table élévatrice triple ciseaux
Figure 7 : Table élévatrice triple ciseaux
Etude et conception d’une table élévatrice
ISET Nabeul Page 21 MEDIS
C’est un modèle de table élévatrice qui contient 3 ciseaux, elle est utilisée pour l’élevage de
grande hauteur.
2.2. Monte charge
 Table élévatrice mobile
Figure 8 : Table élévatrice mobile
Forte et maniable, optimal pour lever et transporter des charges de tous genres jusqu'à 400
kg ou des levées jusqu'à 1,2 m. Le châssis stable, comprenant 2 galets fixes et 2 roues
pivotantes ainsi qu'un frein à pied, assure un positionnement sûr. La construction robuste à
cadre chromé et tige de piston chromée dur promet une longue fiabilité.
 Table élévatrice à soufflet
Figure 9 : Table élévatrice à soufflet
Etude et conception d’une table élévatrice
ISET Nabeul Page 22 MEDIS
Cette table élévatrice permettant à l'opérateur de gérer lui-même sa hauteur de plateau de
manière à régler sa propre hauteur ergonomique. Le soufflet de protection en toile polyester
fixé sous le plateau et comporte des plis renforcés par des lamelles de PVC.
 Monte-charge à colonnes
Figure 10 : Monte-charge à colonnes
Le plateau est une plate-forme en tôle lisse ou antidérapante, guidée verticalement par des
galets bidirectionnels. Elle comporte des rambardes normalisées sur les faces sans accès. Le
vérin hydraulique est placé en vertical, il assure la course totale ; équipé d'un moulage il
permet de multiplier cette course.
 Nacelle élévatrice
Figure 11 : Nacelle élévatrice
Etude et conception d’une table élévatrice
ISET Nabeul Page 23 MEDIS
Cette nacelle permet d'évoluer en intérieur et extérieur et d'accéder à des zones très confinées
grâce à un faible encombrement au sol. Elle garde néanmoins une zone de travail importante
grâce à un bras pendulaire. Des mouvements d'élévation et de translation proportionnelle et
précise permettront d'améliorer l’efficacité et d'évoluer en toute sécurité lors d'opération de
maintenance ou d'entretien de sites industriels.
3. L'alimentation :
L'alimentation (en général électro-hydraulique) consiste en un moteur électrique, une pompe
hydraulique, un réservoir hydraulique, tuyauterie, robinetterie et système de contrôle
électrique.
Figure 12 : bloc d'alimentation
4. Avantage d’utilisation des Tables élévatrices :
 Plateforme stable
À la différence des treuils, grues ou manipulateurs, les tables élévatrices à ciseaux disposent
d’une plateforme stable pour le levage et l’abaissement de matériel. La probabilité de laisser
tomber une pièce de manière accidentelle est plus faible et le danger de voir une charge
suspendue se balancer et causer des blessures au personnel est éliminé.
 Réglage infini de la hauteur
Une table élévatrice est conçue pour se déplacer doucement vers le haut ou vers le bas jusqu’à
la hauteur désirée et pour maintenir cette hauteur même en cas de panne de courant.
 Polyvalence
Les tables élévatrices peuvent être fournies avec une large gamme d’accessoires, tels que
convoyeurs à rouleaux, plateaux tournants, rampes, abatants... ainsi qu'avec des plateformes
Etude et conception d’une table élévatrice
ISET Nabeul Page 24 MEDIS
munies d'installations spéciales telles qu'étaux et autres dispositifs de positionnement
automatique. Les tables élévatrices peuvent être livrées avec des socles sur roulettes ou avec
des châssis de manutention.
 Mouvement programmable
Le mouvement peut être programmé, et les tables peuvent être intégrées à des systèmes
spéciaux de manutention et des lignes de production.
 Course de levage verticale importante
Une table élévatrice peut être installée dans une fosse pour obtenir une hauteur d’abaissement
de zéro absolu ou sur des versions à hauteur du plancher ou montées au sol, ou équipée de
multiples articulations en ciseaux pour un levage extrêmement haut. Une autre option est la
table élévatrice extra-plate. En raison de sa faible hauteur en position rétractée, la table
élévatrice extra-plate ne nécessite pas l’installation dans une fosse puisqu’elle peut être
directement installée au sol.
 Faible maintenance
Les tables élévatrices sont des machines robustes et résistantes, conçues pour des années
d’utilisation avec un niveau minimal de maintenance.
5. Domaines d’utilisation :
Les tables élévatrices sont utilisées dans tous les secteurs industriels où des levées de charges
sont nécessaires. Elles sont également intégrées dans des chaines de montage et d'assemblage.
Elles représentent également une alternative économique dans des projets d'élévateurs et de
monte charges. Les tables élévatrices sont utilisées dans la construction de bâtiments publics
et privés, dans l'implémentation d'équipements favorisant l'accessibilité des personnes à
mobilité réduite ainsi que dans des solutions sur mesures pour le traitement des ordures
ménagères. Enfin, les tables élévatrices sont souvent un élément clef de la politique
ergonomique des entreprises.
6. Accouplements :
Les accouplements sont utilisés pour transmettre la vitesse et le couple, ou la puissance, entre
deux arbres de transmission en prolongement l'un de l'autre comportant éventuellement des
défauts d'alignement.
Etude et conception d’une table élévatrice
ISET Nabeul Page 25 MEDIS
Figure 13 : Accouplement
 Accouplements rigides
Ils doivent être utilisés lorsque les arbres sont correctement alignés (ou parfaitement
coaxiaux).
Leur emploi exige des précautions et une étude rigoureuse de l'ensemble monté, car un
mauvais alignement des arbres amène un écrasement des portées, des ruptures par fatigue et
des destructions prématurées du système de fixation.
 Accouplements à plateaux
Ce dernier est très utilisés, précis, résistants, assez légers, encombrants radialement, ils sont
souvent frettés ou montés à la presse.
La transmission du couple est en général obtenue par une série de boulons ajustés. En cas de
surcharge, le cisaillement des boulons offre une certaine sécurité.
 Puissance et couple transmissibles par les accouplements
Ils sont liés par la formule :
P : puissance transmise en watts ω : vitesse de rotation en rad/s
C : couple transmis en N.m N : vitesse de rotation en tr/m
Etude et conception d’une table élévatrice
ISET Nabeul Page 26 MEDIS
Conclusion :
Afin de déterminer la recherche bibliographique à propos les tables élévatrices on a trouvé
beaucoup de model multi commande et parmi ces dernier on va fait un choix sur trois tables
différents qui on va les traiter dans le chapitre suivante.
Etude et conception d’une table élévatrice
ISET Nabeul Page 27 MEDIS
CHAPITRE III :
ANALYSE FONCTIONNELLE
Etude et conception d’une table élévatrice
ISET Nabeul Page 28 MEDIS
Introduction
Chaque produit industriel passe par un cycle de vie dès l’idée jusqu’à l’utilisation et
pour assurer le fonctionnement correcte de notre projet il faut bien étudier l’analyse
fonctionnelle, c’est un outil performant, caractériser, ordonner, hiérarchiser et valoriser les
fonctions d’un produit. Elle permet d’avoir une vision claire des exigences attendues du
produit. Ceci permet :
- D’aboutir à un cahier des charges précis du produit attendu.
- Répondre au besoin d’utilisateur satisfait.
1. Modélisation du système :
- Fonction globale : Manutention des charges.
- Matière d’œuvre entrante(MOE) : charge en position initiale.
- Matière d’œuvre sortante(MOS) : charge en position finale.
- Donnés de contrôle : énergie électrique(WE), énergie hydraulique(WH), Réglage,
Tourelle, opérateur.
- Processeur : Table élévatrice mobile.
-
2. Analyse de besoin :
Il convient dans un premier temps de rechercher l’information nécessaire pour identifier
les différentes phases du cycle de vie du produit depuis son stockage jusqu’à son retrait de
Manutention des
charges
Charge en position
initiale
Charge en position
final
Opérateur WE, W H Réglage Tourelle
A-0
Table élévatrice mobile
Figure 14 : description globale d'un produit
Etude et conception d’une table élévatrice
ISET Nabeul Page 29 MEDIS
service, en passant par son utilisation “pure“. Pour chaque situation, il est recommandé de
lister les éléments, personne, matériels, matières qui constituent l’environnement du produit.
Les activités qui suivent vont être réalisées pour chacune des phases du cycle de vie de
produit au sein du groupe de travail qui a été mis en place.
2.1. Saisir les besoin :
Cette phase du cycle de vie d’un produit industriel concerne plus particulièrement les
services qualité et service commerciale.
Les activités des Laboratoires Médis sont attachées directement aux médicaments, pour
préparer ces derniers la société utilise des machines avec des tourelles poisseux “1.5 tonne“,
mais le problème apparaisse lors de transporter une tourelle sur un table avec des roues
spéciaux, de l’atelier production à l’atelier de lavage, ou le risque de basculement s’existe qui
provoque l’inversement de tourelle a cause de difficulté au niveau de la méthode de transport.
Pour cela la société décide d’améliorer la table ou de fabriquer une autre qui facilite le
déplacement et supporte la charge en toute sécurité sans causer des accidents.
L’outil considéré est une table élévatrice mobile.
2.2. Enoncer le besoin :
Pour justifier la conception de notre projet, il faut expliciter l’exigence fondamentale qui
exprime avec rigueur le but et les limites de l’étude.
Afin d’énoncer le besoin, il faut poser les trois questions suivantes concernant notre projet :
Etude et conception d’une table élévatrice
ISET Nabeul Page 30 MEDIS
Figure 15 : Diagramme bête à cornes
2.3.Validation de besoin :
Afin de bien déterminer le besoin que la table doit satisfaire, il faut vérifier que le niveau de
satisfaction de notre produit reste assez élevé, pour se faire, on doit répondre aux questions
suivantes :
1- Pourquoi ce besoin existe-t-il ?
 Pour aider les techniciens à soulever les charges.
2- Pensez-vous que les risques de voir disparaitre ou évoluer ce besoin sont réels
dans un proche avenir ?
 D’après l’évolution conçue dans le domaine de l’industrie le produit ne
peut pas disparaitre.
Conclusion
Le besoin existe, il ne va pas disparaitre à moyen terme, donc le besoin est validé.
3. Analyse fonctionnelle externe : étude de la faisabilité :
Cette étude consiste à traduire, tous les éléments que nous venons de réunir et à vérifier la
viabilité de notre projet.
A quoi ou à qui rend-il service ? Sur quoi ou sur qui agit-il ?
L’utilisateur La Tourelle
Table élévatrice
mobile
Produit :
Manutention des charges
Dans quel but ?
Etude et conception d’une table élévatrice
ISET Nabeul Page 31 MEDIS
3.1.Identifier les fonctions de services :
Il s’agit pour chaque phase de cycle de vie de produit de dresser les inters acteurs qui se
trouvent en situation d’interagir avec le système.
On utilise pour cela un outil de la méthode APTE c’est la Pieuvre.
3.1.1. Éléments d’environnement :
 Tourelle ;
 Opérateur ;
 Normes de sécurité ;
 Techniques de commande ;
 Milieu de travail ;
 Prix ;
 Énergie de commande ;
3.1.2. Diagramme pieuvre :
Table élévatrice
Opérateur
Norms de
sécurité
Fc6
FP2
Fc4
Technique de
commande
Énergie
FP1
PrixFc2
Tourelle
Fc5
Fc1
Encombrement Milieu de
travail
Fc3
Figure 16 : Diagramme PIEUVRE
Etude et conception d’une table élévatrice
ISET Nabeul Page 32 MEDIS
3.1.3. Identification des fonctions de service :
Les fonctions principales :
 FP1 : Permettre à l’opérateur de transporter la tourelle vers l’atelier de lavage.
 FP2 : Protéger l’opérateur de danger.
Les fonctions contraintes :
 FC1 : Respecter les normes de sécurité.
 FC2 : Avoir un prix acceptable
 FC3 : protéger le milieu de travail.
 FC4 : occuper un petit espace de rangement.
 FC5 : s’adapter aux énergies disponibles.
 FC6 : commander la table.
3.2.Validation des fonctions de service :
La validation des fonctions de service identifiées se fait en rependant aux quatre questions
suivantes :
 Q1 : dans quel but la fonction existe-t-elle ?
 Q2 : pour quel raison la fonction existe-t-elle ?
 Q3 : Qu’est-ce qui pourrait la faire disparaitre ou la faire évoluer ?
 Q4 : quelle est la probabilité de disparition ou d’évolution ?
 FP1 : Permettre a l’opérateur de transporter la tourelle vers l’atelier de lavage.
R1 pour minimise le temps de maintenance et le temps d’arrêt de production.
R2 Parce que la manipulation de ces grands charges est dangereuse.
R3 Tourelle ne tombe pas en panne par l’incessant de manutention
R4 Probabilité faible
Validation Fonction validée.
 FP2 : Protéger l’opérateur de danger.
R1 Pour éviter les accidents de travail.
R2 Parce qu’un ouvrier a été blessé durant la manipulation de la tourelle
R3 La maintenance fait sur place.
R4 L’évolution des normes et réglementations sur la sécurité des usagers
Validation Fonction validée.
Etude et conception d’une table élévatrice
ISET Nabeul Page 33 MEDIS
 FC1 : Respecter les normes de sécurité.
R1 Pour protéger la vie des utilisateurs.
R2 Par ce que pas des signes d’avertissement de danger sur la table.
R3 Incompréhension des normes de sécurité.
R4 Probabilité Nulle
Validation Fonction validée.
 FC2 : Avoir un prix acceptable.
R1 Pour facilité le vende
R2 Par ce que l’ancien table est très chers
R3 S’il est obligatoire d’acheter une table sans discuter à propos le prix.
R4 Probabilité faible
Validation Fonction validée.
 FC3 : Résister au milieu de travail
R1 Pour un bon déroulement de l’opération de transport de tourelle
R2 Par ce que la forme de milieu peut être n’est pas plane
R3 S’il existe une fuite ou une déformation de terrain
R4 Probabilité Nulle
Validation Fonction validée.
 FC4 : occuper un petit espace de rangement.
R1 Pour éviter les accidents de travail
R2 Parce que la manipulation de ce genre de bobines est dangereuse.
R3 Existence d’une autre table plus praticable
R4 Probabilité faible
Validation Fonction validée.
 FC5 : s’adapter aux énergies disponibles.
R1 Pour l’alimentation du mécanisme l’énergie électrique.
R2 Car c’est la seule énergie autorisée dans le cahier de charge.
R3 La présence d’une autre source d’énergie
R4 Probabilité Nulle
Validation Fonction validée.
Etude et conception d’une table élévatrice
ISET Nabeul Page 34 MEDIS
 FC6 : commander la table.
R1 Pour minimiser l’erreur humaine
R2 Par ce que l’opérateur ne peut pas transporter la tourelle
R3 L’évaluation de produit
R4 Probabilité Nulle
Validation Fonction validée.
3.3.Caractériser les fonctions de service :
Le processus de conception induit de fréquentes prises de décisions afin de valider une
solution par rapport au CDCF. On établie une base d’évaluation du niveau de satisfaction des
fonctions de service afin de prendre des décisions objectives. Donc, chaque fonction de service est
caractérisée par des critères d’appréciation dont chacun est associé à un niveau et à une flexibilité.
Tableau 2 : degrés de flexibilité
Flexibilité Classe de flexibilité Niveau de flexibilité
Nulle F0 Imperative
Très faible F1 Non Négociable
Faible F2 Peu Négociable
Bonne F3 Négociable
Forte F4 Trèsnégociable
Etude et conception d’une table élévatrice
ISET Nabeul Page 35 MEDIS
Tableau 3 : Caractéristiques des fonctions des services
Fonction de service Critère Niveau Flexibilité
Classes Limites d’acceptation
FP1 : Permettre a l’opérateur de
transporter la tourelle vers l’atelier de lavage.
 Vitesse d’élever ou de baisser la Touelle.
 Hauteur de levage
 Poids
 1m/min
 1.08m
 1.5 tonne
 F1
 F2
 F1
 0.1 / minm
 -0.05m
 ±0.5 tonne
FP2 : Protéger l’opérateur de danger  Distance minimale de l’opérateur par
rapport à la table en court de fonctionnement
 Charge maximale supporté
 0.5m
 1700 kg
 F0
 F0
 ± 0.2m
 ±100 kg
FC1 : Respecter les normes de sécurité.  Norme relative à la manutention
 Validation des spécifications des normes
 Vrai
 Vrai
 F1
 F1
FC2 : Avoir un prix acceptable  Cout totale  10.000 DT  F3  ±1000 DT
FC3 : Résister au milieu de travail  Traitement pour ambiance agressive  Sablage et peinture
adaptée
 F3
FC4 : Occupé un petit espace de rangement.  Forme  être la moins
volumineuse
possible
 F2
FC5 : s’adapter aux énergies disponibles.  Energie électrique  ~ 3 ph–380 V–
50 Hz
 F0
FC6 : commander la table  Réglage et asservissement  Contrôle et suivie de
fonctionnement
 F0
Etude et conception d’une table élévatrice
ISET Nabeul Page 36 MEDIS
Importance relative Note
Equivalence 0
Légèrement supérieur 1
Moyennement supérieur 2
Nettement supérieur 3
4. Hiérarchiser les fonctions de services :
FP2 FC1 FC2 FC3 FC4 FC5 FC6 moyen %
FP1 FP2
2
FP1
2
FP1
1
FP1
1
FP1
3
FP1
1
FP1
1
11 27.5
FP2 0 FP2
2
FP2
2
FP2
3
FP2
2
FP2
1
12 30
FC1 FC1
2
FC1
2
FC1
2
FC1
1
FC6
1
7 17.5
FC2 FC2
1
0 FC5
1
FC6
0
1 2.5
FC3 0 FC5
1
FC6
2
0 -
FC4 FC5
1
FC6
1
0 -
FC5 FC6
2
3 7.5
FC6 6 15
Totale 40 100
Figure 17 : matrice d'hiérarchisation
Etude et conception d’une table élévatrice
ISET Nabeul Page 37 MEDIS
Figure 18 : Graphe d'hiérarchisation
Conclusion
 L’analyse fonctionnelle permet :
- De mieux définir le besoin
- De mieux adapter le produit au besoin
- De ne rien oublier au moment de la conception
- D’innover
- De diminuer les modifications de mise au point
- La synergie du travail de groupe
 La combinaison de la rigueur et de la créativité
0
5
10
15
20
25
30
FP2 FP1 FC1 FC6 FC5 FC2 FC3 FC4
30
27.5
17.5
15
7.5
2.5
0 0
Pourcentage %
Etude et conception d’une table élévatrice
ISET Nabeul Page 38 MEDIS
CHAPITRE IV:
ANALYSE FONCTIONNELLE TECHNIQUE
ET CHOIX DES SOLUTIONS
TECHNOLOGIQUES
Etude et conception d’une table élévatrice
ISET Nabeul Page 39 MEDIS
Introduction
Pour concrétiser les fonctions de services dégagées dans le chapitre précédent, nous allons
effectuer une analyse fonctionnelle technique qui devra nous conduire au choix des solutions
technologiques. Nous utiliserons dans ce cas la méthode FAST.
1. Analyse fonctionnelle technique :
L’analyse fonctionnelle technique a pour objectif d’observer la manière selon laquelle un
produit rend les services attendus, elle doit conduire à travers l’analyse intérieure du produit, à
la définition des fonctions techniques dont leur conjugaison conduit à la réalisation des
fonctions de service lors de l’A.F.B.
1.1 Présentation de la méthode FAST :
On profite de la méthode FAST: « Function Analysis System Technic », cet outil
établie le lien entre le besoin fondamental et l’architecture d’un produit tout en passant
par les fonctions de services et les fonctions techniques.
Selon le cas dans lequel existe notre projet : préconception d’un produit existant ou
conception d’un nouveau produit, on parle de FAST descriptif ou créatif.
En ce qui concerne notre projet on utilise le FAST créatif.
Etude et conception d’une table élévatrice
ISET Nabeul Page 40 MEDIS
1.2 FAST créatif : « séquence d’utilisation » :
FP1 : Permettre a l’opérateur de transporter la tourelle vers l’atelier de lavage
FP1
Maintenir en
position
Lever et
baisser la
tourelle
Déplacement
de la table
Goupille
Etau
Butée de serrage
Forme conique
Plate mobile
Plate fixe
Système vis
écrou
Monte
charge
Les
ciseaux
Deux vérins
hydrauliques
Système
d’entrainement
Deux
ciseaux
Guidage en
rotation des
liaisons
pivots
Guidage en
translation de
l’extrémité
des ciseaux
avec la plate
forme et le
châssis
Roue
Profilé
Articulation
+ coussinet
Rails
Galets
Etude et conception d’une table élévatrice
ISET Nabeul Page 41 MEDIS
Etude et conception d’une table élévatrice
ISET Nabeul Page 42 MEDIS
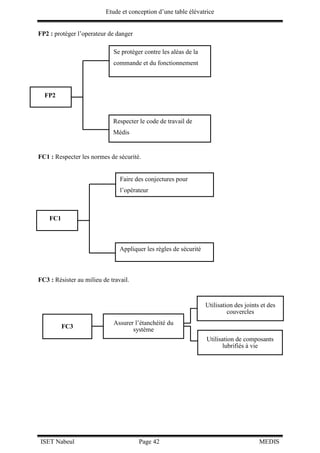
FP2 : protéger l’operateur de danger
FP2
FC1 : Respecter les normes de sécurité.
FC1
FC3 : Résister au milieu de travail.
FC3
Assurer l’étanchéité du
système
Utilisation des joints et des
couvercles
Utilisation de composants
lubrifiés à vie
Se protéger contre les aléas de la
commande et du fonctionnement
Respecter le code de travail de
Médis
Faire des conjectures pour
l’opérateur
Appliquer les règles de sécurité
Etude et conception d’une table élévatrice
ISET Nabeul Page 43 MEDIS
FC5 : s’adapter aux énergies disponibles
FC6 : commander la table
2. Choix des solutions technologique :
2.1. Critère de choix :
Tableau 4 : valorisation d'interet
Note Intérêt de la solution
1 Douteuse
2 Moyenne
3 Bien adapté
FC5
Énergie électrique
se connecter au
reseau R1: Prise
transforme le type
de courant R2:transformateur
Énergie
hydraulique
R3:Centrale
hydraulique
R4:Vérin
hydraulique
FC6 commande de la table
S1:Carte elecronique
S2: sercuite electrique
Etude et conception d’une table élévatrice
ISET Nabeul Page 44 MEDIS
Tableau 5 : Valorisation globale
S1 S2 S3 S4
Critère Coefficient α Note Total Note Total Note Total Note Total
fonctionnalité 4 2 8 3 12 3 12 2 8
fiabilité 3 2 6 2 9 3 6 1 3
réalisabilité 2 1 4 2 6 3 4 1 2
Coût 3 2 6 3 9 3 9 2 6
montabilité 2 1 4 2 6 3 6 1 2
Total pondéré 28 42 37 21
 La solution 2 est la plus adéquate
Maintenir en position
S1:Goupille
S2:Etau
Pate fixe
Pate mobile
systeme vis ecrouS3:Butée de serrage
S4:Forme conique
K l’importance de la fonction
1 Utile
2 Nécessaire
3 Importante
4 Très importante
5 Vitale
Etude et conception d’une table élévatrice
ISET Nabeul Page 45 MEDIS
S1 S2
Critère Coefficient α Note Total Note Total
fonctionnalité 4 3 12 3 12
fiabilité 3 3 9 2 6
réalisabilité 2 3 6 2 4
Coût 3 3 9 2 6
montabilité 2 3 6 2 4
Total pondéré 42 32
 La solution 1 est le meilleur
Guidage en translation de l'extrémité des
ciseaux avec le plate forme et le chassis
S1:galets
S2:rails
commande de la table
S1:Carte elecronique
S2:sécurité électrique
Etude et conception d’une table élévatrice
ISET Nabeul Page 46 MEDIS
S1 S2
Critère Coefficient α Note Total Note Total
fonctionnalité 4 3 12 3 12
fiabilité 3 2 6 3 9
réalisabilité 2 2 4 3 6
Coût 3 2 6 3 9
montabilité 2 2 4 3 6
Total pondéré 32 42
 La solution 2 est le meilleur
S1 S2 S3
Critère Coefficient α Note Total Note Total Note Total
fonctionnalité 4 3 12 3 12 1 2
fiabilité 3 3 9 2 6 2 6
réalisabilité 2 2 4 2 4 4 8
Coût 3 3 9 2 6 2 6
montabilité 2 3 9 2 4 2 4
Total pondéré 43 32 26
 La solution 1 est le meilleur
Energie
Electrique
se connecter au
reseau
S1: Prise
transforme le type
de courant
S2:transformateur
Hydraulique S3: Vérin hydraulique
Etude et conception d’une table élévatrice
ISET Nabeul Page 47 MEDIS
Fonction Solution convenable
Maintien en position S3 : Butée de serrage
Guidage en translation de l'extrémité des ciseaux
avec le plateforme et le châssis
S1 : galets
Commande de la table S2 : sécurité électrique
Énergie électrique S1 : Prise
Etude et conception d’une table élévatrice
ISET Nabeul Page 48 MEDIS
Figure 19 : Diagramme FAST
FP1
Maintenir en
position
Lever et baisser
la tourelle
Etau
Système vis
écrou
Monte
charge
Les
ciseaux
Deux vérins
hydrauliques
Système d’entrainement
Deux ciseaux
Guidage en rotation des
liaisons pivots
Guidage en translation
de l’extrémité des
ciseaux avec la plate
forme et le châssis
Profilé
Articulation +
coussinet
Galets
Déplacement de
la table
Roue
FC6 Commende de la
table
Sécurité électrique
FC5 Energie électrique Se connecter au réseau Prise
Transporter
la tourelle
Etude et conception d’une table élévatrice
ISET Nabeul Page 49 MEDIS
CHAPITRE V :
DIMENSIONNEMENT DE PROJET
Etude et conception d’une table élévatrice
ISET Nabeul Page 50 MEDIS
Introduction
Cette étude consiste à effectuer un calcul géométrique aboutissant au dimensionnement de la
table suivie de calcul des réactions aux différentes articulations afin de pouvoir caractériser le
système vis écrou et le moteur électrique.
1. Schéma de la table élévatrice :
Figure 20 : structure de la table élévatrice
Composant quantité Désignation
1 1 Châssis
2 4 ciseaux
3 4 galets
4 1 plateforme
2. Calcule des réactions appliquées sur la table supérieure
(plateforme) :
2
D= 1600
Ө
1
4
B
A
d=1200
Y
Z
Mx
My
Mz
C
E
F
H=900
3
X
D
A C
D= 1600
Charge W/2
Ra Rc
B
Figure 21 : les réactions au niveau de la plateforme
D : longueur de la table (mm).
H : hauteur de la table en positon haute (mm).
h : hauteur de la table en positon basse (mm).
θ : Angle du ciseau avec l’horizontale (degré).
d : longueur des ciseaux (mm).
Etude et conception d’une table élévatrice
ISET Nabeul Page 51 MEDIS
𝑤
2
: Force appliquée par la charge
W = 20000 N
AC =D ; AB+ D/2 avec D=1600 mm
{𝜏} 𝐴 = {
0
𝑅𝑎
0
|
0
0
0
}
𝐴
; {𝜏} 𝐵 = {
0
−𝑅𝑏
0
|
0
0
0
}
𝐵
; {𝜏} 𝐶 = {
0
𝑅𝑐
0
|
0
0
0
}
𝐶
;
Transfert vers le point A :
{𝜏} 𝐴 = {
0
−𝑅𝑏
0
|
0
0
−800 ∗ 𝑅𝑏
}
𝐴
; {𝜏} 𝐴 = {
0
𝑅𝑐
0
|
0
0
1600 ∗ 𝑅𝑐
}
𝐴
;
 On applique le PFS :
1 ∑ 𝐹 𝑒𝑥𝑡 = 𝑅𝑎 − 𝑅𝑏 + 𝑅𝑐 = 0
2∑ 𝑀𝑓𝑡 𝑒𝑥𝑡/ 𝐴= −𝑅𝑏 ∗ 800 + 1600 ∗ 𝑅𝑐 𝑅𝑐 =
𝑅𝑏∗800
1600
Or 𝑅𝑏 =
𝑊
2
= 10000 𝑁 alors 𝑅𝑐 =
10000∗800
1600
= 5000 𝑁
L’équation 1 donne : Ra =Rb - Rc Ra = 10000 – 5000 = 5000 N
Ra = 5000 N
Rb= 10000 N
Rc=5000 N
Etude et conception d’une table élévatrice
ISET Nabeul Page 52 MEDIS
 Torseur de cohésion :
 Coupure entre A et B : 0≤ x ≤800
{𝜏 𝑐𝑜ℎ} 𝐺 = −{𝜏 𝐴} 𝐺 = {
0
−𝑅𝑎
0
|
0
0
𝑥 ∗ 𝑅𝑎
}
𝐺
𝑆𝑖 𝑥 = 0 𝑎𝑙𝑜𝑟𝑠 {
𝑇 = −𝑅𝑎 = −5000 𝑁
𝑀𝑓𝑔𝑧 = 0 ∗ 𝑅𝑎 = 0 𝑁. 𝑚𝑚
;
𝑆𝑖 𝑥 = 800 𝑎𝑙𝑜𝑟𝑠 {
𝑇 = −𝑅𝑎 = −5000 𝑁
𝑀𝑓𝑔𝑧 = 800 ∗ 𝑅𝑎 = 4 ∗ 106
𝑁. 𝑚𝑚
 Coupure entre B et C : 800≤ x ≤1600
{𝜏 𝑐𝑜ℎ} 𝐺 = +{𝜏 𝐶} 𝐺 = {
0
𝑅𝑐
0
|
0
0
(1600 − 𝑥) ∗ 𝑅𝑐
}
𝐺
𝑆𝑖 𝑥 = 800 𝑎𝑙𝑜𝑟𝑠 {
𝑇 = 𝑅𝑐 = 5000 𝑁
𝑀𝑓𝑔𝑧 = (1600 − 800) ∗ 𝑅𝑐 = 4 ∗ 106
𝑁. 𝑚𝑚
;
𝑆𝑖 𝑥 = 1600 𝑎𝑙𝑜𝑟𝑠 {
𝑇 = 𝑅𝑐 = 5000 𝑁
𝑀𝑓𝑔𝑧 = (1600 − 1600) ∗ 𝑅𝑐 = 0 𝑁. 𝑚𝑚
CB
G
1600-x =GC
A B
G
x =AG
Etude et conception d’une table élévatrice
ISET Nabeul Page 53 MEDIS
Figure 22 : diagramme de l'effort tranchant
Figure 23 : diagramme de moment fléchissant
2.1. Interprétation :
On interprète avec une bref démonstration que les valeurs obtenue sont identique avec celle
qui sont afficher par le logiciel “RDM6“.
2.2. Condition de résistance à la flexion :
𝜎 𝑚𝑎𝑥 =
𝑀 𝑓 𝑚𝑎𝑥
𝜇 𝑧
≤ 𝑅 𝑝𝑒
Avec :
𝑅 𝑝𝑒 =
𝑅 𝑒
𝑠
: Résistance pratique à l’extension ; s=2 : coefficient de sécurité
𝜇 𝑧 =
𝐼 𝐺𝑍
𝑣
: Module de flexion
Etude et conception d’une table élévatrice
ISET Nabeul Page 54 MEDIS
𝐼 𝐺𝑍 =
𝐵𝐻3−𝑏ℎ3
12
Figure 24 : profil de la poutre
Le matériau utilisé est X2CrNi 19-11 (Acier Inoxydables) 𝑅 𝑒 = 300 𝑀𝑃𝑎(Voir annexe 1)
Alors A.N : 𝑅 𝑝𝑒 =
300
2
= 150 MPa
𝑀 𝑓 𝑚𝑎𝑥
𝜇 𝑧
≤ 𝑅 𝑝𝑒  𝜇 𝑧 =
𝑀 𝑓 𝑚𝑎𝑥
𝑅 𝑝𝑒
A.N: 𝜇 𝑧 =
4000000
150
= 26666.66𝑚𝑚4
𝜇 𝑧 ≥ 26666.66 𝑚𝑚4
= 2.666 𝑐𝑚4
D’après l’abaque on prend 𝜇 𝑧 = 2.73 𝑐𝑚4
(voir annexe 2)
H=40 mm
B=27 mm
e=2 mm
Vérification :
𝑀 𝑓 𝑚𝑎𝑥
𝑏ℎ3
12
≤
𝑅𝑝𝑒
2
A.N:
4000000
2.73
× 10−4
=146.5 ≤
300
2
= 150
Donc , Condition vérifié.
2.3. Simulation solidworks :
Etude et conception d’une table élévatrice
ISET Nabeul Page 55 MEDIS
D’après la simulation numérique, la contrainte de Von Mises atteint un maximum de 11.74 MPa au
niveau de center de plateforme.
Le déplacement maximal atteint 0.01 mm à l’extrémité supérieure de la structure. Pour les autres
extrémités, le déplacement est plus important..
Etude et conception d’une table élévatrice
ISET Nabeul Page 56 MEDIS
3. Calcul des réactions appliquées sur les ciseaux :
Figure 25 : les ractions appliquées sur les ciseaux
 1 0 2 cos( ) cos( ) sin( )
4
F Y X
W
M L F L F L            
 2 1 0X X XF F R  
 3 1 0
4
Y YY
W
F F R    
 4 2 ( ) ( ) ( ) 0
4
D Y X
W
M L COS F L COS F L SIN           
 5 2 0X X XF F R   
 6 2 0
4
Y Y Y
W
F F R    
On a 6 equations et 6 inconus
 L’équation 1 donne :
2 cos( ) cos( ) sin( ) 0
4
Y X
W
L F L F L           
2 cos( )
sin( )4
cos( ) cos( )
X
Y
W
L
F L
F
L L
 
 
 
 
 
 
tan( )
2
Y X
W
F F   
 L’équation 4 donne :
CA
ө F өD
E E
Etude et conception d’une table élévatrice
ISET Nabeul Page 57 MEDIS
2 cos( ) cos( ) sin( ) 0
4
Y X
W
L F L F L          
2 cos( )
cos( )4
sin( ) sin( )
Y
X
W
L
F L
F
L L
 
 
 
 
 
 
2
tan( ) tan( )
Y
X
W
F
F
 
 
On a l’expression de Fy alors :
tan( )
2 tan( ) 2 tan( ) tan( )
X
X
FW W
F

  

  
2
2
tan( )
X X
W
F F


 
2 tan( )
X
W
F


Alors on calcule Fy :
( ) tan( )
2 2 tan( )
W W
Fy 

 
0
2 2
W W
Fy   
 L’équation 2 donne :
1 0X XR F  
Alors 1X XR F
 L’équation 5 donne :
2 0X XR F 
Alors 2X XR F
Donc : 1 2
2tan( )
X X X
W
F R R

  
Etude et conception d’une table élévatrice
ISET Nabeul Page 58 MEDIS
 L’équation 3 donne :
1 0
2
W
Fy Ry  
Avec Fy = 0
1
4
W
Ry 
L’équation 6 donne :
2 0
2
W
Fy Ry  
2
4
W
Ry 
Donc : 1 2
4
W
Ry Ry 
Tableau 6 : les expresions des reactions appliquées aux ciseaux
Force Expression
XF
2tan( )
W

yF 0
1XR
2tan( )
W

2XR
2tan( )
W

1Ry
4
W
2Ry
4
W
3.1. Calcule de l’angle  :
L’angle  min= sin−1
(
ℎ
𝑑
) avec d=1200 mm
Alors  min = sin−1
(
200
1200
) = 9.59 °
Et  max = sin−1
(
900
1200
) = 48.59 °
Etude et conception d’une table élévatrice
ISET Nabeul Page 59 MEDIS
Le basculement de la table se fait la plus part au niveau haute alors on prend  max pour
calculer les inconnus.
3.2. Simulation solidworks et interprétation :
D’après la simulation numérique, la contrainte de Von Mises atteint un maximum de
7.03*10^6 MPa au niveau de l’arrondie puisque l’effort distribué sur la totalité de la structure
se transforme en un moment fléchissant concentré à la base.
Le déplacement maximal atteint 8.22*10^-4 mm à l’extrémité supérieure de la structure. Pour
les autres extrémités, le déplacement est plus important, c’est due à la différence entre les
raidisseurs de base et les raidisseurs supérieurs qui sont plus petits.
Etude et conception d’une table élévatrice
ISET Nabeul Page 60 MEDIS
4. Chapes aux extrémités du plateau et du châssis :
4.1. Dimensionnement des chapes :
P adm (Glissant sous charge, conditions de fonctionnement moyennes).
4
adm
F
e
d P


 
4 5000
6.63
50 20
e mm


 
 
5. Dimensionnement des boulons de fixation du (palier +
plateforme) :
(Voir annexe 3)
Figure 26 : palier
2
| |
| |
4
T
d



 
 
 
;
Etude et conception d’une table élévatrice
ISET Nabeul Page 61 MEDIS
| | ;Rpg  2
| |
4
T
Rpg
d

 
 
 
Avec | | 10000T  N
2 4.
.
T
d
Rpg
 ;
4.
.
T
d
Rpg
 ;
4 5000
12.11
43.4
d mm


 

On prend un Vis M16 pour garantir une résistance suffisante au cisaillement et en particulier
éviter le maximum de matage et des trous au niveau du tube rectangulaire à cause de la faible
épaisseur de ses parois (vaut 2 mm).
5.1. Calcule de durée de vie de roulement de palier :
(Voir annexe 4)
e=1.14
5000
4.2
21050
a
r
F
F
  donc a
r
F
e
F
 soit X=0.35 et Y=57
r aP X F Y F   
0.35 5000 0.35 21000 12880P N    
3
6
10
24500
6.88 10
5000
n
C
L tours
P
   
      
   
10
60
h
L
L
n


6
6.15 10
25481
60 4.5
hL h

 

5.2. Calcule des boulons au cisaillement :
La vis de diamètre d = 30 mm Avec dmoy = d - 0,5. Pas et dmoy = d - Pas -2a
 Filet carré
 Pas=6mm
 Résistance pratique en traction : Rpe = 5 0 daN/mm2
 Coefficient de frottement : f= 0,1
 Ecrou de hauteur : H= 72 mm
 Résistance pratique au cisaillement : Rpg = 10 daN/mm2
 Pression maximal admissible : Padm = 12N lmm2
 A=0.5mm
Etude et conception d’une table élévatrice
ISET Nabeul Page 62 MEDIS
 D1=d-Pas
 Pour faire monter une charge Q = 1800 daN
5.2.1. Réversibilité de system vis –écrou :
tan f  1
tan f 
 5.71
Angle d’inclinaison de l’hélice
2
p
ta
d
 2 0.5 30 (0.5 6) 27d dmoy d p       mm
1 6
tan 4.046
27


  
  
 
  Moment moteur le système est irréversible
5.2.2. Couple nécessaire par déplacement charge :
Vis progresse contre la charge axiale
tan( )
2 2
Dmoy Dmoy
C Ft Fa        (Fa=Q)
3
10
30 0.5
18000 tan(5.71 4.046)
2
AN C

 
    
 
41.781 .C N m
5.2.3. Calculer le rendement du système vis écrou :
tan tan(4.046)
0.41138
tan( ) tan(5.71 4.046)


 
  
 
5.2.4. Résistance de la vis :
La vis est sollicitée à (la compression +torsion)
1.3
Rpe
  eq epK R  /
eq peK R 
2 2
2
4 18000 50
4.33 / 38.46 /
(30 6 2) 1.5
4
Q
daN mm daN mm
d moy 

   
  
Etude et conception d’une table élévatrice
ISET Nabeul Page 63 MEDIS
1.3
Rpe
  la vis résiste
 Résistance de filet au cisaillement
Q
Rpe avec
dmoy H
 

 
 
21800
0.345 / 10
23 72
daN mm

 
 
 Le filet et résiste au cisaillement
Vérifier la résistance des filets au matage
2 2
( )
4
Fa
P Padm
d D n

 
72
12
6
h
n
pas
  
2
2 2
4 18000
12 /
(30 24 ) 12
N mm



  
1
1 30 6 24
D d pas
D
  
 
   
 La vis résiste au matage
6. Choix motoréducteur :
On a la force maximale dans hauteur max=1m donc on choisira un moteur-réducteur plus
proche de notre calcule en choisir un moteur-réducteur :
6.1. Sélection de l’actionneur mécanique :
L’actionneur mécanique est une vis sans fin hélicoïdale.
La machine est programmée pour lever le produit jusqu’à la hauteur désirée si et seulement si
la commande reçoit un signal du capteur de position indiquant que les galets se situe .
 La vitesse de la table est fixée pour VT= 0,1 m/min.
 Une charge axial F= 21050N = 21,05 KN
 La hauteur de la charge maximale est 1180 mm
D’après le fournisseur allemand, on a choisi un vérin à vis en matériaux inoxydable qui a les
caractéristiques suivantes :
Charge axiale admissible 10 KN
Etude et conception d’une table élévatrice
ISET Nabeul Page 64 MEDIS
Course 1800 mm
Diamètre primitif de la vis 40 mm
Pas 5 mm
Rapport de réduction : i 5
Rendement statique de roue vis
sans fin: ηs
0,603
Rendement dynamique de roue vis
sans fin : ηd
0,618
7. Table en 3D :
Figure 27 : Table au niveau haute
Etude et conception d’une table élévatrice
ISET Nabeul Page 65 MEDIS
Figure 28 : table au niveau bas
Figure 29 : liaison plateforme et ciseau
Etude et conception d’une table élévatrice
ISET Nabeul Page 66 MEDIS
CHAPITRE VI :
DOSSIER TECHNIQUE
Etude et conception d’une table élévatrice
ISET Nabeul Page 67 MEDIS
Introduction
Dans ce chapitre on va présenter les dessins des définitions des différentes pièces
1. Les dessins des définitions :
Etude et conception d’une table élévatrice
ISET Nabeul Page 68 MEDIS
Etude et conception d’une table élévatrice
ISET Nabeul Page 69 MEDIS
Etude et conception d’une table élévatrice
ISET Nabeul Page 70 MEDIS
Etude et conception d’une table élévatrice
ISET Nabeul Page 71 MEDIS
Etude et conception d’une table élévatrice
ISET Nabeul Page 72 MEDIS
Etude et conception d’une table élévatrice
ISET Nabeul Page 73 MEDIS
Etude et conception d’une table élévatrice
ISET Nabeul Page 74 MEDIS
Etude et conception d’une table élévatrice
ISET Nabeul Page 75 MEDIS
Etude et conception d’une table élévatrice
ISET Nabeul Page 76 MEDIS
Etude et conception d’une table élévatrice
ISET Nabeul Page 77 MEDIS
Conclusion :
Dans ce chapitre, nous avons déterminée les dessins de définitions des différentes pièces et
nous avons précisé leurs nomenclatures à travers SOLIDWORKS.
Etude et conception d’une table élévatrice
ISET Nabeul Page 78 MEDIS
Conclusion générale
D’un point de vue personnel, ce stage nous a apporté des satisfactions tant au niveau
relationnel que professionnel, et a répondu presque à tout ce que nous en attendons. Les
employés nous ont offert un encadrement de grande qualité qui est un critère très important
pour un stagiaire. La compétence de ceux qui nous supervisaient s’est retrouvée pas
seulement dans le travail mais également dans les échanges et les discussions où chacun a mis
ses connaissances, son savoir et son expérience à notre service, n’hésitent pas à prendre sur
leur temps. Nous avons ainsi appris au cours de ce stage de nouvelles façon de travailler tout
en mettant en application ce que nous avons été enseigné à l’université tant au niveau pratique
que théorique.
S’adapter à une ambiance de travail où le personnel a déjà ses habitudes n’est pas une
démarche facile mais toute l’équipe a su nous mettre à l’aise en nous intégrant pleinement à
son quotidien. Nous ne sommes jamais sentis exclus, ayant meme l’impression d’etre partie
prenante de la société. De plus, intégrer une entreprise avec le statut comme celui d’un
stagiaire peut entrainer de la part du personnel une certaine réticence et un manque de
confiance compréhensibles, dus à une absence évidence de pratique, mais cela n’a pas été le
cas en ce qui nous concerne car toute l’équipe nous a accordé sa confiance et permis d’avoir
des responsabilités, dont nous lui avons reconnaissant.
Le projet que nous avons mené nous a permis d’utiliser des logiciels de calcul et de
conception, outils devenus indispensables pour l’étude des constructions mécaniques. Grace
aux logiciels solides Works et RDM6, nous avons effectué des calculs, des
conceptions et des modélisations en 2D de différents éléments du produit.
Cependant, nous avons rencontrés quelques difficultés lors de l’achat de différentes
composantes de produit car le marché local en Tunisie ne contient plus de variétés de
composants. C’est pour cela, l’entreprise les a recommandées de l’étranger. Pour d’autres
pièces, nous avons utilisé des composants du magasin de l’entreprise et les adaptés avec notre
besoin. La suite du composant à était retrouvée de façon normale.
Nous nous sommes également rendu compte que l’emploi de l’information impose au
technicien de formuler un certain nombre d’hypothèses et de vérifications pour rendre les
résultats convenablement exploitables pour son travail. Par conséquent, nous avons été
amenés à exploiter, moyennant certaines vérifications, des résultats pour le dimensionnement
Etude et conception d’une table élévatrice
ISET Nabeul Page 79 MEDIS
des éléments du produit. Nous nous sommes également familiarisés avec les règlements et les
règles de construction mécanique.
Etude et conception d’une table élévatrice
ISET Nabeul Page 80 MEDIS
ANNEXES
Etude et conception d’une table élévatrice
ISET Nabeul Page 81 MEDIS
Annexe 1
Etude et conception d’une table élévatrice
ISET Nabeul Page 82 MEDIS
Annexe 2
Etude et conception d’une table élévatrice
ISET Nabeul Page 83 MEDIS
Annexe 3
Etude et conception d’une table élévatrice
ISET Nabeul Page 84 MEDIS
Annexe 4
Etude et conception d’une table élévatrice
ISET Nabeul Page 85 MEDIS
Etude et conception d’une table élévatrice
ISET Nabeul Page 86 MEDIS

Pfe

  • 1.
    Etude et conceptiond’une table élévatrice ISET Nabeul Page 1 MEDIS Dédicace C’est avec un immense que je dédie ce modeste travail et ma profonde gratitude aux personnes les plus chers à mon cœur : A mes très chers parents qu’ont faite moi la personne qui je suis, en signe de reconnaissance et de profonde gratitude auxquels je dois tout ce que j’ai pu réaliser et en particulier ce travail. A ma très chère mère Chebbi Hakima, pour toute les attentions dont elle sait si bien m’entoure et pour tous les sacrifices consentis sans jamais l’ombre d’une hésitation. A mon cher père Hidri charfeddine, en témoignage de ma connaissance pour tous les efforts consentis, pour sa bienveillance et sa bénédiction. A mes chers frères, pour leurs soutiens et encouragements. A mes amis, et à tous mes proches. Wihem...
  • 2.
    Etude et conceptiond’une table élévatrice ISET Nabeul Page 2 MEDIS Dédicace Au Dieu tout puisant mon créateur. A mon père, Mahroug Nawfel, en signe d’amour, de reconnaissance et de gratitude pour tous les soutiens et les sacrifices dont il a fait preuve à mon égard. A ma mère Ben Rhouma Kalthoum, ma raison d’être, ma raison de vivre, la lanterne qui éclaire mon chemin et m’illumine de douceur et d’amour. A mes frères et mes sœurs, source de soutien et d’encouragement. A mes amies, et à tous mes proches. Baha...
  • 3.
    Etude et conceptiond’une table élévatrice ISET Nabeul Page 3 MEDIS Remerciement Nous souhaitons rendre un hommage tout particulier à monsieur BEN AISSA Chokri professeur en mécanique, notre encadreur a L’ISET, pour son amabilité et à son assistance, sa complète disponibilité et ces précieux conseil qui nous a prodigué lors de l’élaboration de ce travail, qu’il trouve ici l’expression de nos profond de reconnaissance. Nous voulons exprimer toutes nos gratitudes à monsieur Lassaad Boujbal Directeur général à MEDIS pour son esprit de travail mutuel, pour son soutien continu. Aussi nous remercions sincèrement notre encadreur de la société Monsieur Hriga Mohamed Ali pour leur gentillesse, leur disponibilité et pour leurs soutien continu tout le long de notre projet qui nous a beaucoup aidé pour son finalisation. Enfin, nos vifs remerciements sont adressés à tous ceux qui nous ont aidés de prés ou de loin pour la réalisation de ce travail.
  • 4.
    Etude et conceptiond’une table élévatrice ISET Nabeul Page 4 MEDIS SOMMAIRE Introduction générale.............................................................................................................. 8 CHAPITRE I :............................................................................................................................ 9 PRESENTATION DE L’ORGANISME D’ACCEUIL............................................................. 9 Introduction .......................................................................................................................... 10 1. Présentation de l’entreprise d’accueil : ......................................................................... 10 2. Activité :........................................................................................................................ 11 3. Organisations des ressources humaines de la société :.................................................. 11 3.1. Effectif : ................................................................................................................. 11 3.2. Organigramme de la société :................................................................................. 12 4. Les procédés de fabrication :......................................................................................... 13 4.1. La préparation :...................................................................................................... 13 4.2. La ligne de production : ......................................................................................... 14 4.3. La lyophilisation : .................................................................................................. 14 4.4. L’inspection : ......................................................................................................... 14 4.5. L’emballage : ......................................................................................................... 15 5. Problématique : ............................................................................................................. 15 5.1. Description des problèmes existe :......................................................................... 15 5.2. Données à propos la table : .................................................................................... 16 CHAPITRE II :......................................................................................................................... 18 ETUDE BIBLIOGRAPHIQUE ............................................................................................... 18 Introduction .......................................................................................................................... 19 1. Fonctionnement du système :........................................................................................ 19 2. Les différents types des tables élévatrices : .................................................................. 19 2.1. Chariot élévatrice :..................................................................................................... 19 2.2. Monte charge ............................................................................................................. 21 3. L'alimentation :.............................................................................................................. 23 4. Avantage d’utilisation des Tables élévatrices :............................................................. 23 5. Domaines d’utilisation : ................................................................................................ 24 6. Accouplements :............................................................................................................ 24 CHAPITRE III : ....................................................................................................................... 27 ANALYSE FONCTIONNELLE ............................................................................................. 27 Introduction .......................................................................................................................... 28 1. Modélisation du système :............................................................................................. 28 2. Analyse de besoin : ....................................................................................................... 28
  • 5.
    Etude et conceptiond’une table élévatrice ISET Nabeul Page 5 MEDIS 2.1. Saisir les besoin : ................................................................................................... 29 2.2. Enoncer le besoin :................................................................................................. 29 2.3. Validation de besoin : ............................................................................................ 30 3. Analyse fonctionnelle externe : étude de la faisabilité :................................................ 30 3.1. Identifier les fonctions de services :....................................................................... 31 3.2. Validation des fonctions de service : ..................................................................... 32 3.3. Caractériser les fonctions de service :.................................................................... 34 4. Hiérarchiser les fonctions de services :......................................................................... 36 CHAPITRE IV:........................................................................................................................ 38 ANALYSE FONCTIONNELLE TECHNIQUE ET CHOIX DES SOLUTIONS TECHNOLOGIQUES.............................................................................................................. 38 1. Analyse fonctionnelle technique :................................................................................. 39 1.1 Présentation de la méthode FAST : ....................................................................... 39 1.2 FAST créatif : « séquence d’utilisation » : ............................................................ 40 2. Choix des solutions technologique :.............................................................................. 43 2.1. Critère de choix :.................................................................................................... 43 CHAPITRE V : ........................................................................................................................ 49 DIMENSIONNEMENT DE PROJET ..................................................................................... 49 1. Schéma de la table élévatrice : ...................................................................................... 50 2. Calcule des réactions appliquées sur la table supérieure (plateforme) : ................ 50 2.1. Interprétation :........................................................................................................ 53 3. Calcul des réactions appliquées sur les ciseaux :................................................... 56 3.2. Simulation solidworks et interprétation :............................................................... 59 4. Chapes aux extrémités du plateau et du châssis :................................................... 60 4.1. Dimensionnement des chapes :.............................................................................. 60 5.1. Calcule de durée de vie de roulement de palier :................................................... 61 (Voir annexe 4)................................................................................................................. 61 5.2. Calcule des boulons au cisaillement : .................................................................... 61 6. Choix motoréducteur :................................................................................................... 63 6.1. Sélection de l’actionneur mécanique : ................................................................... 63
  • 6.
    Etude et conceptiond’une table élévatrice ISET Nabeul Page 6 MEDIS TABLE DES FIGURES Figure 1 : Vue externe de Médis .............................................................................................. 10 Figure 2 : organigramme de la société Médis .......................................................................... 12 Figure 3 : procédé de fabrication au sein de Médis.................................................................. 13 Figure 4 : la table ancienne....................................................................................................... 16 Figure 5 : Table élévatrice simple ciseaux............................................................................... 19 Figure 6 : Table élévatrice double ciseaux............................................................................... 20 Figure 7 : Table élévatrice triple ciseaux ................................................................................. 20 Figure 8 : Table élévatrice mobile............................................................................................ 21 Figure 9 : Table élévatrice à soufflet........................................................................................ 21 Figure 10 : Monte-charge à colonnes....................................................................................... 22 Figure 11 : Nacelle élévatrice................................................................................................... 22 Figure 12 : bloc d'alimentation................................................................................................. 23 Figure 13 : Accouplement........................................................................................................ 25 Figure 14 : description globale d'un produit............................................................................. 28 Figure 15 : Diagramme bête à cornes....................................................................................... 30 Figure 16 : Diagramme PIEUVRE........................................................................................... 31 Figure 17 : matrice d'hiérarchisation........................................................................................ 36 Figure 18 : Graphe d'hiérarchisation ........................................................................................ 37 Figure 19 : Diagramme FAST.................................................................................................. 48 Figure 20 : structure de la table élévatrice ............................................................................... 50 Figure 21 : les réactions au niveau de la plateforme................................................................ 50 Figure 22 : diagramme de l'effort tranchant............................................................................. 53 Figure 23 : diagramme de moment fléchissant ........................................................................ 53 Figure 24 : profil de la poutre................................................................................................... 54 Figure 25 : les ractions appliquées sur les ciseaux................................................................... 56 Figure 26 : palier ...................................................................................................................... 60 Figure 27 : Table au niveau haute ............................................................................................ 64 Figure 28 : table au niveau bas................................................................................................. 65 Figure 29 : liaison plateforme et ciseau ................................................................................... 65
  • 7.
    Etude et conceptiond’une table élévatrice ISET Nabeul Page 7 MEDIS LISTE DES TABLEAUX Tableau 1: Ressources humaines de Médis.............................................................................. 11 Tableau 2 : degrés de flexibilité ............................................................................................... 34 Tableau 3 : Caractéristiques des fonctions des services........................................................... 35 Tableau 4 : valorisation d'interet .............................................................................................. 43 Tableau 5 : Valorisation globale .............................................................................................. 44 Tableau 6 : les expresions des reactions appliquées aux ciseaux............................................. 58
  • 8.
    Etude et conceptiond’une table élévatrice ISET Nabeul Page 8 MEDIS Introduction générale Le projet de fin d’étude marque la fin de notre formation en tant que techniciens supérieurs à l’ISET. Donc, il représente la possibilité de mettre en œuvre toutes nos connaissances théoriques requises durant les trois dernières années d’études à l’institut puisqu’il offre une meilleure confrontation avec le milieu de travail avant de s’intégrer réellement dans la vie professionnelle. Ce projet de fin d’étude a été réalisé dans la société Médis dans le but d’étudier et concevoir une table élévatrice. Dans cette perspective, notre projet parait comme une solution répondant à ces besoins. Pour se faire, nous avons concentré notre recherche sur cinque axes différents pour obtenir le besoin. En effet la premier chapitre de ce rapport est réservé à la présentation de la société et à la mise en situation du projet. A la fin de ce chapitre la problématique sera exposée. L’étude bibliographique se traite dans le deuxième chapitre ou nous mentionnons une idée générale sur les tables élévatrices. Ensuite une analyse fonctionnelle du besoin fera l’objet d’un troisième chapitre, dans lequel nous identifions les fonctions de service validées et caractériser qui seront la base de l’élaboration de cahier de charges fonctionnelle “C.D.C.F“ pour chaque sous ensemble du table. La recherche des solutions technologiques pour chacune des fonctions des services établit le quatrième chapitre qu’est l’analyse fonctionnelle technique et pour aboutir à une meilleure solution, il est nécessaire de faire une recherche progressive et descendante des fonctions technique a partir de chacun chapitre des services qui répondent aux exigences du “CDCF“ Au niveau de cinquième chapitre, nous étudions le dimensionnement et la validation de la solution retenue dont la modélisation de la station est réalisée par SOLIDWORKS 2016. Finalement nous finissons par une conclusion générale.
  • 9.
    Etude et conceptiond’une table élévatrice ISET Nabeul Page 9 MEDIS CHAPITRE I : PRESENTATION DE L’ORGANISME D’ACCEUIL
  • 10.
    Etude et conceptiond’une table élévatrice ISET Nabeul Page 10 MEDIS Introduction Dans ce chapitre, nous allons présenter la société dans laquelle s’est déroulé notre projet. Nous identifions, le profil de la société ainsi que ses activités et nous illustrons son organigramme. 1. Présentation de l’entreprise d’accueil : - Raison sociale : Les Laboratoires Médis sont une société anonyme de droit tunisien ayant le mandat de fabriquer et commercialiser divers médicaments génériques qui a été Fondée en 1995 par l’entrepreneur Lassaad Boujbal. - Adresse et localisation : L’entreprise se situe à Nabeul au kilomètre 7 sur la route de Tunis, dans une zone forestière .Le choix du site a été fait pour éviter tout risque de pollution de l’air, de l’eau et du sol. - Historique : La création de l’entreprise a connu quatre phases :  Entre 1995 et 1996 est une phase d’étude et de détermination des cahiers de charges du matériel.  Entre 1996 et 1998 est une phase d’installation et d’implantation du matériel  Entre 1998 et 1999 est une phase de qualification et mise en marche des équipements.  De 1999 une phase d’obtention des AMM (Autorisation de Mise sur le Marché) et de production et vente. Grâce à ces compétences et l’expertise de son personnel, les laboratoires Médis a pu afficher rapidement un taux de croissance assez élevé et lance sur le marché Tunisien une gamme de produits pharmaceutiques relativement variées surtout dans le domaine des injectables. De ce fait, la compagnie enregistre aujourd’hui un capital plus de 7.777.130 TND. Figure 1 : Vue externe de Médis
  • 11.
    Etude et conceptiond’une table élévatrice ISET Nabeul Page 11 MEDIS 2. Activité : L’activité principale de "Médis" est la production des médicaments stériles à usage parentérale, qui ne sont pas encore couvertes par la production locale en Tunisie. Les types pharmaceutiques qui seront produites sont les suivantes :  Les solutions d’anesthésiques locaux injectables dans des crapulés en verre.  Les flacons de collyres.  Les ampoules.  Les formes sèches.  Ces produits sont groupés en trois gammes :  Produits à grand volume de consommation.  Produits à grande valeur et à petit volume de consommation.  Produits destinés à l’exportation. 3. Organisations des ressources humaines de la société : 3.1. Effectif : La société "Médis" possède une ressource humaine très qualifiée et très expérimentée, qui peut mener les activités de l’entreprise conformément. Tableau 1: Ressources humaines de Médis Département ou service Effectif Direction Générale 11 Département Développent 12 Département Logistique 15 Département de Production 61 Département Contrôle Qualité 20 Département Assurance Qualité 6 Département Maintenance 48
  • 12.
    Etude et conceptiond’une table élévatrice ISET Nabeul Page 12 MEDIS 3.2. Organigramme de la société : Figure 2 : organigramme de la société Médis Direction Générale Département Administratif Département Logistique Centrale Département de Production Département Contrôle Qualité Département Assurance Qualité Département de Recherche et de Développement Département de Maintenance et de Sécurité Service contrôle biologique Service contrôle physico-chimique Direction des formes sèches Direction des formes stériles Direction d’emballage Service d’achat Service marketing Service vente Direction d’économie et gestion Direction financière Direction des ressources humaines Direction commerciale et marketing Direction du service informatique
  • 13.
    Etude et conceptiond’une table élévatrice ISET Nabeul Page 13 MEDIS 4. Les procédés de fabrication : Le processus de fabrication dans "Médis" peut être décrit en utilisant la figure suivante :  Schéma du procédé 4.1. La préparation : 4.1.1. Préparation du matériel : Tout le matériel destiné à la production, ainsi que les contenants du médicament, doivent être exempts des fibres ou des particules, et apyrogènes ne contenant pas d’éléments pouvant provoquer de la fièvre. Le lavage des pièces de machine ainsi que des contenants se fait avec de l’eau pour préparation injectable, dans des locaux dont l’air est contrôlé. Ligne de remplissage d’ampoules Ligne de remplissage des flacons Ligne de production de seringue Préparation Inspection Emballage Ligne de remplissage des carpules et collyres Ligne de production forme sèche Lyophilisation Figure 3 : procédé de fabrication au sein de Médis
  • 14.
    Etude et conceptiond’une table élévatrice ISET Nabeul Page 14 MEDIS La stérilisation a lieu dans des autoclaves, des fours ou des tunnels, à des températures élevées. Une date de péremption fixe le laps de temps pendant lequel le matériel peut être utilisé pour la production d’un prochain lot de médicaments injectables. 4.1.2. Préparation du produit (formulation) : La préparation des médicaments se fait dans un centre de pesée avec un niveau de stérilité propre. Les matières premières substance active et substances excipient, seront pesées grâce à des balances très sophistiquées puis dissoutes dans des désolateurs munis d’agitateurs magnétiques. Une fois la molécule active ainsi « formulée», il faut la rendre stérile pour qu’elle puisse être injectable. 4.2. La ligne de production : La ligne de production comporte plusieurs équipements permettant le remplissage de médicaments dans les meilleures conditions, chaque ligne contient quatre types d’équipements, qui sont les suivants :  Des laveuses permettant le lavage et le rinçage des carpules et des flacons avec de l’eau purifié.  Des tunnels de stérilisation permettant la stérilisation sèche des carpules et des ampoules.  Machines de remplissage permettant le remplissage des solutions des ampoules, des carpules et des flacons de collyres.  Machine de capsulage permettant le capsulage des carpules et des flacons. 4.3. La lyophilisation : La lyophilisation repose sur le principe physique de la sublimation : l’eau contenue dans une solution passe directement de l’état solide (glace) à l’état gazeux (vapeur) sans passage par l’état liquide (l’extraction de la poudre stérile à partir de la solution préparée). 4.4. L’inspection : Après le remplissage, les médicaments à usage parentéral doivent subir un contrôle individuel destiné à détecter toute contamination ou autre défaut. Lorsque ce contrôle est effectué visuellement, il doit être fait dans des conditions convenables. Les opérateurs
  • 15.
    Etude et conceptiond’une table élévatrice ISET Nabeul Page 15 MEDIS effectuant ces contrôles doivent subir des examens oculaires réguliers, avec leurs verres correcteurs s‘ils en portent, et avoir droit à des pauses répétées. 4.5. L’emballage : Une fois le remplissage est achevés, les produits seront transportés grâce à des chariots vers une chaîne d’emballage ou ils seront encartonnés et emballés. Enfin les produits finis seront transportés vers le magasin de stockage ou ils seront stockés... 5. Problématique : 5.1. Description des problèmes existe : Photo Problèmes Causes Conséquences Inversement de tourelle et de table La surface d’appui entre tourelle et porte tourelle est petite La charge est plus grande par rapport à la porte tourelle Accident de travail Inversement de tourelle Tourelle n’est pas en équilibre Accident de travail Entretien de tourelle sur sa place Entretien et lavage de matrice et poinçon sur même place Perdre de temps de production
  • 16.
    Etude et conceptiond’une table élévatrice ISET Nabeul Page 16 MEDIS Inversement de la table avec la tourelle Déformation de sol cause le basculement de table et tourelle Un travailleur devenir handicapé Il perd l’utilisation de son pied de 85% 5.2. Données à propos la table : 1- Charge à élever 2 tonne 2- Des roues pivotantes (l’ancienne roue) 3- Hauteur maximale Hmax = 1180 mm Figure 4 : la table ancienne Vu les accidents que les travailleurs peuvent recouvrir au cours de transportation même lors de leur service autour de la tourelle et vu que le temps de nettoyage de tourelle est long la société pense à un système assurant le changement et la transportation facile de tourelle par
  • 17.
    Etude et conceptiond’une table élévatrice ISET Nabeul Page 17 MEDIS une autre en tout sécurité pour faciliter la tâche de l’équipe de service et éviter de faire un encombrement dans une zone un peu limitée. Alors notre groupe de projet va chercher une solution conforme avec le cahier de charge de client.
  • 18.
    Etude et conceptiond’une table élévatrice ISET Nabeul Page 18 MEDIS CHAPITRE II : ETUDE BIBLIOGRAPHIQUE
  • 19.
    Etude et conceptiond’une table élévatrice ISET Nabeul Page 19 MEDIS Introduction Notre projet consiste à faire l’étude et la conception d'une table élévatrice. Une table élévatrice, encore appelée table à ciseaux, est un matériel de manutention permettant de lever ou de baisser une charge. Le mouvement d'élévation est assuré par un vérin hydraulique ; il est manuel pour les faibles charges et automatique pour les grandes charges. La course du vérin est amplifiée par des ciseaux, en application du principe de levier. Les tables élévatrices sont très souvent utilisées pour travailler dans une position la plus ergonomique possible. 1. Fonctionnement du système : Le mouvement de levage est générée lorsque le package de ciseaux est ouvert par l'action des cylindres dans le bloc hydraulique, et le mouvement de descente lorsque l'huile dans le cylindre est retourné vers le réservoir, le paquet de ciseaux se ferme. 2. Les différents types des tables élévatrices : 2.1. Chariot élévatrice :  Table élévatrice simple ciseaux Figure 5 : Table élévatrice simple ciseaux
  • 20.
    Etude et conceptiond’une table élévatrice ISET Nabeul Page 20 MEDIS C’est un modèle de table élévatrice qui contient un seul ciseau, elle est utilisée pour l’élevage de courte hauteur.  Table élévatrice double ciseaux Figure 6 : Table élévatrice double ciseaux C’est un modèle de table élévatrice qui contient 2 ciseaux, elle est utilisée pour l’élevage de moyenne hauteur.  Table élévatrice triple ciseaux Figure 7 : Table élévatrice triple ciseaux
  • 21.
    Etude et conceptiond’une table élévatrice ISET Nabeul Page 21 MEDIS C’est un modèle de table élévatrice qui contient 3 ciseaux, elle est utilisée pour l’élevage de grande hauteur. 2.2. Monte charge  Table élévatrice mobile Figure 8 : Table élévatrice mobile Forte et maniable, optimal pour lever et transporter des charges de tous genres jusqu'à 400 kg ou des levées jusqu'à 1,2 m. Le châssis stable, comprenant 2 galets fixes et 2 roues pivotantes ainsi qu'un frein à pied, assure un positionnement sûr. La construction robuste à cadre chromé et tige de piston chromée dur promet une longue fiabilité.  Table élévatrice à soufflet Figure 9 : Table élévatrice à soufflet
  • 22.
    Etude et conceptiond’une table élévatrice ISET Nabeul Page 22 MEDIS Cette table élévatrice permettant à l'opérateur de gérer lui-même sa hauteur de plateau de manière à régler sa propre hauteur ergonomique. Le soufflet de protection en toile polyester fixé sous le plateau et comporte des plis renforcés par des lamelles de PVC.  Monte-charge à colonnes Figure 10 : Monte-charge à colonnes Le plateau est une plate-forme en tôle lisse ou antidérapante, guidée verticalement par des galets bidirectionnels. Elle comporte des rambardes normalisées sur les faces sans accès. Le vérin hydraulique est placé en vertical, il assure la course totale ; équipé d'un moulage il permet de multiplier cette course.  Nacelle élévatrice Figure 11 : Nacelle élévatrice
  • 23.
    Etude et conceptiond’une table élévatrice ISET Nabeul Page 23 MEDIS Cette nacelle permet d'évoluer en intérieur et extérieur et d'accéder à des zones très confinées grâce à un faible encombrement au sol. Elle garde néanmoins une zone de travail importante grâce à un bras pendulaire. Des mouvements d'élévation et de translation proportionnelle et précise permettront d'améliorer l’efficacité et d'évoluer en toute sécurité lors d'opération de maintenance ou d'entretien de sites industriels. 3. L'alimentation : L'alimentation (en général électro-hydraulique) consiste en un moteur électrique, une pompe hydraulique, un réservoir hydraulique, tuyauterie, robinetterie et système de contrôle électrique. Figure 12 : bloc d'alimentation 4. Avantage d’utilisation des Tables élévatrices :  Plateforme stable À la différence des treuils, grues ou manipulateurs, les tables élévatrices à ciseaux disposent d’une plateforme stable pour le levage et l’abaissement de matériel. La probabilité de laisser tomber une pièce de manière accidentelle est plus faible et le danger de voir une charge suspendue se balancer et causer des blessures au personnel est éliminé.  Réglage infini de la hauteur Une table élévatrice est conçue pour se déplacer doucement vers le haut ou vers le bas jusqu’à la hauteur désirée et pour maintenir cette hauteur même en cas de panne de courant.  Polyvalence Les tables élévatrices peuvent être fournies avec une large gamme d’accessoires, tels que convoyeurs à rouleaux, plateaux tournants, rampes, abatants... ainsi qu'avec des plateformes
  • 24.
    Etude et conceptiond’une table élévatrice ISET Nabeul Page 24 MEDIS munies d'installations spéciales telles qu'étaux et autres dispositifs de positionnement automatique. Les tables élévatrices peuvent être livrées avec des socles sur roulettes ou avec des châssis de manutention.  Mouvement programmable Le mouvement peut être programmé, et les tables peuvent être intégrées à des systèmes spéciaux de manutention et des lignes de production.  Course de levage verticale importante Une table élévatrice peut être installée dans une fosse pour obtenir une hauteur d’abaissement de zéro absolu ou sur des versions à hauteur du plancher ou montées au sol, ou équipée de multiples articulations en ciseaux pour un levage extrêmement haut. Une autre option est la table élévatrice extra-plate. En raison de sa faible hauteur en position rétractée, la table élévatrice extra-plate ne nécessite pas l’installation dans une fosse puisqu’elle peut être directement installée au sol.  Faible maintenance Les tables élévatrices sont des machines robustes et résistantes, conçues pour des années d’utilisation avec un niveau minimal de maintenance. 5. Domaines d’utilisation : Les tables élévatrices sont utilisées dans tous les secteurs industriels où des levées de charges sont nécessaires. Elles sont également intégrées dans des chaines de montage et d'assemblage. Elles représentent également une alternative économique dans des projets d'élévateurs et de monte charges. Les tables élévatrices sont utilisées dans la construction de bâtiments publics et privés, dans l'implémentation d'équipements favorisant l'accessibilité des personnes à mobilité réduite ainsi que dans des solutions sur mesures pour le traitement des ordures ménagères. Enfin, les tables élévatrices sont souvent un élément clef de la politique ergonomique des entreprises. 6. Accouplements : Les accouplements sont utilisés pour transmettre la vitesse et le couple, ou la puissance, entre deux arbres de transmission en prolongement l'un de l'autre comportant éventuellement des défauts d'alignement.
  • 25.
    Etude et conceptiond’une table élévatrice ISET Nabeul Page 25 MEDIS Figure 13 : Accouplement  Accouplements rigides Ils doivent être utilisés lorsque les arbres sont correctement alignés (ou parfaitement coaxiaux). Leur emploi exige des précautions et une étude rigoureuse de l'ensemble monté, car un mauvais alignement des arbres amène un écrasement des portées, des ruptures par fatigue et des destructions prématurées du système de fixation.  Accouplements à plateaux Ce dernier est très utilisés, précis, résistants, assez légers, encombrants radialement, ils sont souvent frettés ou montés à la presse. La transmission du couple est en général obtenue par une série de boulons ajustés. En cas de surcharge, le cisaillement des boulons offre une certaine sécurité.  Puissance et couple transmissibles par les accouplements Ils sont liés par la formule : P : puissance transmise en watts ω : vitesse de rotation en rad/s C : couple transmis en N.m N : vitesse de rotation en tr/m
  • 26.
    Etude et conceptiond’une table élévatrice ISET Nabeul Page 26 MEDIS Conclusion : Afin de déterminer la recherche bibliographique à propos les tables élévatrices on a trouvé beaucoup de model multi commande et parmi ces dernier on va fait un choix sur trois tables différents qui on va les traiter dans le chapitre suivante.
  • 27.
    Etude et conceptiond’une table élévatrice ISET Nabeul Page 27 MEDIS CHAPITRE III : ANALYSE FONCTIONNELLE
  • 28.
    Etude et conceptiond’une table élévatrice ISET Nabeul Page 28 MEDIS Introduction Chaque produit industriel passe par un cycle de vie dès l’idée jusqu’à l’utilisation et pour assurer le fonctionnement correcte de notre projet il faut bien étudier l’analyse fonctionnelle, c’est un outil performant, caractériser, ordonner, hiérarchiser et valoriser les fonctions d’un produit. Elle permet d’avoir une vision claire des exigences attendues du produit. Ceci permet : - D’aboutir à un cahier des charges précis du produit attendu. - Répondre au besoin d’utilisateur satisfait. 1. Modélisation du système : - Fonction globale : Manutention des charges. - Matière d’œuvre entrante(MOE) : charge en position initiale. - Matière d’œuvre sortante(MOS) : charge en position finale. - Donnés de contrôle : énergie électrique(WE), énergie hydraulique(WH), Réglage, Tourelle, opérateur. - Processeur : Table élévatrice mobile. - 2. Analyse de besoin : Il convient dans un premier temps de rechercher l’information nécessaire pour identifier les différentes phases du cycle de vie du produit depuis son stockage jusqu’à son retrait de Manutention des charges Charge en position initiale Charge en position final Opérateur WE, W H Réglage Tourelle A-0 Table élévatrice mobile Figure 14 : description globale d'un produit
  • 29.
    Etude et conceptiond’une table élévatrice ISET Nabeul Page 29 MEDIS service, en passant par son utilisation “pure“. Pour chaque situation, il est recommandé de lister les éléments, personne, matériels, matières qui constituent l’environnement du produit. Les activités qui suivent vont être réalisées pour chacune des phases du cycle de vie de produit au sein du groupe de travail qui a été mis en place. 2.1. Saisir les besoin : Cette phase du cycle de vie d’un produit industriel concerne plus particulièrement les services qualité et service commerciale. Les activités des Laboratoires Médis sont attachées directement aux médicaments, pour préparer ces derniers la société utilise des machines avec des tourelles poisseux “1.5 tonne“, mais le problème apparaisse lors de transporter une tourelle sur un table avec des roues spéciaux, de l’atelier production à l’atelier de lavage, ou le risque de basculement s’existe qui provoque l’inversement de tourelle a cause de difficulté au niveau de la méthode de transport. Pour cela la société décide d’améliorer la table ou de fabriquer une autre qui facilite le déplacement et supporte la charge en toute sécurité sans causer des accidents. L’outil considéré est une table élévatrice mobile. 2.2. Enoncer le besoin : Pour justifier la conception de notre projet, il faut expliciter l’exigence fondamentale qui exprime avec rigueur le but et les limites de l’étude. Afin d’énoncer le besoin, il faut poser les trois questions suivantes concernant notre projet :
  • 30.
    Etude et conceptiond’une table élévatrice ISET Nabeul Page 30 MEDIS Figure 15 : Diagramme bête à cornes 2.3.Validation de besoin : Afin de bien déterminer le besoin que la table doit satisfaire, il faut vérifier que le niveau de satisfaction de notre produit reste assez élevé, pour se faire, on doit répondre aux questions suivantes : 1- Pourquoi ce besoin existe-t-il ?  Pour aider les techniciens à soulever les charges. 2- Pensez-vous que les risques de voir disparaitre ou évoluer ce besoin sont réels dans un proche avenir ?  D’après l’évolution conçue dans le domaine de l’industrie le produit ne peut pas disparaitre. Conclusion Le besoin existe, il ne va pas disparaitre à moyen terme, donc le besoin est validé. 3. Analyse fonctionnelle externe : étude de la faisabilité : Cette étude consiste à traduire, tous les éléments que nous venons de réunir et à vérifier la viabilité de notre projet. A quoi ou à qui rend-il service ? Sur quoi ou sur qui agit-il ? L’utilisateur La Tourelle Table élévatrice mobile Produit : Manutention des charges Dans quel but ?
  • 31.
    Etude et conceptiond’une table élévatrice ISET Nabeul Page 31 MEDIS 3.1.Identifier les fonctions de services : Il s’agit pour chaque phase de cycle de vie de produit de dresser les inters acteurs qui se trouvent en situation d’interagir avec le système. On utilise pour cela un outil de la méthode APTE c’est la Pieuvre. 3.1.1. Éléments d’environnement :  Tourelle ;  Opérateur ;  Normes de sécurité ;  Techniques de commande ;  Milieu de travail ;  Prix ;  Énergie de commande ; 3.1.2. Diagramme pieuvre : Table élévatrice Opérateur Norms de sécurité Fc6 FP2 Fc4 Technique de commande Énergie FP1 PrixFc2 Tourelle Fc5 Fc1 Encombrement Milieu de travail Fc3 Figure 16 : Diagramme PIEUVRE
  • 32.
    Etude et conceptiond’une table élévatrice ISET Nabeul Page 32 MEDIS 3.1.3. Identification des fonctions de service : Les fonctions principales :  FP1 : Permettre à l’opérateur de transporter la tourelle vers l’atelier de lavage.  FP2 : Protéger l’opérateur de danger. Les fonctions contraintes :  FC1 : Respecter les normes de sécurité.  FC2 : Avoir un prix acceptable  FC3 : protéger le milieu de travail.  FC4 : occuper un petit espace de rangement.  FC5 : s’adapter aux énergies disponibles.  FC6 : commander la table. 3.2.Validation des fonctions de service : La validation des fonctions de service identifiées se fait en rependant aux quatre questions suivantes :  Q1 : dans quel but la fonction existe-t-elle ?  Q2 : pour quel raison la fonction existe-t-elle ?  Q3 : Qu’est-ce qui pourrait la faire disparaitre ou la faire évoluer ?  Q4 : quelle est la probabilité de disparition ou d’évolution ?  FP1 : Permettre a l’opérateur de transporter la tourelle vers l’atelier de lavage. R1 pour minimise le temps de maintenance et le temps d’arrêt de production. R2 Parce que la manipulation de ces grands charges est dangereuse. R3 Tourelle ne tombe pas en panne par l’incessant de manutention R4 Probabilité faible Validation Fonction validée.  FP2 : Protéger l’opérateur de danger. R1 Pour éviter les accidents de travail. R2 Parce qu’un ouvrier a été blessé durant la manipulation de la tourelle R3 La maintenance fait sur place. R4 L’évolution des normes et réglementations sur la sécurité des usagers Validation Fonction validée.
  • 33.
    Etude et conceptiond’une table élévatrice ISET Nabeul Page 33 MEDIS  FC1 : Respecter les normes de sécurité. R1 Pour protéger la vie des utilisateurs. R2 Par ce que pas des signes d’avertissement de danger sur la table. R3 Incompréhension des normes de sécurité. R4 Probabilité Nulle Validation Fonction validée.  FC2 : Avoir un prix acceptable. R1 Pour facilité le vende R2 Par ce que l’ancien table est très chers R3 S’il est obligatoire d’acheter une table sans discuter à propos le prix. R4 Probabilité faible Validation Fonction validée.  FC3 : Résister au milieu de travail R1 Pour un bon déroulement de l’opération de transport de tourelle R2 Par ce que la forme de milieu peut être n’est pas plane R3 S’il existe une fuite ou une déformation de terrain R4 Probabilité Nulle Validation Fonction validée.  FC4 : occuper un petit espace de rangement. R1 Pour éviter les accidents de travail R2 Parce que la manipulation de ce genre de bobines est dangereuse. R3 Existence d’une autre table plus praticable R4 Probabilité faible Validation Fonction validée.  FC5 : s’adapter aux énergies disponibles. R1 Pour l’alimentation du mécanisme l’énergie électrique. R2 Car c’est la seule énergie autorisée dans le cahier de charge. R3 La présence d’une autre source d’énergie R4 Probabilité Nulle Validation Fonction validée.
  • 34.
    Etude et conceptiond’une table élévatrice ISET Nabeul Page 34 MEDIS  FC6 : commander la table. R1 Pour minimiser l’erreur humaine R2 Par ce que l’opérateur ne peut pas transporter la tourelle R3 L’évaluation de produit R4 Probabilité Nulle Validation Fonction validée. 3.3.Caractériser les fonctions de service : Le processus de conception induit de fréquentes prises de décisions afin de valider une solution par rapport au CDCF. On établie une base d’évaluation du niveau de satisfaction des fonctions de service afin de prendre des décisions objectives. Donc, chaque fonction de service est caractérisée par des critères d’appréciation dont chacun est associé à un niveau et à une flexibilité. Tableau 2 : degrés de flexibilité Flexibilité Classe de flexibilité Niveau de flexibilité Nulle F0 Imperative Très faible F1 Non Négociable Faible F2 Peu Négociable Bonne F3 Négociable Forte F4 Trèsnégociable
  • 35.
    Etude et conceptiond’une table élévatrice ISET Nabeul Page 35 MEDIS Tableau 3 : Caractéristiques des fonctions des services Fonction de service Critère Niveau Flexibilité Classes Limites d’acceptation FP1 : Permettre a l’opérateur de transporter la tourelle vers l’atelier de lavage.  Vitesse d’élever ou de baisser la Touelle.  Hauteur de levage  Poids  1m/min  1.08m  1.5 tonne  F1  F2  F1  0.1 / minm  -0.05m  ±0.5 tonne FP2 : Protéger l’opérateur de danger  Distance minimale de l’opérateur par rapport à la table en court de fonctionnement  Charge maximale supporté  0.5m  1700 kg  F0  F0  ± 0.2m  ±100 kg FC1 : Respecter les normes de sécurité.  Norme relative à la manutention  Validation des spécifications des normes  Vrai  Vrai  F1  F1 FC2 : Avoir un prix acceptable  Cout totale  10.000 DT  F3  ±1000 DT FC3 : Résister au milieu de travail  Traitement pour ambiance agressive  Sablage et peinture adaptée  F3 FC4 : Occupé un petit espace de rangement.  Forme  être la moins volumineuse possible  F2 FC5 : s’adapter aux énergies disponibles.  Energie électrique  ~ 3 ph–380 V– 50 Hz  F0 FC6 : commander la table  Réglage et asservissement  Contrôle et suivie de fonctionnement  F0
  • 36.
    Etude et conceptiond’une table élévatrice ISET Nabeul Page 36 MEDIS Importance relative Note Equivalence 0 Légèrement supérieur 1 Moyennement supérieur 2 Nettement supérieur 3 4. Hiérarchiser les fonctions de services : FP2 FC1 FC2 FC3 FC4 FC5 FC6 moyen % FP1 FP2 2 FP1 2 FP1 1 FP1 1 FP1 3 FP1 1 FP1 1 11 27.5 FP2 0 FP2 2 FP2 2 FP2 3 FP2 2 FP2 1 12 30 FC1 FC1 2 FC1 2 FC1 2 FC1 1 FC6 1 7 17.5 FC2 FC2 1 0 FC5 1 FC6 0 1 2.5 FC3 0 FC5 1 FC6 2 0 - FC4 FC5 1 FC6 1 0 - FC5 FC6 2 3 7.5 FC6 6 15 Totale 40 100 Figure 17 : matrice d'hiérarchisation
  • 37.
    Etude et conceptiond’une table élévatrice ISET Nabeul Page 37 MEDIS Figure 18 : Graphe d'hiérarchisation Conclusion  L’analyse fonctionnelle permet : - De mieux définir le besoin - De mieux adapter le produit au besoin - De ne rien oublier au moment de la conception - D’innover - De diminuer les modifications de mise au point - La synergie du travail de groupe  La combinaison de la rigueur et de la créativité 0 5 10 15 20 25 30 FP2 FP1 FC1 FC6 FC5 FC2 FC3 FC4 30 27.5 17.5 15 7.5 2.5 0 0 Pourcentage %
  • 38.
    Etude et conceptiond’une table élévatrice ISET Nabeul Page 38 MEDIS CHAPITRE IV: ANALYSE FONCTIONNELLE TECHNIQUE ET CHOIX DES SOLUTIONS TECHNOLOGIQUES
  • 39.
    Etude et conceptiond’une table élévatrice ISET Nabeul Page 39 MEDIS Introduction Pour concrétiser les fonctions de services dégagées dans le chapitre précédent, nous allons effectuer une analyse fonctionnelle technique qui devra nous conduire au choix des solutions technologiques. Nous utiliserons dans ce cas la méthode FAST. 1. Analyse fonctionnelle technique : L’analyse fonctionnelle technique a pour objectif d’observer la manière selon laquelle un produit rend les services attendus, elle doit conduire à travers l’analyse intérieure du produit, à la définition des fonctions techniques dont leur conjugaison conduit à la réalisation des fonctions de service lors de l’A.F.B. 1.1 Présentation de la méthode FAST : On profite de la méthode FAST: « Function Analysis System Technic », cet outil établie le lien entre le besoin fondamental et l’architecture d’un produit tout en passant par les fonctions de services et les fonctions techniques. Selon le cas dans lequel existe notre projet : préconception d’un produit existant ou conception d’un nouveau produit, on parle de FAST descriptif ou créatif. En ce qui concerne notre projet on utilise le FAST créatif.
  • 40.
    Etude et conceptiond’une table élévatrice ISET Nabeul Page 40 MEDIS 1.2 FAST créatif : « séquence d’utilisation » : FP1 : Permettre a l’opérateur de transporter la tourelle vers l’atelier de lavage FP1 Maintenir en position Lever et baisser la tourelle Déplacement de la table Goupille Etau Butée de serrage Forme conique Plate mobile Plate fixe Système vis écrou Monte charge Les ciseaux Deux vérins hydrauliques Système d’entrainement Deux ciseaux Guidage en rotation des liaisons pivots Guidage en translation de l’extrémité des ciseaux avec la plate forme et le châssis Roue Profilé Articulation + coussinet Rails Galets
  • 41.
    Etude et conceptiond’une table élévatrice ISET Nabeul Page 41 MEDIS
  • 42.
    Etude et conceptiond’une table élévatrice ISET Nabeul Page 42 MEDIS FP2 : protéger l’operateur de danger FP2 FC1 : Respecter les normes de sécurité. FC1 FC3 : Résister au milieu de travail. FC3 Assurer l’étanchéité du système Utilisation des joints et des couvercles Utilisation de composants lubrifiés à vie Se protéger contre les aléas de la commande et du fonctionnement Respecter le code de travail de Médis Faire des conjectures pour l’opérateur Appliquer les règles de sécurité
  • 43.
    Etude et conceptiond’une table élévatrice ISET Nabeul Page 43 MEDIS FC5 : s’adapter aux énergies disponibles FC6 : commander la table 2. Choix des solutions technologique : 2.1. Critère de choix : Tableau 4 : valorisation d'interet Note Intérêt de la solution 1 Douteuse 2 Moyenne 3 Bien adapté FC5 Énergie électrique se connecter au reseau R1: Prise transforme le type de courant R2:transformateur Énergie hydraulique R3:Centrale hydraulique R4:Vérin hydraulique FC6 commande de la table S1:Carte elecronique S2: sercuite electrique
  • 44.
    Etude et conceptiond’une table élévatrice ISET Nabeul Page 44 MEDIS Tableau 5 : Valorisation globale S1 S2 S3 S4 Critère Coefficient α Note Total Note Total Note Total Note Total fonctionnalité 4 2 8 3 12 3 12 2 8 fiabilité 3 2 6 2 9 3 6 1 3 réalisabilité 2 1 4 2 6 3 4 1 2 Coût 3 2 6 3 9 3 9 2 6 montabilité 2 1 4 2 6 3 6 1 2 Total pondéré 28 42 37 21  La solution 2 est la plus adéquate Maintenir en position S1:Goupille S2:Etau Pate fixe Pate mobile systeme vis ecrouS3:Butée de serrage S4:Forme conique K l’importance de la fonction 1 Utile 2 Nécessaire 3 Importante 4 Très importante 5 Vitale
  • 45.
    Etude et conceptiond’une table élévatrice ISET Nabeul Page 45 MEDIS S1 S2 Critère Coefficient α Note Total Note Total fonctionnalité 4 3 12 3 12 fiabilité 3 3 9 2 6 réalisabilité 2 3 6 2 4 Coût 3 3 9 2 6 montabilité 2 3 6 2 4 Total pondéré 42 32  La solution 1 est le meilleur Guidage en translation de l'extrémité des ciseaux avec le plate forme et le chassis S1:galets S2:rails commande de la table S1:Carte elecronique S2:sécurité électrique
  • 46.
    Etude et conceptiond’une table élévatrice ISET Nabeul Page 46 MEDIS S1 S2 Critère Coefficient α Note Total Note Total fonctionnalité 4 3 12 3 12 fiabilité 3 2 6 3 9 réalisabilité 2 2 4 3 6 Coût 3 2 6 3 9 montabilité 2 2 4 3 6 Total pondéré 32 42  La solution 2 est le meilleur S1 S2 S3 Critère Coefficient α Note Total Note Total Note Total fonctionnalité 4 3 12 3 12 1 2 fiabilité 3 3 9 2 6 2 6 réalisabilité 2 2 4 2 4 4 8 Coût 3 3 9 2 6 2 6 montabilité 2 3 9 2 4 2 4 Total pondéré 43 32 26  La solution 1 est le meilleur Energie Electrique se connecter au reseau S1: Prise transforme le type de courant S2:transformateur Hydraulique S3: Vérin hydraulique
  • 47.
    Etude et conceptiond’une table élévatrice ISET Nabeul Page 47 MEDIS Fonction Solution convenable Maintien en position S3 : Butée de serrage Guidage en translation de l'extrémité des ciseaux avec le plateforme et le châssis S1 : galets Commande de la table S2 : sécurité électrique Énergie électrique S1 : Prise
  • 48.
    Etude et conceptiond’une table élévatrice ISET Nabeul Page 48 MEDIS Figure 19 : Diagramme FAST FP1 Maintenir en position Lever et baisser la tourelle Etau Système vis écrou Monte charge Les ciseaux Deux vérins hydrauliques Système d’entrainement Deux ciseaux Guidage en rotation des liaisons pivots Guidage en translation de l’extrémité des ciseaux avec la plate forme et le châssis Profilé Articulation + coussinet Galets Déplacement de la table Roue FC6 Commende de la table Sécurité électrique FC5 Energie électrique Se connecter au réseau Prise Transporter la tourelle
  • 49.
    Etude et conceptiond’une table élévatrice ISET Nabeul Page 49 MEDIS CHAPITRE V : DIMENSIONNEMENT DE PROJET
  • 50.
    Etude et conceptiond’une table élévatrice ISET Nabeul Page 50 MEDIS Introduction Cette étude consiste à effectuer un calcul géométrique aboutissant au dimensionnement de la table suivie de calcul des réactions aux différentes articulations afin de pouvoir caractériser le système vis écrou et le moteur électrique. 1. Schéma de la table élévatrice : Figure 20 : structure de la table élévatrice Composant quantité Désignation 1 1 Châssis 2 4 ciseaux 3 4 galets 4 1 plateforme 2. Calcule des réactions appliquées sur la table supérieure (plateforme) : 2 D= 1600 Ө 1 4 B A d=1200 Y Z Mx My Mz C E F H=900 3 X D A C D= 1600 Charge W/2 Ra Rc B Figure 21 : les réactions au niveau de la plateforme D : longueur de la table (mm). H : hauteur de la table en positon haute (mm). h : hauteur de la table en positon basse (mm). θ : Angle du ciseau avec l’horizontale (degré). d : longueur des ciseaux (mm).
  • 51.
    Etude et conceptiond’une table élévatrice ISET Nabeul Page 51 MEDIS 𝑤 2 : Force appliquée par la charge W = 20000 N AC =D ; AB+ D/2 avec D=1600 mm {𝜏} 𝐴 = { 0 𝑅𝑎 0 | 0 0 0 } 𝐴 ; {𝜏} 𝐵 = { 0 −𝑅𝑏 0 | 0 0 0 } 𝐵 ; {𝜏} 𝐶 = { 0 𝑅𝑐 0 | 0 0 0 } 𝐶 ; Transfert vers le point A : {𝜏} 𝐴 = { 0 −𝑅𝑏 0 | 0 0 −800 ∗ 𝑅𝑏 } 𝐴 ; {𝜏} 𝐴 = { 0 𝑅𝑐 0 | 0 0 1600 ∗ 𝑅𝑐 } 𝐴 ;  On applique le PFS : 1 ∑ 𝐹 𝑒𝑥𝑡 = 𝑅𝑎 − 𝑅𝑏 + 𝑅𝑐 = 0 2∑ 𝑀𝑓𝑡 𝑒𝑥𝑡/ 𝐴= −𝑅𝑏 ∗ 800 + 1600 ∗ 𝑅𝑐 𝑅𝑐 = 𝑅𝑏∗800 1600 Or 𝑅𝑏 = 𝑊 2 = 10000 𝑁 alors 𝑅𝑐 = 10000∗800 1600 = 5000 𝑁 L’équation 1 donne : Ra =Rb - Rc Ra = 10000 – 5000 = 5000 N Ra = 5000 N Rb= 10000 N Rc=5000 N
  • 52.
    Etude et conceptiond’une table élévatrice ISET Nabeul Page 52 MEDIS  Torseur de cohésion :  Coupure entre A et B : 0≤ x ≤800 {𝜏 𝑐𝑜ℎ} 𝐺 = −{𝜏 𝐴} 𝐺 = { 0 −𝑅𝑎 0 | 0 0 𝑥 ∗ 𝑅𝑎 } 𝐺 𝑆𝑖 𝑥 = 0 𝑎𝑙𝑜𝑟𝑠 { 𝑇 = −𝑅𝑎 = −5000 𝑁 𝑀𝑓𝑔𝑧 = 0 ∗ 𝑅𝑎 = 0 𝑁. 𝑚𝑚 ; 𝑆𝑖 𝑥 = 800 𝑎𝑙𝑜𝑟𝑠 { 𝑇 = −𝑅𝑎 = −5000 𝑁 𝑀𝑓𝑔𝑧 = 800 ∗ 𝑅𝑎 = 4 ∗ 106 𝑁. 𝑚𝑚  Coupure entre B et C : 800≤ x ≤1600 {𝜏 𝑐𝑜ℎ} 𝐺 = +{𝜏 𝐶} 𝐺 = { 0 𝑅𝑐 0 | 0 0 (1600 − 𝑥) ∗ 𝑅𝑐 } 𝐺 𝑆𝑖 𝑥 = 800 𝑎𝑙𝑜𝑟𝑠 { 𝑇 = 𝑅𝑐 = 5000 𝑁 𝑀𝑓𝑔𝑧 = (1600 − 800) ∗ 𝑅𝑐 = 4 ∗ 106 𝑁. 𝑚𝑚 ; 𝑆𝑖 𝑥 = 1600 𝑎𝑙𝑜𝑟𝑠 { 𝑇 = 𝑅𝑐 = 5000 𝑁 𝑀𝑓𝑔𝑧 = (1600 − 1600) ∗ 𝑅𝑐 = 0 𝑁. 𝑚𝑚 CB G 1600-x =GC A B G x =AG
  • 53.
    Etude et conceptiond’une table élévatrice ISET Nabeul Page 53 MEDIS Figure 22 : diagramme de l'effort tranchant Figure 23 : diagramme de moment fléchissant 2.1. Interprétation : On interprète avec une bref démonstration que les valeurs obtenue sont identique avec celle qui sont afficher par le logiciel “RDM6“. 2.2. Condition de résistance à la flexion : 𝜎 𝑚𝑎𝑥 = 𝑀 𝑓 𝑚𝑎𝑥 𝜇 𝑧 ≤ 𝑅 𝑝𝑒 Avec : 𝑅 𝑝𝑒 = 𝑅 𝑒 𝑠 : Résistance pratique à l’extension ; s=2 : coefficient de sécurité 𝜇 𝑧 = 𝐼 𝐺𝑍 𝑣 : Module de flexion
  • 54.
    Etude et conceptiond’une table élévatrice ISET Nabeul Page 54 MEDIS 𝐼 𝐺𝑍 = 𝐵𝐻3−𝑏ℎ3 12 Figure 24 : profil de la poutre Le matériau utilisé est X2CrNi 19-11 (Acier Inoxydables) 𝑅 𝑒 = 300 𝑀𝑃𝑎(Voir annexe 1) Alors A.N : 𝑅 𝑝𝑒 = 300 2 = 150 MPa 𝑀 𝑓 𝑚𝑎𝑥 𝜇 𝑧 ≤ 𝑅 𝑝𝑒  𝜇 𝑧 = 𝑀 𝑓 𝑚𝑎𝑥 𝑅 𝑝𝑒 A.N: 𝜇 𝑧 = 4000000 150 = 26666.66𝑚𝑚4 𝜇 𝑧 ≥ 26666.66 𝑚𝑚4 = 2.666 𝑐𝑚4 D’après l’abaque on prend 𝜇 𝑧 = 2.73 𝑐𝑚4 (voir annexe 2) H=40 mm B=27 mm e=2 mm Vérification : 𝑀 𝑓 𝑚𝑎𝑥 𝑏ℎ3 12 ≤ 𝑅𝑝𝑒 2 A.N: 4000000 2.73 × 10−4 =146.5 ≤ 300 2 = 150 Donc , Condition vérifié. 2.3. Simulation solidworks :
  • 55.
    Etude et conceptiond’une table élévatrice ISET Nabeul Page 55 MEDIS D’après la simulation numérique, la contrainte de Von Mises atteint un maximum de 11.74 MPa au niveau de center de plateforme. Le déplacement maximal atteint 0.01 mm à l’extrémité supérieure de la structure. Pour les autres extrémités, le déplacement est plus important..
  • 56.
    Etude et conceptiond’une table élévatrice ISET Nabeul Page 56 MEDIS 3. Calcul des réactions appliquées sur les ciseaux : Figure 25 : les ractions appliquées sur les ciseaux  1 0 2 cos( ) cos( ) sin( ) 4 F Y X W M L F L F L              2 1 0X X XF F R    3 1 0 4 Y YY W F F R      4 2 ( ) ( ) ( ) 0 4 D Y X W M L COS F L COS F L SIN             5 2 0X X XF F R     6 2 0 4 Y Y Y W F F R     On a 6 equations et 6 inconus  L’équation 1 donne : 2 cos( ) cos( ) sin( ) 0 4 Y X W L F L F L            2 cos( ) sin( )4 cos( ) cos( ) X Y W L F L F L L             tan( ) 2 Y X W F F     L’équation 4 donne : CA ө F өD E E
  • 57.
    Etude et conceptiond’une table élévatrice ISET Nabeul Page 57 MEDIS 2 cos( ) cos( ) sin( ) 0 4 Y X W L F L F L           2 cos( ) cos( )4 sin( ) sin( ) Y X W L F L F L L             2 tan( ) tan( ) Y X W F F     On a l’expression de Fy alors : tan( ) 2 tan( ) 2 tan( ) tan( ) X X FW W F         2 2 tan( ) X X W F F     2 tan( ) X W F   Alors on calcule Fy : ( ) tan( ) 2 2 tan( ) W W Fy     0 2 2 W W Fy     L’équation 2 donne : 1 0X XR F   Alors 1X XR F  L’équation 5 donne : 2 0X XR F  Alors 2X XR F Donc : 1 2 2tan( ) X X X W F R R    
  • 58.
    Etude et conceptiond’une table élévatrice ISET Nabeul Page 58 MEDIS  L’équation 3 donne : 1 0 2 W Fy Ry   Avec Fy = 0 1 4 W Ry  L’équation 6 donne : 2 0 2 W Fy Ry   2 4 W Ry  Donc : 1 2 4 W Ry Ry  Tableau 6 : les expresions des reactions appliquées aux ciseaux Force Expression XF 2tan( ) W  yF 0 1XR 2tan( ) W  2XR 2tan( ) W  1Ry 4 W 2Ry 4 W 3.1. Calcule de l’angle  : L’angle  min= sin−1 ( ℎ 𝑑 ) avec d=1200 mm Alors  min = sin−1 ( 200 1200 ) = 9.59 ° Et  max = sin−1 ( 900 1200 ) = 48.59 °
  • 59.
    Etude et conceptiond’une table élévatrice ISET Nabeul Page 59 MEDIS Le basculement de la table se fait la plus part au niveau haute alors on prend  max pour calculer les inconnus. 3.2. Simulation solidworks et interprétation : D’après la simulation numérique, la contrainte de Von Mises atteint un maximum de 7.03*10^6 MPa au niveau de l’arrondie puisque l’effort distribué sur la totalité de la structure se transforme en un moment fléchissant concentré à la base. Le déplacement maximal atteint 8.22*10^-4 mm à l’extrémité supérieure de la structure. Pour les autres extrémités, le déplacement est plus important, c’est due à la différence entre les raidisseurs de base et les raidisseurs supérieurs qui sont plus petits.
  • 60.
    Etude et conceptiond’une table élévatrice ISET Nabeul Page 60 MEDIS 4. Chapes aux extrémités du plateau et du châssis : 4.1. Dimensionnement des chapes : P adm (Glissant sous charge, conditions de fonctionnement moyennes). 4 adm F e d P     4 5000 6.63 50 20 e mm       5. Dimensionnement des boulons de fixation du (palier + plateforme) : (Voir annexe 3) Figure 26 : palier 2 | | | | 4 T d          ;
  • 61.
    Etude et conceptiond’une table élévatrice ISET Nabeul Page 61 MEDIS | | ;Rpg  2 | | 4 T Rpg d        Avec | | 10000T  N 2 4. . T d Rpg  ; 4. . T d Rpg  ; 4 5000 12.11 43.4 d mm      On prend un Vis M16 pour garantir une résistance suffisante au cisaillement et en particulier éviter le maximum de matage et des trous au niveau du tube rectangulaire à cause de la faible épaisseur de ses parois (vaut 2 mm). 5.1. Calcule de durée de vie de roulement de palier : (Voir annexe 4) e=1.14 5000 4.2 21050 a r F F   donc a r F e F  soit X=0.35 et Y=57 r aP X F Y F    0.35 5000 0.35 21000 12880P N     3 6 10 24500 6.88 10 5000 n C L tours P                10 60 h L L n   6 6.15 10 25481 60 4.5 hL h     5.2. Calcule des boulons au cisaillement : La vis de diamètre d = 30 mm Avec dmoy = d - 0,5. Pas et dmoy = d - Pas -2a  Filet carré  Pas=6mm  Résistance pratique en traction : Rpe = 5 0 daN/mm2  Coefficient de frottement : f= 0,1  Ecrou de hauteur : H= 72 mm  Résistance pratique au cisaillement : Rpg = 10 daN/mm2  Pression maximal admissible : Padm = 12N lmm2  A=0.5mm
  • 62.
    Etude et conceptiond’une table élévatrice ISET Nabeul Page 62 MEDIS  D1=d-Pas  Pour faire monter une charge Q = 1800 daN 5.2.1. Réversibilité de system vis –écrou : tan f  1 tan f   5.71 Angle d’inclinaison de l’hélice 2 p ta d  2 0.5 30 (0.5 6) 27d dmoy d p       mm 1 6 tan 4.046 27             Moment moteur le système est irréversible 5.2.2. Couple nécessaire par déplacement charge : Vis progresse contre la charge axiale tan( ) 2 2 Dmoy Dmoy C Ft Fa        (Fa=Q) 3 10 30 0.5 18000 tan(5.71 4.046) 2 AN C           41.781 .C N m 5.2.3. Calculer le rendement du système vis écrou : tan tan(4.046) 0.41138 tan( ) tan(5.71 4.046)          5.2.4. Résistance de la vis : La vis est sollicitée à (la compression +torsion) 1.3 Rpe   eq epK R  / eq peK R  2 2 2 4 18000 50 4.33 / 38.46 / (30 6 2) 1.5 4 Q daN mm daN mm d moy         
  • 63.
    Etude et conceptiond’une table élévatrice ISET Nabeul Page 63 MEDIS 1.3 Rpe   la vis résiste  Résistance de filet au cisaillement Q Rpe avec dmoy H        21800 0.345 / 10 23 72 daN mm       Le filet et résiste au cisaillement Vérifier la résistance des filets au matage 2 2 ( ) 4 Fa P Padm d D n    72 12 6 h n pas    2 2 2 4 18000 12 / (30 24 ) 12 N mm       1 1 30 6 24 D d pas D           La vis résiste au matage 6. Choix motoréducteur : On a la force maximale dans hauteur max=1m donc on choisira un moteur-réducteur plus proche de notre calcule en choisir un moteur-réducteur : 6.1. Sélection de l’actionneur mécanique : L’actionneur mécanique est une vis sans fin hélicoïdale. La machine est programmée pour lever le produit jusqu’à la hauteur désirée si et seulement si la commande reçoit un signal du capteur de position indiquant que les galets se situe .  La vitesse de la table est fixée pour VT= 0,1 m/min.  Une charge axial F= 21050N = 21,05 KN  La hauteur de la charge maximale est 1180 mm D’après le fournisseur allemand, on a choisi un vérin à vis en matériaux inoxydable qui a les caractéristiques suivantes : Charge axiale admissible 10 KN
  • 64.
    Etude et conceptiond’une table élévatrice ISET Nabeul Page 64 MEDIS Course 1800 mm Diamètre primitif de la vis 40 mm Pas 5 mm Rapport de réduction : i 5 Rendement statique de roue vis sans fin: ηs 0,603 Rendement dynamique de roue vis sans fin : ηd 0,618 7. Table en 3D : Figure 27 : Table au niveau haute
  • 65.
    Etude et conceptiond’une table élévatrice ISET Nabeul Page 65 MEDIS Figure 28 : table au niveau bas Figure 29 : liaison plateforme et ciseau
  • 66.
    Etude et conceptiond’une table élévatrice ISET Nabeul Page 66 MEDIS CHAPITRE VI : DOSSIER TECHNIQUE
  • 67.
    Etude et conceptiond’une table élévatrice ISET Nabeul Page 67 MEDIS Introduction Dans ce chapitre on va présenter les dessins des définitions des différentes pièces 1. Les dessins des définitions :
  • 68.
    Etude et conceptiond’une table élévatrice ISET Nabeul Page 68 MEDIS
  • 69.
    Etude et conceptiond’une table élévatrice ISET Nabeul Page 69 MEDIS
  • 70.
    Etude et conceptiond’une table élévatrice ISET Nabeul Page 70 MEDIS
  • 71.
    Etude et conceptiond’une table élévatrice ISET Nabeul Page 71 MEDIS
  • 72.
    Etude et conceptiond’une table élévatrice ISET Nabeul Page 72 MEDIS
  • 73.
    Etude et conceptiond’une table élévatrice ISET Nabeul Page 73 MEDIS
  • 74.
    Etude et conceptiond’une table élévatrice ISET Nabeul Page 74 MEDIS
  • 75.
    Etude et conceptiond’une table élévatrice ISET Nabeul Page 75 MEDIS
  • 76.
    Etude et conceptiond’une table élévatrice ISET Nabeul Page 76 MEDIS
  • 77.
    Etude et conceptiond’une table élévatrice ISET Nabeul Page 77 MEDIS Conclusion : Dans ce chapitre, nous avons déterminée les dessins de définitions des différentes pièces et nous avons précisé leurs nomenclatures à travers SOLIDWORKS.
  • 78.
    Etude et conceptiond’une table élévatrice ISET Nabeul Page 78 MEDIS Conclusion générale D’un point de vue personnel, ce stage nous a apporté des satisfactions tant au niveau relationnel que professionnel, et a répondu presque à tout ce que nous en attendons. Les employés nous ont offert un encadrement de grande qualité qui est un critère très important pour un stagiaire. La compétence de ceux qui nous supervisaient s’est retrouvée pas seulement dans le travail mais également dans les échanges et les discussions où chacun a mis ses connaissances, son savoir et son expérience à notre service, n’hésitent pas à prendre sur leur temps. Nous avons ainsi appris au cours de ce stage de nouvelles façon de travailler tout en mettant en application ce que nous avons été enseigné à l’université tant au niveau pratique que théorique. S’adapter à une ambiance de travail où le personnel a déjà ses habitudes n’est pas une démarche facile mais toute l’équipe a su nous mettre à l’aise en nous intégrant pleinement à son quotidien. Nous ne sommes jamais sentis exclus, ayant meme l’impression d’etre partie prenante de la société. De plus, intégrer une entreprise avec le statut comme celui d’un stagiaire peut entrainer de la part du personnel une certaine réticence et un manque de confiance compréhensibles, dus à une absence évidence de pratique, mais cela n’a pas été le cas en ce qui nous concerne car toute l’équipe nous a accordé sa confiance et permis d’avoir des responsabilités, dont nous lui avons reconnaissant. Le projet que nous avons mené nous a permis d’utiliser des logiciels de calcul et de conception, outils devenus indispensables pour l’étude des constructions mécaniques. Grace aux logiciels solides Works et RDM6, nous avons effectué des calculs, des conceptions et des modélisations en 2D de différents éléments du produit. Cependant, nous avons rencontrés quelques difficultés lors de l’achat de différentes composantes de produit car le marché local en Tunisie ne contient plus de variétés de composants. C’est pour cela, l’entreprise les a recommandées de l’étranger. Pour d’autres pièces, nous avons utilisé des composants du magasin de l’entreprise et les adaptés avec notre besoin. La suite du composant à était retrouvée de façon normale. Nous nous sommes également rendu compte que l’emploi de l’information impose au technicien de formuler un certain nombre d’hypothèses et de vérifications pour rendre les résultats convenablement exploitables pour son travail. Par conséquent, nous avons été amenés à exploiter, moyennant certaines vérifications, des résultats pour le dimensionnement
  • 79.
    Etude et conceptiond’une table élévatrice ISET Nabeul Page 79 MEDIS des éléments du produit. Nous nous sommes également familiarisés avec les règlements et les règles de construction mécanique.
  • 80.
    Etude et conceptiond’une table élévatrice ISET Nabeul Page 80 MEDIS ANNEXES
  • 81.
    Etude et conceptiond’une table élévatrice ISET Nabeul Page 81 MEDIS Annexe 1
  • 82.
    Etude et conceptiond’une table élévatrice ISET Nabeul Page 82 MEDIS Annexe 2
  • 83.
    Etude et conceptiond’une table élévatrice ISET Nabeul Page 83 MEDIS Annexe 3
  • 84.
    Etude et conceptiond’une table élévatrice ISET Nabeul Page 84 MEDIS Annexe 4
  • 85.
    Etude et conceptiond’une table élévatrice ISET Nabeul Page 85 MEDIS
  • 86.
    Etude et conceptiond’une table élévatrice ISET Nabeul Page 86 MEDIS