1
ENSIT
Notes de cours
Procédés d’obtention des matériaux
plastiques et composites
Version 00
Préparées : par Farhat ghanem
2
Introduction générale
Les plastiques inventés au XX
ième
siècle remplacent de plus en plus les matériaux
traditionnels comme le bois ou le métal. Les recherches menées pour améliorer et diversifier
leurs propriétés les destinent à de nombreuses utilisations. Les matières plastiques sont
légères, hygiéniques, durables et faites sur mesure. C'est grâce à toutes leurs qualités qu’elles
sont devenues irremplaçables et omniprésentes dans les objets de notre vie quotidienne.
A. Rappel sur la matière plastique
Introduction
Une matière plastique est un mélange constitué par une résine de base, additionnée
éventuellement de plastifiants, de colorants et de charges : textile, poudre, fibre de verre etc.
On distingue :
 -Les matières plastiques naturelles. : Exemple : la corne, la gélatine, l’écaille
 -Les matières plastiques synthétiques, obtenues à partir des dérivés du pétrole
(pétroléochimie) ou du charbon (carbochimie).
 -Les matières plastiques artificielles, obtenues à partir de produit naturels, exemple :
la nitrocellulose, la cellophane.
I. Historique
 1838 : Henri Regnault a synthétisé du PVC pour la première fois, mais cette
découverte est restée sans suite.
 1869 : les frères Hyatt ont mis au point le celluloïd qui est considéré comme la toute
première matière plastique artificielle.
 1889 : le chimiste français Jean-Jacques Trillat obtient de la galalithe en durcissant
la caséine du lait.
 1890 : les Britanniques Cross et Bewan découvrent la viscose en dissolvant de
l'acétate de Cellulose dans du chloroforme
 1907 : La découverte de la bakélite par le Belge Leo Hendrik Baekeland
 1908 : la découverte de la cellophane
 1927 : Apparition du polyméthacrylate de méthyle ou PMMA, qui est commercialisé
sous les noms de plexiglas et d'altuglas.
 1930 : Wallace Carothers invente le Polystyrène et le polyamide, qui fut le premier
plastique technique à haute performance.
 1933: Apparition du polyéthylène et du polyuréthane.
 1940: Premières pièces mécanique remplacées par des résines armées composites pour
les avions.
 1947: Apparition de l’époxyde
 1953: Apparition du polypropylène et du polycarbonate.
 En l'an 2000, le polyéthylène et le polypropylène, étaient les matières plastiques les
plus produites.
3
II. Définitions
1. Matières plastiques
C’est un mélange d’un ou plusieurs polymères avec des additifs et des adjuvants (les
polymères pure ne son pas utilisés). Une multitude d’additifs et d’adjuvants sont incorporés
dans les polymères pour améliorer les caractéristiques et pour faciliter la fabrication des
matériaux plastiques.
2. Monomères
Ce sont des unités chimiques de base (des molécules) des matières plastiques. Ils sont
construits autour des atomes de carbones (d’hydrogène, d’oxygène, d’azote, de chlore, de
silice). Exemple : le monomère d’éthylène C2H4 .
Figure 1 - un monomère d’éthylène C2H4
3. Polymères
Sous l’action de la pression, la température sert un catalyseur, les monomères se
regroupent entre eux pour former de longues chaines appelées polymère ou macromolécule.
Un polymère peut contenir plusieurs centaines à plusieurs millions de monomères. On peut
citer en exemples : le polystyrène, le polyéthylène……
Figure 2 – Exemple de polymère (Polyéthylène)
4
4. Polymérisation
L’opération chimique liant les monomères entre eux pour obtenir un polymère appelée
polymérisation. La copolymérisation est l’enchainement de deux macromolécules de nature
différentes. Il permet d’obtenir de nouvelles macromolécules dans lesquelles les éléments de
base se trouvent alternés.
Figure 3 – un exemple de polymérisation
III. Différents types de matières plastiques
Il existe trois grandes catégories de matières plastiques synthétiques: les
thermoplastiques, les thermodurcissables et les élastomères.
5
1. Les thermoplastiques (TP)
Les matières plastiques à macromolécule ramifiées mais non réticulées, peuvent être mise en
forme de façon réversible.
Le nombre de branchements ou de ramification entre les macromolécules est faible, celle-ci
reste linéaire et séparées après mise en forme. La structure obtenue reste très serres semi
cristalline, bien organisée et proche de celle des métaux. Le recyclage est possible.
Exemple : Polyéthylène ; Polystyrène.
Figure 4 - un fragment de polyéthylène linéaire
2. Les thermodurcissables (TD)
Les matières plastiques à macromolécule formées en raison de maille serrée sont mises
en forme de façon irréversible (formation d’un réseau tridimensionnelle au cours de la
polymérisions) dans la mesure ou les branchements se font de manière aléatoire pour former
des ponts, le matériau obtenu est amorphe ou désorganisé. Le recyclage est impossible.
Exemple : Phénoplastes (Bakélite) ; Polyester.
Figure 5 - les macromolécules forment un réseau de mailles serrées
6
3. Les élastomères
Les matières plastiques à macromolécule en trois dimensions, réticulées, ne peuvent
pas êtres mise en forme de façon réversible. Le recyclage est impossible.
Exemple : Silicones ; Polychlorobutadiene (Néoprène).
Figure 6 – les macromolécules forment un réseau de maille large
7
Fiches techniques de quelques matériaux plastiques.
Il existe beaucoup de sorte de matières différentes, le choix de la matière dépend
généralement du type de pièce à mouler. Il faut avant tout savoir avec précision l'usage que
l'on veut en faire. Ensuite, il faut étudier son comportement dans le temps selon certain critère
tel que la résistance mécanique, son exposition au ultra violet (U.V), sa souplesse, si elle
résiste face à certains solvants.
Les matières le plus souvent employées sont :
1. Polystyrène (P.S)
2. Polypropylène (P.P)
3. polyéthylène (P.E)
4. Polycarbonate (P.C)
5. Polyamide (P.A)
6. Acrylonitrile Butadiène Styrène (A.B.S)
7. Polyoxyméthylène (P.O.M)
8. Polychlorure de Vinyle (P.V.C)
9. Polyméthacrylate de méthyl (P.M.M.A)
10. Styrène Acrylonitrile (S.A.N)
11. Polyoxyphénylène modifié(P.P.O.m)
12. Polytéréphtalate d'éthylène(P.E.T)
8
Polystyrène (P.S)
Découverte entre 1930 et 1931
origine : Gaz naturel ou pétrole = Styrène
Structure : Amorphe
Retrait : 0.2% à 0.6%
Densité : 1.05
Mise en œuvre :Injection T° de Moulage : 160°à 280° C
T° du moule : 10°à 60°
Temps d'étuvage : aucun
Avantages particuliers :
 Facilité extrême de mise en œuvre, cadences rapides
 Excellente transparence cristal
 Bel aspect de surface, possibilités de coloration
 Faible retrait
 Alimentaire, absence d'odeur
 Collage et soudure aisés (Ultrasons)
Précautions limites d'emploi :
 Résistance aux chocs faibles
 Electrostatique
 Mauvaise tenue aux hydrocarbures (huiles, solvant, ...)
 Jaunissement à la lumière (stabilisants)
 Combustible, mauvaise tenue thermique
Utilisations les plus courantes :
 Equipement ménager, jouets, luminaires
 Emballage et décorations
Il existe plusieurs sorte de Polystyrène, avec des caractéristiques mécanique beaucoup moins fragile
(ex: Le Polystyrène choc)
9
Polypropylène (P.P)
Découverte en 1957
origine : Propylène + éthylène
Structure : Cristalline
Retrait : 1% à 2.8%
Densité : 0.900
Mise en oeuvre : Injection T° de Moulage : 210°à 300° C
T° du moule : 20°à 90°
Temps d'étuvage : aucun
Avantages particuliers :
 Extraordinaire résistance à la flexion
 Excellente propriétés électriques
 Bonne propriétés mécaniques
 Très bonne résistance aux produits chimiques
 Possibilité fibrilation
Précautions limites d'emploi :
 Inserts en cuivre et manganèse déconseillés
 Fragilité à la basse température (limite O°)
 Mauvaise tenue au vieillissement (nécessité adjuvants)
 Jaunissement à la lumière (stabilisants)
 Retrait non homogène
Utilisations les plus courantes :
 Pièces industrielles (automobile : bonne résistance à la température et aux produits chimiques)
 Equipement ménager
 Corps creux, bouchage tubes, tuyaux eau chaude
 Bandes de cerclage
 Composants électriques et électroniques
 Emballages alimentaire (Bac, pot, couvercle, seau, ...)
Selon le type de pièces à réaliser, il faut un Polypropylène avec des grades différents, ou des
additifs comme du P.P chargé de talc. Il existe deux familles de P.P .
1. Les homopolymères : le même motif chimique se répète à l'infini (ex : A.A.A.A.A.A)
2. Les copolymères : qui est un mélange de deux produits différents (ex : A.B.A.B.A.B)
10
Polyéthylène haute densité (P.E)
Découverte en 1937 pour le P.E basse densité et en 1957 pour le P.E haute densité
origine : Ethylène
Structure : Cristalline
Retrait : 1.3% à 3.5%
Densité : 0.945 à 0.960
Mise en œuvre : Injection T° de Moulage : 160°à 300° C
T° du moule : 20°à 60°
Temps d'étuvage : aucu
Avantages particuliers :
 Caractéristiques améliorées par rapport au P.E basse densité
 Rigidité, brillance de surface
 Résistance à la température (-40° à +125°) vieillissement aux chocs, inertie chimique,
résistance à l'eau bouillante
 Anti-adhérence accrue
 Absence de fissuration sous tension
Précautions limites d'emploi :
 retrait différentiel
 Densité plus élevée que le P.E bd
 Nécessité incorporation d'agents antistatiques pour certaines applications
Utilisations les plus courantes :
 Casiers de manutention
 Articles ménagers, jouets, sièges, luminaires
 Isolation électrique réservoirs, chaudronnerie anticorrosion
 Mono-multi filaments, fils plats étirés, corderies, sacs
Le P.E basse pression est toujours de haute densité , et le P.E haute pression est toujours de basse
densité
11
Polycarbonate (P.C)
Découverte en 1957
origine : Bisphenol A , carbonate de biphényle
Structure : Amorphe
Retrait : 0.7%
Densité : 1.20
Mise en œuvre : Injection T° de Moulage : 270°à 320° C
T° du moule : 85°à 120°
Temps d'étuvage : de 2 à 6 h
T° d'étuvage : 120°
Avantages particuliers :
 Excellentes propriétés mécaniques (incassables)
 Ténacité, dureté, résistance aux chocs
 Excellentes propriétés électriques
 Conservation des caractéristiques sur un large intervalle de températures
 Stabilité dimensionnelle
 Tenue aux U.V (ultra violet), bonne transparence
 Autoextinguible, imperméabilité à la vapeur d'eau
 Alimentaire
Précautions limites d'emploi :
 Résiste mal aux super-carburants
 Attaqués par les lessives
 Mauvaise tenue aux hydrocarbures (huiles, solvant, ...)
 Jaunissement à l'extérieur (nécessité d'un stabilisants)
 Nécessité d'étuvage avant transformation
 Pressions et températures injection relativement élevées
Utilisations les plus courantes :
 Appareillage électrique et électronique
 Luminaires, signaux lumineux, lentilles optiques
 Cartes de protection, guichets
 Matériel stérilisable (bacs chirurgicaux, biberon)
En cas d'arrêt prolongé de la presse, il faut baisser les chauffes entre 160°et 180° C ,Parce que c'est
une matière qui se dégrade vite et qui risque de faire des points noirs sur les pièces au redémarrage
12
Polyamide (P.A)
Découverte en 1946
origine : Caprolactame(préparé à partir du phénol)
Structure : Critalline
Retrait : 1% à 2.3%
Densité : 1.13
Mise en oeuvre : Injection T° de Moulage : 230°à 260° C
T° du moule : 50°à 95°
Temps d'étuvage : 4 h
T° d'étuvage : 90°
Avantages particuliers :
 Excellentes propriétés mécaniques (incassables)
 Plage de température de fusion plus large
 Résistance aux solvants usuels
 Bonne tenue au feu
 Bonnes caractéristiques électriques
Inconvénients :
 Hydroscopicité supérieure (pouvoir de reprendre l'eau)
 Variation des caractéristiques en fonction des températures et de l'humidité
 Dissous par les phénols et acide formique
 Aspect de surface moyen
 Nécessité d'étuvage avant transformation
Utilisations les plus courantes :
 Appareillage électrique et électronique (Programmateurs, connecteurs, douilles lampes,
carters, fiches)
 L'automobile (turbines, poignées, flotteurs, compteurs, pare-choc, enjoliveurs
 Electro-ménager (carters, turbines, poulies, éléments de robots, fouet, pieds de mixers)
 Divers (briquets, téléphone, valves aérosol, seringues, casques)
On distingue plusieurs sortes de P.A : (6 - 6.6 - 6.6 chargé à 30% de fibre de verre - 6.10 - 11 -
12 et même du polyamide transparent Chaque numéro correspond à des critéres bien
particulier, et influence les propriétées mécaniques des pièces moulées
13
Acrylonitrile Butadiène Styrène (A.B.S)
Découverte entre 1946 et 1947
origine : Acrylonitrile butadiène styrène
Structure : Amorphe
Retrait : 0.4% à 0.7%
Densité : 1.05
Mise en oeuvre : Injection T° de Moulage : 210°à 270° C
T° du moule : 30°à 80°
Temps d'étuvage : de 2 à 4 h
T° d'étuvage : 90°
Avantages particuliers :
 Rigidité
 Aspect agréable ( surfaces dures et brillantes)
 Stabilité dimensionnelle
 Bonne résistance aux chocs et aux rayures
 Assez bonne tenue à la chaleur et à l'humidité
 Alimentaire
 Moulage et formage aisés, décoration et impression facile
Précautions limites d'emploi :
 Opacité
 Trés électrostatique (nécessité d'agents antistatiques)
 Tenue chimique assez faible
 Jaunissement à l'extérieur (nécessité d'un stabilisants)
 Transparence laiteuse
Utilisations les plus courantes :
 Industrie automobile (calandre, tableau de bord)
 Electro-ménager (capotage, carter, cuve réfrigérateur)
 Radio, T.V, photo, appareil téléphonique
 Ameublement
Par son aspect et son état de surface d'une excellente qualitée , les pièces moulées peuvent être
décorées . Elles supportent facilement l'impression, ou la métallisation
14
Polyoxyméthylène (P.O.M)
origine :
Structure : Amorphe
Retrait : 0.5% à 0.7%
Densité : 1.06 à 1.10
Mise en oeuvre : Injection T° de Moulage : 180°à 250° C
T° du moule : 30°à 80°
Temps d'étuvage : de 2 à 4 h
T° d'étuvage : 90°
Avantages particuliers :
 Elasticité
 Résistance au fluage
 Endurance à la fatigue mécanique
 Faible reprise d'humidité
 Bonne qualité de frottement
 Tenue aux produits pétroliers et solvants courants
 Excellente propriété mécanique
Précautions limites d'emploi :
 Retrait élevé dû à la forte cristallinité
 Sensibilité à la lumière
 Opaque
 Inflammabilité
 Sensibilité aux acides faibles et bases
 Pressions et températures injection relativement élevées
Utilisations les plus courantes :
 Appareillage électrique et électronique
 Pièces d'horlogerie
 Déflecteurs de T.V
 Pièces automobiles (pour sa tenue en température)
Modes de transformation
 Injection , Injection souflage , Extrusion , Thermoformage , Usinage
15
Polychlorure de Vinyle (P.V.C)
origine :
Structure : Amorphe
Retrait : 0.2% à 0.4%
Densité : 1.40
Mise en œuvre : Injection T° de Moulage : 170°à 205° C
T° du moule : 40°à 70°
Temps d'étuvage : 4 h
T° d'étuvage : 80°
Avantages particuliers :
 Rigidité, stabilité dimensionnelle des pièces moulées
 Résistance à l'abrasion excellente
 Autoextinguibilité, incombustible
 Bonnes propriétés électriques
 Bon comportement aux agents chimiques
 Extrusion, formage usinage soudage aisés
Précautions limites d'emploi :
 Fragile à basse température
 Brunissement aux U.V (ultra violet)
 Précaution à prendre en injection (moulage possible dans un faible écart de température)
 Dégagement de vapeurs chlorées en cas de décomposition
 Nécessité additifs pour améliorer la résistance aux chocs
Utilisations les plus courantes :
A: pour le P.V.C rigide
 Tubes (adduction eau, assainissement, irrigation, drainage, gaine pour câbles)
 Profilés (sous plafonds, toitures, volets)
 Pièces industrielles
B: pour le P.V.C souple
 Revêtements de sols, tissus enduits (simili cuir)
 Câblerie électrique, profilés souples, joints
 Nappes, rideaux, Objets gonflables, compte-gouttes
Les PVC peuvent être utilisés non plastifiés : PVC RIGIDES ou plastifiés : PVC SOUPLE . Les
propriétés mécaniques sont trés différentes. Les caractéristiques chimiques des PVC SOUPLE sont
plus ou moins affectées.
16
Polyméthacrylate de méthyl (P.M.M.A)
Découverte en 1927
origine : Méthacrylate de méthyle
Structure : Amorphe
Retrait : 0.2% à 0.8%
Densité : 1.18
Mise en oeuvre : Injection T° de Moulage : 200°à 270° C
T° du moule : 40°à 70°
Temps d'étuvage : 4 h
T° d'étuvage : 80°
Avantages particuliers :
 Transparence optique (supérieure au verre ordinaire)
 Facilité de coloration, décoration, métallisation
 Formage, usinage, collage faciles
 Excellente tenue au vieillissement, tenue aux U.V (ultra violet)
 Rigidité, surface dure
Précautions limites d'emploi :
 Combustibilité
 Fragilité relative
 Nécessité d'un recuit pour éviter le fendillement
 Faible tenue aux températures
 Résistance chimique faible (sensible aux super carburants)
Utilisations les plus courantes :
 Luminaires, Goblet, enseignes, agencement magasin
 Industrie automobile (feux arrière, position, plafonnier, cadrans)
 Radio, T.V, téléphone (cadrans)
 Equipement sanitaire
Grades spéciaux :
Haute transparence, spécial pour horlogerie, alimentaire, stabilisé chaleur, haut poids moléculaire,
meilleure résistance à la fissuration, plastifi
17
Styrène Acrylonitrile (S.A.N)
origine : Copolymérisation du styrène et de l'acrylonitrile
Structure : Amorphe
Retrait : +ou- 0,5%
Densité : 1.06
Mise en œuvre : Injection T° de Moulage : 200°à 260° C
T° du moule : 30°à 80°
Temps d'étuvage : 2 h à 90 Parfois inutile
Avantages particuliers :
 Transparent
 Bonne résistance chimique - surface brillante et dure
 Excellente rigidité
 Bonne tenue température
 Alimentaire
 Bonne transformation
Précautions limites d'emploi :
 Résistance au choc faible
 Risque de casse au démoulage
Utilisations les plus courantes :
 Articles ménagers,(vaisselles)-Articles de bureau
 Electroménager (réservoirs)
 Automobile (tableaux de bord)
Le S.A N se travaille genéralement avec un moule chaud , entre 30 et 80° pour obtenir un aspect
brillant .
18
Polyoxyphénylène
modifié (P.P.O.m)
Structure : Amorphe
Retrait : 0.5% à 0.7%
Densité : 1.06 à 1.10
Mise en oeuvre : Injection T° de Moulage : 250°à 300° C
T° du moule : 75°à 95°
Temps d'étuvage : 2 à 4 h
T° D'étuvage : 100°
Avantages particuliers :
 Bonne tenue aux chocs
 Bonnes propriétés électriques
 Excellente absorption d'eau
 Stabilité dimensionnelle
 Tenue en température
Précautions limites d'emploi :
 Soluble ou attaqué par les hydrocarbures
 Coëfficient de frottement élevé -- grippage
Utilisations les plus courantes :
Du fait de bon comportement à l'eau chaude
 Robinetterie, élément de pompe
 Compteur d'eau chaude
 Pièces pour machines à laver le linge ou la vaisselle
 Pièces automobiles (tenue en T°)
Du fait de la stabilité dimensionnelle
 Dèflecteurs de T.V.
 Pièces d'horlogerie
Caracteristiques mécaniques :
 T° d'utilisation : -50°à 130°C
 T° de ramollissement : 150°
 allongement à la rupture : 60%
Il y a plusieurs sortes de P.P.O qui varient selon son utilisation , le P.P.O non chargé , et le P.P.O chargé à 30%
de fibre de verre. Le chargé à 30% a des caractéristique mécanique nettement meilleure que le P.P.O.m , son
retrait est de l'ordre de 0.1 à 0.3 %.
19
Polytéréphtalate d'éthylène(P.E.T)
origine : Ethylène glycol , diméthyltéréphtalate
Structure : Cristalline ou Amorphe
Retrait : 1,5% à 3%
Densité : 1,37
Mise en œuvre : Injection T° de Moulage : 250° à 290° C
T° du moule : 130°à 160°
Temps d'étuvage : Pas néccessaire (sous vide
Avantages particuliers :
 Excellentes propriétés mécaniques
 Rigidité, résistance à l'abrasion , pliure non cassante
 Faible reprise d'humidité
 Bonne résistance aux produits chimiques
 Surface des pièces très brillantes , métallisation facile
 Conserve ses propriétés sur un large intervalle de température
 Structure amorphe si le moule est à 40°-->transparence
Précautions limites d'emploi :
 Thermoformage difficile
 Reprise d'humidité presque nulle 0,1% , mais très rapide-->2H
 Impossibilité de mouler , après reprise d'humidité 0,05%
 Utilisation des rebroyés à 10% 15% mais immédiatement après moulage
Utilisations les plus courantes :
 Ruban magnétique, ruban support marquage
 Isolation moteur électrique
 Pièces de serrurerie, engrenage (stabilité dimensionnelle)
 Connecteurs, commutateurs, bobines, boîtes à fusibles
 Barquettes, plats, moules allant au four même aux micro-ondes
 Bouteilles (préforme)
Grades spéçiaux :
 Alimentaire
 Haute tenue au choc , amorphe ou cristallin
 Renforcé : fibre de verre (30%) , bille de verre
On distingue :
- Polytéréphtalate d'éthylène PET ou PETP
- Polytéréphtalate de buthylène PBT ou PBTP encore appelé parfois
- Polytéréphtalate de tétraméthylène PTMT
Les propriétés sont relativement voisines, mais diffèrent notamment sur le plan de la cristallinité : le PBTP
cristallisant plus facilement avec les conséquences habituelles : meilleurs rigidité mais à chaud ,résistance
légèrement accrue aux produits chimiques , retrait plus élevé .
20
RESUME DE QUELQUES
CARACTÉRISTIQUES DES MATIÈRES
MATIERE DIF . THER T° INJ T° MOULE DENSITE
ABS 0.084 240 50 1.05
PA 6 0.065 240 60 1.13
PA 6.6 0.065 280 80 1.14
PA 6.6 FV 0.065 290 80 1.37
PBT 0.08 260 80 1.29
PETP 0.09 280 60 1.34
PC 0.09 300 100 1.18
PE bd 0.09 230 25 0.93
PE hd 0.077 250 50 0.95
PMMA 0.06 240 80 1.18
POM 0.0533 205 90 1.42
PPO 0.08 285 80 1.08
PP 0.065 240 35 0.9
PS 0.083 230 40 1.03
PVC sou 0.05 170 40 1.3
PVC rig 0.05 185 50 1.4
SAM 0.085 230 40 1.08
21
1. Coûts compétitifs des matières plastiques :
Les coûts des matières plastiques sont devenus compétitifs sous l'influence de
plusieurs facteurs :
 le perfectionnement des matières et des procédés et l’augmentation des séries fait
baisser le prix du produit fini ;
 la multifonctionnalité et le moulage de formes complexes entraînent de sérieuses
économies de fabrication et d'assemblage.
Figure7- Les prix indicatifs des familles de plastiques, comparés aux autres matériaux
IV. Quel avenir pour les matières plastiques ?
L’industrie de la transformation du plastique en Europe et aux USA a évolué depuis
les années 80 de façon continue alors que les dernières années, on avait vu une forte
augmentation de la production mais également de la consommation. En Tunisie, la
consommation de plastique dépasse 17kg par habitant.
Il existe par ailleurs pour la Tunisie un marché local en croissance, pas seulement pour
les plaques, feuilles, tubes et profilé mais aussi pour les pièces techniques notamment grâce
au secteur automobile et du bâtiment.
L’activité principale est la transformation du plastique à destination des marchés
automobile, agricole, du bâtiment, de l’emballage, de l’électricité ou l’électronique.
Le secteur fait intervenir différentes technologie, notamment l’injection, l’extrusion, le
moulage par compression, l’extrusion soufflage, mais également des opérations simples,
telles que la décoration par impression ou encore le recyclage.
22
Figure 8 - Exemple des objets plastique.
23
Elaboration des matières plastiques
Les techniques de transformation des plastiques dépendent de la nature des polymères
et de la destination des produits finis. Les principaux procédés de fabrication industrielle
sont : l’injection, l’injection soufflage, l’extrusion, l’extrusion soufflage, le
thermoformage, l’expansion moulage, le calandrage, le roto-moulage.
I. L’injection
Le moulage par injection sur une presse est le principal procédé de transformation des
thermoplastiques. Il consiste à ramollir (état visqueux) la résine, généralement en granulés,
introduite dans la presse et à l’injecter sous forte pression au travers d’une buse dans
l’empreinte d’un moule. La pièce produite est généralement terminée et utilisable aussitôt.
C’est une méthode de production très rapide pour produire des objets en très grande
quantité. La technique de fabrication est fréquente pour fabriquer des objets moulés de
qualité, parfois de forme compliquée dans le domaine de l’automobile, du jouet ou de
l’électronique. On peut réaliser des objets très volumineux, par contre, il n'est pas possible de
faire des parois supérieures à 6 mm.
Figure 9 - Principe d’une presse d’injection plastique et un moule
24
II. L’injection soufflage
Est un procédé utilisé pour fabriquer la plupart des bouteilles et des flacons. On utilise
des pièces semi-finies obtenues par injection. Par exemple pour les bouteilles d’eaux
minérales, le plastique est préformé. Le corps de la préforme est chauffé puis une tige étire la
préforme jusqu'au fond du moule. Enfin, un très puissant jet d’air plaque la matière contre les
parois du moule. La préforme prend alors la forme et le moule est refroidi puis ouvert pour
faire sortir la bouteille. Comme pour l’injection, pour changer la forme de la bouteille, il suffit
de changer le moule.
Figure 10 – moule et préforme
III. L’extrusion
L’extrusion consiste à introduire au moyen d’une trémie, la résine en granulés ou en
poudre dans une chambre ou fut cylindrique à vis. La fluidification est aidée par le chauffage
du fourreau la tète de la machine comporte une filière destinée à donner à la matière qui la
traverse la forme désirée. Le produit obtenu passe entre des rouleaux qui le soutiennent
pendant le refroidissement par aspersion d’eau ou jets d’air frais.
25
Figure 11 - une presse de l’extrusion et sa filière
IV. L’extrusion soufflage
Permet de fabriquer des corps creux. Cela commence par l’extrusion d’un tube plein
appelé la paraison. Ce tube de plastique encore chaud sortant de la filière est coupé et un
moule froid en deux parties se referme autour de lui. Ensuite, de l'air est injecté dans la
matière par une canne de soufflage et le polymère vient se plaquer sur les parois intérieures du
moule qui est rapidement refroidit. Le procédé se termine par le démoulage, le décarottage et
l’élimination des déchets de moulage de la pièce.
Figure 12 - une presse de l’extrusion avec une paraison
26
V. L'extrusion gonflage
C’est une variante de l’extrusion qui permet de fabriquer des films plastiques. Ce
procédé consiste en sortie de l’extrudeuse à dilater avec de l'air comprimé une gaine polymère
précédemment formée. La sortie de l’extrudeuse est verticale, on souffle de l’air comprimé
dans la matière fondue qui se gonfle et s’élève verticalement en une longue bulle de film.
Après refroidissement, des rouleaux aplatissent le film en une gaine plane qui s’enroule sur
des bobines. On fabrique ainsi des films utilisés dans la fabrication d’emballages, de sacs-
poubelles, de sacs de congélation, des poches médicales pour perfusion et des feuilles souples
et fines de revêtements pour serres horticoles.
Figure 13 – une presse d’extrusion avec un mandrin
27
VI. Le formage ou le thermoformage
Le formage ou thermoformage est une opération de seconde transformage à partir d’un
produit semi-fini en feuilles ou films. La mise en forme est réalisée par un procédé thermique
ou mécamique. Le produit realisé est un produit fini.
Figure 14 – schéma du principe de thermoformage
VII. L’expansion moulage
L’expansion permet de réaliser des pièces généralement volumineuses avec un poids
léger. Les matiére de base sont complétées par des éléments gonflants. La production est
réalisée à froid ou à chaud.
28
VIII. Le calandrage
Le calandrage est destiné à la fabrication de films, feuilles de plastique et
d’élastomère, ainsi qui au doublage direct de films sur des supports en papier ou en tissu. Le
calandrage s’effectue sur une machine à plusieurs cylindres, la calandre. Cette machine est
constituée de deux bâtis sur lesquels sont montés des cylindre en fonte trempée et dotés de
conduit permettent la circulation d’un fluide thermique qui permet de conserver les cylindres
à une température uniforme.
Figure 15 – Machine de calandrage pour feuilles plastique
IX. Le rotomoulage
Le rotomoulage est destiné à la fabrication de corps creux généralement de grandes
dimension. Le rotomoulage s’effectue sur des machines à deux axes de rotation orthogonaux.
La forme intérieure du moule correspond à celle de l’extérieure de la pièce après
refroidissement.
29
Figure 16 - schéma du principe de rotomoulage
C. Présentation du procédé et de l’équipement d’injection plastique
I. Le procédé
Le procédé d’injection est le procédé de transformation des plastiques le plus répandu
après l’extrusion. L’injection est un procédé de mise en œuvre des thermoplastiques, il
consiste à ramollir le plastique généralement en granulés introduit dans la presse et de
l’injecter sous forte pression à travers une buse dans l’empreinte d’un moule. La pièce
produite est généralement terminée et utilisable aussitôt.
Figure 17 - les différentes étapes d’injection
Pourquoi la matière pastique est-elle chauffée ?
La matière plastique sous forme de granulé introduite dans la trémie doit être chauffée
pour fournir une pate fondante à l’aide du fourreau. Chaque matière plastique a sa température
de mise en œuvre.
30
1. Phase de plastification
La phase de plastification a pour objectif de faire fondre le volume de matière nécessaire
pour l'injection de la pièce et de l'amener à la température d'injection.
 Température : On vise une température matière de l’ordre de 280 °C. Le profil
de température doit être régulièrement croissant de la trémie à la buse avec 260 °C
à la zone d'alimentation.
 Vitesse de rotation de la vis : La vitesse de rotation de la vis doit être telle que la
vitesse périphérique soit comprise entre 3 et 10 m/min.
 Contre pression : la contre-pression sur la vis doit être faible et peut être nulle
(pression hydraulique entre 0 et 10bars).
Figure 18 - Phase de plastification
2. La phase d’injection :
Les qualités et l'aspect de surface dépendent fortement de la phase de remplissage de la cavité.
Pour assurer un remplissage complet de l'empreinte et obtenir des pièces uniformes, la
pression et la vitesse d'injection doivent être aussi élevées que possible sans produire de
dégradations ou de phénomènes de brûlures par effet Diesel, ni provoquer d'écoulement
nuisible au fini de surface de la pièce.
3. Phase de maintien :
La phase de maintien, qui suit l'injection, termine le remplissage de la pièce et compense
ensuite la diminution de volume spécifique (causée par une diminution de la température ainsi
que de la cristallisation) par un apport de matière: le débit est faible mais la pression est
élevée. La précision des cotes, la stabilité dimensionnelle ainsi que l'aspect de surface sont
influencés par la valeur de la pression de maintien. Il est recommandé, en fonction des
tolérances souhaitées, l'application d'une pression matière comprise entre 300 et 1500 bars.
31
Figure 19 - Pression hydraulique au cours du cycle de moulage en fonction du temps
4. Phase de refroidissement
Pendant le cycle d’injection de la matière plastique, pour remplir convenablement
l’empreinte, la matière doit rester fluide. La température de la matière plastique doit rester
stable de la sortie de la buse de la presse jusqu’à l’empreinte du moule.
Apres l’injection, la matière plastique mise en forme dans l’empreinte du moule à
chaud, ne peut être démoulée avant que la pièce conformée dans l’empreinte ne soit
suffisamment rigide, pour résister aux efforts d’éjection, il faut procéder au refroidissement
des zones qui entourent l’empreinte.
5. Phase d’éjection
L’éjection des pièces après refroidissement et ouverture du moule doit être facilement
réalisée, sans rupture de la pièce ou déformation permanente avant le refroidissement définit.
II. La presse d’injection
1. Description d’une presse
La presse à injecter est le dispositif, qui, à l`aide d`un moule introduit à son intérieur,
permet de produire des pièces plastiques plus ou moins complexes.
Fig
La presse est composée de plusieurs sous ensembles :
les plateaux (fixe et mobile), le
Eléments
Bâti
Pupitre de commande
Les plateaux
Le groupe de fermeture
Les colonnes
2. Mécanisme de fermeture
a) Force de fermeture
La force de fermeture est la force nécessaire pour maintenir le moule fermé lors de
l'injection. Cette force est calculée par rapport à la pression exercée dans le moule pendant
l’injection. Elle doit être supérieure à la pression d'injection. Il est obli
verrouillage du moule, sinon lors de l'injection, il se produit une ouverture et du toilage sur les
pièces.
fer
i
proj
F : Force de fermeture en (N)
P : Presseion d'injection en (Pa)
S : Surface projetée en (mm²)
NB : La pression de verrouillage doit
Figure 20 – éléments d’une presse d’injection
La presse est composée de plusieurs sous ensembles : le bâti, le pupitre de commande,
les plateaux (fixe et mobile), le groupe de fermeture, les colonnes, l`ensemble vis
Définition
Le bâti est le sommier en acier soudé ou en fonte qui supporte
l`ensemble des organes nécessaires au bon fonctionnement de
la presse
Le pupitre de commande est la partie qui sert à la
programmation de la presse
Les plateaux permettent de fixer le moule à la presse
Le groupe de fermeture est le dispositif de manœuvre des
plateaux qui doit assurer l`ouverture, la fermeture et le
verrouillage du moule avec une force suffisante pour
s`opposer à l’ouverture du moule pendant l`injection
Les colonnes servent à guider le plateau mobile pendant les
phases d`ouverture fermeture. Elles relient le plateau fixe au
plateau arrière
Mécanisme de fermeture
La force de fermeture est la force nécessaire pour maintenir le moule fermé lors de
l'injection. Cette force est calculée par rapport à la pression exercée dans le moule pendant
l’injection. Elle doit être supérieure à la pression d'injection. Il est obligatoire d'exercer un
verrouillage du moule, sinon lors de l'injection, il se produit une ouverture et du toilage sur les
F : Force de fermeture en (N)
P : Presseion d'injection en (Pa)
S : Surface projetée en (mm²)
La pression de verrouillage doit-être de 20 à 25% supérieur à la pression d'injection.
fer i projF P * S
32
, le pupitre de commande,
groupe de fermeture, les colonnes, l`ensemble vis-fourreau.
est le sommier en acier soudé ou en fonte qui supporte
l`ensemble des organes nécessaires au bon fonctionnement de
Le pupitre de commande est la partie qui sert à la
permettent de fixer le moule à la presse
Le groupe de fermeture est le dispositif de manœuvre des
plateaux qui doit assurer l`ouverture, la fermeture et le
verrouillage du moule avec une force suffisante pour
du moule pendant l`injection
Les colonnes servent à guider le plateau mobile pendant les
phases d`ouverture fermeture. Elles relient le plateau fixe au
La force de fermeture est la force nécessaire pour maintenir le moule fermé lors de
l'injection. Cette force est calculée par rapport à la pression exercée dans le moule pendant
gatoire d'exercer un
verrouillage du moule, sinon lors de l'injection, il se produit une ouverture et du toilage sur les
être de 20 à 25% supérieur à la pression d'injection.
33
b) Différents mécanisme de fermeture
Les différents mécanismes de fermeture sont représentés dans le tableau Ci-dessous :
Types de fermetures Rôles
FERMETURE MECANIQUE Bien que les mouvements sont assurés par un
vérin, elle est appelée mécanique, car l'effort de
verrouillage est assuré par les genouillères. Sur
certaine presse, lorsque le point d'alignement est
dépassé, on peut couper la pression dans le vérin
et l'ensemble reste stable.
FERMETURE HYDRAULIQUE Ce type de fermeture ne fait appel à aucun
mouvement mécanique. Ceux-ci sont réalisés par
des mouvements hydraulique à l'aide d'un gros
vérin central qui a pour but de faire l'approche du
plateau mobile jusqu'au plateau fixe , et d'un
vérin plus petit qui assure le verrouillage dans la
phase final de fermeture.
FERMETURE MIXTE Ce procédé est un compromis entre la fermeture
hydraulique et la fermeture mécanique. En effet,
les mouvements d'ouverture et de fermeture se
font uniquement par des genouillères, tandis que
le verrouillage est assuré par un ou des vérins
hydrauliques.
Tableau 2 - type de fermeture
2. Le mécanisme d’injection
L’unité d’injection principale est constituée des ensembles suivants : la force de
fermeture commandée par un vérin hydraulique et une genouillère de fermeture, le fourreau
(cylindre de plastification), un clapet anti-retour, un support mobile, la buse d’injection et
d’une vis de plastification et de dosage de la matière plastique.
a) Fourreau
Le fourreau, étant soumis à l'abrasion, est de préférence fabriqué par bi-métallisation pour
accroître sa durée de vie.
b) La vis d’injection
C'est l'élément le plus important de la presse à injecter.
Le but étant de plastifier une m
passage en fusion.
Elle assure 2 fonctions essentielles :
 Transport et plastification de la matière.
 Injection sous pression de la masse fondue dans le moule.
On distingue 4 types :
 Vis à profil pour matières amorphes.
 Vis pour matières semi
 Vis à profil universel.
 Vis pour matières spécifiques (sans clapet pour
c) La buse
La buse (ou le nez), situé à l'extrémité du fourreau, assure
doit être chauffé de façon à pouvoir compenser les déperditions calorifiques ver
plus froid (figure). Tous les types de buse à obturateur peuvent être utilisés. Les systèmes à
aiguille avec fermeture à ressort sont p
zones de stagnation.
d) Clapet anti-retour
Rôle
Figure 21 - Fourreau
C'est l'élément le plus important de la presse à injecter.
Le but étant de plastifier une matière sans lui faire perdre ses caractéristiques au moment du
Elle assure 2 fonctions essentielles :
Transport et plastification de la matière.
Injection sous pression de la masse fondue dans le moule.
profil pour matières amorphes.
Vis pour matières semi-cristallines
Vis pour matières spécifiques (sans clapet pour PVC (rigide))
Figure 22 – Vis d’injection
nez), situé à l'extrémité du fourreau, assure le contact avec le moule. Il
doit être chauffé de façon à pouvoir compenser les déperditions calorifiques ver
). Tous les types de buse à obturateur peuvent être utilisés. Les systèmes à
aiguille avec fermeture à ressort sont préférables pour leur bonne étanchéité et l'absence de
Figure 23 – buse ouverte
34
atière sans lui faire perdre ses caractéristiques au moment du
le contact avec le moule. Il
doit être chauffé de façon à pouvoir compenser les déperditions calorifiques vers le moule,
). Tous les types de buse à obturateur peuvent être utilisés. Les systèmes à
référables pour leur bonne étanchéité et l'absence de
Lors de l’injection, le clapet anti
matière le long de la vis. L’étanchéité du clapet est indispensable à la robustesse du procédé.
Fonctionnement
Le clapet comporte trois pièces : Pointe de
bague du clapet est repoussée contre la pointe de la vis par l’afflux de matière plastifiée. Le
flux de matière passe à l’intérieur de la bague, puis à travers les rainures de la pointe. Lors de
l’injection, la vis de plastification avance et plaque le siège contre la bague. La matière ne
peut plus refluer vers l’arrière du clapet.
III. Cycle de moulage
Ce cycle commence toujours par une ouverture du moule et il se déroule de la façon
 Fermeture du moule :
Ce mouvement commence avec une vitesse lente puis rapide, et se termine de nouveau
lentement pour éviter le choc entre les plans de joint et pour donner le temps d’agir au
système de sécurité.
 Verrouillage du moule
Une force importante en fonction des critères techniques (matière à injecter, forme des
pièces etc.) est appliquée pour maintenir les deux surfaces des parties fixe et mobile en
contact,
 Injection de la matière
C’est la phase de remplissage de(s) (l’) empreinte(s) avec la matière plastifiée et le
maintien sous pression pour compenser les retraits.
 Refroidissement Il a lieu le temps nécessaire pour que le plastique se solidifie dans le
moule.
 Ouverture du moule
Lors de l’injection, le clapet anti-retour de la vis de plastification empêche le reflux de
matière le long de la vis. L’étanchéité du clapet est indispensable à la robustesse du procédé.
te trois pièces : Pointe de vis, bague et siège. Durant le dosage, la
bague du clapet est repoussée contre la pointe de la vis par l’afflux de matière plastifiée. Le
flux de matière passe à l’intérieur de la bague, puis à travers les rainures de la pointe. Lors de
stification avance et plaque le siège contre la bague. La matière ne
l’arrière du clapet.
Figure 24 – Clapet anti-retour
Ce cycle commence toujours par une ouverture du moule et il se déroule de la façon
:
Ce mouvement commence avec une vitesse lente puis rapide, et se termine de nouveau
lentement pour éviter le choc entre les plans de joint et pour donner le temps d’agir au
Verrouillage du moule:
ne force importante en fonction des critères techniques (matière à injecter, forme des
pièces etc.) est appliquée pour maintenir les deux surfaces des parties fixe et mobile en
Injection de la matière :
C’est la phase de remplissage de(s) (l’) empreinte(s) avec la matière plastifiée et le
maintien sous pression pour compenser les retraits.
a lieu le temps nécessaire pour que le plastique se solidifie dans le
35
retour de la vis de plastification empêche le reflux de
matière le long de la vis. L’étanchéité du clapet est indispensable à la robustesse du procédé.
Durant le dosage, la
bague du clapet est repoussée contre la pointe de la vis par l’afflux de matière plastifiée. Le
flux de matière passe à l’intérieur de la bague, puis à travers les rainures de la pointe. Lors de
stification avance et plaque le siège contre la bague. La matière ne
Ce cycle commence toujours par une ouverture du moule et il se déroule de la façon suivante :
Ce mouvement commence avec une vitesse lente puis rapide, et se termine de nouveau
lentement pour éviter le choc entre les plans de joint et pour donner le temps d’agir au
ne force importante en fonction des critères techniques (matière à injecter, forme des
pièces etc.) est appliquée pour maintenir les deux surfaces des parties fixe et mobile en
C’est la phase de remplissage de(s) (l’) empreinte(s) avec la matière plastifiée et le
a lieu le temps nécessaire pour que le plastique se solidifie dans le
36
Le plastique étant suffisamment refroidi pour pouvoir être démoulé, la partie mobile
du moule s’écarte de la partie fixe.
 Ejection de la pièce
La pièce solidifiée : à l’aide des éjecteurs avec un vérin hydraulique.
Résumé du cycle d'injection
Figure 25 : résumé du cycle d’injection
La figure ci-dessous montre les différentes phases d’un cycle de production de pièces
injectées, sur une presse classique équipée d’un groupe de plastification et d’injection à vis, et
son grafcet.
37
Figure 26 - Gafcet de fonctionnement semi automatique d’une presse
38
IV. Temps de cycle
Et
ct Temps de cycle de moulage
reft Temps de refroidissement
remt Temps de remplissage
ant Temps annexe
ot Temps d’ouverture du moule
fe rt Temps de fermeture du moule
e jt Temps d’éjection de la pièce
opt Temps d’intervention de l’opérateur
 Le temps de remplissage :
Le temps de remplissage est le rapport entre le volume à injecter et le débit d’injection
de la machine :
3
3
: volume à injecter (mm )
: débit d'injection de la machine (depend de la matiére) en ( mm / )
i
i
V
Q s
  c ref rem ant t t t    an o fer ej opt t t t t
 i
remp
i
V
t
Q
39
 Le temps de refroidissement :
Il existe deux méthodes approchées pour évaluer le temps de refroidissement :
a) La méthode de MORGUE1
- Pour les pièces minces : exemple une plaque
On considère une plaque mince de surface S>>>e et d’épaisseur e
Figure 27 : plaque mince
Selon MORGUE la quantité de chaleur transférée entre la pièce et le moule est la
suivante :
(1)
: quantité de chaleur transferée ( cal)
: surface totale d'échange moule/matiére (mm²)
: différence de température ( °C)
: temps d'échange (s)
: mi-épaisseur de la pièce (mm)
: coef de condu


Q
S
T
t
e
k ctivité thermique de la moulée (cal/mm °C s)
D’autre part on a :
(2)
M : quantité de la matiére plastique (g)
C : chaleur spécifique de la matiére plastique (cal/°C.g)
Si on égalise les deux équations (1) et (2) on aura :
2
* * * *  

S
k T t M C T
e
* *
2 *

 ref
M C e
t
S k
2
* * * 

S
Q k T t
e
* * Q M C T
40
Or
2
 

M M
V S e
 on le remplace dans l’équation
2
 
 ref
C e
t
k

On pose 

k
a
C
à la fin on aura notre temps de refroidissement
3
a : coefficient thermique ou diffusivité thermique (mm²/s)
: masse volumique de la matiére plastique (g/mm )
- Cas des pièces non mince (ou de géométrie quelconque) on définit le coefficient
d’EVLITZ
1 surface totale d'échange
volume refroidi
 

w
e
Par conséquent on aura
b) Méthode thermodynamique
Selon le principe de la thermodynamique et d’échange thermique on admet le résultat
suivant :
 Géométrie d’une plaque :
2
: épaisseur de la plaque (mm)
: coefficient thermique de la pièce ( / )
: temperature d'injection de la matière( °C)
: temperature du moule (°C)
: temperature d'éjection (de démoulage) (°C)
i
m
e
e
a mm s
T
T
T
 Géométrie d’un cylindre :
2

ref
e
t
a
2
1


reft
a w
2
2 2
8
ln
  
   
    
i m
ref
e m
T Te
t
a T T 
2
ln 0.68
5.78
  
   
    
i m
ref
e m
T TR
t
a T T
41
2
: rayon du cylindre (mm)
: coefficient thermique ( / )
: temperature d'injection de la matière(°C)
: temperature du moule (°C )
: temperature d'éjection (de démoulage) (°C)
i
m
e
R
a mm s
T
T
T
Remarque:
Le temps de refroidissement est le temps le plus long du cycle de moulage à cet effet
il est indispensable de prévoir un système de refroidissement efficace pour minimiser le temps
de cycle. Nous étudierons donc dans un chapitre comment mettre en place un tel système.
42
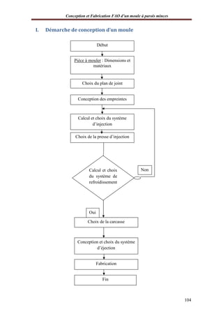
D. conception des moules
Le moule est la partie la plus importante dans le procédé d’injection. Un moule est
une pièce mécanique complexe qui servira à produire un grand nombre de pièces, en injection
de la matière plastique ou du métal en fusion dans les empreintes prévues à cet effet. Le
moule est utilisé sur une machine appelée presse d’injection. Il est fixé sur les plateaux de la
presse qui assure son ouverture, sa fermeture et son verrouillage.
Le moule est sollicité mécaniquement à chaque cycle, il doit être en mesure de
transférer un état de surface désirée sur la pièce moulée et ceci sur tout au long de sa durée de
vie.
Les fonctions d’un moule :
Un moule doit remplir plusieurs fonctions :
- Fonction d’alimentation : canaliser la matière plastifiée du fourreau de la presse, vers
l’empreinte.
- Fonction de refroidissement : assurer la solidification aussi rapide que possible en
donnant aux pièces moulées une rigidité suffisante pour les extraire du moule.
- Fonction mise en forme ou empreinte : c’est la forme et les dimensions de la partie
moulante qui détermine la forme et les dimensions de la pièce plastique souhaitée.
- Fonction d’éjection : éjecter les pièces quand elles sont assez rigides.
Autres fonctions secondaire :
- Fonction de sécurité
- Fonction de démoulage
- Guidage et centrage des empreintes par des colonnes.
I. Composition d’un moule à injection pour les thermoplastiques
Les composants d’un moule sont représentés dans le schéma suivant
Figure 28
Nom de l’élément Rôle
Colonne de guidage Indispensable pour que le moule s’ouvre et se ferme avec
précisons.
Porte empreinte Les empreintes sont fixées sur des plaques appelées portes
empreintes.
Bague de centrage Permet de fixer le moule sur les plateaux de la presse, d’aligner le
nez de la machine avec la buse du moule.
Buse d’injection Permet de transporter la matière depuis le nez de la machine
jusqu’aux canaux de distribution.
Canaux de refroidissement On a une circulation de fluide de refroidissement dans ces canaux
afin de solidifier la pièce avant éjection de la pièce.
Semelle Permet de fixer la partie fixe du moule sur le plateau de la presse
côté injection.
Semelle inférieure Permet de fixer la partie mobile du moule sur le plateau mobile de
la presse côté éjection.
Douille de centrage Guidage de la colonne pour avoir une précision à l’ouverture et à
la fermeture du moule.
Broche de remise à zéro Permet d’ajuster l
Arrache carotte Comme son
Queue d'éjection La broche d’éjection de la presse commandée par un vérin
hydraulique agissant sur la queue d’éjection pour effectuer
l’éjection.
Ejecteurs Ils assurent l’évacuation de la pièce hors de l’empreinte à cause du
faible retrait de la pièce
Entretoise Une entretoise est utilisée dans les moules pour manager la place
des plaques et des contres plaques éjecteurs.
Plaque éjecteur et contre
plaque
Ces deux plaques contiennent les pieds des éjecteurs et la tige de
rappel.
Composition d’un moule à injection pour les thermoplastiques
d’un moule sont représentés dans le schéma suivant :
Figure 28 – les composants d’un moule à deux plaques
Rôle
Indispensable pour que le moule s’ouvre et se ferme avec
précisons.
Les empreintes sont fixées sur des plaques appelées portes
empreintes.
Permet de fixer le moule sur les plateaux de la presse, d’aligner le
nez de la machine avec la buse du moule.
Permet de transporter la matière depuis le nez de la machine
jusqu’aux canaux de distribution.
On a une circulation de fluide de refroidissement dans ces canaux
afin de solidifier la pièce avant éjection de la pièce.
Permet de fixer la partie fixe du moule sur le plateau de la presse
côté injection.
Permet de fixer la partie mobile du moule sur le plateau mobile de
la presse côté éjection.
Guidage de la colonne pour avoir une précision à l’ouverture et à
la fermeture du moule.
Permet d’ajuster les éjecteurs après éjection
Comme son nom l’indique il permet d’arracher la carotte
La broche d’éjection de la presse commandée par un vérin
hydraulique agissant sur la queue d’éjection pour effectuer
l’éjection.
Ils assurent l’évacuation de la pièce hors de l’empreinte à cause du
faible retrait de la pièce
Une entretoise est utilisée dans les moules pour manager la place
des plaques et des contres plaques éjecteurs.
Ces deux plaques contiennent les pieds des éjecteurs et la tige de
rappel.
43
Composition d’un moule à injection pour les thermoplastiques
Indispensable pour que le moule s’ouvre et se ferme avec
Les empreintes sont fixées sur des plaques appelées portes
Permet de fixer le moule sur les plateaux de la presse, d’aligner le
Permet de transporter la matière depuis le nez de la machine
On a une circulation de fluide de refroidissement dans ces canaux
afin de solidifier la pièce avant éjection de la pièce.
Permet de fixer la partie fixe du moule sur le plateau de la presse
Permet de fixer la partie mobile du moule sur le plateau mobile de
Guidage de la colonne pour avoir une précision à l’ouverture et à
l’indique il permet d’arracher la carotte
La broche d’éjection de la presse commandée par un vérin
hydraulique agissant sur la queue d’éjection pour effectuer
Ils assurent l’évacuation de la pièce hors de l’empreinte à cause du
Une entretoise est utilisée dans les moules pour manager la place
Ces deux plaques contiennent les pieds des éjecteurs et la tige de
44
II. Quelques types de moule
Noms Caractéristiques Schémas
Moule standards
à 2 plaques
-Simplicité de conception
-Un seul plan de joint
-Ouverture dans une seule
direction
-Démoulage par gravité,
avec broches ou douilles
d’éjecteurs.
-Injection directe ou par les
côtés de la pièce au niveau
du plan de joint.
Moule à tiroir -Plus d’un plan de joint
-Ouverture dans une seule
direction.
-Déplacement
perpendiculaire du ou des
tiroirs par rapport à
l’ouverture du moule afin
de dégager les contre
dépouille.
-Généralement l’injection
se fait par les cotés de la
pièce au niveau du plan de
joint.
Ici la contre dépouille et de type trou
Moule à plaque de
dévêtissage
Simplicité de conception
Un seul plan de joint
Ouverture dans une seule
direction
Démoulage par gravité,
avec plaque qui s’appuie
sur tout le contour de la
pièce pour faciliter le
démoulage sans
l’endommager ou faire de
marques.
Injection directe ou par les
cotés de la pièce au niveau
du plan de joint
45
Moule à trois
plaques
Simplicité de
conceptionDeux plans de
joint
Ouverture dans une seule
direction
Démoulage par gravité,
avec broches ou douille
d’éjecteur avec en plus, un
plateau mobile pour séparer
automatiquement au
démoulage, la carotte et les
canaux des pièces ;
Moule à coins
(empreinte
divisée)
Une seule ligne de
séparation ;
Ouverture dans une seule
direction et déplacement
transversal par rapport à la
direction d’ouverture
d’organes sur glissières
pour dégager la pièce de
contre dépouille
l’entourant, à l’aide de
mécanismes divers ;
Les sections d’empreintes
glissent sur un plan incliné
et peuvent supporter des
charges latérales
Moule à broches
rotatives filetées
Démoulage automatique
d’un filet par la rotation
d’organes activés
mécaniquement ou par
d’autres techniques,
Coût élevé du moule
46
Moule à carotte
ou canaux chauds
Les canaux sont dans un
collecteur chauffé
électriquement ;
Les moules à carottes
chaudes présentent les
mêmes avantages que les
moules à 3 plaques au
niveau de l’aménagement
des seuils d’alimentation
avec moins de pression
d’injection requise ;
Coût élevé du distributeur.
Moule à canaux
isolés
Système de canaux non
conventionnel. La section
des canaux est plus grande
(≥ 30 mm), ce qui permet la
formation d’un noyau
chaud isolé par une mince
couche de polymère
refroidi. Cela implique un
cycle rapide et très régulier
pour remplacer le polymère
dans les canaux et le
maintenir chaud. Les
polymères doivent être de
type amorphe (disposition
désordonnée au niveau de
la structure)
Le nombre de cavités est
limité à approximativement
à 16
Moule à
empilement
Coût de production le plus
faible pour les plastiques de
commodité
et les pièces peu précises;
Moule très coûteux et
recyclage de matière
important dans le cas d’un
moule à canaux froids.Les
plaques avec empreinte
sont empilées formant une
ligne de séparation entre
chacune d’elles ;
Tableau 3 - les différents types de moule et leurs caractéristiques
47
III. Choix du matériau du moule
Le choix du matériau doit se faire judicieusement en tenant compte des certains
critères tels que :
 L’usinabilité dans des bonnes conditions économiques
 L’aptitude au polissage.
 L’aptitude aux traitements thermique
 La résistance aux efforts
 La résistance à l’abrasion
 La résistance à la corrosion (dans certains cas)
 Peu sensible à la rayure
 Bonne conductibilité thermique
Ces différentes exigences sont plus ou moins respectées en fonction de la composition
des aciers par exemple :
 Le carbone favorise le durcissement par trempe
 Le chrome améliore la résistance à l’usure
 Le soufre une meilleure usinabilité.
IV. Fonction alimentation de moules
1. Généralité
L’injection de la matière plastique est assurée à partir de la buse du moule par un
réseau de canaux. L’alimentation du moule en matière à l’état liquide est assurée par deux
façons :
Figure 29 - les deux façons d’injection
2. Point d’injection
La bonne réalisation d’une pièce est conditionnée par un bon écoulement de la matière
et par la bonne fermeture du moule. L’équilibre des forces dans un moule doit être bien
assuré grâce au bon choix du point d’injection de la matière. Ce point doit être placer au
centre de gravité de l’empreinte de la pièce injectée.
48
: position par rapport à l'empreinteX
3. Seuil d’injection
Lors de l’injection à l’état liquide il faut positionner les seuils en tenant en compte des
remarques suivantes :
 L’emploi d’un seuil dirigé vers un obstacle pour garantir que le jet de matière heurte
la paroi de l’empreinte ou du noyau du moule
 Le seuil doit être disposé de manière afin de chasser l’aire vers les évents pour éviter
qu’il soit emprisonné dans l’empreinte.
 L’emplacement du seuil doit conduire à réduire au minimum les lignes de soudure.
 Le seuil doit alimenter les sections épaisses avant les sections minces.
 Il faut éviter de placer le seuil dans des zones de la pièce soumises à des contraintes
ou à des chocs.
 Il faut penser à faciliter le d’égrappage de la pièce.
 Pour les pièces épaisses, prévoir une injection directe par la carotte (suppression des
seuils d’injection).
On distingue différent types de seuils :
Types de seuils Caractéristiques Schémas
Seuil capillaire Les seuils de ce type
peuvent s’utiliser dans un
moulage sans carotte
(carotte chauds) à buse
directe ou encore à
distribution dans un moule
trois plaques
Pour la matière plastiques
non renforcée
0.8mm<diamètre<2mm
Pour les matières
plastiques renforcées
1mm<diamètre<2mm
Seuil en nappe Le seuil de ce type est
utilisé pour l’injection des
pièces plates ou de grande
surface qui doivent
présenter un voilage
minimal.
Il correspond à une entrée
en queue de carpe élargie
- Seuil latéral
- Seuil en ressaut
1 1 2 2 3 3 4 4
X=
  

S X S X S X S X
S
49
Seuil en queue de
carpe
C’est un type particulier
d’entrée latérale servant à
injecter des sections planes
minces. Cela permet
d’étaler la matrice en la
répartissant d’une manière
uniforme dans l’empreinte
Seuil en sous-marin Destiné au moulage des
lentilles et des pièces
plates il réduit les
déformations superficielles
et les contraints internes
résiduelles à proximité de
l’entrée
Seuil en
diaphragme (en
toile)
Son emploi est conseillé
pour des pièces de
révolution exigeant une
concentricité satisfaisante
et des lignes de soudure
résistantes. Il est
nécessaire de procéder à
une opération ultérieure
pour ôter la toile
Seuil en étoile Son emploi est conseillé
pour l’injection des pièces
cylindriques n’imposant
pas de tolérances trop
critiques. Il peut s’utiliser
en association avec un
seuil annulaire ou conique
Tableau4- les différents types de seuils
50
Il n’existe pas de règle régissant leur géométrie nécessaire, les seuils sont en générale
circulaire ou rectangulaire selon la possibilité d’usinage.
 Seuil rectangulaire :
30


n A
b
1
et
3
   h n e h b
Pour la longueur du seuil :
1
( )
2
 sL h mm
 Seuil circulaire :
4
 d n c A Avec 0.206c e
: épaisseur de la pièce à injecter
: constante de la matière plastique
: indice en fonction de l'épaisseur
: surface extérieure d'échange de l'empreinte
e
n
c
A
La valeur de la constante de la matière plastique est donnée dans le tableau suivant :
Matière PS, PE PP PMMA PVS
n 0.6 0.7 0.8 0.9
4. Les canaux d’alimentation
La fonction du dispositif d'alimentation est de permettre le transfert de matière de la
presse à l'empreinte. L'écoulement de la matière dans le dispositif d'alimentation génère des
pertes de charges entre l'avant de la vis de la presse et le front d'écoulement de l'empreinte.
Pour obtenir une reproductibilité satisfaisante de la qualité de la pièce, il est nécessaire de
maîtriser les conditions de pression et de température lors du remplissage de l'empreinte et du
compactage de la matière. Pour cela, les conditions d'écoulement dans le dispositif
d'alimentation doivent être stabilisées et il faut minimiser les pertes de charges. En effet, de
faibles pertes de charge permettent de piloter les pressions dans l'empreinte en pilotant la
pression devant la vis.
Cela est obtenu pour des canaux froids en choisissant une section suffisamment
importante, au prix d'un volume conséquent, ou, pour un canal chaud, par la conception
soignée des systèmes de régulation thermique et le dimensionnement judicieux des canaux.
a) L’injection à canaux froids :
Dans les systèmes utilisant des canaux froids, le polymère fondu se refroidit au contact
des parois des canaux de distribution, de sorte que la section de passage diminue. Le passage
par le seuil d'écoulement s'accompagne en contrepartie d'une augmentation locale de la
température par cisaillement, ce qui diminue la viscosité, également affectée par le gradient de
vitesse d'écoulement. Le phénomène de remplissage est complexe ; il relève de la rhéologie
des polymères fondus et peut être modélisé.
Le dispositif d'alimentation à canal froid, également appelé carotte, consiste à
aménager un canal dans le moule. Les parois du canal sont à la température du moule.
L'extraction du canal après refroidissement doit être prévue, en le démoulant et l'éjectant à
51
partir du plan de joint, par exemple .Parmi les avantages de l'alimentation par carotte, on peut
citer :
 sa réalisation peu coûteuse ;
 les possibilités d'optimisation et de modification réalisables avec des moyens d'usinage
conventionnels ;
 une compréhension des problèmes d'injection aisée.
Les inconvénients de ce type de dispositif sont la nécessité de camoufler le point d'injection et
de recycler la carotte, ce qui peut poser des problèmes conséquents, dans le cas de matières
hautes performances par exemple.
Figure 5 Dispositif d'alimentation à canal froid (carotte)
b) L’injection à canaux chauds :
Le dispositif d'alimentation à canal chaud permet de transférer la matière de la presse
à l'empreinte à l'état fluide. Il comporte un système de régulation en température dont la
maîtrise est primordiale pour la stabilité du processus et les propriétés de la pièce. Il comporte
généralement un bloc de répartition, dont le rôle est de conduire la matière à proximité des
empreintes et de répartir le flux entre les empreintes et des busettes, qui alimentent
directement les empreintes.
Figure 30 - Moule standard avec un dispositif d'alimentation à canaux chauds
52
La matière fondue est introduite à l'intérieur de l'empreinte par l'intermédiaire d'un
distributeur à canaux chauds situé dans une zone thermiquement isolée. La matière remplit
l'empreinte et s'y solidifie mais reste à l'état fondu dans les canaux chauds. Le seuil
d'écoulement doit être ouvert pendant le remplissage et le refroidissement du polymère dans
l'empreinte, mais il se ferme obligatoirement avant le démoulage, par le gel de la matière ou
par l'action d'obturateur.
Que le moule soit muni de canaux chauds ou froids, en première approche, l'empreinte se
remplit de façon similaire.
Dans le tableau ci-dessous, on présente les avantages et les inconvénients des canaux chauds
Les avantages Les inconvénients
 la facilitation du remplissage, en
particulier pour des matières gelant
rapidement ;
 la liberté de placer le point d'injection en
pleine face de la pièce et donc de pouvoir
optimiser l'emplacement du point
d'injection ;
 l'absence de boucle de recyclage et donc
de risque de pollution de la matière.
 son coût, souvent plus élevé que le coût
d'une boucle de recyclage ;
 la complexité technique de la
maintenance du moule ;
 l'augmentation du temps de séjour de la
matière ;
 l'usure des dispositifs mécaniques
(obturateurs, pointe chaude) en cas
d'injection de matière abrasive ;
 la complexité de la maîtrise thermique.
c) Les différentes géométries des canaux [6]:
- Les canaux ronds (circulaires) :
Une petite surface d’échange thermique par rapport au débit, faible charge et
frottement, le dernier point de solidification est le centre ce qui permet d’assurer une
bonne pression de maintien et un moindre risque de bouchage. Par contre le cout est élevé
car l’usinage se fait de part et d’autre dans le moule.
- Les canaux paraboliques :
Ils se rapprochent du canal rond mais l’usinage se fait sur une seule partie du
moule. Une perte de chaleur et de pression plus importante que le canal rond, nécessite
alors un outillage spécial.
1.29 D d
D
d
53
- Les canaux trapézoïdaux :
Une solution alternative par rapport au canal parabolique, il peut être usiné à
moindre coût. Par contre les pertes de charge et de pression relativement importante
comparativement au canal parabolique.
1.25 l h
Généralement c’est le canal parabolique qui est le plus utilisé et calcul de d se fait de la
façon suivante :
4
3.7


w L
d
: poids de la pièce à mouler ( )
: longueur du canal ( )
w g
L mm
d) Equilibrage de l’alimentation d’un moule
Dans le cas d'un moule multi-empreintes, il est nécessaire d'obtenir des conditions de
pression et de température identiques dans toutes les empreintes, c'est-à-dire que le dispositif
d'alimentation doit permettre une répartition des flux identiques quels que soient le débit et la
température : le dispositif d'alimentation doit être équilibré. Pour obtenir ce résultat, la
géométrie des écoulements et leurs conditions thermiques doivent être identiques d'une
empreinte à l'autre. Cela implique une conception symétrique des canaux d'alimentation.
La figure ci-dessous montre deux solutions d'équilibrage. La solution a, consistant
à modifier la section des seuils d'injection, permet de diminuer la taille de la carotte et du
moule. Elle est cependant beaucoup moins robuste que l'équilibrage par longueur de flux
identique (solution b). En effet, l'efficacité de la solution a  est liée aux paramètres de réglage
et aux propriétés de la matière : en modifiant la viscosité ou la vitesse, le remplissage est
déséquilibré, risquant de générer ainsi des problèmes de qualité (propriétés mécaniques
variables, brûlures, bavures,...).
l
h
54
Figure31- Exemple de solutions d'équilibrage
Si cela est nécessaire, lors de la mise au point du moule, de petites corrections
peuvent être apportées en modifiant le seuil d'injection, en créant un obstacle dans
l'écoulement, à l'aide d'un insert modifiable par exemple, ou en modifiant la température des
busettes pour un système à canal chaud. Ces modifications, destinées à corriger un
déséquilibre non maîtrisé, ne sont efficaces que pour des conditions d'injection et des
propriétés matières données. Il est généralement plus efficace, mais moins facile, d'anticiper
ou de corriger l'origine du déséquilibre.
La méthode d’équilibrage permet de calculer le diamètre d’un seul seuil, et en déduire
les diamètres des autres seuils en gardant les mêmes constante : appelée constante du moule.
Morgue propose la méthode d’équilibrage suivant :
sS : section du seuil (mm²)
l: longueur du seuil (mm)
L : longueur du canal d'alimentation (mm)
m : masse de l'empreinte en (g)
Remarque : cette méthode n’est valable que dans le cas ou les canaux d’alimentation sont de
même diamètre.
sS
cst
m l L

 
55
e) Buse de la presse et du moule
La surface entourant l’entrée du canal est ajustée au profil de la buse du cylindre
d’injection. Quand ce dernier possède une extrémité sphérique, il est nécessaire que le rayon
de courbure de la cavité concave de la busette soit légèrement supérieur à celui convexe du
nez de la presse et que le diamètre de l’orifice d’entrée soit plus grand que celui du trou de
sortie de la buse.
Figure 32 - Ajustage de la busette au profil de la buse de la presse
Dimensionnement de la buse d’injection
La figure ci-dessous permet le démoulage de la carotte, est exécuté dans la plus part
des cas dans une pièce rapportée, quelques fois appelée busette. On fait aussi l’usinage d’une
cuvette de faible profondeur pour compenser les défauts de retassures.
On détermine le diamètre d’entrée d du canal de la busette (buse d’injection) en fonction de la
masse G de la moulée et de l’épaisseur maximale e de la paroi des pièces injectées
La figure nous permet de déterminer le diamètre minimal de la buse
56
Figure 33 - dimensionnement de la buse
V. Les empreintes
1. Calcul du nombre d'empreintes optimum dans un moule d'injection
Le but de ce calcul est de trouver le nombre d’empreinte qui nous permettra
d’optimiser le coût du moule.
 Coût du moule pour n empreintes : Cn X Y*(n 1)  
 Coût du fonctionnement de la presse : u
Q*t
Q
60*n

 Coût du salaire par pièce : u
S*t
S
60*n

 Coût du moule par pièce : n
u
X Y*(n 1)C
C
N N
 
 
 Coût de moulage d'une pièce : um u uuQC S C  
En remplaçant CSQ uuu
,, par leurs valeurs on aura :

um
C2C1
t X Y Y*n
*(Q S)C
60n N N

   

Données :
X – le prix du moule à 1 empreinte
Y – le coût de l'empreinte additionnelle
Q – le coût horaire de la presse
S – le coût horaire des salaires
N – le nombre total de pièces à fabriquer
t – la durée du cycle en minute
Traçons la courbe des points représentant le coût de moulage en fonction du nombre
d'empreintes.
57
Figure 34 - courbe du coût de moulage
On constate que cette courbe passe par un minimum.
Pour trouver le nombre d'empreintes correspondant à ce coût minimum, nous procédons à la
dérivée de la fonction, puis nous égalons à zéro pour trouver son minimum.
Dérivons donc par rapport à n
um
2
t YdC *(Q S)
dn 60n N
   
Egalons à zéro um
2
t YdC 0 *(Q S) 0
dn 60n N
     
On aura en final le nombre d’empreinte qui est égale à
2. Disposition des empreintes
Conditions à satisfaire:
 Minimiser la taille du moule
 Remplissage simultané des cavités
 Minimiser les longueurs de canaux
 Permettre d’aménager les autres systèmes
 Le centre des forces correspondant au centre du plateau (buse d’injection)
La figure suivante montre un exemple de disposition des empreintes.
(Q*S)*t*N
n
60*Y

58
Figure 35 - disposition équilibré des empreintes
3. Matériaux constitutifs de l'empreinte
Le choix des matériaux de l'empreinte dépend de la destination du moule. Pour les moules de
grandes séries, les critères de longévité sont pris en compte en priorité avant ceux des coûts de
la matière première et de son usinage.
Ces matériaux doivent avoir :
 une bonne résistance à l'abrasion causée par le frottement des charges contenues dans
la matière injectée et le mouvement des éléments mobiles de l'empreinte ;
 une bonne usinabilité et une bonne aptitude au polissage, indispensables pour faciliter
le respect du cahier des charges concernant l'état de surface des éléments moulants et
la réalisation de formes complexes ;
 une précision et une stabilité dimensionnelles correctes après les traitements
thermiques dont il faut connaître les effets, compte tenu des dimensions et des
tolérances de l'outillage ;
 une résistance à la corrosion chimique adaptée aux produits dégagés par l'injection de
certaines matières plastiques (PVC, acétate de cellulose, PTFE...) ;
 une bonne conductivité thermique.
4. .Le plan de joint
Le plan de joint est la surface de contacts entre la partie fixe et la partie mobile du
moule. Son choix est déterminé par les facteurs suivants :
 La ligne du plan de joint doit être visuellement et fonctionnellement acceptable.
 Le démoulage doit se faire sans contre dépouille autant que possible.
 le plan de joint doit être choisit afin de faciliter l’usinage.
 Le plan de joint doit être le plus simple possible.
5. Le retrait
On entend par retrait les processus qui conduisent à la réduction des dimensions de la
pièce par rapport à celles du moule froid. Ainsi, une pièce moulée par injection est plus petite
que la cote du moule froid correspondant.
En étoileRectangulaire
59
Le retrait de moulage des matières partiellement cristallines est plus important que pour
les matières amorphes. La formule pratique utilisée pour tenir compte du retrait est :
 E UL L 1 R 
EL : Une dimension de l’empreinte
UL : Une dimension finale de la pièce
R : Retrait de la pièce
6. Events
Le moulage de quelque pièce en plastique exige la présence d'évents dans le moule.
Ceux-ci doivent être conçus de manière à permettre l'évacuation de l'air emprisonné dans le
moule lors du remplissage de l'empreinte
Figure36 - Events
VI. Système d’éjection :
À l'ouverture du moule, la pièce est extraite du moule par le dispositif d'éjection. Ce
dernier peut être constitué d'éjecteurs, d'une plaque dévétisseuse ou d'un système utilisant l'air
comprimé. La course d'éjection doit être suffisante pour assurer l'évacuation de la pièce hors
de l'empreinte, moule ouvert. Les mécanismes de démoulage sont situés sur le côté du moule
où la pièce reste fixée (souvent du côté de la partie mobile). En général, le retrait retient les
pièces sur les noyaux et, si nécessaire, on peut faire appel à de petites contre-dépouilles pour
imposer ce résultat ou, au contraire, pour que la pièce reste dans l'empreinte.
1. Types d’éjecteur
L'éjection des pièces peut être assurée par un éjecteur simple, par un système à air
comprimé ou par de multiples éjecteurs. De façon générale il est important de limiter la
pression de contact pour éviter la déformation ou le bris de la pièce injectée.
60
a) Éjecteur simple
Le dispositif d'éjection représenté sur la figure ci-dessous comporte un unique éjecteur
à grande surface de contact : il permet de repartir la force d'éjection et introduit de l'air entre
la pièce et l'empreinte dès le début de l'éjection. Cela minimise l'adhésion, souvent forte dans
le cas de pièces profondes et de parois lisses, créée par le vide entre l'empreinte et la pièce. On
note la présence d'un ressort de rappel qui assure que la partie tronconique de l'éjecteur repose
sur son siège et donc que l'empreinte ne comporte pas d'entrefer générateur de bavure.
Figure 37 - Ejecteur simple
Une plaque de dévétissage permet également de répartir les forces d'éjection et de minimiser
la pression de contact exercée sur la pièce lors de l'éjection.
Figure38- une plaque de dévétissage
b) Éjection pneumatique
On utilise les dispositifs pneumatiques pour l'éjection des objets de grande surface à
parois minces. En effet, les parois minces ne supportent pas les pressions locales exercées par
les éjecteurs classiques. De plus, la course d'éjection de pièces profondes à paroi mince,
comme les seaux ou les gobelets nécessiterait une course d'éjection élevée.
61
Figure 39 : éjecteur pneumatique (soupape)
L'éjection pneumatique présente plusieurs avantages par rapport aux solutions purement
mécaniques :
 les traces des éjecteurs sont supprimées ;
 le mécanisme d'éjection n'est pas lié à l'ouverture du moule ;
 l'usure des pièces mécaniques est diminuée ;
 la réalisation est relativement simple.
En revanche, ce système présente des défauts :
 il n'assure pas toujours l'éjection de la pièce ;
 il ne s'applique qu'à certaines formes de pièces telles que couvercles, seaux, cuvettes,
 assurer l'étanchéité de l'empreinte complique la conception et la maintenance du
moule.
Dans la plupart des cas, l'air comprimé est amené dans l'empreinte par la soupape qui
amorce le dégagement mécanique de la pièce avant de l'éjecter avec la pression d’air. La
soupape est actionnée par l'air comprimé dont l'arrivée est pilotée par un distributeur
commandé par la presse à injecter.
c) Éjecteurs multiples
L'utilisation de plusieurs éjecteurs permet de limiter la pression de contact sur la pièce
et surtout d'équilibrer les forces et d'assurer une éjection rectiligne.
Ce point est très important. En effet, le basculement de la pièce avant qu'elle ne soit dégagée
de l'empreinte génère un important risque de casse ou de coincement.
62
VII. Démoulage
Lors du démoulage, la pièce est libérée de l'empreinte afin de pouvoir être éjectée. Les
pièces injectées sont retenues dans le moule, non seulement à cause de leur contraction
thermique, qui provoque pendant le refroidissement leur serrage sur le ou les noyaux, mais
aussi à cause de leur contre-dépouille (surfaces de la pièce qui s'opposent au démoulage) ou
des orifices latéraux qui les immobilisent. Des solutions mécaniques permettent le démoulage
des pièces comportant de tels orifices ou des contre-dépouilles.
1. Dépouille
La dépouille est l'angle α formé par la paroi de la pièce et la direction de démoulage.
Le choix de la dépouille de démoulage, à l'interface entre la pièce et le côté injection de
l'empreinte, permet d'assurer le maintien de la pièce sur le côté éjection lors de l'ouverture du
moule. On choisit généralement la valeur maximale permise par le cahier des charges de la
pièce : tolérance, épaisseur de paroi,...
La dépouille d'éjection, à l'interface entre la pièce et le côté éjection de l'empreinte,
permet l'éjection de la pièce, mais doit également la retenir lors de l'ouverture du moule. Elle
est un compromis généralement issu de l'expérience et des données fournisseurs.
Figure40 - Exemple de dépouille
2. Tiroirs
Les tiroirs sont des éléments mobiles de l'empreinte permettant de libérer les formes
de la pièce qui s'opposent au démoulage ou à l'éjection. Ces éléments sont généralement
entraînés en translation par un dispositif mécanique, pneumatique ou hydraulique. La figure
montre un exemple d'application permettant de réaliser un orifice dans la paroi latérale d'une
pièce injectée.
63
Figure41- Exemple de tiroir permettant l'obtention d'un orifice latéral
VIII. Le guidage des moules
Les guidages du moule servent à assurer un accostage suffisamment précis des deux demi-
moules pendant la fermeture.
Voici quelques types de guidages :
Figure 42 - éléments de guidage
IX. Le centrage Des moules
Les centrages du moule doivent garantir un accostage précis des demi-moules et
absorber les forces radiales qui apparaissent pendant l’injection.
Voici quelques éléments de centrage :
D. conception des pièces
La conception d’une bonne
visent à donner à la pièce l’aspect et la résistance souhaités, à permettre une réalisation de
moule les plus simples possibles, à minimiser les reprises (décarottage usinage …), à assurer
une production économique (maintenance allégée, récupération de déchets…).le tableau
suivant résume quelques un de ces règles.
Figure 43 - Éléments des centrages
conception des pièces et les défauts de moulage
La conception d’une bonne pièce plastique doit passer par le respect de règles qui
visent à donner à la pièce l’aspect et la résistance souhaités, à permettre une réalisation de
moule les plus simples possibles, à minimiser les reprises (décarottage usinage …), à assurer
tion économique (maintenance allégée, récupération de déchets…).le tableau
suivant résume quelques un de ces règles.
64
pièce plastique doit passer par le respect de règles qui
visent à donner à la pièce l’aspect et la résistance souhaités, à permettre une réalisation de
moule les plus simples possibles, à minimiser les reprises (décarottage usinage …), à assurer
tion économique (maintenance allégée, récupération de déchets…).le tableau
65
Mauvaise conception Bonne conception
Règle des épaisseurs constantes
tracé des arrondis et congé sur une pièce
tracé des bords
les angles de dépouille pour faciliter le démoulage
Exemple de conception des fonds de pièces
conception des nervures et leurs dispositions
Risque de déformation du fond de la
Pièce.
Obligation
d’utiliser des
tiroirs
Risque de cassure des bords
pour matière fragile et
ondulation pour matière
souple
Concentration de
contraintes, mauvais
écoulement.
Risque de déformation
à cause des retassures,
bulles, criques…
Retassures esthétiquement
inacceptables
Retrait trop
localisé
66
Solutions aux défauts courants de mise en œuvre
Problèmes Remèdes possibles
Taches grasses sur les pièces et le moule (signes
de dégradation)
Diminuer la température de matière
(vis et/ou canaux chauds)
Mauvais aspect de surface Augmenter la température du moule.
Augmenter la vitesse d'injection.
Vérifier le temps et la pression de maintien
Brûlures Prévoir des évents
Diminuer la vitesse d'injection en fin de
remplissage
Pièce incomplète Augmenter le dosage
Augmenter la pression et la vitesse d'injection
Augmenter les dimensions des canaux
d'alimentation
Augmenter la température matière
Prévoir des évents
Retassures Augmenter le temps et la pression de maintien
Revoir l'emplacement et la dimension du point
d'injection
Ligne de soudure Augmenter la pression d’injection.
Augmenter le temps/la pression de compactage.
Augmenter la température du moule.
Augmenter la température de la matière.
Dégazer l’empreinte au niveau de l’aire de
soudage.
Ménager une masselotte adjacente à l’aire de
soudage.
Changer l’emplacement du point d’injection pour
modifier la configuration d’écoulement
Système de refroidissement
67
SYSTEME DE REFROIDISSEMENT
Système de refroidissement
68
Introduction.
L’étude du refroidissement des matières plastique est intéressante à plus d’un titre. En effet, il
faut répondre à deux exigences fondamentales :
« RAPIDITE et UNIFORMITE »
Le calcul du temps de refroidissement d’une pièce injectée, par exemple, permet de
déterminer avec précision la durée totale d’un cycle de moulage et conduit à l’estimation du
cout de fabrication. S’il doit être rapide, le refroidissement de la pièce doit être uniforme,
c'est-à-dire que la température de la surface de l’empreinte doit être à un instant donnée aussi
uniforme que possible.
I. Phénomène physique relatifs au refroidissement d’un moule
1. Bilan thermique
La matière qui est injectée dans le moule à la température, avec la pression Pi possède une
enthalpie Hi. Après le refroidissement, la pièce est démoulée à la température Tm ; l’enthalpie
de la matière est alors Hm.
Le produit de la différence d’enthalpie par le poids de la moulée donne la quantité de calorie
libérée par le cycle :
i
m
Q : quatité de calorie libérée (Kcal)
P : poids de la moulée (Kg)
H : enthalpie du matériau à l'injection ( kcal/Kg)
H : enthalpie du matériau à l'éjection ( kcal/Kg)
La quantité de chaleur libérée par heure est obtenue en faisant intervenir le nombre de cycle
horaire.
cycle
3600
N
t

hQ : quantité de chaleur libérée par heure
Les différents échanges calorifiques accompagnant le refroidissement d’une pièce sont les
suivantes :
 Transmission calorifique de l’empreinte vers le système calorifique.
 Transmission par convection du moule vers l’air ambiant.
 Transmission par rayonnement.
 i mQ P* H H 
 h i mQ P*N* H H 
Système de refroidissement
69
Nous étudions principalement le premier type d’échange, car quantitativement, il est
beaucoup plus important que les échanges par convection et rayonnement. Nous calculerons
donc un système caloporteur capable d’évacuer à lui seul toutes les calories lors du
refroidissement de la pièce.
Bilan thermique
hc
hr
Q : quantité de chaleur dissipée par convection
Q : quantité de chaleur dissipée par rayonnement
Figure 44 : échange thermique
2. Transmission de calorifique par convection de rayonnement
A la surface extérieure d’un moule, un échange thermique composé de deux flux différents se
produit. Le premier flux correspond à un échange par convection, le second à un échange par
radiation
a) Les pertes de chaleur dues à la convection sur les surfaces, planes ont fait l’objet
d’étude approfondie. Il est possible de les évaluer à partir de l’équation suivante :
 hc ex o AQ h S T T   
hc
2
ex
Q : quantité de chaleur échangée par convection en une heure (Kcal/h)
h : coefficient de transfert de chaleur (Kcal/m .h. C)
S : surface extérieure du moule qui donne lieu à un échange par convection

(m²)
o
A
T : température de la surface extérieure de l'outil (°C)
T : température de l'air ambiante (autour du moule) (°C)
Le facteur h : coefficient de transfert de chaleur est difficile à calculer car il est
fonction de nombreux paramètre. En fait, il est possible d’utiliser une valeur moyenne de 5
h hc hr hQ Q Q Q (liquide caloporteur)  
Système de refroidissement
70
kcal/m2
.h.°C (valeur proposée par Mr CATIC) qui permet d’évaluer l’importance des
échanges par convection.
Le calcul montre que les pertes de chaleur par convection sont faibles, principalement à cause
du faible écart de température qui existe entre la surface extérieure du moule et l’air ambiante.
b) La déperdition de chaleur par rayonnement peut être déterminée par la relation de
STEPHAN BOLTZMAN
4 4
O A
hr ex
T T
Q 3600 S Cs
100 100
    
      
    
4
Cs : constante de SPTEPHAN BOLTZMAN Cs 5.77 ( Kcal/m².K )
: coefficient de rayonnement qui depend du métal et la nature de la surface
1 pour un corps émettant ( à 20°C)
0.85 pour une surface for


 
 
O
tement rouillé (à20°C)
0.60 pour une surface faiblement rouillée (à 20°C)
0.25 pour une surface polie (à 20°C)
Ce coefficient augmente légérement avec la température du métal
T : température absolue à
 
 
A
la surface de l'outillage (K)
T : température absolue de l'air ambiante (K)
Le calcul de la quantité de chaleur dissipée par rayonnement montre que celle-ci est
peu importante et n’influence guère le refroidissement de la pièce. En effet, pour des
températures de moule inférieure à 50°C, les pertes calorifiques vers l’extérieure sont
négligeables en cas de surface impeccable.
3. Transmission calorifique de l’empreinte vers le système caloporteur
La transmission calorifique de l’empreinte jusqu’au fluide de refroidissement, se fait de deux
étapes. Nous allons étudier en détail chacune de ces deux étapes.
A. Transmission de chaleur dans l’outil
Les calories libérées au niveau de l’empreinte sont transmises vers le mode de
refroidissement.
Système de refroidissement
71
Figure 45 : transmission de chaleur dans l’outil
Le transfert calorifique peut s’exprimer par l’équation suivante :
 O
h M C
k
Q S T T
dc
  
h
o
Q :quantité de chaleur transmise par heure ( Kcal/h)
: coefficient de conductibilité thermique de l'outil (Kcal/m.h.°C)
dc: distance entre le canal de refroidissement et la surface de l'empreinte (m)

M
C
S: section active de l'outil (m²)
T : température moyenne à la surface de l'empreinte (°C)
T : température moyenne à la surface des canaux (°C)
La conductivité thermique joue un rôle très importante au regard de l’efficacité du
circuit de refroidissement. Voici à titre d’exemple la conductivité de quelque matériau
Matériaux 0 (kcal/m.h.°C)
C45 W3 45
21 Mn Cr 5 40
18 Cr Ni 8 12.6
Cu, techn 300
Al 175
Zn (Zamak) 108
Système de refroidissement
72
B. Transmission de chaleur du moule au fluide de refroidissement
La transmission de chaleur de la masse du moule vers le liquide de refroidissement s’exprime
par :
 h T c fQ h Sc T T  
Th : coefficient de transmissibilité thermique (Kcal/m².h.°C)
Sc: surface active des canaux de refroidissement (m²)
c
f
T : température moyenne des parois du canal (°C)
T : température moyenne du fluide (°C)
En tenant compte de différence de température entre les parois des canaux et le liquide
de refroidissement qui est généralement, assez facile, les possibilités de refroidissement et de
transfert calorifique entre les deux milieux (moule/fluide) sont surtout influencées par :
a) La surface active des canaux de refroidissement, fonction de la section et de la
longueur de ceux-ci. Afin de ne pas surdimensionnée le système de refroidissement,
tous les calculs seront effectués en admettant que la surface totale des canaux est
active.
b) Le coefficient de transmission thermique noté hTqui régit le transfert de chaleur qui
s’établit entre deux phases différentes (phase solide : moule phase liquide : liquide de
refroidissement).
Le coefficient va varier quantitativement suivant le mode d’écoulement du fluide. Pour le
calculer, il est donc déterminant de savoir si le fluide s’écoule de façon laminaire ou
turbulente
1. Ecoulement laminaire et écoulement turbulent
La valeur du nombre de REYNOLDS noté Re permet de savoir si l’écoulement est de types
laminaire ou turbulent.
f
f
V Dh
Re



f
f
V : vitesse moyenne du fluide de refroidissement (m/s)
Dh : diamétre hydraulique des canaux (m)
: viscosité cinématique du fluide de refroidissement (m²/s)
- Le régime d’écoulement est laminaire si le nombre de REYNOLDS est inférieur à
2500.
- Le régime d’écoulement est turbulent si le nombre de REYNOLDS est supérieur à
3500.
- Entre ces deux valeurs, le régime est appelé pseudo-laminaire.
Système de refroidissement
73
2. Calcul du coefficient de transmission thermique hT
a) Régime laminaire Re < 2500
Pour ce type d’écoulement, l’équation conduisant au coefficient hT est assez complexe. Le
calcul hT montre que celui-ci est généralement très faible.
Il parait donc évident que ce type d’écoulement n’est pas souhaitable si on désire obtenir un
refroidissement efficace.
b) Régime turbulent Re > 3500
Lorsque l’écoulement du fluide de refroidissement est turbulent, le coefficient de transmission
hT s’exprime sous la forme :
0.75 f
Th 0.04 (Pe)
Dh

  
Pe : nombre de PERCLET est égale au produit du nombre de REYNOLDS par le nombre de
PRANDTL (Pr).
f f f
f
V Dh Cp
Pe
  


f
3
f
f
Cp : chaleur spécifique du fluide de refroidissement (Kcal/kg.°C)
: masse volumique du fluide de refroidissement (Kg/m )
: conductibilité thermique du fluide de refroidissement (Kcal/m.h.°C)


Remarque :
 Les trois paramètres Cpf, f , fk varient avec la température du fluide de
refroidissement. Des tables donnent leur variation en fonction de la température.
 Dans le calcul du nombre de PECLET, la vitesse moyenne du fluide doit être exprimée
en m/h ceci pour une cohérence d’unité.
 A partir de l’équation, il est possible de connaitre le coefficient de transmission hT
pour un fluide donné à la température et circulant dans les canaux de refroidissement à
la vitesse moyenne.
II. Calcul et disposition du système caloporteur
Pour effectuer le calcul du système caloporteur il faut tout d’abord connaitre la quantité de
chaleur à évacuer c'est-à-dire le nombre de calories libérées lors du refroidissement de la
pièce.
Connaissant la chaleur spécifique du fluide caloporteur nous pourrons alors calculer la
consommation de fluide nécessaire pour évacuer toutes les calories.
Ensuite il est possible de connaitre le diamètre (la section) des canaux et le nombre d’entré
d’eau.
 La surface active des canaux de refroidissement
 La longueur des canaux
Système de refroidissement
74
 La distance les séparant de l’empreinte
 L’entre-axe, c'est-à-dire l’espace entre deux canaux vicinaux
Nous allons ici envisager le calcul dans le cas d’une pièce simple (plaque plane rectangulaire).
Dans le cas de pièce de forme plus complexe, il est nécessaire de diviser la pièce à refroidir en
élément de surface et de volume assez simple et de traiter séparément chacun d’eux.
1. Quantité de chaleur et consommation horaire de liquide
En admettant que toutes les calories libérées lors de refroidissement de la moulée sont
évacuer par un système caloporteur, la quantité de chaleur à évacuer par heure est égale à :
 h i mQ P* H H  (Bilan thermique)
Connaissant la capacité calorifique Cpf du fluide de refroidissement, il est possible de
calculer la consommation horaire du fluide, en considérant que celui-ci s’échauffe et passe de
température Te (température d’entrée) à la température de sortie Ts.
 
h
h
f s e
Q
G
Cp T T


h
f
s e
G : la consommation horaire de liquide (Kg/h)
Cp : chaleur spécifique du fluide de refroidissement (Kcal/kg.°C)
T T : échauffement toléré du fluide de refroidissement (°C) généralement cet écart doit é tre < 6°C
Arrivé à cette étape, il convient de considérer séparément le refroidissement de
l’empreinte et celle du poinçon ; en effet, la consommation du fluide caloporteur dépend de la
chaleur à évacuer dans chacune des parties du moule.
Elle est fonction de la surface du poinçon et de la matrice.
Soit :
t
m
p
p
m
S : la surface totale de la pièce (m²)
S : la surface totale de la matrice (m²)
S : la surface totale du poinçon (m²)
G : la consommation horaire de liquide pour refroidir le poinçon ( Kg/h)
G : a consommation horaire de liquide pour refroidir de la matrice ( Kg/h)
On trouve alors
h p
p
t
G S
G
S

 et h m
m
t
G S
G
S


La consommation de liquide nécessaire pour évacuer toutes les calories libérées lors
du refroidissement de la pièce est alors connue avec précision pour chacune des deux parties
du moule (poinçon et matrice).
2. Calcul de la section des canaux et du nombre d’entrée d’eau
Nous allons étudier le cas du poinçon, la démarche est évidement la même en ce qui concerne
la matrice.
Système de refroidissement
75
La consommation horaire de liquide nécessaire pour refroidir le poinçon peut s’écrire :
p f f cG 3600 v S   
p
f
3
f
c
G : consommation horaire de liquide pour refroidir le poinçon (Kg/h)
v : vitesse moyenne du fluide dans les canalisation (m/s)
: masse volumique du fluide (kg/m )
S : section des canaux du poinçon ( da

ns le cas où il y a une seule entrée d'eau)
p
c
f f
G
S
3600 v

 
En fait, il est aisé de constater que la section des canaux est directement
proportionnelle à la quantité de chaleur à évacuer. Dans la plupart des cas, en particulier pour
les pièces de grande dimension, les sections trouvée est trop importante. Il convient alors de
placer dans le moule n circuit indépendante de section unitaire Sc’ telle que :
c cS n S  
D’où
p
c
f f
G1
S
n 3600 v
  
 
Il est alors possible de jouer sur les deux facteurs Sc’ et n, n représente en définitive le nombre
d’entrée d’eau à placer dans le moule (coté poinçon) connaissant la section Sc’, il est possible
de calculer
- Le diamètre des canaux si ceux-ci sont circulaire c
C
4S
d



- Le coté s’ils sont carrées ccot é S
3. Calcul de la surface active des canaux et leur longueur
La quantité de chaleur à évacuer du côté du poinçon peut s’exprimer par l’équation suivante :
 hp T cp c fQ h S T T  
Qui régit l’ensemble de calorie entre le moule et le liquide de refroidissement.
cp cp cS L d   Dans le cas de canaux circulaire
c
cp
d : diamétre des canaux du poinçon (m)
L :longueur des canaux présents dans le poinçon (m)
Connaissant le coefficient de transmission thermique hT et la différence de température Tc–Tf
(Généralement compris entre 2 et 4°C), il est possible de trouver SCP, LCP, représentant
respectivement la surface et la longueur des canaux qui devront être installés dans le poinçon.
Système de refroidissement
76
4. Calcul de la distance séparant les canaux de la surface d’empreinte
Il s’agit de connaitre le centre des canaux de la surface de l’empreinte. Cette grandeur est
accessible en utilisant l’équation.
Figure 46 : distance séparant les canaux à l’empreinte
Dans le cas du poinçon, cette expression s’écrit :  o
h M C
c
Q S T T
d

  
Dans le cas du poinçon, cette expression s’écrit :  o
hp p M C
cp
Q S T T
d

  
pS : représente la surface de la pièce en contact avec le poinçon (m²)
L’utilisation de cette équation est souvent délicate par cause d’une connaissance
souvent erronée du gradient thermique existant entre l’empreinte et la surface des canaux.
Une solution pour contourner cette difficulté consiste à prendre dcp, une valeur égale (ou
voisin) de celle de l’entraxe. Cette valeur permet d’obtenir une bonne régularité des
isothermes et donc une uniformité satisfaisante de la température à la surface de l’empreinte.
Dans le cas de moule construits avec des matériaux de conductibilité thermique
supérieur à celle de l’acier, il convient de majorer en conséquence la valeur de la distance des
canaux à la paroi.
5. Calcul de l’entraxe : distance séparant deux canaux voisin.
Figure 47 : l’entraxe entre les canaux
Dans la majorité des cas le calcul de l’entraxe est assez simple ; mous envisagerons
deux cas : la surface à refroidir possède une forme rectangulaire (1er
cas) ou une forme
cylindrique (2em
cas).
Système de refroidissement
77
1er
cas : le poinçon a la forme d’un rectangle de dimension L et l deux éventualités sont à
envisager.
a) Les canaux sont disposés parallèlement à la plus grande longueur
Figure 48 : canaux disposés parallèlement à la grande longueur
Le nombre de canaux sera égal à n ; si E représente l’entraxe, on peut écrire :
E (n 1) l 2X    (1)
X : la distance entre le premier canal et la paroi.
D’autre part, sachant que la longueur totale des canaux à placer dans le poinçon est
égale à Lcp le facteur n s’écrit :
cpL
n
L
 (2)
En remplaçant n par sa valeur dans l’équation (1), on trouve la valeur de l’entraxe :
cp
l 2X
E
L
1
L



La valeur de X est généralement assez variable. Dans certain cas, cette valeur est
imposée par des contraintes de construction. D’ans d’autres cas on peut prendre une valeur
égale à celle de la distance à la paroi (dcp).
Dans le cas où la distance est prise égale à l’entraxe, l’expression (3) se transforme, on
trouve alors :
cp
cp
l
E d
L
1
L
 

l: largeur de la plaque (m)
L : longueur de la plaque (m)
Système de refroidissement
78
b) Les canaux sont disposés parallèlement à la plus petite longueur
Figure 49 : canaux parallèles à la petite longueur
Le raisonnement est exactement le même que dans le cas précédent. L’entraxe noté E’ est
alors obtenue par l’équation (5)
cp
L 2X
E
L
1
l

 

(5) si X=E devient
cp
L
E
L
1
l
 

Remarque : lorsque le choix entre ces deux solutions est possible, on choisira bien entendu la
disposition qui correspond le mieux à une uniformité optimale de la température à la surface
de l’empreinte.
2em
cas : la surface à refroidir présente une géométrie circulaire (moule de seau, de cuvette,
etc...)
Lorsque les canaux de refroidissement sont disposés selon une géométrie circulaire,
l’entraxe est calculé de la façon suivante :
Appelons :
r : la distance du prmier canal au centre de la pièce
X: la distance du dernier canal au bord de la pièce
R : le rayon de la pièce
E : l'entraxe
n : le nombre de canaux à placer pour avoir la longueur vou cplue soit L
Pour calcul on établit les deux équations suivantes :
r (n 1)E X R (1)   
Et
2 r 2 (r 1) ............. 2 (r (n 1)E) L (2)         
L’équation (2) comporte une suite arithmétique et peut
cpL 2 nr n²E    D’où E
De l’équation (1), on obtient la valeur de n
Qui se simplifie en :
R r
n si X=E
E


Exemple : considérons une éprouvette en ABS, on
précédemment.
Comme données on a :
Epaisseur = 3mm
Conductivité thermique de surface
Température d’injection iT 240 C 
Température du moule MT 50 C 
Température de démoulage =70°C
La vitesse du fluide fV 0.6m / s
On le nombre d’empreinte sera pris égale à 4 empreintes
 Déterminons le temps du cycle
c ref rem an mt t t t t   
Pour le ant on prendra égale à 3s
- Calculons le temps de remplissage
Le logiciel SOLIDWORKS nous a permis de
connaitre le volume injecté iV 10.59cm / s
On prendra un débit d’injection
i
rem rem
i
V 10.59
t 0.7s t 0.7s
Q 15
    
- Calculons le temps de refroidissement
Appliquons la méthode thermodynamique
Système de refroidissement
cp2 r 2 (r 1) ............. 2 (r (n 1)E) L (2)         
L’équation (2) comporte une suite arithmétique et peut s’écrire :
cpL 2 nr
E
n²
 


De l’équation (1), on obtient la valeur de n :
R r x E
n
E
  

R r
n si X=E
E

: considérons une éprouvette en ABS, on effectuera les calculs énoncés
Conductivité thermique de surface a= 3 2
8,3.10 cm / s
T 240 C 
T 50 C 
Température de démoulage =70°C
V 0.6m / s
On le nombre d’empreinte sera pris égale à 4 empreintes
Déterminons le temps du cycle
c ref rem an mt t t t t   
on prendra égale à 3s
Calculons le temps de remplissage
Le logiciel SOLIDWORKS nous a permis de
3
iV 10.59cm / s
On prendra un débit d’injection 3
iQ 15cm / s
rem remt 0.7s t 0.7s    
s de refroidissement
Appliquons la méthode thermodynamique :
79
effectuera les calculs énoncés
Système de refroidissement
80
2 1 2
i M
ref 2 4
m M
T Te 8 (3 10 ) 8 240 50
t ln ( ) ln ( ) 15.15s
a T T 8.3 10 70 50


      
              
reft 15.15s 
Le temps de maintien est généralement égale à m ref mt 0.3 t 0.3 15.15 t 4.55s     
Finalement on aura le temps de cycle
ct 3 0.7 4.55 15.15 23.4s     ct 23.4s 
La méthode de MORGUE
2
ref
e k
t or a
a

 

3
ABS
4
1.05g / cm
cp 0.33cal / g. C
k 3.5 10 cal / cm.s. C
e 1.5mm 0.15cm

 

 

  
   
2
ref 4
0.15
t 0.33 1.05 22.275s
3.5 10
    

On remarque que le temps de cycle est assez élève, pour minimiser ce temps on envisage
d’installer un système de refroidissement pour obtenir à la fin un temps de cycle ct 5s
 Calcul du nombre de calorie à évacuer pour un temps de cycles ct 5s
cycle e s p i MQ M.(H H ) M c .(T T )    
3
i
p
M V 1.05 10 10587.77 11.11
c (ABS) 0.33kcal / kg. C

      

 
3
cycleQ 11.11 10 0.33 (240 70) 0.623kcal
      
Le nombre de calorie par heure
cycle
cycle/h
c
3600 Q 3600 0.623
Q 448.56kcal / h
t 5
 
  
Par conséquent :
cycle/hQ 448.56kcal / h
 Quantité de chaleur à évacuer par l’empreinte mobile
p
p cycle/h
t
S
Q Q
S
 
A l’aide du logiciel Solidworks on a pu déterminer la valeur de la surface de l’empreinte
mobile en contact à la pièce
2
p
2
t
S 1215.7mm
S 1887.16mm
 


Système de refroidissement
81
p/h
1215.7
Q 448.56 288.96kcal / h
1887.16
   p/hQ 288.96kcal / h 
 Consommation de liquide dans l’empreinte mobile
p/h
p
f s e
Q
G
cp (T T )


s
e
f
T 22 C
T 18 C
cp : chaleur spécifique du fluide de refroidissement à 20°C 0.99883kcal / kg. C
 

 
  
p
288.96
G 72.32kg / h
0.99883 (22 18)
 
 
Comme on travaille avec l’eau donc pG 72.32L / h
 Calcul de la section qui permettrait le passage de quantité d’eau voulue
p
p
f f
G
S
3600 v

 
f
3
f
v 0.6m / s
998.62kg / cm


 
6 2
p
72.32
S 33.527 10 m
3600 0.6 998.62

   
 
6
p
c
S 4 33.527 10 4
d 0.0065m 6.5mm

  
   
 
On utilisera des canaux de diamètre cd 6.5mm pour le circuit de refroidissement.
 Vérification de la valeur du nombre de REYNOLDS
f
f
v Dh
Re



f
f
6f
f
3
v 0.6m / s ( vitesse du fluide dans les canaux)
0.001002
1.0038 10 (viscosité cinématique de l'eau)
998.21
Dh 6.5 10 m


 


    

  
3
6
0.6 6.5 10
Re 3885.24
1.0038 10


 
 

On est bien en régime permanent turbulent car Re 3885.24 3500 
 Calcul du coefficient d’échange thermique hT
0.75 f
Th 0.04(Pe)
Dh


Système de refroidissement
82
3
f f f
4
f
4
f
f
v Dh cp 0.6 6.5 10 0.9983 998.21
Pe 27113.16
0.6 2.389 10
0.6w / m.k 0.6 2.389 10 kcal / s.m.k (conductivité thermique de l'eau)
cp 0.99983lcal / kg. C



       
  
  

    
  


4
0.75 2
T 3
0.6 2.389 10 3600
h 0.04(27113.16) 6709.68kcal / m .h. K
6.5 10


  
   

 Calcul de surface active des canaux
p/h
cp
T c f
Q
S
h (T T )


p/h
c
f
Q 288.96kcal / h
T 22 C
T 20 C


 
  
2
cp
288.96
S 0.021m
6709.68 (22 20)
  
 
 Longueur des canaux à placer dans l’empreinte mobile
cp
cp 3
S 0.021
L 1.028m
Dh 6.5 10
  
  
 La distance séparant les canaux de la surface de l’empreinte
o o
p/h p M C cp p M C
cp p/h
Q S (T T ) d S (T T )
d Q
 
    
6
cp
50
d 1215.7 10 (70 22) 0.01m
288.6

      (Moule en acier o 50kcal / m.h. C   )
 Calcul de l’entraxe
On considère une plaque de carrée de dimension L=l=0.396m
cp
cp
l 2d 0.396 2 0.01
E 0.24m
L 1.028
11
0.396L
  
   

On obtient finalement le circuit ci-dessous ;
Système de refroidissement
83
figure 50 :circuit de refroidissement
CONCLUSION
Ces quelques éléments thermiques permettent de mieux comprendre les transferts de
chaleur au cours du refroidissement d’une pièce.
Conception et Fabrication FAO d’un moule à parois minces
84
Conception et Fabrication FAO d’un moule à parois minces
85
Les différentes étapes de conception d’un moule à injection
1
2
3
Disposition des cavités (empreintes)
4
Type de seuil
5
Type de moule
Spécificité géométrique, mécanique, thermique
de la pièce : volume et délai
Nombre de cavités
Sélection de la
presse à injection
Moule à 2 plaques Moule à 3 plaques
Canaux
chauds
Canaux
froids
Buse
standard
Canaux
chauds
Canaux
froids
En étoile Symétrie En ligne
Capillaire Nappe Annulaire Queue de carpe
Conception et Fabrication FAO d’un moule à parois minces
86
Système de régulation de la température
6
Système d’éjection
7
Système de dégazage (c'est-à-dire évacuation de l’air dans le moule)
Surface Noyau
Eau, Cartouche, Huile Air, Eau, Huile
Broche Tiroirs Air Plaque, Anneau
Plan de joint PlaquesEjecteur Noyau
Conception et Fabrication FAO d’un moule à parois minces
87
8
9
Estimation du retrait
Matériaux
Dessin Alimentation Paramètres moulage
Châssis Plaques Noyau
Acier doux,
acier en faible
teneur en
carbone, acier
d’alliage,
acier en
cémentation
Acier à outils,
acier de
trempe à
cœur, acier à
cémentation
et métaux
spéciaux
Acier à outils,
acier de
trempe à cœur,
acier à
cémentation et
à nitruration
Conception et Fabrication FAO d’un moule à parois minces
88
Démarche de conception
détaillée d'un moule
Exemple : Boîtier supérieur du Module de Suivi de ligne.
Objectif : concevoir l’outillage qui permettra d’obtenir la pièce en vraie matière et en
vrai procédé afin de déboucher sur la rédaction du cahier des charges de l’outillage de
production.
Données de départ :
1-Dossier de conception détaillée du produit (notices de calcul, choix des matériaux,
résultats de simulation de fonctionnement mécanique et électronique, CAO, plan
d'ensemble …).
Conception et Fabrication FAO d’un moule à parois minces
89
2-Cotation de la pièce : analyse des spécifications et écriture de la cotation fonctionnelle
Conception et Fabrication FAO d’un moule à parois minces
90
sur le plan de la pièce.
Conception et Fabrication FAO d’un moule à parois minces
91
Conception et Fabrication FAO d’un moule à parois minces
92
3-Dossier contrat de l'outillage : Cahier des charges, , spécifications techniques,
données économiques et de production, moyens disponibles.
Conception et Fabrication FAO d’un moule à parois minces
93
4- Conception préliminaire du moule : avant-projet de solutions, estimation de la
complexité de l'outillage.
Conception et Fabrication FAO d’un moule à parois minces
94
5- Simulation d'injection : elle permet de vérifier que la pièce pourra être obtenue avec
la qualité voulue compte tenue de ses formes et du matériau choisi. Les résultats
obtenus peuvent remettre en question la conception de la pièce si la qualité ne peut pas
être suffisante ou si le temps d’injection est trop élevé.
Conception et Fabrication FAO d’un moule à parois minces
95
6- Etude de moulage : on calcule les temps de cycle, l’estimation du coût d’injection, les
efforts.
Conception et Fabrication FAO d’un moule à parois minces
96
7-Choix des solutions constructives : On représente par des croquis les solutions de
décomposition des parties actives (broches, noyaux …) en pensant aux procédés de
fabrication (érosion fil, enfonçage, fraisage …).
Conception et Fabrication FAO d’un moule à parois minces
97
8-Modélisation CAO : La modélisation se fait sur logiciel CAO en insérant les
composants de bibliothèque (éjecteurs …). La conception de l'outillage est
complètement définie : forme et dimensions des éléments fabriqués, référence des
éléments du commerce.
Conception et Fabrication FAO d’un moule à parois minces
98
9-Validation de la conception : Certaines formes d’empreintes doivent être validées par
simulation FAO. D'autres formes nécessitent la conception d'un électrode d'enfonçage et
sa mise en plan. Cette étape permet également le chiffrage de la fabrication du moule.
Conception et Fabrication FAO d’un moule à parois minces
99
Conception et Fabrication FAO d’un moule à parois minces
100
Conception et Fabrication FAO d’un moule à parois minces
101
10-Edition des plans : on génère les mises en plan 2D de l'outillage et on indique les
spécifications techniques de l'outillage.
Conception et Fabrication FAO d’un moule à parois minces
102
ETUDE D’UN CAS
Conception et Fabrication FAO d’un moule à parois minces
Introduction
Cette partie sera consacrée à la conception d’un moule pour l’injection de
matière plastique en polyéthylène (PE) pour l’obtention d’un pot de conserve qui sera
réalisé au sein de la société TECHNI
Dans cette partie on va utiliser toutes les applications vues précédemment en
faisant une étude optimisée et économique afin de réussir la conception.
Le cahier de charge proposé par l’entreprise stipule l’étude et la conception d’un moule
permettant l’obtention d’un pot de conserve.
 L’entreprise prévoit l’injection de 2000 pièces par mois renouvelable.
 Les pièces injectées sont en polyéthylène (PE)
 Le moule sera mono
onception et Fabrication FAO d’un moule à parois minces
Cette partie sera consacrée à la conception d’un moule pour l’injection de
matière plastique en polyéthylène (PE) pour l’obtention d’un pot de conserve qui sera
réalisé au sein de la société TECHNI-MOULE.
Dans cette partie on va utiliser toutes les applications vues précédemment en
faisant une étude optimisée et économique afin de réussir la conception.
Le cahier de charge proposé par l’entreprise stipule l’étude et la conception d’un moule
tention d’un pot de conserve.
L’entreprise prévoit l’injection de 2000 pièces par mois renouvelable.
Les pièces injectées sont en polyéthylène (PE)
Le moule sera mono-empreinte à canal chaud.
Figure 52 : Pot de conserve
onception et Fabrication FAO d’un moule à parois minces
103
Cette partie sera consacrée à la conception d’un moule pour l’injection de
matière plastique en polyéthylène (PE) pour l’obtention d’un pot de conserve qui sera
Dans cette partie on va utiliser toutes les applications vues précédemment en
faisant une étude optimisée et économique afin de réussir la conception.
Le cahier de charge proposé par l’entreprise stipule l’étude et la conception d’un moule
L’entreprise prévoit l’injection de 2000 pièces par mois renouvelable.
Conception et Fabrication FAO d’un moule à parois minces
104
I. Démarche de conception d’un moule
Début
Choix de la presse d’injection
Choix du plan de joint
Conception des empreintes
Calcul et choix du système
d’injection
Pièce à mouler : Dimensions et
matériaux
Calcul et choix
du système de
refroidissement
Choix de la carcasse
Conception et choix du système
d’éjection
Fabrication
Fin
Non
Oui
Conception et Fabrication FAO d’un moule à parois minces
105
II. Pièce à mouler
1. Matière utilisée
La pièce à injecter est fabriquée à base de matériau polymère bien déterminé
dénommé le polyéthylène à haute densité (PEHD). Ce type de polymère appartient à la
famille des polyoléfines des thermoplastiques.
Le PEHD est un polymère semi cristallin c’est à dire constitué de deux phases :
Une phase cristalline et une phase amorphe. Macroscopiquement, on peut observer les
deux types de chaînes qui se combinent en liaison : c’est un matériau bi phasique.
Amorphe : caractérisée par le désordre des macromolécules.
Cristalline : Correspondant au sein de la matrice à des zones où les macromolécules
sont disposées dans l'espace d'une manière régulière.
Figure 53 : Schéma des zones cristallines et amorphes dans un polymère semi-cristallin
Une molécule de polyéthylène n'est rien de plus qu'une longue chaîne d'atomes de
carbone, avec deux atomes d'hydrogène attachés à chaque atome de carbone.
Figure 54 : Structure chimique du PEHD
Conception et Fabrication FAO d’un moule à parois minces
106
Principaux avantages du PE Principaux inconvénients du PE
 Résistance au choc même à froid.
 Résistance à l’abrasion.
 Faible coefficient de friction.
 Qualité du souple au Rigide.
 Inertie Chimique.
 Qualité contact alimentaire.
 Isolation électrique.
 Collage difficile.
 Températures maxi d’utilisation de
50 à 80°C suivant les qualités.
 Retrait Important.
Tableau 5 : avantages et inconvénients du PE
Caractéristiques du polyéthylène :
Polyéthylène à haute densité (PEHD)
PROPRIETE PHYSIQUE
Masse volumique ࢍ/ࢉ࢓ ૜ 0.935 − 0.965
Taux de cristallinité en % 65-80
PROPRIETE MECANIQUE
Contrainte au seuil (rupture) en ࡹ ࡼࢇ 24 − 30
Allongement au seuil (rupture) % 15
Module de flexion en ࡹ ࡼࢇ 900 − 1300
Contrainte de flexion en ࡹ ࡼࢇ 23
PROPRIETE THERMIQUE
Conductivité thermique en ࢃ /(࢓ · ࡷ) 0.46 − 0.51
Chaleur spécifique en ࡶ/(࢑ࢍ · ࡷ) 1900
Température de moulage en °C 220-320
Température du moule en °C 20 à 60
Retrait en % 1.5-2.5
Pression d’injection en ‫ܚ܉܊‬ 800-1400
Viscosité
Diffusivité thermique en ࢉ࢓ ²/࢙ 7.7. 10 ିସ
Température moyenne de la moulé
Au moment de démoulage en °C
80 à110
Tableau6 : caractéristiques du polyéthylène
Conception et Fabrication FAO d’un moule à parois minces
2. DESSIN DE DEFINITION
3. Choix du plan de joint
Pour les pièces compliquées ayant un tiroir on
moulage par injection de matière plastique le plan de joint qui coïncide à la surface
supérieur du tiroir
onception et Fabrication FAO d’un moule à parois minces
DESSIN DE DEFINITION
Choix du plan de joint
Pour les pièces compliquées ayant un tiroir on choisit généralement dans le cas de
moulage par injection de matière plastique le plan de joint qui coïncide à la surface
Figure 55 : Position plan de joint
onception et Fabrication FAO d’un moule à parois minces
107
généralement dans le cas de
moulage par injection de matière plastique le plan de joint qui coïncide à la surface
Conception et Fabrication FAO d’un moule à parois minces
108
4. Choix de la presse d’injection
Faire un bon choix consiste à adapter le mieux possible la pièce à fabriquer à
toutes les caractéristiques technique de la presse. Cette remarque nous amène tout
naturellement à déterminer :
 La force de fermeture exprimée en tonne ou KN (1tonne=10KN),
 Le volume injectable
a) Détermination de la force de fermeture
Comme nous avons énoncé dans la partie bibliographique la force de fermeture doit etre
égale ou supérieur à la force de portance du moule
v proj intF S P 
intP Pression interne du moule.
projS Section projetée de la pièce et des canaux au niveau du plan de joint.
vF Force de verrouillage
Selon l’expérience, la pression interne du moule correspond aux moyennes suivantes
sous réserve de conditions de façonnage adaptées aux matériaux sont donnés dans le
tableau suivant :
Thermoplastique Pression interne moyenne
PE, PP 250 - 600
PS, SB 200 - 500
ABS, ASA, SAN 250 - 350
PC 300 - 500
PC, ABS, PC, PBT 250 - 400
PA 250 - 700
POM 300 - 700
PMMA 300 - 500
Tableau 7 : pression interne moyenne
Dans notre cas on utilise le polyéthylène (PE), on prend une pression interne de 600
barsen considérant le cas le plus défavorable.
Conception et Fabrication FAO d’un moule à parois minces
109
Notre pièce est un pot donc la surface projetée sera la surface aplatie qui va
correspondre à la surface du cercle qui admet le grand diamètre.
Qui nous donnera 2 2
pS 199 31102.55mm
4

  
Par conséquent on aura 2
vF 600 10 31102.55 186615.3daN 186.62T
    
Donc vF 186.62T
b) Déterminons le volume à injecter
Le logiciel SOLIDWORKS nous a permis de connaitre le volume de la pièce à injecter
3
iV 149.33cm À partir de cette valeur on peut déduire la masse de la pièce
i
3
3
i
M V
0.96g / cm
M 0.96 149.33 143.36g
V 149.33cm
 
 
   

En conclusion : la force de fermeture du moule est égale à vF 186.62T , la masse à
injecter est de 143.36g. D’où la nécessité de choisir une presse dont l’effort est
supérieur ou égale à vF 186.62T
5. Choix du type d’alimentation
La matière plastique de la pièce peut être à 100% recyclable, cela signifie un
gain de matière significatif.
D’autre part les prix du bloc chaud sont très élevés, elle peut même tripler le prix du
moule.
Nous sommes donc face à un compromis : carotte recyclable et par la suite des heures
supplémentaires pour le recyclage ou bien l’usage d’un bloc chaud qui est couteux mais
très efficace.
Le choix d’une solution optimale sera tributaire de 4 critère d’appréciation qu’on jugés
nécessaires et suffisant pour satisfaire le cahier de charge :
 Coût de la pièce ;
 Coût du moule ;
Conception et Fabrication FAO d’un moule à parois minces
110
 Rendement de la productivité ;
 Qualité de la pièce injectée ;
Afin de jugée chaque critère, on attribuera un note comme suit :
 3 : pour un niveau jugé bon ;
 2 : pour un niveau jugé moyen;
 1 pour un niveau jugé faible.
Critères Total
Coût du
moule
Coût de la
pièce
Rendement de
la productivité
Qualité de la
pièce
Bloc chaud 1 3 3 3 10
Carotte
perdue
3 1 2 2 8
Tableau 8 : choix d’alimentation
Résultat : A terme de cette analyse, et en se basant sur l’évaluation des résultats
obtenues, on opte pour le moule à canaux chauffantes. Cette solution assure à la fois le
coût le plus bas avec la qualité la plus bonne : C’est l’objectif tant recherché par les
producteurs en général. D’où on prendra un canal chaud de type Buse Topless série 350
dont les caractéristiques sont présentées dans la partie annexe.
6. Position du point d’injection
Le dispositif d’injection déjà choisi, conditionne le choix du point d’injection sur
la partie dessus de la pièce.
On doit donc définir le point le plus convenable pour l’injection à travers une
comparaison entre des différents points accessibles. La simulation faite sur le logiciel
MOLDFLOW à donner les résultats
Suivant :
Conception et Fabrication FAO d’un moule à parois minces
111
Figure a Figure b
Figure 56 : Disposition du point d’injection
La figure b représente le point d’injection la plus convenable pour obtenir un
meilleur temps de remplissage et simplifie la conception du moule vue qu’on utilisera
un bloc chaud.
7. Calcul du seuil d’injection
Notre moule est un moule mono-empreinte, donc on utilisera un seuil circulaire. On
peut utiliser la formule suivante pour déterminer le diamètre des seuils.
4
sd =n C S 
ds Diamètre du seuil en ݉ ݉
n Constante de la matière plastique (PEHD) 0,6
C indice en fontion de l'épaisseur max0,206 e
S Surface extérieur d’échange de la pièce avec le moule 2
98111.16mm
Dans notre cas maxe 1mm
AN : 4
ds 0.6 0.206 1 98111.16 2.18mm   
Donc on prendra un seuil de diamètre ds 2.2mm
Conception et Fabrication FAO d’un moule à parois minces
III. Etude rhéologique
Nous aborderons dans le présent paragraphe la
phase de remplissage.
La modélisation est complexe à plus d’un titre :
 la géométrie est complexe : variations brusques de largeur, d’épaisseur, moules
multi
 la thermomécanique des écoulements de polymère à l’état fo
 il y a coexistence de deux phases liquide et solide, dont les comportements sont
très différents.
Notre étude est faite sur le logiciel de simulation d’injection de plastique :
MOLDFLOW 2010.
1. Résultats de la simulation
 Temps de remplissa
Le temps de remplissage est court, de l’ordre de 0.8s, en effet, le débit d’injection est
élevé. En combinaison avec la forte viscosité de PEHD, la dissipation d’énergie est
donc importante, et la température de la ma
refroidissement du moule.
onception et Fabrication FAO d’un moule à parois minces
Etude rhéologique
Nous aborderons dans le présent paragraphe la modélisation de l’écoulement pendant la
La modélisation est complexe à plus d’un titre :
la géométrie est complexe : variations brusques de largeur, d’épaisseur, moules
la thermomécanique des écoulements de polymère à l’état fondu est complexe ;
il y a coexistence de deux phases liquide et solide, dont les comportements sont
Notre étude est faite sur le logiciel de simulation d’injection de plastique :
Résultats de la simulation
Temps de remplissage
Figure 57 : temps de remplissage
Le temps de remplissage est court, de l’ordre de 0.8s, en effet, le débit d’injection est
élevé. En combinaison avec la forte viscosité de PEHD, la dissipation d’énergie est
donc importante, et la température de la matière peut augmenter localement malgré le
onception et Fabrication FAO d’un moule à parois minces
112
modélisation de l’écoulement pendant la
la géométrie est complexe : variations brusques de largeur, d’épaisseur, moules
ndu est complexe ;
il y a coexistence de deux phases liquide et solide, dont les comportements sont
Notre étude est faite sur le logiciel de simulation d’injection de plastique :
Le temps de remplissage est court, de l’ordre de 0.8s, en effet, le débit d’injection est
élevé. En combinaison avec la forte viscosité de PEHD, la dissipation d’énergie est
tière peut augmenter localement malgré le
Conception et Fabrication FAO d’un moule à parois minces
 Température de matière
On constate que puisque le PEHD est peu conducteurs de la chaleur, la
température à cœur est proche de la température
proche de la température de l’acier. La viscosité de ce polymère dépend fortement de la
température, il faut évaluer avec précision les gradients thermiques, et coupler
étroitement les calculs mécaniques et thermi
calculs sur le refroidissement.
onception et Fabrication FAO d’un moule à parois minces
Température de matière
Figure 58: température de la matière
On constate que puisque le PEHD est peu conducteurs de la chaleur, la
température à cœur est proche de la température d’injection, tandis qu’à la paroi elle est
proche de la température de l’acier. La viscosité de ce polymère dépend fortement de la
température, il faut évaluer avec précision les gradients thermiques, et coupler
étroitement les calculs mécaniques et thermiques. Donc on a besoin d’approfondir nos
calculs sur le refroidissement.
onception et Fabrication FAO d’un moule à parois minces
113
On constate que puisque le PEHD est peu conducteurs de la chaleur, la
d’injection, tandis qu’à la paroi elle est
proche de la température de l’acier. La viscosité de ce polymère dépend fortement de la
température, il faut évaluer avec précision les gradients thermiques, et coupler
ques. Donc on a besoin d’approfondir nos
Conception et Fabrication FAO d’un moule à parois minces
 Pression dans la cavité
Figure 59: l’évolution de la température au cours du remplissage
 Ligne de soudure
On observe que les lignes de
du point d’injection.
 Event
Les évents permettent de chasser l’air emprisonné dans l’empreinte pendant l’injection
de la matière.
La figure ci-dessous montre les zones d’emprisonnement de l'air.
onception et Fabrication FAO d’un moule à parois minces
Pression dans la cavité
: l’évolution de la température au cours du remplissage
Figure 60: présence de ligne de soudure
On observe que les lignes de soudure ne sont pas trop visible conséquent d’un bon choix
Les évents permettent de chasser l’air emprisonné dans l’empreinte pendant l’injection
dessous montre les zones d’emprisonnement de l'air.
onception et Fabrication FAO d’un moule à parois minces
114
soudure ne sont pas trop visible conséquent d’un bon choix
Les évents permettent de chasser l’air emprisonné dans l’empreinte pendant l’injection
Conception et Fabrication FAO d’un moule à parois minces
Figure
Les évents sont généralement placés dans le plan perpendiculaire au sens d’injection,
donc sur le plan de joint on les usine avec une profondeur de 0.05 mm
IV. Calcul et choix du système de refroidissement
1. Le temps du cycle
c ref rem an mt t t t t   
Pour le temps annexe
- Calculons le temps de remplissage
Le logiciel SOLIDWORKS nous a permis de connaitre le volume injecté
3
iV 149.33cm / s
On prendra un débit d’injection
i
rem rem
i
V 149.33
t 2.77s t 2.77s
Q 54
    
- Calculons le temps de refroidissement
Appliquons la méthode thermodynamique
2 1 2
ref 2 4
e 8 (1 10 ) 8 280 60
t ln ( ) ln ( ) 3.2s
a T T 7.7 10 110 60
 
   
        
onception et Fabrication FAO d’un moule à parois minces
Figure 61: les zones d’emprisonnement de l’air
Les évents sont généralement placés dans le plan perpendiculaire au sens d’injection,
donc sur le plan de joint on les usine avec une profondeur de 0.05 mm
Calcul et choix du système de refroidissement
ps du cycle
c ref rem an mt t t t t   
Pour le temps annexe ant on prendra égale à 3s
Calculons le temps de remplissage
Le logiciel SOLIDWORKS nous a permis de connaitre le volume injecté
On prendra un débit d’injection 3
iQ 54cm / s
rem remt 2.77s t 2.77s    
Calculons le temps de refroidissement
Appliquons la méthode thermodynamique :
2 1 2
i M
2 4
m M
T Te 8 (1 10 ) 8 280 60
t ln ( ) ln ( ) 3.2s
a T T 7.7 10 110 60


      
              
onception et Fabrication FAO d’un moule à parois minces
115
Les évents sont généralement placés dans le plan perpendiculaire au sens d’injection,
Le logiciel SOLIDWORKS nous a permis de connaitre le volume injecté
e 8 (1 10 ) 8 280 60
t ln ( ) ln ( ) 3.2s
a T T 7.7 10 110 60
   
           
Conception et Fabrication FAO d’un moule à parois minces
116
reft 3.2s 
Le temps de maintien est généralement égale à m ref mt 0.3 t 0.3 3.2 t 0.96s     
Finalement on aura le temps de cycle
ct 3 2.77 0.96 3.2 9.93s 10s      ct 10s 
2. Système de refroidissement
La matière plastique mise en forme dans l’empreinte du moule à chaud ne peut
pas être démoulée avant que la pièce conformée dans l’empreinte ne soit suffisant rigide
pour résister aux efforts d’éjection.
Pour réduire le cycle de fabrication, il est nécessaire d’accélérer le refroidissement
artificiellement par l’action d’un réfrigérant à proximité de l’empreinte.
Pour cela on va déterminer le nombre de calorie nécessaire à évacuer et ainsi le
nombre de canaux de refroidissement à placer dans l’empreinte mobile.
En premier lieu : on se fixera un temps de cycle ct 5s
 Calcul du nombre de calorie à évacuer pour un temps de cycles ct 5s
cycle e s p i MQ M.(H H ) M c .(T T )    
p
M 143.36g
c (PE) 0.55kcal / kg. C


 
3
cycleQ 143.36 10 0.55 (280 110) 13.4kcal
      
Le nombre de calorie par heure
cycle
cycle/h
c
3600 Q 3600 13.4
Q 9648kcal / h
t 5
 
  
Par conséquent : cycle/hQ 9648kcal / h
 Quantité de chaleur à évacuer par l’empreinte mobile
p
p cycle/h
t
S
Q Q
S
 
A l’aide du logiciel Solidworks on a pu déterminer la valeur de la surface de l’empreinte
mobile en contact à la pièce
Conception et Fabrication FAO d’un moule à parois minces
117
2
p
2
t
S 87729.32mm
S 1915151.6mm
 


p/h
87729.32
Q 9648 4419.55kcal / h
191515.16
   p/hQ 4419.55kcal / h 
 Consommation de liquide dans l’empreinte mobile
p/h
p
f s e
Q
G
cp (T T )


s
e
f
T 22 C
T 18 C
cp : chaleur spécifique du fluide de refroidissement à 20°C 0.99883kcal / kg. C
 

 
  
p
4419.55
G 1106.18kg / h
0.99883 (22 18)
 
 
Comme on travaille avec l’eau donc
pG 1106.18L / h
 Calcul de la section qui permettrait le passage de quantité d’eau voulue
p
p
f f
G
S
3600 v

 
f
3
f
v 0.6m / s
998.62kg / cm


 
6 2
p
1106.18
S 512.82 10 m
3600 0.6 998.62

   
 
6
p
c
S 4 512.82 10 4
d 0.0255m 25.5mm

  
   
 
Le diamètre des canaux doit être compris entre 8 et 14mm. Pour avoir un diamètre
cohérent, il faut remplacer le canal par différents canaux, on aura n entrées d’eau.
2 2
2
p p
8 dc 14
8 14
S 50.26 S 153.94mm
4 4
 
      
c
512.82
Pour d 8mm n 10.2 10
50.26
    
Conception et Fabrication FAO d’un moule à parois minces
118
c
512.82
Pour d 14mm n 3.3 3
153.94
    
Le nombre n d’entrée peut être compris entre 3et 10, on choisit d’en placer 10
2
p
c
1
si n=10 S 512.82 51.28mm
10
d 8.08 8mm
   
  
Par conséquent on utilisera 10 entrées d’eau de diamètre cd 8mm
 Vérification de la valeur du nombre de REYNOLDS
f
f
v Dh
Re



f
f
6f
f
3
v 0.6m / s ( vitesse du fluide dans les canaux)
0.001002
1.0038 10 (viscosité cinématique de l'eau)
998.21
Dh 8 10 m


 


    

  
3
6
0.6 8 10
Re 47818.83
1.0038 10


 
 

On est bien en régime permanent turbulent car
Re 47818.83 3500 
 Calcul du coefficient d’échange thermique hT
0.75 f
Th 0.04(Pe)
Dh


3
f f f
4
f
4
f
f
v Dh cp 0.6 8 10 0.9983 998.21
Pe 33370.05
0.6 2.389 10
0.6w / m.k 0.6 2.389 10 kcal / s.m.k (conductivité thermique de l'eau)
cp 0.99983lcal / kg. C



       
  
  

    
  


4
0.75 2
T 3
0.6 2.389 10 3600
h 0.04(33370.05) 6370.26kcal / m .h. K
8 10


  
   

 Calcul de surface active des canaux
Conception et Fabrication FAO d’un moule à parois minces
119
p/h
cp
T c f
Q
S
h (T T )


p/h
c
f
Q 4419.55kcal / h
T 22 C
T 20 C


 
  
2
cp
4419.55
S 0.35m
6370.26 (22 20)
  
 
 Longueur des canaux à placer dans l’empreinte mobile
cp
cp 3
S 0.35
L 13.93m
Dh 8 10
  
  
Conservation des calories :Dans le cas à canaux chaud, il est nécessaire de conserver
une partie des calories et de ralentir une déperdition trop rapide.
La mise en place de plaques isolantes sur la périphérie du moule est nécessaire.
Figure 62 : Circuit de refroidissement
Conception et Fabrication FAO d’un moule à parois minces
V. Système d’éjection
L’éjection des pièces
pièce ou déformation permanente avant le refroidissement définitif.
De ce fait, on prévoit d’effectuer un système éjection pneumatique de la pièce.
Un tel dispositif est bien adéquat à notre
soupape associé à un circuit d’air assure bien l’éjection dans la bonne condition
puisque ils sont des outilles standard présente un bon coefficient de frottement.
VI. Guidage et centrage
Le bon positionnement est assuré par des colonnes de guidage et des douilles de
centrage.
En même temps en doit prévoyait le centrage de colonnes de guidage à épaulement avec
plot de centrage et des bagues à collerette avec plot de
onception et Fabrication FAO d’un moule à parois minces
Système d’éjection
pièces-après refroidissement et ouverture du moule rupture de la
pièce ou déformation permanente avant le refroidissement définitif.
De ce fait, on prévoit d’effectuer un système éjection pneumatique de la pièce.
Un tel dispositif est bien adéquat à notre conception du point où l’éjecteur en forme se
soupape associé à un circuit d’air assure bien l’éjection dans la bonne condition
puisque ils sont des outilles standard présente un bon coefficient de frottement.
Figure 63 : principe d’éjection
et centrage
Le bon positionnement est assuré par des colonnes de guidage et des douilles de
En même temps en doit prévoyait le centrage de colonnes de guidage à épaulement avec
plot de centrage et des bagues à collerette avec plot de centrage.
onception et Fabrication FAO d’un moule à parois minces
120
après refroidissement et ouverture du moule rupture de la
De ce fait, on prévoit d’effectuer un système éjection pneumatique de la pièce.
conception du point où l’éjecteur en forme se
soupape associé à un circuit d’air assure bien l’éjection dans la bonne condition
puisque ils sont des outilles standard présente un bon coefficient de frottement.
Le bon positionnement est assuré par des colonnes de guidage et des douilles de
En même temps en doit prévoyait le centrage de colonnes de guidage à épaulement avec
Conclusion générale et perspectives
121
CONCLUSION GENERALE ET PERSPECTIVES
Ce projet de quatre mois m’a permis de voir l’intérieur le mode de fonctionnement
des entreprises et de me familiarisé avec le milieu professionnel.
En effet j’ai eu à mettre en pratique certaines compétences et acquérir une certaine
expérience professionnelle dans le milieu industriel. Et la saine ambiance de travail qui
régnait au sein de l’entreprise m’a beaucoup facilité la mise au point de ce projet.
Ce projet a été bénéfique dans la mesure où j’ai eu l’opportunité de connaitre l’utilité
de la matière plastique dans la vie quotidienne, mais aussi de comprendre leur différents
procédés de mise en œuvre et la conception des moules pour l’injection de matière plastique.
Et cette dernière ne peut pas être réalisée sans la maitrise de certains outils informatiques très
important dans notre secteur à savoir les logiciels de conception (Solidworks et AUTOCAD),
et le logiciel de simulation de la matière plastique comme le MOLDFLOW.
Dessin de définition
122
Bibliographie et webographie
123
BIBLIOGRAPHIE ET WEBOGRAPHIE
[1] MEMOTECHNO MATIERE PLASTIQUE
[2] TECHNIQUE DE L’INGENIEUR
[3] GUIDE DE CONSTRUCTION DES OUTILLAGES D’INJECTION
[4] OPTIMISATION DU MOULE PAR INJECTION
[5] CONCEPTION PIECES ET OUTILLAGE II

 www.cap-science.net/upload/transformation-plastiques.pdf
(1) G. Menges:
D’origine allemande. Il fût ingénieur-docteur. Chef de l'Institut Pontstrabe 49e en
1965(Allemagne), professeur en matières plastiques et auteur du livre intitulé « guide de
constructions des outillages d’injection ».
Annexes
124

Copier cours plasturgie (version 00)

  • 1.
    1 ENSIT Notes de cours Procédésd’obtention des matériaux plastiques et composites Version 00 Préparées : par Farhat ghanem
  • 2.
    2 Introduction générale Les plastiquesinventés au XX ième siècle remplacent de plus en plus les matériaux traditionnels comme le bois ou le métal. Les recherches menées pour améliorer et diversifier leurs propriétés les destinent à de nombreuses utilisations. Les matières plastiques sont légères, hygiéniques, durables et faites sur mesure. C'est grâce à toutes leurs qualités qu’elles sont devenues irremplaçables et omniprésentes dans les objets de notre vie quotidienne. A. Rappel sur la matière plastique Introduction Une matière plastique est un mélange constitué par une résine de base, additionnée éventuellement de plastifiants, de colorants et de charges : textile, poudre, fibre de verre etc. On distingue :  -Les matières plastiques naturelles. : Exemple : la corne, la gélatine, l’écaille  -Les matières plastiques synthétiques, obtenues à partir des dérivés du pétrole (pétroléochimie) ou du charbon (carbochimie).  -Les matières plastiques artificielles, obtenues à partir de produit naturels, exemple : la nitrocellulose, la cellophane. I. Historique  1838 : Henri Regnault a synthétisé du PVC pour la première fois, mais cette découverte est restée sans suite.  1869 : les frères Hyatt ont mis au point le celluloïd qui est considéré comme la toute première matière plastique artificielle.  1889 : le chimiste français Jean-Jacques Trillat obtient de la galalithe en durcissant la caséine du lait.  1890 : les Britanniques Cross et Bewan découvrent la viscose en dissolvant de l'acétate de Cellulose dans du chloroforme  1907 : La découverte de la bakélite par le Belge Leo Hendrik Baekeland  1908 : la découverte de la cellophane  1927 : Apparition du polyméthacrylate de méthyle ou PMMA, qui est commercialisé sous les noms de plexiglas et d'altuglas.  1930 : Wallace Carothers invente le Polystyrène et le polyamide, qui fut le premier plastique technique à haute performance.  1933: Apparition du polyéthylène et du polyuréthane.  1940: Premières pièces mécanique remplacées par des résines armées composites pour les avions.  1947: Apparition de l’époxyde  1953: Apparition du polypropylène et du polycarbonate.  En l'an 2000, le polyéthylène et le polypropylène, étaient les matières plastiques les plus produites.
  • 3.
    3 II. Définitions 1. Matièresplastiques C’est un mélange d’un ou plusieurs polymères avec des additifs et des adjuvants (les polymères pure ne son pas utilisés). Une multitude d’additifs et d’adjuvants sont incorporés dans les polymères pour améliorer les caractéristiques et pour faciliter la fabrication des matériaux plastiques. 2. Monomères Ce sont des unités chimiques de base (des molécules) des matières plastiques. Ils sont construits autour des atomes de carbones (d’hydrogène, d’oxygène, d’azote, de chlore, de silice). Exemple : le monomère d’éthylène C2H4 . Figure 1 - un monomère d’éthylène C2H4 3. Polymères Sous l’action de la pression, la température sert un catalyseur, les monomères se regroupent entre eux pour former de longues chaines appelées polymère ou macromolécule. Un polymère peut contenir plusieurs centaines à plusieurs millions de monomères. On peut citer en exemples : le polystyrène, le polyéthylène…… Figure 2 – Exemple de polymère (Polyéthylène)
  • 4.
    4 4. Polymérisation L’opération chimiqueliant les monomères entre eux pour obtenir un polymère appelée polymérisation. La copolymérisation est l’enchainement de deux macromolécules de nature différentes. Il permet d’obtenir de nouvelles macromolécules dans lesquelles les éléments de base se trouvent alternés. Figure 3 – un exemple de polymérisation III. Différents types de matières plastiques Il existe trois grandes catégories de matières plastiques synthétiques: les thermoplastiques, les thermodurcissables et les élastomères.
  • 5.
    5 1. Les thermoplastiques(TP) Les matières plastiques à macromolécule ramifiées mais non réticulées, peuvent être mise en forme de façon réversible. Le nombre de branchements ou de ramification entre les macromolécules est faible, celle-ci reste linéaire et séparées après mise en forme. La structure obtenue reste très serres semi cristalline, bien organisée et proche de celle des métaux. Le recyclage est possible. Exemple : Polyéthylène ; Polystyrène. Figure 4 - un fragment de polyéthylène linéaire 2. Les thermodurcissables (TD) Les matières plastiques à macromolécule formées en raison de maille serrée sont mises en forme de façon irréversible (formation d’un réseau tridimensionnelle au cours de la polymérisions) dans la mesure ou les branchements se font de manière aléatoire pour former des ponts, le matériau obtenu est amorphe ou désorganisé. Le recyclage est impossible. Exemple : Phénoplastes (Bakélite) ; Polyester. Figure 5 - les macromolécules forment un réseau de mailles serrées
  • 6.
    6 3. Les élastomères Lesmatières plastiques à macromolécule en trois dimensions, réticulées, ne peuvent pas êtres mise en forme de façon réversible. Le recyclage est impossible. Exemple : Silicones ; Polychlorobutadiene (Néoprène). Figure 6 – les macromolécules forment un réseau de maille large
  • 7.
    7 Fiches techniques dequelques matériaux plastiques. Il existe beaucoup de sorte de matières différentes, le choix de la matière dépend généralement du type de pièce à mouler. Il faut avant tout savoir avec précision l'usage que l'on veut en faire. Ensuite, il faut étudier son comportement dans le temps selon certain critère tel que la résistance mécanique, son exposition au ultra violet (U.V), sa souplesse, si elle résiste face à certains solvants. Les matières le plus souvent employées sont : 1. Polystyrène (P.S) 2. Polypropylène (P.P) 3. polyéthylène (P.E) 4. Polycarbonate (P.C) 5. Polyamide (P.A) 6. Acrylonitrile Butadiène Styrène (A.B.S) 7. Polyoxyméthylène (P.O.M) 8. Polychlorure de Vinyle (P.V.C) 9. Polyméthacrylate de méthyl (P.M.M.A) 10. Styrène Acrylonitrile (S.A.N) 11. Polyoxyphénylène modifié(P.P.O.m) 12. Polytéréphtalate d'éthylène(P.E.T)
  • 8.
    8 Polystyrène (P.S) Découverte entre1930 et 1931 origine : Gaz naturel ou pétrole = Styrène Structure : Amorphe Retrait : 0.2% à 0.6% Densité : 1.05 Mise en œuvre :Injection T° de Moulage : 160°à 280° C T° du moule : 10°à 60° Temps d'étuvage : aucun Avantages particuliers :  Facilité extrême de mise en œuvre, cadences rapides  Excellente transparence cristal  Bel aspect de surface, possibilités de coloration  Faible retrait  Alimentaire, absence d'odeur  Collage et soudure aisés (Ultrasons) Précautions limites d'emploi :  Résistance aux chocs faibles  Electrostatique  Mauvaise tenue aux hydrocarbures (huiles, solvant, ...)  Jaunissement à la lumière (stabilisants)  Combustible, mauvaise tenue thermique Utilisations les plus courantes :  Equipement ménager, jouets, luminaires  Emballage et décorations Il existe plusieurs sorte de Polystyrène, avec des caractéristiques mécanique beaucoup moins fragile (ex: Le Polystyrène choc)
  • 9.
    9 Polypropylène (P.P) Découverte en1957 origine : Propylène + éthylène Structure : Cristalline Retrait : 1% à 2.8% Densité : 0.900 Mise en oeuvre : Injection T° de Moulage : 210°à 300° C T° du moule : 20°à 90° Temps d'étuvage : aucun Avantages particuliers :  Extraordinaire résistance à la flexion  Excellente propriétés électriques  Bonne propriétés mécaniques  Très bonne résistance aux produits chimiques  Possibilité fibrilation Précautions limites d'emploi :  Inserts en cuivre et manganèse déconseillés  Fragilité à la basse température (limite O°)  Mauvaise tenue au vieillissement (nécessité adjuvants)  Jaunissement à la lumière (stabilisants)  Retrait non homogène Utilisations les plus courantes :  Pièces industrielles (automobile : bonne résistance à la température et aux produits chimiques)  Equipement ménager  Corps creux, bouchage tubes, tuyaux eau chaude  Bandes de cerclage  Composants électriques et électroniques  Emballages alimentaire (Bac, pot, couvercle, seau, ...) Selon le type de pièces à réaliser, il faut un Polypropylène avec des grades différents, ou des additifs comme du P.P chargé de talc. Il existe deux familles de P.P . 1. Les homopolymères : le même motif chimique se répète à l'infini (ex : A.A.A.A.A.A) 2. Les copolymères : qui est un mélange de deux produits différents (ex : A.B.A.B.A.B)
  • 10.
    10 Polyéthylène haute densité(P.E) Découverte en 1937 pour le P.E basse densité et en 1957 pour le P.E haute densité origine : Ethylène Structure : Cristalline Retrait : 1.3% à 3.5% Densité : 0.945 à 0.960 Mise en œuvre : Injection T° de Moulage : 160°à 300° C T° du moule : 20°à 60° Temps d'étuvage : aucu Avantages particuliers :  Caractéristiques améliorées par rapport au P.E basse densité  Rigidité, brillance de surface  Résistance à la température (-40° à +125°) vieillissement aux chocs, inertie chimique, résistance à l'eau bouillante  Anti-adhérence accrue  Absence de fissuration sous tension Précautions limites d'emploi :  retrait différentiel  Densité plus élevée que le P.E bd  Nécessité incorporation d'agents antistatiques pour certaines applications Utilisations les plus courantes :  Casiers de manutention  Articles ménagers, jouets, sièges, luminaires  Isolation électrique réservoirs, chaudronnerie anticorrosion  Mono-multi filaments, fils plats étirés, corderies, sacs Le P.E basse pression est toujours de haute densité , et le P.E haute pression est toujours de basse densité
  • 11.
    11 Polycarbonate (P.C) Découverte en1957 origine : Bisphenol A , carbonate de biphényle Structure : Amorphe Retrait : 0.7% Densité : 1.20 Mise en œuvre : Injection T° de Moulage : 270°à 320° C T° du moule : 85°à 120° Temps d'étuvage : de 2 à 6 h T° d'étuvage : 120° Avantages particuliers :  Excellentes propriétés mécaniques (incassables)  Ténacité, dureté, résistance aux chocs  Excellentes propriétés électriques  Conservation des caractéristiques sur un large intervalle de températures  Stabilité dimensionnelle  Tenue aux U.V (ultra violet), bonne transparence  Autoextinguible, imperméabilité à la vapeur d'eau  Alimentaire Précautions limites d'emploi :  Résiste mal aux super-carburants  Attaqués par les lessives  Mauvaise tenue aux hydrocarbures (huiles, solvant, ...)  Jaunissement à l'extérieur (nécessité d'un stabilisants)  Nécessité d'étuvage avant transformation  Pressions et températures injection relativement élevées Utilisations les plus courantes :  Appareillage électrique et électronique  Luminaires, signaux lumineux, lentilles optiques  Cartes de protection, guichets  Matériel stérilisable (bacs chirurgicaux, biberon) En cas d'arrêt prolongé de la presse, il faut baisser les chauffes entre 160°et 180° C ,Parce que c'est une matière qui se dégrade vite et qui risque de faire des points noirs sur les pièces au redémarrage
  • 12.
    12 Polyamide (P.A) Découverte en1946 origine : Caprolactame(préparé à partir du phénol) Structure : Critalline Retrait : 1% à 2.3% Densité : 1.13 Mise en oeuvre : Injection T° de Moulage : 230°à 260° C T° du moule : 50°à 95° Temps d'étuvage : 4 h T° d'étuvage : 90° Avantages particuliers :  Excellentes propriétés mécaniques (incassables)  Plage de température de fusion plus large  Résistance aux solvants usuels  Bonne tenue au feu  Bonnes caractéristiques électriques Inconvénients :  Hydroscopicité supérieure (pouvoir de reprendre l'eau)  Variation des caractéristiques en fonction des températures et de l'humidité  Dissous par les phénols et acide formique  Aspect de surface moyen  Nécessité d'étuvage avant transformation Utilisations les plus courantes :  Appareillage électrique et électronique (Programmateurs, connecteurs, douilles lampes, carters, fiches)  L'automobile (turbines, poignées, flotteurs, compteurs, pare-choc, enjoliveurs  Electro-ménager (carters, turbines, poulies, éléments de robots, fouet, pieds de mixers)  Divers (briquets, téléphone, valves aérosol, seringues, casques) On distingue plusieurs sortes de P.A : (6 - 6.6 - 6.6 chargé à 30% de fibre de verre - 6.10 - 11 - 12 et même du polyamide transparent Chaque numéro correspond à des critéres bien particulier, et influence les propriétées mécaniques des pièces moulées
  • 13.
    13 Acrylonitrile Butadiène Styrène(A.B.S) Découverte entre 1946 et 1947 origine : Acrylonitrile butadiène styrène Structure : Amorphe Retrait : 0.4% à 0.7% Densité : 1.05 Mise en oeuvre : Injection T° de Moulage : 210°à 270° C T° du moule : 30°à 80° Temps d'étuvage : de 2 à 4 h T° d'étuvage : 90° Avantages particuliers :  Rigidité  Aspect agréable ( surfaces dures et brillantes)  Stabilité dimensionnelle  Bonne résistance aux chocs et aux rayures  Assez bonne tenue à la chaleur et à l'humidité  Alimentaire  Moulage et formage aisés, décoration et impression facile Précautions limites d'emploi :  Opacité  Trés électrostatique (nécessité d'agents antistatiques)  Tenue chimique assez faible  Jaunissement à l'extérieur (nécessité d'un stabilisants)  Transparence laiteuse Utilisations les plus courantes :  Industrie automobile (calandre, tableau de bord)  Electro-ménager (capotage, carter, cuve réfrigérateur)  Radio, T.V, photo, appareil téléphonique  Ameublement Par son aspect et son état de surface d'une excellente qualitée , les pièces moulées peuvent être décorées . Elles supportent facilement l'impression, ou la métallisation
  • 14.
    14 Polyoxyméthylène (P.O.M) origine : Structure: Amorphe Retrait : 0.5% à 0.7% Densité : 1.06 à 1.10 Mise en oeuvre : Injection T° de Moulage : 180°à 250° C T° du moule : 30°à 80° Temps d'étuvage : de 2 à 4 h T° d'étuvage : 90° Avantages particuliers :  Elasticité  Résistance au fluage  Endurance à la fatigue mécanique  Faible reprise d'humidité  Bonne qualité de frottement  Tenue aux produits pétroliers et solvants courants  Excellente propriété mécanique Précautions limites d'emploi :  Retrait élevé dû à la forte cristallinité  Sensibilité à la lumière  Opaque  Inflammabilité  Sensibilité aux acides faibles et bases  Pressions et températures injection relativement élevées Utilisations les plus courantes :  Appareillage électrique et électronique  Pièces d'horlogerie  Déflecteurs de T.V  Pièces automobiles (pour sa tenue en température) Modes de transformation  Injection , Injection souflage , Extrusion , Thermoformage , Usinage
  • 15.
    15 Polychlorure de Vinyle(P.V.C) origine : Structure : Amorphe Retrait : 0.2% à 0.4% Densité : 1.40 Mise en œuvre : Injection T° de Moulage : 170°à 205° C T° du moule : 40°à 70° Temps d'étuvage : 4 h T° d'étuvage : 80° Avantages particuliers :  Rigidité, stabilité dimensionnelle des pièces moulées  Résistance à l'abrasion excellente  Autoextinguibilité, incombustible  Bonnes propriétés électriques  Bon comportement aux agents chimiques  Extrusion, formage usinage soudage aisés Précautions limites d'emploi :  Fragile à basse température  Brunissement aux U.V (ultra violet)  Précaution à prendre en injection (moulage possible dans un faible écart de température)  Dégagement de vapeurs chlorées en cas de décomposition  Nécessité additifs pour améliorer la résistance aux chocs Utilisations les plus courantes : A: pour le P.V.C rigide  Tubes (adduction eau, assainissement, irrigation, drainage, gaine pour câbles)  Profilés (sous plafonds, toitures, volets)  Pièces industrielles B: pour le P.V.C souple  Revêtements de sols, tissus enduits (simili cuir)  Câblerie électrique, profilés souples, joints  Nappes, rideaux, Objets gonflables, compte-gouttes Les PVC peuvent être utilisés non plastifiés : PVC RIGIDES ou plastifiés : PVC SOUPLE . Les propriétés mécaniques sont trés différentes. Les caractéristiques chimiques des PVC SOUPLE sont plus ou moins affectées.
  • 16.
    16 Polyméthacrylate de méthyl(P.M.M.A) Découverte en 1927 origine : Méthacrylate de méthyle Structure : Amorphe Retrait : 0.2% à 0.8% Densité : 1.18 Mise en oeuvre : Injection T° de Moulage : 200°à 270° C T° du moule : 40°à 70° Temps d'étuvage : 4 h T° d'étuvage : 80° Avantages particuliers :  Transparence optique (supérieure au verre ordinaire)  Facilité de coloration, décoration, métallisation  Formage, usinage, collage faciles  Excellente tenue au vieillissement, tenue aux U.V (ultra violet)  Rigidité, surface dure Précautions limites d'emploi :  Combustibilité  Fragilité relative  Nécessité d'un recuit pour éviter le fendillement  Faible tenue aux températures  Résistance chimique faible (sensible aux super carburants) Utilisations les plus courantes :  Luminaires, Goblet, enseignes, agencement magasin  Industrie automobile (feux arrière, position, plafonnier, cadrans)  Radio, T.V, téléphone (cadrans)  Equipement sanitaire Grades spéciaux : Haute transparence, spécial pour horlogerie, alimentaire, stabilisé chaleur, haut poids moléculaire, meilleure résistance à la fissuration, plastifi
  • 17.
    17 Styrène Acrylonitrile (S.A.N) origine: Copolymérisation du styrène et de l'acrylonitrile Structure : Amorphe Retrait : +ou- 0,5% Densité : 1.06 Mise en œuvre : Injection T° de Moulage : 200°à 260° C T° du moule : 30°à 80° Temps d'étuvage : 2 h à 90 Parfois inutile Avantages particuliers :  Transparent  Bonne résistance chimique - surface brillante et dure  Excellente rigidité  Bonne tenue température  Alimentaire  Bonne transformation Précautions limites d'emploi :  Résistance au choc faible  Risque de casse au démoulage Utilisations les plus courantes :  Articles ménagers,(vaisselles)-Articles de bureau  Electroménager (réservoirs)  Automobile (tableaux de bord) Le S.A N se travaille genéralement avec un moule chaud , entre 30 et 80° pour obtenir un aspect brillant .
  • 18.
    18 Polyoxyphénylène modifié (P.P.O.m) Structure :Amorphe Retrait : 0.5% à 0.7% Densité : 1.06 à 1.10 Mise en oeuvre : Injection T° de Moulage : 250°à 300° C T° du moule : 75°à 95° Temps d'étuvage : 2 à 4 h T° D'étuvage : 100° Avantages particuliers :  Bonne tenue aux chocs  Bonnes propriétés électriques  Excellente absorption d'eau  Stabilité dimensionnelle  Tenue en température Précautions limites d'emploi :  Soluble ou attaqué par les hydrocarbures  Coëfficient de frottement élevé -- grippage Utilisations les plus courantes : Du fait de bon comportement à l'eau chaude  Robinetterie, élément de pompe  Compteur d'eau chaude  Pièces pour machines à laver le linge ou la vaisselle  Pièces automobiles (tenue en T°) Du fait de la stabilité dimensionnelle  Dèflecteurs de T.V.  Pièces d'horlogerie Caracteristiques mécaniques :  T° d'utilisation : -50°à 130°C  T° de ramollissement : 150°  allongement à la rupture : 60% Il y a plusieurs sortes de P.P.O qui varient selon son utilisation , le P.P.O non chargé , et le P.P.O chargé à 30% de fibre de verre. Le chargé à 30% a des caractéristique mécanique nettement meilleure que le P.P.O.m , son retrait est de l'ordre de 0.1 à 0.3 %.
  • 19.
    19 Polytéréphtalate d'éthylène(P.E.T) origine :Ethylène glycol , diméthyltéréphtalate Structure : Cristalline ou Amorphe Retrait : 1,5% à 3% Densité : 1,37 Mise en œuvre : Injection T° de Moulage : 250° à 290° C T° du moule : 130°à 160° Temps d'étuvage : Pas néccessaire (sous vide Avantages particuliers :  Excellentes propriétés mécaniques  Rigidité, résistance à l'abrasion , pliure non cassante  Faible reprise d'humidité  Bonne résistance aux produits chimiques  Surface des pièces très brillantes , métallisation facile  Conserve ses propriétés sur un large intervalle de température  Structure amorphe si le moule est à 40°-->transparence Précautions limites d'emploi :  Thermoformage difficile  Reprise d'humidité presque nulle 0,1% , mais très rapide-->2H  Impossibilité de mouler , après reprise d'humidité 0,05%  Utilisation des rebroyés à 10% 15% mais immédiatement après moulage Utilisations les plus courantes :  Ruban magnétique, ruban support marquage  Isolation moteur électrique  Pièces de serrurerie, engrenage (stabilité dimensionnelle)  Connecteurs, commutateurs, bobines, boîtes à fusibles  Barquettes, plats, moules allant au four même aux micro-ondes  Bouteilles (préforme) Grades spéçiaux :  Alimentaire  Haute tenue au choc , amorphe ou cristallin  Renforcé : fibre de verre (30%) , bille de verre On distingue : - Polytéréphtalate d'éthylène PET ou PETP - Polytéréphtalate de buthylène PBT ou PBTP encore appelé parfois - Polytéréphtalate de tétraméthylène PTMT Les propriétés sont relativement voisines, mais diffèrent notamment sur le plan de la cristallinité : le PBTP cristallisant plus facilement avec les conséquences habituelles : meilleurs rigidité mais à chaud ,résistance légèrement accrue aux produits chimiques , retrait plus élevé .
  • 20.
    20 RESUME DE QUELQUES CARACTÉRISTIQUESDES MATIÈRES MATIERE DIF . THER T° INJ T° MOULE DENSITE ABS 0.084 240 50 1.05 PA 6 0.065 240 60 1.13 PA 6.6 0.065 280 80 1.14 PA 6.6 FV 0.065 290 80 1.37 PBT 0.08 260 80 1.29 PETP 0.09 280 60 1.34 PC 0.09 300 100 1.18 PE bd 0.09 230 25 0.93 PE hd 0.077 250 50 0.95 PMMA 0.06 240 80 1.18 POM 0.0533 205 90 1.42 PPO 0.08 285 80 1.08 PP 0.065 240 35 0.9 PS 0.083 230 40 1.03 PVC sou 0.05 170 40 1.3 PVC rig 0.05 185 50 1.4 SAM 0.085 230 40 1.08
  • 21.
    21 1. Coûts compétitifsdes matières plastiques : Les coûts des matières plastiques sont devenus compétitifs sous l'influence de plusieurs facteurs :  le perfectionnement des matières et des procédés et l’augmentation des séries fait baisser le prix du produit fini ;  la multifonctionnalité et le moulage de formes complexes entraînent de sérieuses économies de fabrication et d'assemblage. Figure7- Les prix indicatifs des familles de plastiques, comparés aux autres matériaux IV. Quel avenir pour les matières plastiques ? L’industrie de la transformation du plastique en Europe et aux USA a évolué depuis les années 80 de façon continue alors que les dernières années, on avait vu une forte augmentation de la production mais également de la consommation. En Tunisie, la consommation de plastique dépasse 17kg par habitant. Il existe par ailleurs pour la Tunisie un marché local en croissance, pas seulement pour les plaques, feuilles, tubes et profilé mais aussi pour les pièces techniques notamment grâce au secteur automobile et du bâtiment. L’activité principale est la transformation du plastique à destination des marchés automobile, agricole, du bâtiment, de l’emballage, de l’électricité ou l’électronique. Le secteur fait intervenir différentes technologie, notamment l’injection, l’extrusion, le moulage par compression, l’extrusion soufflage, mais également des opérations simples, telles que la décoration par impression ou encore le recyclage.
  • 22.
    22 Figure 8 -Exemple des objets plastique.
  • 23.
    23 Elaboration des matièresplastiques Les techniques de transformation des plastiques dépendent de la nature des polymères et de la destination des produits finis. Les principaux procédés de fabrication industrielle sont : l’injection, l’injection soufflage, l’extrusion, l’extrusion soufflage, le thermoformage, l’expansion moulage, le calandrage, le roto-moulage. I. L’injection Le moulage par injection sur une presse est le principal procédé de transformation des thermoplastiques. Il consiste à ramollir (état visqueux) la résine, généralement en granulés, introduite dans la presse et à l’injecter sous forte pression au travers d’une buse dans l’empreinte d’un moule. La pièce produite est généralement terminée et utilisable aussitôt. C’est une méthode de production très rapide pour produire des objets en très grande quantité. La technique de fabrication est fréquente pour fabriquer des objets moulés de qualité, parfois de forme compliquée dans le domaine de l’automobile, du jouet ou de l’électronique. On peut réaliser des objets très volumineux, par contre, il n'est pas possible de faire des parois supérieures à 6 mm. Figure 9 - Principe d’une presse d’injection plastique et un moule
  • 24.
    24 II. L’injection soufflage Estun procédé utilisé pour fabriquer la plupart des bouteilles et des flacons. On utilise des pièces semi-finies obtenues par injection. Par exemple pour les bouteilles d’eaux minérales, le plastique est préformé. Le corps de la préforme est chauffé puis une tige étire la préforme jusqu'au fond du moule. Enfin, un très puissant jet d’air plaque la matière contre les parois du moule. La préforme prend alors la forme et le moule est refroidi puis ouvert pour faire sortir la bouteille. Comme pour l’injection, pour changer la forme de la bouteille, il suffit de changer le moule. Figure 10 – moule et préforme III. L’extrusion L’extrusion consiste à introduire au moyen d’une trémie, la résine en granulés ou en poudre dans une chambre ou fut cylindrique à vis. La fluidification est aidée par le chauffage du fourreau la tète de la machine comporte une filière destinée à donner à la matière qui la traverse la forme désirée. Le produit obtenu passe entre des rouleaux qui le soutiennent pendant le refroidissement par aspersion d’eau ou jets d’air frais.
  • 25.
    25 Figure 11 -une presse de l’extrusion et sa filière IV. L’extrusion soufflage Permet de fabriquer des corps creux. Cela commence par l’extrusion d’un tube plein appelé la paraison. Ce tube de plastique encore chaud sortant de la filière est coupé et un moule froid en deux parties se referme autour de lui. Ensuite, de l'air est injecté dans la matière par une canne de soufflage et le polymère vient se plaquer sur les parois intérieures du moule qui est rapidement refroidit. Le procédé se termine par le démoulage, le décarottage et l’élimination des déchets de moulage de la pièce. Figure 12 - une presse de l’extrusion avec une paraison
  • 26.
    26 V. L'extrusion gonflage C’estune variante de l’extrusion qui permet de fabriquer des films plastiques. Ce procédé consiste en sortie de l’extrudeuse à dilater avec de l'air comprimé une gaine polymère précédemment formée. La sortie de l’extrudeuse est verticale, on souffle de l’air comprimé dans la matière fondue qui se gonfle et s’élève verticalement en une longue bulle de film. Après refroidissement, des rouleaux aplatissent le film en une gaine plane qui s’enroule sur des bobines. On fabrique ainsi des films utilisés dans la fabrication d’emballages, de sacs- poubelles, de sacs de congélation, des poches médicales pour perfusion et des feuilles souples et fines de revêtements pour serres horticoles. Figure 13 – une presse d’extrusion avec un mandrin
  • 27.
    27 VI. Le formageou le thermoformage Le formage ou thermoformage est une opération de seconde transformage à partir d’un produit semi-fini en feuilles ou films. La mise en forme est réalisée par un procédé thermique ou mécamique. Le produit realisé est un produit fini. Figure 14 – schéma du principe de thermoformage VII. L’expansion moulage L’expansion permet de réaliser des pièces généralement volumineuses avec un poids léger. Les matiére de base sont complétées par des éléments gonflants. La production est réalisée à froid ou à chaud.
  • 28.
    28 VIII. Le calandrage Lecalandrage est destiné à la fabrication de films, feuilles de plastique et d’élastomère, ainsi qui au doublage direct de films sur des supports en papier ou en tissu. Le calandrage s’effectue sur une machine à plusieurs cylindres, la calandre. Cette machine est constituée de deux bâtis sur lesquels sont montés des cylindre en fonte trempée et dotés de conduit permettent la circulation d’un fluide thermique qui permet de conserver les cylindres à une température uniforme. Figure 15 – Machine de calandrage pour feuilles plastique IX. Le rotomoulage Le rotomoulage est destiné à la fabrication de corps creux généralement de grandes dimension. Le rotomoulage s’effectue sur des machines à deux axes de rotation orthogonaux. La forme intérieure du moule correspond à celle de l’extérieure de la pièce après refroidissement.
  • 29.
    29 Figure 16 -schéma du principe de rotomoulage C. Présentation du procédé et de l’équipement d’injection plastique I. Le procédé Le procédé d’injection est le procédé de transformation des plastiques le plus répandu après l’extrusion. L’injection est un procédé de mise en œuvre des thermoplastiques, il consiste à ramollir le plastique généralement en granulés introduit dans la presse et de l’injecter sous forte pression à travers une buse dans l’empreinte d’un moule. La pièce produite est généralement terminée et utilisable aussitôt. Figure 17 - les différentes étapes d’injection Pourquoi la matière pastique est-elle chauffée ? La matière plastique sous forme de granulé introduite dans la trémie doit être chauffée pour fournir une pate fondante à l’aide du fourreau. Chaque matière plastique a sa température de mise en œuvre.
  • 30.
    30 1. Phase deplastification La phase de plastification a pour objectif de faire fondre le volume de matière nécessaire pour l'injection de la pièce et de l'amener à la température d'injection.  Température : On vise une température matière de l’ordre de 280 °C. Le profil de température doit être régulièrement croissant de la trémie à la buse avec 260 °C à la zone d'alimentation.  Vitesse de rotation de la vis : La vitesse de rotation de la vis doit être telle que la vitesse périphérique soit comprise entre 3 et 10 m/min.  Contre pression : la contre-pression sur la vis doit être faible et peut être nulle (pression hydraulique entre 0 et 10bars). Figure 18 - Phase de plastification 2. La phase d’injection : Les qualités et l'aspect de surface dépendent fortement de la phase de remplissage de la cavité. Pour assurer un remplissage complet de l'empreinte et obtenir des pièces uniformes, la pression et la vitesse d'injection doivent être aussi élevées que possible sans produire de dégradations ou de phénomènes de brûlures par effet Diesel, ni provoquer d'écoulement nuisible au fini de surface de la pièce. 3. Phase de maintien : La phase de maintien, qui suit l'injection, termine le remplissage de la pièce et compense ensuite la diminution de volume spécifique (causée par une diminution de la température ainsi que de la cristallisation) par un apport de matière: le débit est faible mais la pression est élevée. La précision des cotes, la stabilité dimensionnelle ainsi que l'aspect de surface sont influencés par la valeur de la pression de maintien. Il est recommandé, en fonction des tolérances souhaitées, l'application d'une pression matière comprise entre 300 et 1500 bars.
  • 31.
    31 Figure 19 -Pression hydraulique au cours du cycle de moulage en fonction du temps 4. Phase de refroidissement Pendant le cycle d’injection de la matière plastique, pour remplir convenablement l’empreinte, la matière doit rester fluide. La température de la matière plastique doit rester stable de la sortie de la buse de la presse jusqu’à l’empreinte du moule. Apres l’injection, la matière plastique mise en forme dans l’empreinte du moule à chaud, ne peut être démoulée avant que la pièce conformée dans l’empreinte ne soit suffisamment rigide, pour résister aux efforts d’éjection, il faut procéder au refroidissement des zones qui entourent l’empreinte. 5. Phase d’éjection L’éjection des pièces après refroidissement et ouverture du moule doit être facilement réalisée, sans rupture de la pièce ou déformation permanente avant le refroidissement définit. II. La presse d’injection 1. Description d’une presse La presse à injecter est le dispositif, qui, à l`aide d`un moule introduit à son intérieur, permet de produire des pièces plastiques plus ou moins complexes.
  • 32.
    Fig La presse estcomposée de plusieurs sous ensembles : les plateaux (fixe et mobile), le Eléments Bâti Pupitre de commande Les plateaux Le groupe de fermeture Les colonnes 2. Mécanisme de fermeture a) Force de fermeture La force de fermeture est la force nécessaire pour maintenir le moule fermé lors de l'injection. Cette force est calculée par rapport à la pression exercée dans le moule pendant l’injection. Elle doit être supérieure à la pression d'injection. Il est obli verrouillage du moule, sinon lors de l'injection, il se produit une ouverture et du toilage sur les pièces. fer i proj F : Force de fermeture en (N) P : Presseion d'injection en (Pa) S : Surface projetée en (mm²) NB : La pression de verrouillage doit Figure 20 – éléments d’une presse d’injection La presse est composée de plusieurs sous ensembles : le bâti, le pupitre de commande, les plateaux (fixe et mobile), le groupe de fermeture, les colonnes, l`ensemble vis Définition Le bâti est le sommier en acier soudé ou en fonte qui supporte l`ensemble des organes nécessaires au bon fonctionnement de la presse Le pupitre de commande est la partie qui sert à la programmation de la presse Les plateaux permettent de fixer le moule à la presse Le groupe de fermeture est le dispositif de manœuvre des plateaux qui doit assurer l`ouverture, la fermeture et le verrouillage du moule avec une force suffisante pour s`opposer à l’ouverture du moule pendant l`injection Les colonnes servent à guider le plateau mobile pendant les phases d`ouverture fermeture. Elles relient le plateau fixe au plateau arrière Mécanisme de fermeture La force de fermeture est la force nécessaire pour maintenir le moule fermé lors de l'injection. Cette force est calculée par rapport à la pression exercée dans le moule pendant l’injection. Elle doit être supérieure à la pression d'injection. Il est obligatoire d'exercer un verrouillage du moule, sinon lors de l'injection, il se produit une ouverture et du toilage sur les F : Force de fermeture en (N) P : Presseion d'injection en (Pa) S : Surface projetée en (mm²) La pression de verrouillage doit-être de 20 à 25% supérieur à la pression d'injection. fer i projF P * S 32 , le pupitre de commande, groupe de fermeture, les colonnes, l`ensemble vis-fourreau. est le sommier en acier soudé ou en fonte qui supporte l`ensemble des organes nécessaires au bon fonctionnement de Le pupitre de commande est la partie qui sert à la permettent de fixer le moule à la presse Le groupe de fermeture est le dispositif de manœuvre des plateaux qui doit assurer l`ouverture, la fermeture et le verrouillage du moule avec une force suffisante pour du moule pendant l`injection Les colonnes servent à guider le plateau mobile pendant les phases d`ouverture fermeture. Elles relient le plateau fixe au La force de fermeture est la force nécessaire pour maintenir le moule fermé lors de l'injection. Cette force est calculée par rapport à la pression exercée dans le moule pendant gatoire d'exercer un verrouillage du moule, sinon lors de l'injection, il se produit une ouverture et du toilage sur les être de 20 à 25% supérieur à la pression d'injection.
  • 33.
    33 b) Différents mécanismede fermeture Les différents mécanismes de fermeture sont représentés dans le tableau Ci-dessous : Types de fermetures Rôles FERMETURE MECANIQUE Bien que les mouvements sont assurés par un vérin, elle est appelée mécanique, car l'effort de verrouillage est assuré par les genouillères. Sur certaine presse, lorsque le point d'alignement est dépassé, on peut couper la pression dans le vérin et l'ensemble reste stable. FERMETURE HYDRAULIQUE Ce type de fermeture ne fait appel à aucun mouvement mécanique. Ceux-ci sont réalisés par des mouvements hydraulique à l'aide d'un gros vérin central qui a pour but de faire l'approche du plateau mobile jusqu'au plateau fixe , et d'un vérin plus petit qui assure le verrouillage dans la phase final de fermeture. FERMETURE MIXTE Ce procédé est un compromis entre la fermeture hydraulique et la fermeture mécanique. En effet, les mouvements d'ouverture et de fermeture se font uniquement par des genouillères, tandis que le verrouillage est assuré par un ou des vérins hydrauliques. Tableau 2 - type de fermeture 2. Le mécanisme d’injection L’unité d’injection principale est constituée des ensembles suivants : la force de fermeture commandée par un vérin hydraulique et une genouillère de fermeture, le fourreau (cylindre de plastification), un clapet anti-retour, un support mobile, la buse d’injection et d’une vis de plastification et de dosage de la matière plastique. a) Fourreau Le fourreau, étant soumis à l'abrasion, est de préférence fabriqué par bi-métallisation pour accroître sa durée de vie.
  • 34.
    b) La visd’injection C'est l'élément le plus important de la presse à injecter. Le but étant de plastifier une m passage en fusion. Elle assure 2 fonctions essentielles :  Transport et plastification de la matière.  Injection sous pression de la masse fondue dans le moule. On distingue 4 types :  Vis à profil pour matières amorphes.  Vis pour matières semi  Vis à profil universel.  Vis pour matières spécifiques (sans clapet pour c) La buse La buse (ou le nez), situé à l'extrémité du fourreau, assure doit être chauffé de façon à pouvoir compenser les déperditions calorifiques ver plus froid (figure). Tous les types de buse à obturateur peuvent être utilisés. Les systèmes à aiguille avec fermeture à ressort sont p zones de stagnation. d) Clapet anti-retour Rôle Figure 21 - Fourreau C'est l'élément le plus important de la presse à injecter. Le but étant de plastifier une matière sans lui faire perdre ses caractéristiques au moment du Elle assure 2 fonctions essentielles : Transport et plastification de la matière. Injection sous pression de la masse fondue dans le moule. profil pour matières amorphes. Vis pour matières semi-cristallines Vis pour matières spécifiques (sans clapet pour PVC (rigide)) Figure 22 – Vis d’injection nez), situé à l'extrémité du fourreau, assure le contact avec le moule. Il doit être chauffé de façon à pouvoir compenser les déperditions calorifiques ver ). Tous les types de buse à obturateur peuvent être utilisés. Les systèmes à aiguille avec fermeture à ressort sont préférables pour leur bonne étanchéité et l'absence de Figure 23 – buse ouverte 34 atière sans lui faire perdre ses caractéristiques au moment du le contact avec le moule. Il doit être chauffé de façon à pouvoir compenser les déperditions calorifiques vers le moule, ). Tous les types de buse à obturateur peuvent être utilisés. Les systèmes à référables pour leur bonne étanchéité et l'absence de
  • 35.
    Lors de l’injection,le clapet anti matière le long de la vis. L’étanchéité du clapet est indispensable à la robustesse du procédé. Fonctionnement Le clapet comporte trois pièces : Pointe de bague du clapet est repoussée contre la pointe de la vis par l’afflux de matière plastifiée. Le flux de matière passe à l’intérieur de la bague, puis à travers les rainures de la pointe. Lors de l’injection, la vis de plastification avance et plaque le siège contre la bague. La matière ne peut plus refluer vers l’arrière du clapet. III. Cycle de moulage Ce cycle commence toujours par une ouverture du moule et il se déroule de la façon  Fermeture du moule : Ce mouvement commence avec une vitesse lente puis rapide, et se termine de nouveau lentement pour éviter le choc entre les plans de joint et pour donner le temps d’agir au système de sécurité.  Verrouillage du moule Une force importante en fonction des critères techniques (matière à injecter, forme des pièces etc.) est appliquée pour maintenir les deux surfaces des parties fixe et mobile en contact,  Injection de la matière C’est la phase de remplissage de(s) (l’) empreinte(s) avec la matière plastifiée et le maintien sous pression pour compenser les retraits.  Refroidissement Il a lieu le temps nécessaire pour que le plastique se solidifie dans le moule.  Ouverture du moule Lors de l’injection, le clapet anti-retour de la vis de plastification empêche le reflux de matière le long de la vis. L’étanchéité du clapet est indispensable à la robustesse du procédé. te trois pièces : Pointe de vis, bague et siège. Durant le dosage, la bague du clapet est repoussée contre la pointe de la vis par l’afflux de matière plastifiée. Le flux de matière passe à l’intérieur de la bague, puis à travers les rainures de la pointe. Lors de stification avance et plaque le siège contre la bague. La matière ne l’arrière du clapet. Figure 24 – Clapet anti-retour Ce cycle commence toujours par une ouverture du moule et il se déroule de la façon : Ce mouvement commence avec une vitesse lente puis rapide, et se termine de nouveau lentement pour éviter le choc entre les plans de joint et pour donner le temps d’agir au Verrouillage du moule: ne force importante en fonction des critères techniques (matière à injecter, forme des pièces etc.) est appliquée pour maintenir les deux surfaces des parties fixe et mobile en Injection de la matière : C’est la phase de remplissage de(s) (l’) empreinte(s) avec la matière plastifiée et le maintien sous pression pour compenser les retraits. a lieu le temps nécessaire pour que le plastique se solidifie dans le 35 retour de la vis de plastification empêche le reflux de matière le long de la vis. L’étanchéité du clapet est indispensable à la robustesse du procédé. Durant le dosage, la bague du clapet est repoussée contre la pointe de la vis par l’afflux de matière plastifiée. Le flux de matière passe à l’intérieur de la bague, puis à travers les rainures de la pointe. Lors de stification avance et plaque le siège contre la bague. La matière ne Ce cycle commence toujours par une ouverture du moule et il se déroule de la façon suivante : Ce mouvement commence avec une vitesse lente puis rapide, et se termine de nouveau lentement pour éviter le choc entre les plans de joint et pour donner le temps d’agir au ne force importante en fonction des critères techniques (matière à injecter, forme des pièces etc.) est appliquée pour maintenir les deux surfaces des parties fixe et mobile en C’est la phase de remplissage de(s) (l’) empreinte(s) avec la matière plastifiée et le a lieu le temps nécessaire pour que le plastique se solidifie dans le
  • 36.
    36 Le plastique étantsuffisamment refroidi pour pouvoir être démoulé, la partie mobile du moule s’écarte de la partie fixe.  Ejection de la pièce La pièce solidifiée : à l’aide des éjecteurs avec un vérin hydraulique. Résumé du cycle d'injection Figure 25 : résumé du cycle d’injection La figure ci-dessous montre les différentes phases d’un cycle de production de pièces injectées, sur une presse classique équipée d’un groupe de plastification et d’injection à vis, et son grafcet.
  • 37.
    37 Figure 26 -Gafcet de fonctionnement semi automatique d’une presse
  • 38.
    38 IV. Temps decycle Et ct Temps de cycle de moulage reft Temps de refroidissement remt Temps de remplissage ant Temps annexe ot Temps d’ouverture du moule fe rt Temps de fermeture du moule e jt Temps d’éjection de la pièce opt Temps d’intervention de l’opérateur  Le temps de remplissage : Le temps de remplissage est le rapport entre le volume à injecter et le débit d’injection de la machine : 3 3 : volume à injecter (mm ) : débit d'injection de la machine (depend de la matiére) en ( mm / ) i i V Q s   c ref rem ant t t t    an o fer ej opt t t t t  i remp i V t Q
  • 39.
    39  Le tempsde refroidissement : Il existe deux méthodes approchées pour évaluer le temps de refroidissement : a) La méthode de MORGUE1 - Pour les pièces minces : exemple une plaque On considère une plaque mince de surface S>>>e et d’épaisseur e Figure 27 : plaque mince Selon MORGUE la quantité de chaleur transférée entre la pièce et le moule est la suivante : (1) : quantité de chaleur transferée ( cal) : surface totale d'échange moule/matiére (mm²) : différence de température ( °C) : temps d'échange (s) : mi-épaisseur de la pièce (mm) : coef de condu   Q S T t e k ctivité thermique de la moulée (cal/mm °C s) D’autre part on a : (2) M : quantité de la matiére plastique (g) C : chaleur spécifique de la matiére plastique (cal/°C.g) Si on égalise les deux équations (1) et (2) on aura : 2 * * * *    S k T t M C T e * * 2 *   ref M C e t S k 2 * * *   S Q k T t e * * Q M C T
  • 40.
    40 Or 2    M M VS e  on le remplace dans l’équation 2    ref C e t k  On pose   k a C à la fin on aura notre temps de refroidissement 3 a : coefficient thermique ou diffusivité thermique (mm²/s) : masse volumique de la matiére plastique (g/mm ) - Cas des pièces non mince (ou de géométrie quelconque) on définit le coefficient d’EVLITZ 1 surface totale d'échange volume refroidi    w e Par conséquent on aura b) Méthode thermodynamique Selon le principe de la thermodynamique et d’échange thermique on admet le résultat suivant :  Géométrie d’une plaque : 2 : épaisseur de la plaque (mm) : coefficient thermique de la pièce ( / ) : temperature d'injection de la matière( °C) : temperature du moule (°C) : temperature d'éjection (de démoulage) (°C) i m e e a mm s T T T  Géométrie d’un cylindre : 2  ref e t a 2 1   reft a w 2 2 2 8 ln             i m ref e m T Te t a T T  2 ln 0.68 5.78             i m ref e m T TR t a T T
  • 41.
    41 2 : rayon ducylindre (mm) : coefficient thermique ( / ) : temperature d'injection de la matière(°C) : temperature du moule (°C ) : temperature d'éjection (de démoulage) (°C) i m e R a mm s T T T Remarque: Le temps de refroidissement est le temps le plus long du cycle de moulage à cet effet il est indispensable de prévoir un système de refroidissement efficace pour minimiser le temps de cycle. Nous étudierons donc dans un chapitre comment mettre en place un tel système.
  • 42.
    42 D. conception desmoules Le moule est la partie la plus importante dans le procédé d’injection. Un moule est une pièce mécanique complexe qui servira à produire un grand nombre de pièces, en injection de la matière plastique ou du métal en fusion dans les empreintes prévues à cet effet. Le moule est utilisé sur une machine appelée presse d’injection. Il est fixé sur les plateaux de la presse qui assure son ouverture, sa fermeture et son verrouillage. Le moule est sollicité mécaniquement à chaque cycle, il doit être en mesure de transférer un état de surface désirée sur la pièce moulée et ceci sur tout au long de sa durée de vie. Les fonctions d’un moule : Un moule doit remplir plusieurs fonctions : - Fonction d’alimentation : canaliser la matière plastifiée du fourreau de la presse, vers l’empreinte. - Fonction de refroidissement : assurer la solidification aussi rapide que possible en donnant aux pièces moulées une rigidité suffisante pour les extraire du moule. - Fonction mise en forme ou empreinte : c’est la forme et les dimensions de la partie moulante qui détermine la forme et les dimensions de la pièce plastique souhaitée. - Fonction d’éjection : éjecter les pièces quand elles sont assez rigides. Autres fonctions secondaire : - Fonction de sécurité - Fonction de démoulage - Guidage et centrage des empreintes par des colonnes.
  • 43.
    I. Composition d’unmoule à injection pour les thermoplastiques Les composants d’un moule sont représentés dans le schéma suivant Figure 28 Nom de l’élément Rôle Colonne de guidage Indispensable pour que le moule s’ouvre et se ferme avec précisons. Porte empreinte Les empreintes sont fixées sur des plaques appelées portes empreintes. Bague de centrage Permet de fixer le moule sur les plateaux de la presse, d’aligner le nez de la machine avec la buse du moule. Buse d’injection Permet de transporter la matière depuis le nez de la machine jusqu’aux canaux de distribution. Canaux de refroidissement On a une circulation de fluide de refroidissement dans ces canaux afin de solidifier la pièce avant éjection de la pièce. Semelle Permet de fixer la partie fixe du moule sur le plateau de la presse côté injection. Semelle inférieure Permet de fixer la partie mobile du moule sur le plateau mobile de la presse côté éjection. Douille de centrage Guidage de la colonne pour avoir une précision à l’ouverture et à la fermeture du moule. Broche de remise à zéro Permet d’ajuster l Arrache carotte Comme son Queue d'éjection La broche d’éjection de la presse commandée par un vérin hydraulique agissant sur la queue d’éjection pour effectuer l’éjection. Ejecteurs Ils assurent l’évacuation de la pièce hors de l’empreinte à cause du faible retrait de la pièce Entretoise Une entretoise est utilisée dans les moules pour manager la place des plaques et des contres plaques éjecteurs. Plaque éjecteur et contre plaque Ces deux plaques contiennent les pieds des éjecteurs et la tige de rappel. Composition d’un moule à injection pour les thermoplastiques d’un moule sont représentés dans le schéma suivant : Figure 28 – les composants d’un moule à deux plaques Rôle Indispensable pour que le moule s’ouvre et se ferme avec précisons. Les empreintes sont fixées sur des plaques appelées portes empreintes. Permet de fixer le moule sur les plateaux de la presse, d’aligner le nez de la machine avec la buse du moule. Permet de transporter la matière depuis le nez de la machine jusqu’aux canaux de distribution. On a une circulation de fluide de refroidissement dans ces canaux afin de solidifier la pièce avant éjection de la pièce. Permet de fixer la partie fixe du moule sur le plateau de la presse côté injection. Permet de fixer la partie mobile du moule sur le plateau mobile de la presse côté éjection. Guidage de la colonne pour avoir une précision à l’ouverture et à la fermeture du moule. Permet d’ajuster les éjecteurs après éjection Comme son nom l’indique il permet d’arracher la carotte La broche d’éjection de la presse commandée par un vérin hydraulique agissant sur la queue d’éjection pour effectuer l’éjection. Ils assurent l’évacuation de la pièce hors de l’empreinte à cause du faible retrait de la pièce Une entretoise est utilisée dans les moules pour manager la place des plaques et des contres plaques éjecteurs. Ces deux plaques contiennent les pieds des éjecteurs et la tige de rappel. 43 Composition d’un moule à injection pour les thermoplastiques Indispensable pour que le moule s’ouvre et se ferme avec Les empreintes sont fixées sur des plaques appelées portes Permet de fixer le moule sur les plateaux de la presse, d’aligner le Permet de transporter la matière depuis le nez de la machine On a une circulation de fluide de refroidissement dans ces canaux afin de solidifier la pièce avant éjection de la pièce. Permet de fixer la partie fixe du moule sur le plateau de la presse Permet de fixer la partie mobile du moule sur le plateau mobile de Guidage de la colonne pour avoir une précision à l’ouverture et à l’indique il permet d’arracher la carotte La broche d’éjection de la presse commandée par un vérin hydraulique agissant sur la queue d’éjection pour effectuer Ils assurent l’évacuation de la pièce hors de l’empreinte à cause du Une entretoise est utilisée dans les moules pour manager la place Ces deux plaques contiennent les pieds des éjecteurs et la tige de
  • 44.
    44 II. Quelques typesde moule Noms Caractéristiques Schémas Moule standards à 2 plaques -Simplicité de conception -Un seul plan de joint -Ouverture dans une seule direction -Démoulage par gravité, avec broches ou douilles d’éjecteurs. -Injection directe ou par les côtés de la pièce au niveau du plan de joint. Moule à tiroir -Plus d’un plan de joint -Ouverture dans une seule direction. -Déplacement perpendiculaire du ou des tiroirs par rapport à l’ouverture du moule afin de dégager les contre dépouille. -Généralement l’injection se fait par les cotés de la pièce au niveau du plan de joint. Ici la contre dépouille et de type trou Moule à plaque de dévêtissage Simplicité de conception Un seul plan de joint Ouverture dans une seule direction Démoulage par gravité, avec plaque qui s’appuie sur tout le contour de la pièce pour faciliter le démoulage sans l’endommager ou faire de marques. Injection directe ou par les cotés de la pièce au niveau du plan de joint
  • 45.
    45 Moule à trois plaques Simplicitéde conceptionDeux plans de joint Ouverture dans une seule direction Démoulage par gravité, avec broches ou douille d’éjecteur avec en plus, un plateau mobile pour séparer automatiquement au démoulage, la carotte et les canaux des pièces ; Moule à coins (empreinte divisée) Une seule ligne de séparation ; Ouverture dans une seule direction et déplacement transversal par rapport à la direction d’ouverture d’organes sur glissières pour dégager la pièce de contre dépouille l’entourant, à l’aide de mécanismes divers ; Les sections d’empreintes glissent sur un plan incliné et peuvent supporter des charges latérales Moule à broches rotatives filetées Démoulage automatique d’un filet par la rotation d’organes activés mécaniquement ou par d’autres techniques, Coût élevé du moule
  • 46.
    46 Moule à carotte oucanaux chauds Les canaux sont dans un collecteur chauffé électriquement ; Les moules à carottes chaudes présentent les mêmes avantages que les moules à 3 plaques au niveau de l’aménagement des seuils d’alimentation avec moins de pression d’injection requise ; Coût élevé du distributeur. Moule à canaux isolés Système de canaux non conventionnel. La section des canaux est plus grande (≥ 30 mm), ce qui permet la formation d’un noyau chaud isolé par une mince couche de polymère refroidi. Cela implique un cycle rapide et très régulier pour remplacer le polymère dans les canaux et le maintenir chaud. Les polymères doivent être de type amorphe (disposition désordonnée au niveau de la structure) Le nombre de cavités est limité à approximativement à 16 Moule à empilement Coût de production le plus faible pour les plastiques de commodité et les pièces peu précises; Moule très coûteux et recyclage de matière important dans le cas d’un moule à canaux froids.Les plaques avec empreinte sont empilées formant une ligne de séparation entre chacune d’elles ; Tableau 3 - les différents types de moule et leurs caractéristiques
  • 47.
    47 III. Choix dumatériau du moule Le choix du matériau doit se faire judicieusement en tenant compte des certains critères tels que :  L’usinabilité dans des bonnes conditions économiques  L’aptitude au polissage.  L’aptitude aux traitements thermique  La résistance aux efforts  La résistance à l’abrasion  La résistance à la corrosion (dans certains cas)  Peu sensible à la rayure  Bonne conductibilité thermique Ces différentes exigences sont plus ou moins respectées en fonction de la composition des aciers par exemple :  Le carbone favorise le durcissement par trempe  Le chrome améliore la résistance à l’usure  Le soufre une meilleure usinabilité. IV. Fonction alimentation de moules 1. Généralité L’injection de la matière plastique est assurée à partir de la buse du moule par un réseau de canaux. L’alimentation du moule en matière à l’état liquide est assurée par deux façons : Figure 29 - les deux façons d’injection 2. Point d’injection La bonne réalisation d’une pièce est conditionnée par un bon écoulement de la matière et par la bonne fermeture du moule. L’équilibre des forces dans un moule doit être bien assuré grâce au bon choix du point d’injection de la matière. Ce point doit être placer au centre de gravité de l’empreinte de la pièce injectée.
  • 48.
    48 : position parrapport à l'empreinteX 3. Seuil d’injection Lors de l’injection à l’état liquide il faut positionner les seuils en tenant en compte des remarques suivantes :  L’emploi d’un seuil dirigé vers un obstacle pour garantir que le jet de matière heurte la paroi de l’empreinte ou du noyau du moule  Le seuil doit être disposé de manière afin de chasser l’aire vers les évents pour éviter qu’il soit emprisonné dans l’empreinte.  L’emplacement du seuil doit conduire à réduire au minimum les lignes de soudure.  Le seuil doit alimenter les sections épaisses avant les sections minces.  Il faut éviter de placer le seuil dans des zones de la pièce soumises à des contraintes ou à des chocs.  Il faut penser à faciliter le d’égrappage de la pièce.  Pour les pièces épaisses, prévoir une injection directe par la carotte (suppression des seuils d’injection). On distingue différent types de seuils : Types de seuils Caractéristiques Schémas Seuil capillaire Les seuils de ce type peuvent s’utiliser dans un moulage sans carotte (carotte chauds) à buse directe ou encore à distribution dans un moule trois plaques Pour la matière plastiques non renforcée 0.8mm<diamètre<2mm Pour les matières plastiques renforcées 1mm<diamètre<2mm Seuil en nappe Le seuil de ce type est utilisé pour l’injection des pièces plates ou de grande surface qui doivent présenter un voilage minimal. Il correspond à une entrée en queue de carpe élargie - Seuil latéral - Seuil en ressaut 1 1 2 2 3 3 4 4 X=     S X S X S X S X S
  • 49.
    49 Seuil en queuede carpe C’est un type particulier d’entrée latérale servant à injecter des sections planes minces. Cela permet d’étaler la matrice en la répartissant d’une manière uniforme dans l’empreinte Seuil en sous-marin Destiné au moulage des lentilles et des pièces plates il réduit les déformations superficielles et les contraints internes résiduelles à proximité de l’entrée Seuil en diaphragme (en toile) Son emploi est conseillé pour des pièces de révolution exigeant une concentricité satisfaisante et des lignes de soudure résistantes. Il est nécessaire de procéder à une opération ultérieure pour ôter la toile Seuil en étoile Son emploi est conseillé pour l’injection des pièces cylindriques n’imposant pas de tolérances trop critiques. Il peut s’utiliser en association avec un seuil annulaire ou conique Tableau4- les différents types de seuils
  • 50.
    50 Il n’existe pasde règle régissant leur géométrie nécessaire, les seuils sont en générale circulaire ou rectangulaire selon la possibilité d’usinage.  Seuil rectangulaire : 30   n A b 1 et 3    h n e h b Pour la longueur du seuil : 1 ( ) 2  sL h mm  Seuil circulaire : 4  d n c A Avec 0.206c e : épaisseur de la pièce à injecter : constante de la matière plastique : indice en fonction de l'épaisseur : surface extérieure d'échange de l'empreinte e n c A La valeur de la constante de la matière plastique est donnée dans le tableau suivant : Matière PS, PE PP PMMA PVS n 0.6 0.7 0.8 0.9 4. Les canaux d’alimentation La fonction du dispositif d'alimentation est de permettre le transfert de matière de la presse à l'empreinte. L'écoulement de la matière dans le dispositif d'alimentation génère des pertes de charges entre l'avant de la vis de la presse et le front d'écoulement de l'empreinte. Pour obtenir une reproductibilité satisfaisante de la qualité de la pièce, il est nécessaire de maîtriser les conditions de pression et de température lors du remplissage de l'empreinte et du compactage de la matière. Pour cela, les conditions d'écoulement dans le dispositif d'alimentation doivent être stabilisées et il faut minimiser les pertes de charges. En effet, de faibles pertes de charge permettent de piloter les pressions dans l'empreinte en pilotant la pression devant la vis. Cela est obtenu pour des canaux froids en choisissant une section suffisamment importante, au prix d'un volume conséquent, ou, pour un canal chaud, par la conception soignée des systèmes de régulation thermique et le dimensionnement judicieux des canaux. a) L’injection à canaux froids : Dans les systèmes utilisant des canaux froids, le polymère fondu se refroidit au contact des parois des canaux de distribution, de sorte que la section de passage diminue. Le passage par le seuil d'écoulement s'accompagne en contrepartie d'une augmentation locale de la température par cisaillement, ce qui diminue la viscosité, également affectée par le gradient de vitesse d'écoulement. Le phénomène de remplissage est complexe ; il relève de la rhéologie des polymères fondus et peut être modélisé. Le dispositif d'alimentation à canal froid, également appelé carotte, consiste à aménager un canal dans le moule. Les parois du canal sont à la température du moule. L'extraction du canal après refroidissement doit être prévue, en le démoulant et l'éjectant à
  • 51.
    51 partir du plande joint, par exemple .Parmi les avantages de l'alimentation par carotte, on peut citer :  sa réalisation peu coûteuse ;  les possibilités d'optimisation et de modification réalisables avec des moyens d'usinage conventionnels ;  une compréhension des problèmes d'injection aisée. Les inconvénients de ce type de dispositif sont la nécessité de camoufler le point d'injection et de recycler la carotte, ce qui peut poser des problèmes conséquents, dans le cas de matières hautes performances par exemple. Figure 5 Dispositif d'alimentation à canal froid (carotte) b) L’injection à canaux chauds : Le dispositif d'alimentation à canal chaud permet de transférer la matière de la presse à l'empreinte à l'état fluide. Il comporte un système de régulation en température dont la maîtrise est primordiale pour la stabilité du processus et les propriétés de la pièce. Il comporte généralement un bloc de répartition, dont le rôle est de conduire la matière à proximité des empreintes et de répartir le flux entre les empreintes et des busettes, qui alimentent directement les empreintes. Figure 30 - Moule standard avec un dispositif d'alimentation à canaux chauds
  • 52.
    52 La matière fondueest introduite à l'intérieur de l'empreinte par l'intermédiaire d'un distributeur à canaux chauds situé dans une zone thermiquement isolée. La matière remplit l'empreinte et s'y solidifie mais reste à l'état fondu dans les canaux chauds. Le seuil d'écoulement doit être ouvert pendant le remplissage et le refroidissement du polymère dans l'empreinte, mais il se ferme obligatoirement avant le démoulage, par le gel de la matière ou par l'action d'obturateur. Que le moule soit muni de canaux chauds ou froids, en première approche, l'empreinte se remplit de façon similaire. Dans le tableau ci-dessous, on présente les avantages et les inconvénients des canaux chauds Les avantages Les inconvénients  la facilitation du remplissage, en particulier pour des matières gelant rapidement ;  la liberté de placer le point d'injection en pleine face de la pièce et donc de pouvoir optimiser l'emplacement du point d'injection ;  l'absence de boucle de recyclage et donc de risque de pollution de la matière.  son coût, souvent plus élevé que le coût d'une boucle de recyclage ;  la complexité technique de la maintenance du moule ;  l'augmentation du temps de séjour de la matière ;  l'usure des dispositifs mécaniques (obturateurs, pointe chaude) en cas d'injection de matière abrasive ;  la complexité de la maîtrise thermique. c) Les différentes géométries des canaux [6]: - Les canaux ronds (circulaires) : Une petite surface d’échange thermique par rapport au débit, faible charge et frottement, le dernier point de solidification est le centre ce qui permet d’assurer une bonne pression de maintien et un moindre risque de bouchage. Par contre le cout est élevé car l’usinage se fait de part et d’autre dans le moule. - Les canaux paraboliques : Ils se rapprochent du canal rond mais l’usinage se fait sur une seule partie du moule. Une perte de chaleur et de pression plus importante que le canal rond, nécessite alors un outillage spécial. 1.29 D d D d
  • 53.
    53 - Les canauxtrapézoïdaux : Une solution alternative par rapport au canal parabolique, il peut être usiné à moindre coût. Par contre les pertes de charge et de pression relativement importante comparativement au canal parabolique. 1.25 l h Généralement c’est le canal parabolique qui est le plus utilisé et calcul de d se fait de la façon suivante : 4 3.7   w L d : poids de la pièce à mouler ( ) : longueur du canal ( ) w g L mm d) Equilibrage de l’alimentation d’un moule Dans le cas d'un moule multi-empreintes, il est nécessaire d'obtenir des conditions de pression et de température identiques dans toutes les empreintes, c'est-à-dire que le dispositif d'alimentation doit permettre une répartition des flux identiques quels que soient le débit et la température : le dispositif d'alimentation doit être équilibré. Pour obtenir ce résultat, la géométrie des écoulements et leurs conditions thermiques doivent être identiques d'une empreinte à l'autre. Cela implique une conception symétrique des canaux d'alimentation. La figure ci-dessous montre deux solutions d'équilibrage. La solution a, consistant à modifier la section des seuils d'injection, permet de diminuer la taille de la carotte et du moule. Elle est cependant beaucoup moins robuste que l'équilibrage par longueur de flux identique (solution b). En effet, l'efficacité de la solution a  est liée aux paramètres de réglage et aux propriétés de la matière : en modifiant la viscosité ou la vitesse, le remplissage est déséquilibré, risquant de générer ainsi des problèmes de qualité (propriétés mécaniques variables, brûlures, bavures,...). l h
  • 54.
    54 Figure31- Exemple desolutions d'équilibrage Si cela est nécessaire, lors de la mise au point du moule, de petites corrections peuvent être apportées en modifiant le seuil d'injection, en créant un obstacle dans l'écoulement, à l'aide d'un insert modifiable par exemple, ou en modifiant la température des busettes pour un système à canal chaud. Ces modifications, destinées à corriger un déséquilibre non maîtrisé, ne sont efficaces que pour des conditions d'injection et des propriétés matières données. Il est généralement plus efficace, mais moins facile, d'anticiper ou de corriger l'origine du déséquilibre. La méthode d’équilibrage permet de calculer le diamètre d’un seul seuil, et en déduire les diamètres des autres seuils en gardant les mêmes constante : appelée constante du moule. Morgue propose la méthode d’équilibrage suivant : sS : section du seuil (mm²) l: longueur du seuil (mm) L : longueur du canal d'alimentation (mm) m : masse de l'empreinte en (g) Remarque : cette méthode n’est valable que dans le cas ou les canaux d’alimentation sont de même diamètre. sS cst m l L   
  • 55.
    55 e) Buse dela presse et du moule La surface entourant l’entrée du canal est ajustée au profil de la buse du cylindre d’injection. Quand ce dernier possède une extrémité sphérique, il est nécessaire que le rayon de courbure de la cavité concave de la busette soit légèrement supérieur à celui convexe du nez de la presse et que le diamètre de l’orifice d’entrée soit plus grand que celui du trou de sortie de la buse. Figure 32 - Ajustage de la busette au profil de la buse de la presse Dimensionnement de la buse d’injection La figure ci-dessous permet le démoulage de la carotte, est exécuté dans la plus part des cas dans une pièce rapportée, quelques fois appelée busette. On fait aussi l’usinage d’une cuvette de faible profondeur pour compenser les défauts de retassures. On détermine le diamètre d’entrée d du canal de la busette (buse d’injection) en fonction de la masse G de la moulée et de l’épaisseur maximale e de la paroi des pièces injectées La figure nous permet de déterminer le diamètre minimal de la buse
  • 56.
    56 Figure 33 -dimensionnement de la buse V. Les empreintes 1. Calcul du nombre d'empreintes optimum dans un moule d'injection Le but de ce calcul est de trouver le nombre d’empreinte qui nous permettra d’optimiser le coût du moule.  Coût du moule pour n empreintes : Cn X Y*(n 1)    Coût du fonctionnement de la presse : u Q*t Q 60*n   Coût du salaire par pièce : u S*t S 60*n   Coût du moule par pièce : n u X Y*(n 1)C C N N      Coût de moulage d'une pièce : um u uuQC S C   En remplaçant CSQ uuu ,, par leurs valeurs on aura :  um C2C1 t X Y Y*n *(Q S)C 60n N N       Données : X – le prix du moule à 1 empreinte Y – le coût de l'empreinte additionnelle Q – le coût horaire de la presse S – le coût horaire des salaires N – le nombre total de pièces à fabriquer t – la durée du cycle en minute Traçons la courbe des points représentant le coût de moulage en fonction du nombre d'empreintes.
  • 57.
    57 Figure 34 -courbe du coût de moulage On constate que cette courbe passe par un minimum. Pour trouver le nombre d'empreintes correspondant à ce coût minimum, nous procédons à la dérivée de la fonction, puis nous égalons à zéro pour trouver son minimum. Dérivons donc par rapport à n um 2 t YdC *(Q S) dn 60n N     Egalons à zéro um 2 t YdC 0 *(Q S) 0 dn 60n N       On aura en final le nombre d’empreinte qui est égale à 2. Disposition des empreintes Conditions à satisfaire:  Minimiser la taille du moule  Remplissage simultané des cavités  Minimiser les longueurs de canaux  Permettre d’aménager les autres systèmes  Le centre des forces correspondant au centre du plateau (buse d’injection) La figure suivante montre un exemple de disposition des empreintes. (Q*S)*t*N n 60*Y 
  • 58.
    58 Figure 35 -disposition équilibré des empreintes 3. Matériaux constitutifs de l'empreinte Le choix des matériaux de l'empreinte dépend de la destination du moule. Pour les moules de grandes séries, les critères de longévité sont pris en compte en priorité avant ceux des coûts de la matière première et de son usinage. Ces matériaux doivent avoir :  une bonne résistance à l'abrasion causée par le frottement des charges contenues dans la matière injectée et le mouvement des éléments mobiles de l'empreinte ;  une bonne usinabilité et une bonne aptitude au polissage, indispensables pour faciliter le respect du cahier des charges concernant l'état de surface des éléments moulants et la réalisation de formes complexes ;  une précision et une stabilité dimensionnelles correctes après les traitements thermiques dont il faut connaître les effets, compte tenu des dimensions et des tolérances de l'outillage ;  une résistance à la corrosion chimique adaptée aux produits dégagés par l'injection de certaines matières plastiques (PVC, acétate de cellulose, PTFE...) ;  une bonne conductivité thermique. 4. .Le plan de joint Le plan de joint est la surface de contacts entre la partie fixe et la partie mobile du moule. Son choix est déterminé par les facteurs suivants :  La ligne du plan de joint doit être visuellement et fonctionnellement acceptable.  Le démoulage doit se faire sans contre dépouille autant que possible.  le plan de joint doit être choisit afin de faciliter l’usinage.  Le plan de joint doit être le plus simple possible. 5. Le retrait On entend par retrait les processus qui conduisent à la réduction des dimensions de la pièce par rapport à celles du moule froid. Ainsi, une pièce moulée par injection est plus petite que la cote du moule froid correspondant. En étoileRectangulaire
  • 59.
    59 Le retrait demoulage des matières partiellement cristallines est plus important que pour les matières amorphes. La formule pratique utilisée pour tenir compte du retrait est :  E UL L 1 R  EL : Une dimension de l’empreinte UL : Une dimension finale de la pièce R : Retrait de la pièce 6. Events Le moulage de quelque pièce en plastique exige la présence d'évents dans le moule. Ceux-ci doivent être conçus de manière à permettre l'évacuation de l'air emprisonné dans le moule lors du remplissage de l'empreinte Figure36 - Events VI. Système d’éjection : À l'ouverture du moule, la pièce est extraite du moule par le dispositif d'éjection. Ce dernier peut être constitué d'éjecteurs, d'une plaque dévétisseuse ou d'un système utilisant l'air comprimé. La course d'éjection doit être suffisante pour assurer l'évacuation de la pièce hors de l'empreinte, moule ouvert. Les mécanismes de démoulage sont situés sur le côté du moule où la pièce reste fixée (souvent du côté de la partie mobile). En général, le retrait retient les pièces sur les noyaux et, si nécessaire, on peut faire appel à de petites contre-dépouilles pour imposer ce résultat ou, au contraire, pour que la pièce reste dans l'empreinte. 1. Types d’éjecteur L'éjection des pièces peut être assurée par un éjecteur simple, par un système à air comprimé ou par de multiples éjecteurs. De façon générale il est important de limiter la pression de contact pour éviter la déformation ou le bris de la pièce injectée.
  • 60.
    60 a) Éjecteur simple Ledispositif d'éjection représenté sur la figure ci-dessous comporte un unique éjecteur à grande surface de contact : il permet de repartir la force d'éjection et introduit de l'air entre la pièce et l'empreinte dès le début de l'éjection. Cela minimise l'adhésion, souvent forte dans le cas de pièces profondes et de parois lisses, créée par le vide entre l'empreinte et la pièce. On note la présence d'un ressort de rappel qui assure que la partie tronconique de l'éjecteur repose sur son siège et donc que l'empreinte ne comporte pas d'entrefer générateur de bavure. Figure 37 - Ejecteur simple Une plaque de dévétissage permet également de répartir les forces d'éjection et de minimiser la pression de contact exercée sur la pièce lors de l'éjection. Figure38- une plaque de dévétissage b) Éjection pneumatique On utilise les dispositifs pneumatiques pour l'éjection des objets de grande surface à parois minces. En effet, les parois minces ne supportent pas les pressions locales exercées par les éjecteurs classiques. De plus, la course d'éjection de pièces profondes à paroi mince, comme les seaux ou les gobelets nécessiterait une course d'éjection élevée.
  • 61.
    61 Figure 39 :éjecteur pneumatique (soupape) L'éjection pneumatique présente plusieurs avantages par rapport aux solutions purement mécaniques :  les traces des éjecteurs sont supprimées ;  le mécanisme d'éjection n'est pas lié à l'ouverture du moule ;  l'usure des pièces mécaniques est diminuée ;  la réalisation est relativement simple. En revanche, ce système présente des défauts :  il n'assure pas toujours l'éjection de la pièce ;  il ne s'applique qu'à certaines formes de pièces telles que couvercles, seaux, cuvettes,  assurer l'étanchéité de l'empreinte complique la conception et la maintenance du moule. Dans la plupart des cas, l'air comprimé est amené dans l'empreinte par la soupape qui amorce le dégagement mécanique de la pièce avant de l'éjecter avec la pression d’air. La soupape est actionnée par l'air comprimé dont l'arrivée est pilotée par un distributeur commandé par la presse à injecter. c) Éjecteurs multiples L'utilisation de plusieurs éjecteurs permet de limiter la pression de contact sur la pièce et surtout d'équilibrer les forces et d'assurer une éjection rectiligne. Ce point est très important. En effet, le basculement de la pièce avant qu'elle ne soit dégagée de l'empreinte génère un important risque de casse ou de coincement.
  • 62.
    62 VII. Démoulage Lors dudémoulage, la pièce est libérée de l'empreinte afin de pouvoir être éjectée. Les pièces injectées sont retenues dans le moule, non seulement à cause de leur contraction thermique, qui provoque pendant le refroidissement leur serrage sur le ou les noyaux, mais aussi à cause de leur contre-dépouille (surfaces de la pièce qui s'opposent au démoulage) ou des orifices latéraux qui les immobilisent. Des solutions mécaniques permettent le démoulage des pièces comportant de tels orifices ou des contre-dépouilles. 1. Dépouille La dépouille est l'angle α formé par la paroi de la pièce et la direction de démoulage. Le choix de la dépouille de démoulage, à l'interface entre la pièce et le côté injection de l'empreinte, permet d'assurer le maintien de la pièce sur le côté éjection lors de l'ouverture du moule. On choisit généralement la valeur maximale permise par le cahier des charges de la pièce : tolérance, épaisseur de paroi,... La dépouille d'éjection, à l'interface entre la pièce et le côté éjection de l'empreinte, permet l'éjection de la pièce, mais doit également la retenir lors de l'ouverture du moule. Elle est un compromis généralement issu de l'expérience et des données fournisseurs. Figure40 - Exemple de dépouille 2. Tiroirs Les tiroirs sont des éléments mobiles de l'empreinte permettant de libérer les formes de la pièce qui s'opposent au démoulage ou à l'éjection. Ces éléments sont généralement entraînés en translation par un dispositif mécanique, pneumatique ou hydraulique. La figure montre un exemple d'application permettant de réaliser un orifice dans la paroi latérale d'une pièce injectée.
  • 63.
    63 Figure41- Exemple detiroir permettant l'obtention d'un orifice latéral VIII. Le guidage des moules Les guidages du moule servent à assurer un accostage suffisamment précis des deux demi- moules pendant la fermeture. Voici quelques types de guidages : Figure 42 - éléments de guidage IX. Le centrage Des moules Les centrages du moule doivent garantir un accostage précis des demi-moules et absorber les forces radiales qui apparaissent pendant l’injection. Voici quelques éléments de centrage :
  • 64.
    D. conception despièces La conception d’une bonne visent à donner à la pièce l’aspect et la résistance souhaités, à permettre une réalisation de moule les plus simples possibles, à minimiser les reprises (décarottage usinage …), à assurer une production économique (maintenance allégée, récupération de déchets…).le tableau suivant résume quelques un de ces règles. Figure 43 - Éléments des centrages conception des pièces et les défauts de moulage La conception d’une bonne pièce plastique doit passer par le respect de règles qui visent à donner à la pièce l’aspect et la résistance souhaités, à permettre une réalisation de moule les plus simples possibles, à minimiser les reprises (décarottage usinage …), à assurer tion économique (maintenance allégée, récupération de déchets…).le tableau suivant résume quelques un de ces règles. 64 pièce plastique doit passer par le respect de règles qui visent à donner à la pièce l’aspect et la résistance souhaités, à permettre une réalisation de moule les plus simples possibles, à minimiser les reprises (décarottage usinage …), à assurer tion économique (maintenance allégée, récupération de déchets…).le tableau
  • 65.
    65 Mauvaise conception Bonneconception Règle des épaisseurs constantes tracé des arrondis et congé sur une pièce tracé des bords les angles de dépouille pour faciliter le démoulage Exemple de conception des fonds de pièces conception des nervures et leurs dispositions Risque de déformation du fond de la Pièce. Obligation d’utiliser des tiroirs Risque de cassure des bords pour matière fragile et ondulation pour matière souple Concentration de contraintes, mauvais écoulement. Risque de déformation à cause des retassures, bulles, criques… Retassures esthétiquement inacceptables Retrait trop localisé
  • 66.
    66 Solutions aux défautscourants de mise en œuvre Problèmes Remèdes possibles Taches grasses sur les pièces et le moule (signes de dégradation) Diminuer la température de matière (vis et/ou canaux chauds) Mauvais aspect de surface Augmenter la température du moule. Augmenter la vitesse d'injection. Vérifier le temps et la pression de maintien Brûlures Prévoir des évents Diminuer la vitesse d'injection en fin de remplissage Pièce incomplète Augmenter le dosage Augmenter la pression et la vitesse d'injection Augmenter les dimensions des canaux d'alimentation Augmenter la température matière Prévoir des évents Retassures Augmenter le temps et la pression de maintien Revoir l'emplacement et la dimension du point d'injection Ligne de soudure Augmenter la pression d’injection. Augmenter le temps/la pression de compactage. Augmenter la température du moule. Augmenter la température de la matière. Dégazer l’empreinte au niveau de l’aire de soudage. Ménager une masselotte adjacente à l’aire de soudage. Changer l’emplacement du point d’injection pour modifier la configuration d’écoulement
  • 67.
  • 68.
    Système de refroidissement 68 Introduction. L’étudedu refroidissement des matières plastique est intéressante à plus d’un titre. En effet, il faut répondre à deux exigences fondamentales : « RAPIDITE et UNIFORMITE » Le calcul du temps de refroidissement d’une pièce injectée, par exemple, permet de déterminer avec précision la durée totale d’un cycle de moulage et conduit à l’estimation du cout de fabrication. S’il doit être rapide, le refroidissement de la pièce doit être uniforme, c'est-à-dire que la température de la surface de l’empreinte doit être à un instant donnée aussi uniforme que possible. I. Phénomène physique relatifs au refroidissement d’un moule 1. Bilan thermique La matière qui est injectée dans le moule à la température, avec la pression Pi possède une enthalpie Hi. Après le refroidissement, la pièce est démoulée à la température Tm ; l’enthalpie de la matière est alors Hm. Le produit de la différence d’enthalpie par le poids de la moulée donne la quantité de calorie libérée par le cycle : i m Q : quatité de calorie libérée (Kcal) P : poids de la moulée (Kg) H : enthalpie du matériau à l'injection ( kcal/Kg) H : enthalpie du matériau à l'éjection ( kcal/Kg) La quantité de chaleur libérée par heure est obtenue en faisant intervenir le nombre de cycle horaire. cycle 3600 N t  hQ : quantité de chaleur libérée par heure Les différents échanges calorifiques accompagnant le refroidissement d’une pièce sont les suivantes :  Transmission calorifique de l’empreinte vers le système calorifique.  Transmission par convection du moule vers l’air ambiant.  Transmission par rayonnement.  i mQ P* H H   h i mQ P*N* H H 
  • 69.
    Système de refroidissement 69 Nousétudions principalement le premier type d’échange, car quantitativement, il est beaucoup plus important que les échanges par convection et rayonnement. Nous calculerons donc un système caloporteur capable d’évacuer à lui seul toutes les calories lors du refroidissement de la pièce. Bilan thermique hc hr Q : quantité de chaleur dissipée par convection Q : quantité de chaleur dissipée par rayonnement Figure 44 : échange thermique 2. Transmission de calorifique par convection de rayonnement A la surface extérieure d’un moule, un échange thermique composé de deux flux différents se produit. Le premier flux correspond à un échange par convection, le second à un échange par radiation a) Les pertes de chaleur dues à la convection sur les surfaces, planes ont fait l’objet d’étude approfondie. Il est possible de les évaluer à partir de l’équation suivante :  hc ex o AQ h S T T    hc 2 ex Q : quantité de chaleur échangée par convection en une heure (Kcal/h) h : coefficient de transfert de chaleur (Kcal/m .h. C) S : surface extérieure du moule qui donne lieu à un échange par convection  (m²) o A T : température de la surface extérieure de l'outil (°C) T : température de l'air ambiante (autour du moule) (°C) Le facteur h : coefficient de transfert de chaleur est difficile à calculer car il est fonction de nombreux paramètre. En fait, il est possible d’utiliser une valeur moyenne de 5 h hc hr hQ Q Q Q (liquide caloporteur)  
  • 70.
    Système de refroidissement 70 kcal/m2 .h.°C(valeur proposée par Mr CATIC) qui permet d’évaluer l’importance des échanges par convection. Le calcul montre que les pertes de chaleur par convection sont faibles, principalement à cause du faible écart de température qui existe entre la surface extérieure du moule et l’air ambiante. b) La déperdition de chaleur par rayonnement peut être déterminée par la relation de STEPHAN BOLTZMAN 4 4 O A hr ex T T Q 3600 S Cs 100 100                  4 Cs : constante de SPTEPHAN BOLTZMAN Cs 5.77 ( Kcal/m².K ) : coefficient de rayonnement qui depend du métal et la nature de la surface 1 pour un corps émettant ( à 20°C) 0.85 pour une surface for       O tement rouillé (à20°C) 0.60 pour une surface faiblement rouillée (à 20°C) 0.25 pour une surface polie (à 20°C) Ce coefficient augmente légérement avec la température du métal T : température absolue à     A la surface de l'outillage (K) T : température absolue de l'air ambiante (K) Le calcul de la quantité de chaleur dissipée par rayonnement montre que celle-ci est peu importante et n’influence guère le refroidissement de la pièce. En effet, pour des températures de moule inférieure à 50°C, les pertes calorifiques vers l’extérieure sont négligeables en cas de surface impeccable. 3. Transmission calorifique de l’empreinte vers le système caloporteur La transmission calorifique de l’empreinte jusqu’au fluide de refroidissement, se fait de deux étapes. Nous allons étudier en détail chacune de ces deux étapes. A. Transmission de chaleur dans l’outil Les calories libérées au niveau de l’empreinte sont transmises vers le mode de refroidissement.
  • 71.
    Système de refroidissement 71 Figure45 : transmission de chaleur dans l’outil Le transfert calorifique peut s’exprimer par l’équation suivante :  O h M C k Q S T T dc    h o Q :quantité de chaleur transmise par heure ( Kcal/h) : coefficient de conductibilité thermique de l'outil (Kcal/m.h.°C) dc: distance entre le canal de refroidissement et la surface de l'empreinte (m)  M C S: section active de l'outil (m²) T : température moyenne à la surface de l'empreinte (°C) T : température moyenne à la surface des canaux (°C) La conductivité thermique joue un rôle très importante au regard de l’efficacité du circuit de refroidissement. Voici à titre d’exemple la conductivité de quelque matériau Matériaux 0 (kcal/m.h.°C) C45 W3 45 21 Mn Cr 5 40 18 Cr Ni 8 12.6 Cu, techn 300 Al 175 Zn (Zamak) 108
  • 72.
    Système de refroidissement 72 B.Transmission de chaleur du moule au fluide de refroidissement La transmission de chaleur de la masse du moule vers le liquide de refroidissement s’exprime par :  h T c fQ h Sc T T   Th : coefficient de transmissibilité thermique (Kcal/m².h.°C) Sc: surface active des canaux de refroidissement (m²) c f T : température moyenne des parois du canal (°C) T : température moyenne du fluide (°C) En tenant compte de différence de température entre les parois des canaux et le liquide de refroidissement qui est généralement, assez facile, les possibilités de refroidissement et de transfert calorifique entre les deux milieux (moule/fluide) sont surtout influencées par : a) La surface active des canaux de refroidissement, fonction de la section et de la longueur de ceux-ci. Afin de ne pas surdimensionnée le système de refroidissement, tous les calculs seront effectués en admettant que la surface totale des canaux est active. b) Le coefficient de transmission thermique noté hTqui régit le transfert de chaleur qui s’établit entre deux phases différentes (phase solide : moule phase liquide : liquide de refroidissement). Le coefficient va varier quantitativement suivant le mode d’écoulement du fluide. Pour le calculer, il est donc déterminant de savoir si le fluide s’écoule de façon laminaire ou turbulente 1. Ecoulement laminaire et écoulement turbulent La valeur du nombre de REYNOLDS noté Re permet de savoir si l’écoulement est de types laminaire ou turbulent. f f V Dh Re    f f V : vitesse moyenne du fluide de refroidissement (m/s) Dh : diamétre hydraulique des canaux (m) : viscosité cinématique du fluide de refroidissement (m²/s) - Le régime d’écoulement est laminaire si le nombre de REYNOLDS est inférieur à 2500. - Le régime d’écoulement est turbulent si le nombre de REYNOLDS est supérieur à 3500. - Entre ces deux valeurs, le régime est appelé pseudo-laminaire.
  • 73.
    Système de refroidissement 73 2.Calcul du coefficient de transmission thermique hT a) Régime laminaire Re < 2500 Pour ce type d’écoulement, l’équation conduisant au coefficient hT est assez complexe. Le calcul hT montre que celui-ci est généralement très faible. Il parait donc évident que ce type d’écoulement n’est pas souhaitable si on désire obtenir un refroidissement efficace. b) Régime turbulent Re > 3500 Lorsque l’écoulement du fluide de refroidissement est turbulent, le coefficient de transmission hT s’exprime sous la forme : 0.75 f Th 0.04 (Pe) Dh     Pe : nombre de PERCLET est égale au produit du nombre de REYNOLDS par le nombre de PRANDTL (Pr). f f f f V Dh Cp Pe      f 3 f f Cp : chaleur spécifique du fluide de refroidissement (Kcal/kg.°C) : masse volumique du fluide de refroidissement (Kg/m ) : conductibilité thermique du fluide de refroidissement (Kcal/m.h.°C)   Remarque :  Les trois paramètres Cpf, f , fk varient avec la température du fluide de refroidissement. Des tables donnent leur variation en fonction de la température.  Dans le calcul du nombre de PECLET, la vitesse moyenne du fluide doit être exprimée en m/h ceci pour une cohérence d’unité.  A partir de l’équation, il est possible de connaitre le coefficient de transmission hT pour un fluide donné à la température et circulant dans les canaux de refroidissement à la vitesse moyenne. II. Calcul et disposition du système caloporteur Pour effectuer le calcul du système caloporteur il faut tout d’abord connaitre la quantité de chaleur à évacuer c'est-à-dire le nombre de calories libérées lors du refroidissement de la pièce. Connaissant la chaleur spécifique du fluide caloporteur nous pourrons alors calculer la consommation de fluide nécessaire pour évacuer toutes les calories. Ensuite il est possible de connaitre le diamètre (la section) des canaux et le nombre d’entré d’eau.  La surface active des canaux de refroidissement  La longueur des canaux
  • 74.
    Système de refroidissement 74 La distance les séparant de l’empreinte  L’entre-axe, c'est-à-dire l’espace entre deux canaux vicinaux Nous allons ici envisager le calcul dans le cas d’une pièce simple (plaque plane rectangulaire). Dans le cas de pièce de forme plus complexe, il est nécessaire de diviser la pièce à refroidir en élément de surface et de volume assez simple et de traiter séparément chacun d’eux. 1. Quantité de chaleur et consommation horaire de liquide En admettant que toutes les calories libérées lors de refroidissement de la moulée sont évacuer par un système caloporteur, la quantité de chaleur à évacuer par heure est égale à :  h i mQ P* H H  (Bilan thermique) Connaissant la capacité calorifique Cpf du fluide de refroidissement, il est possible de calculer la consommation horaire du fluide, en considérant que celui-ci s’échauffe et passe de température Te (température d’entrée) à la température de sortie Ts.   h h f s e Q G Cp T T   h f s e G : la consommation horaire de liquide (Kg/h) Cp : chaleur spécifique du fluide de refroidissement (Kcal/kg.°C) T T : échauffement toléré du fluide de refroidissement (°C) généralement cet écart doit é tre < 6°C Arrivé à cette étape, il convient de considérer séparément le refroidissement de l’empreinte et celle du poinçon ; en effet, la consommation du fluide caloporteur dépend de la chaleur à évacuer dans chacune des parties du moule. Elle est fonction de la surface du poinçon et de la matrice. Soit : t m p p m S : la surface totale de la pièce (m²) S : la surface totale de la matrice (m²) S : la surface totale du poinçon (m²) G : la consommation horaire de liquide pour refroidir le poinçon ( Kg/h) G : a consommation horaire de liquide pour refroidir de la matrice ( Kg/h) On trouve alors h p p t G S G S   et h m m t G S G S   La consommation de liquide nécessaire pour évacuer toutes les calories libérées lors du refroidissement de la pièce est alors connue avec précision pour chacune des deux parties du moule (poinçon et matrice). 2. Calcul de la section des canaux et du nombre d’entrée d’eau Nous allons étudier le cas du poinçon, la démarche est évidement la même en ce qui concerne la matrice.
  • 75.
    Système de refroidissement 75 Laconsommation horaire de liquide nécessaire pour refroidir le poinçon peut s’écrire : p f f cG 3600 v S    p f 3 f c G : consommation horaire de liquide pour refroidir le poinçon (Kg/h) v : vitesse moyenne du fluide dans les canalisation (m/s) : masse volumique du fluide (kg/m ) S : section des canaux du poinçon ( da  ns le cas où il y a une seule entrée d'eau) p c f f G S 3600 v    En fait, il est aisé de constater que la section des canaux est directement proportionnelle à la quantité de chaleur à évacuer. Dans la plupart des cas, en particulier pour les pièces de grande dimension, les sections trouvée est trop importante. Il convient alors de placer dans le moule n circuit indépendante de section unitaire Sc’ telle que : c cS n S   D’où p c f f G1 S n 3600 v      Il est alors possible de jouer sur les deux facteurs Sc’ et n, n représente en définitive le nombre d’entrée d’eau à placer dans le moule (coté poinçon) connaissant la section Sc’, il est possible de calculer - Le diamètre des canaux si ceux-ci sont circulaire c C 4S d    - Le coté s’ils sont carrées ccot é S 3. Calcul de la surface active des canaux et leur longueur La quantité de chaleur à évacuer du côté du poinçon peut s’exprimer par l’équation suivante :  hp T cp c fQ h S T T   Qui régit l’ensemble de calorie entre le moule et le liquide de refroidissement. cp cp cS L d   Dans le cas de canaux circulaire c cp d : diamétre des canaux du poinçon (m) L :longueur des canaux présents dans le poinçon (m) Connaissant le coefficient de transmission thermique hT et la différence de température Tc–Tf (Généralement compris entre 2 et 4°C), il est possible de trouver SCP, LCP, représentant respectivement la surface et la longueur des canaux qui devront être installés dans le poinçon.
  • 76.
    Système de refroidissement 76 4.Calcul de la distance séparant les canaux de la surface d’empreinte Il s’agit de connaitre le centre des canaux de la surface de l’empreinte. Cette grandeur est accessible en utilisant l’équation. Figure 46 : distance séparant les canaux à l’empreinte Dans le cas du poinçon, cette expression s’écrit :  o h M C c Q S T T d     Dans le cas du poinçon, cette expression s’écrit :  o hp p M C cp Q S T T d     pS : représente la surface de la pièce en contact avec le poinçon (m²) L’utilisation de cette équation est souvent délicate par cause d’une connaissance souvent erronée du gradient thermique existant entre l’empreinte et la surface des canaux. Une solution pour contourner cette difficulté consiste à prendre dcp, une valeur égale (ou voisin) de celle de l’entraxe. Cette valeur permet d’obtenir une bonne régularité des isothermes et donc une uniformité satisfaisante de la température à la surface de l’empreinte. Dans le cas de moule construits avec des matériaux de conductibilité thermique supérieur à celle de l’acier, il convient de majorer en conséquence la valeur de la distance des canaux à la paroi. 5. Calcul de l’entraxe : distance séparant deux canaux voisin. Figure 47 : l’entraxe entre les canaux Dans la majorité des cas le calcul de l’entraxe est assez simple ; mous envisagerons deux cas : la surface à refroidir possède une forme rectangulaire (1er cas) ou une forme cylindrique (2em cas).
  • 77.
    Système de refroidissement 77 1er cas: le poinçon a la forme d’un rectangle de dimension L et l deux éventualités sont à envisager. a) Les canaux sont disposés parallèlement à la plus grande longueur Figure 48 : canaux disposés parallèlement à la grande longueur Le nombre de canaux sera égal à n ; si E représente l’entraxe, on peut écrire : E (n 1) l 2X    (1) X : la distance entre le premier canal et la paroi. D’autre part, sachant que la longueur totale des canaux à placer dans le poinçon est égale à Lcp le facteur n s’écrit : cpL n L  (2) En remplaçant n par sa valeur dans l’équation (1), on trouve la valeur de l’entraxe : cp l 2X E L 1 L    La valeur de X est généralement assez variable. Dans certain cas, cette valeur est imposée par des contraintes de construction. D’ans d’autres cas on peut prendre une valeur égale à celle de la distance à la paroi (dcp). Dans le cas où la distance est prise égale à l’entraxe, l’expression (3) se transforme, on trouve alors : cp cp l E d L 1 L    l: largeur de la plaque (m) L : longueur de la plaque (m)
  • 78.
    Système de refroidissement 78 b)Les canaux sont disposés parallèlement à la plus petite longueur Figure 49 : canaux parallèles à la petite longueur Le raisonnement est exactement le même que dans le cas précédent. L’entraxe noté E’ est alors obtenue par l’équation (5) cp L 2X E L 1 l     (5) si X=E devient cp L E L 1 l    Remarque : lorsque le choix entre ces deux solutions est possible, on choisira bien entendu la disposition qui correspond le mieux à une uniformité optimale de la température à la surface de l’empreinte. 2em cas : la surface à refroidir présente une géométrie circulaire (moule de seau, de cuvette, etc...) Lorsque les canaux de refroidissement sont disposés selon une géométrie circulaire, l’entraxe est calculé de la façon suivante : Appelons : r : la distance du prmier canal au centre de la pièce X: la distance du dernier canal au bord de la pièce R : le rayon de la pièce E : l'entraxe n : le nombre de canaux à placer pour avoir la longueur vou cplue soit L Pour calcul on établit les deux équations suivantes : r (n 1)E X R (1)    Et
  • 79.
    2 r 2(r 1) ............. 2 (r (n 1)E) L (2)          L’équation (2) comporte une suite arithmétique et peut cpL 2 nr n²E    D’où E De l’équation (1), on obtient la valeur de n Qui se simplifie en : R r n si X=E E   Exemple : considérons une éprouvette en ABS, on précédemment. Comme données on a : Epaisseur = 3mm Conductivité thermique de surface Température d’injection iT 240 C  Température du moule MT 50 C  Température de démoulage =70°C La vitesse du fluide fV 0.6m / s On le nombre d’empreinte sera pris égale à 4 empreintes  Déterminons le temps du cycle c ref rem an mt t t t t    Pour le ant on prendra égale à 3s - Calculons le temps de remplissage Le logiciel SOLIDWORKS nous a permis de connaitre le volume injecté iV 10.59cm / s On prendra un débit d’injection i rem rem i V 10.59 t 0.7s t 0.7s Q 15      - Calculons le temps de refroidissement Appliquons la méthode thermodynamique Système de refroidissement cp2 r 2 (r 1) ............. 2 (r (n 1)E) L (2)          L’équation (2) comporte une suite arithmétique et peut s’écrire : cpL 2 nr E n²     De l’équation (1), on obtient la valeur de n : R r x E n E     R r n si X=E E  : considérons une éprouvette en ABS, on effectuera les calculs énoncés Conductivité thermique de surface a= 3 2 8,3.10 cm / s T 240 C  T 50 C  Température de démoulage =70°C V 0.6m / s On le nombre d’empreinte sera pris égale à 4 empreintes Déterminons le temps du cycle c ref rem an mt t t t t    on prendra égale à 3s Calculons le temps de remplissage Le logiciel SOLIDWORKS nous a permis de 3 iV 10.59cm / s On prendra un débit d’injection 3 iQ 15cm / s rem remt 0.7s t 0.7s     s de refroidissement Appliquons la méthode thermodynamique : 79 effectuera les calculs énoncés
  • 80.
    Système de refroidissement 80 21 2 i M ref 2 4 m M T Te 8 (3 10 ) 8 240 50 t ln ( ) ln ( ) 15.15s a T T 8.3 10 70 50                         reft 15.15s  Le temps de maintien est généralement égale à m ref mt 0.3 t 0.3 15.15 t 4.55s      Finalement on aura le temps de cycle ct 3 0.7 4.55 15.15 23.4s     ct 23.4s  La méthode de MORGUE 2 ref e k t or a a     3 ABS 4 1.05g / cm cp 0.33cal / g. C k 3.5 10 cal / cm.s. C e 1.5mm 0.15cm               2 ref 4 0.15 t 0.33 1.05 22.275s 3.5 10       On remarque que le temps de cycle est assez élève, pour minimiser ce temps on envisage d’installer un système de refroidissement pour obtenir à la fin un temps de cycle ct 5s  Calcul du nombre de calorie à évacuer pour un temps de cycles ct 5s cycle e s p i MQ M.(H H ) M c .(T T )     3 i p M V 1.05 10 10587.77 11.11 c (ABS) 0.33kcal / kg. C            3 cycleQ 11.11 10 0.33 (240 70) 0.623kcal        Le nombre de calorie par heure cycle cycle/h c 3600 Q 3600 0.623 Q 448.56kcal / h t 5      Par conséquent : cycle/hQ 448.56kcal / h  Quantité de chaleur à évacuer par l’empreinte mobile p p cycle/h t S Q Q S   A l’aide du logiciel Solidworks on a pu déterminer la valeur de la surface de l’empreinte mobile en contact à la pièce 2 p 2 t S 1215.7mm S 1887.16mm    
  • 81.
    Système de refroidissement 81 p/h 1215.7 Q448.56 288.96kcal / h 1887.16    p/hQ 288.96kcal / h   Consommation de liquide dans l’empreinte mobile p/h p f s e Q G cp (T T )   s e f T 22 C T 18 C cp : chaleur spécifique du fluide de refroidissement à 20°C 0.99883kcal / kg. C         p 288.96 G 72.32kg / h 0.99883 (22 18)     Comme on travaille avec l’eau donc pG 72.32L / h  Calcul de la section qui permettrait le passage de quantité d’eau voulue p p f f G S 3600 v    f 3 f v 0.6m / s 998.62kg / cm     6 2 p 72.32 S 33.527 10 m 3600 0.6 998.62        6 p c S 4 33.527 10 4 d 0.0065m 6.5mm           On utilisera des canaux de diamètre cd 6.5mm pour le circuit de refroidissement.  Vérification de la valeur du nombre de REYNOLDS f f v Dh Re    f f 6f f 3 v 0.6m / s ( vitesse du fluide dans les canaux) 0.001002 1.0038 10 (viscosité cinématique de l'eau) 998.21 Dh 6.5 10 m                3 6 0.6 6.5 10 Re 3885.24 1.0038 10        On est bien en régime permanent turbulent car Re 3885.24 3500   Calcul du coefficient d’échange thermique hT 0.75 f Th 0.04(Pe) Dh  
  • 82.
    Système de refroidissement 82 3 ff f 4 f 4 f f v Dh cp 0.6 6.5 10 0.9983 998.21 Pe 27113.16 0.6 2.389 10 0.6w / m.k 0.6 2.389 10 kcal / s.m.k (conductivité thermique de l'eau) cp 0.99983lcal / kg. C                             4 0.75 2 T 3 0.6 2.389 10 3600 h 0.04(27113.16) 6709.68kcal / m .h. K 6.5 10            Calcul de surface active des canaux p/h cp T c f Q S h (T T )   p/h c f Q 288.96kcal / h T 22 C T 20 C        2 cp 288.96 S 0.021m 6709.68 (22 20)       Longueur des canaux à placer dans l’empreinte mobile cp cp 3 S 0.021 L 1.028m Dh 6.5 10        La distance séparant les canaux de la surface de l’empreinte o o p/h p M C cp p M C cp p/h Q S (T T ) d S (T T ) d Q        6 cp 50 d 1215.7 10 (70 22) 0.01m 288.6        (Moule en acier o 50kcal / m.h. C   )  Calcul de l’entraxe On considère une plaque de carrée de dimension L=l=0.396m cp cp l 2d 0.396 2 0.01 E 0.24m L 1.028 11 0.396L         On obtient finalement le circuit ci-dessous ;
  • 83.
    Système de refroidissement 83 figure50 :circuit de refroidissement CONCLUSION Ces quelques éléments thermiques permettent de mieux comprendre les transferts de chaleur au cours du refroidissement d’une pièce.
  • 84.
    Conception et FabricationFAO d’un moule à parois minces 84
  • 85.
    Conception et FabricationFAO d’un moule à parois minces 85 Les différentes étapes de conception d’un moule à injection 1 2 3 Disposition des cavités (empreintes) 4 Type de seuil 5 Type de moule Spécificité géométrique, mécanique, thermique de la pièce : volume et délai Nombre de cavités Sélection de la presse à injection Moule à 2 plaques Moule à 3 plaques Canaux chauds Canaux froids Buse standard Canaux chauds Canaux froids En étoile Symétrie En ligne Capillaire Nappe Annulaire Queue de carpe
  • 86.
    Conception et FabricationFAO d’un moule à parois minces 86 Système de régulation de la température 6 Système d’éjection 7 Système de dégazage (c'est-à-dire évacuation de l’air dans le moule) Surface Noyau Eau, Cartouche, Huile Air, Eau, Huile Broche Tiroirs Air Plaque, Anneau Plan de joint PlaquesEjecteur Noyau
  • 87.
    Conception et FabricationFAO d’un moule à parois minces 87 8 9 Estimation du retrait Matériaux Dessin Alimentation Paramètres moulage Châssis Plaques Noyau Acier doux, acier en faible teneur en carbone, acier d’alliage, acier en cémentation Acier à outils, acier de trempe à cœur, acier à cémentation et métaux spéciaux Acier à outils, acier de trempe à cœur, acier à cémentation et à nitruration
  • 88.
    Conception et FabricationFAO d’un moule à parois minces 88 Démarche de conception détaillée d'un moule Exemple : Boîtier supérieur du Module de Suivi de ligne. Objectif : concevoir l’outillage qui permettra d’obtenir la pièce en vraie matière et en vrai procédé afin de déboucher sur la rédaction du cahier des charges de l’outillage de production. Données de départ : 1-Dossier de conception détaillée du produit (notices de calcul, choix des matériaux, résultats de simulation de fonctionnement mécanique et électronique, CAO, plan d'ensemble …).
  • 89.
    Conception et FabricationFAO d’un moule à parois minces 89 2-Cotation de la pièce : analyse des spécifications et écriture de la cotation fonctionnelle
  • 90.
    Conception et FabricationFAO d’un moule à parois minces 90 sur le plan de la pièce.
  • 91.
    Conception et FabricationFAO d’un moule à parois minces 91
  • 92.
    Conception et FabricationFAO d’un moule à parois minces 92 3-Dossier contrat de l'outillage : Cahier des charges, , spécifications techniques, données économiques et de production, moyens disponibles.
  • 93.
    Conception et FabricationFAO d’un moule à parois minces 93 4- Conception préliminaire du moule : avant-projet de solutions, estimation de la complexité de l'outillage.
  • 94.
    Conception et FabricationFAO d’un moule à parois minces 94 5- Simulation d'injection : elle permet de vérifier que la pièce pourra être obtenue avec la qualité voulue compte tenue de ses formes et du matériau choisi. Les résultats obtenus peuvent remettre en question la conception de la pièce si la qualité ne peut pas être suffisante ou si le temps d’injection est trop élevé.
  • 95.
    Conception et FabricationFAO d’un moule à parois minces 95 6- Etude de moulage : on calcule les temps de cycle, l’estimation du coût d’injection, les efforts.
  • 96.
    Conception et FabricationFAO d’un moule à parois minces 96 7-Choix des solutions constructives : On représente par des croquis les solutions de décomposition des parties actives (broches, noyaux …) en pensant aux procédés de fabrication (érosion fil, enfonçage, fraisage …).
  • 97.
    Conception et FabricationFAO d’un moule à parois minces 97 8-Modélisation CAO : La modélisation se fait sur logiciel CAO en insérant les composants de bibliothèque (éjecteurs …). La conception de l'outillage est complètement définie : forme et dimensions des éléments fabriqués, référence des éléments du commerce.
  • 98.
    Conception et FabricationFAO d’un moule à parois minces 98 9-Validation de la conception : Certaines formes d’empreintes doivent être validées par simulation FAO. D'autres formes nécessitent la conception d'un électrode d'enfonçage et sa mise en plan. Cette étape permet également le chiffrage de la fabrication du moule.
  • 99.
    Conception et FabricationFAO d’un moule à parois minces 99
  • 100.
    Conception et FabricationFAO d’un moule à parois minces 100
  • 101.
    Conception et FabricationFAO d’un moule à parois minces 101 10-Edition des plans : on génère les mises en plan 2D de l'outillage et on indique les spécifications techniques de l'outillage.
  • 102.
    Conception et FabricationFAO d’un moule à parois minces 102 ETUDE D’UN CAS
  • 103.
    Conception et FabricationFAO d’un moule à parois minces Introduction Cette partie sera consacrée à la conception d’un moule pour l’injection de matière plastique en polyéthylène (PE) pour l’obtention d’un pot de conserve qui sera réalisé au sein de la société TECHNI Dans cette partie on va utiliser toutes les applications vues précédemment en faisant une étude optimisée et économique afin de réussir la conception. Le cahier de charge proposé par l’entreprise stipule l’étude et la conception d’un moule permettant l’obtention d’un pot de conserve.  L’entreprise prévoit l’injection de 2000 pièces par mois renouvelable.  Les pièces injectées sont en polyéthylène (PE)  Le moule sera mono onception et Fabrication FAO d’un moule à parois minces Cette partie sera consacrée à la conception d’un moule pour l’injection de matière plastique en polyéthylène (PE) pour l’obtention d’un pot de conserve qui sera réalisé au sein de la société TECHNI-MOULE. Dans cette partie on va utiliser toutes les applications vues précédemment en faisant une étude optimisée et économique afin de réussir la conception. Le cahier de charge proposé par l’entreprise stipule l’étude et la conception d’un moule tention d’un pot de conserve. L’entreprise prévoit l’injection de 2000 pièces par mois renouvelable. Les pièces injectées sont en polyéthylène (PE) Le moule sera mono-empreinte à canal chaud. Figure 52 : Pot de conserve onception et Fabrication FAO d’un moule à parois minces 103 Cette partie sera consacrée à la conception d’un moule pour l’injection de matière plastique en polyéthylène (PE) pour l’obtention d’un pot de conserve qui sera Dans cette partie on va utiliser toutes les applications vues précédemment en faisant une étude optimisée et économique afin de réussir la conception. Le cahier de charge proposé par l’entreprise stipule l’étude et la conception d’un moule L’entreprise prévoit l’injection de 2000 pièces par mois renouvelable.
  • 104.
    Conception et FabricationFAO d’un moule à parois minces 104 I. Démarche de conception d’un moule Début Choix de la presse d’injection Choix du plan de joint Conception des empreintes Calcul et choix du système d’injection Pièce à mouler : Dimensions et matériaux Calcul et choix du système de refroidissement Choix de la carcasse Conception et choix du système d’éjection Fabrication Fin Non Oui
  • 105.
    Conception et FabricationFAO d’un moule à parois minces 105 II. Pièce à mouler 1. Matière utilisée La pièce à injecter est fabriquée à base de matériau polymère bien déterminé dénommé le polyéthylène à haute densité (PEHD). Ce type de polymère appartient à la famille des polyoléfines des thermoplastiques. Le PEHD est un polymère semi cristallin c’est à dire constitué de deux phases : Une phase cristalline et une phase amorphe. Macroscopiquement, on peut observer les deux types de chaînes qui se combinent en liaison : c’est un matériau bi phasique. Amorphe : caractérisée par le désordre des macromolécules. Cristalline : Correspondant au sein de la matrice à des zones où les macromolécules sont disposées dans l'espace d'une manière régulière. Figure 53 : Schéma des zones cristallines et amorphes dans un polymère semi-cristallin Une molécule de polyéthylène n'est rien de plus qu'une longue chaîne d'atomes de carbone, avec deux atomes d'hydrogène attachés à chaque atome de carbone. Figure 54 : Structure chimique du PEHD
  • 106.
    Conception et FabricationFAO d’un moule à parois minces 106 Principaux avantages du PE Principaux inconvénients du PE  Résistance au choc même à froid.  Résistance à l’abrasion.  Faible coefficient de friction.  Qualité du souple au Rigide.  Inertie Chimique.  Qualité contact alimentaire.  Isolation électrique.  Collage difficile.  Températures maxi d’utilisation de 50 à 80°C suivant les qualités.  Retrait Important. Tableau 5 : avantages et inconvénients du PE Caractéristiques du polyéthylène : Polyéthylène à haute densité (PEHD) PROPRIETE PHYSIQUE Masse volumique ࢍ/ࢉ࢓ ૜ 0.935 − 0.965 Taux de cristallinité en % 65-80 PROPRIETE MECANIQUE Contrainte au seuil (rupture) en ࡹ ࡼࢇ 24 − 30 Allongement au seuil (rupture) % 15 Module de flexion en ࡹ ࡼࢇ 900 − 1300 Contrainte de flexion en ࡹ ࡼࢇ 23 PROPRIETE THERMIQUE Conductivité thermique en ࢃ /(࢓ · ࡷ) 0.46 − 0.51 Chaleur spécifique en ࡶ/(࢑ࢍ · ࡷ) 1900 Température de moulage en °C 220-320 Température du moule en °C 20 à 60 Retrait en % 1.5-2.5 Pression d’injection en ‫ܚ܉܊‬ 800-1400 Viscosité Diffusivité thermique en ࢉ࢓ ²/࢙ 7.7. 10 ିସ Température moyenne de la moulé Au moment de démoulage en °C 80 à110 Tableau6 : caractéristiques du polyéthylène
  • 107.
    Conception et FabricationFAO d’un moule à parois minces 2. DESSIN DE DEFINITION 3. Choix du plan de joint Pour les pièces compliquées ayant un tiroir on moulage par injection de matière plastique le plan de joint qui coïncide à la surface supérieur du tiroir onception et Fabrication FAO d’un moule à parois minces DESSIN DE DEFINITION Choix du plan de joint Pour les pièces compliquées ayant un tiroir on choisit généralement dans le cas de moulage par injection de matière plastique le plan de joint qui coïncide à la surface Figure 55 : Position plan de joint onception et Fabrication FAO d’un moule à parois minces 107 généralement dans le cas de moulage par injection de matière plastique le plan de joint qui coïncide à la surface
  • 108.
    Conception et FabricationFAO d’un moule à parois minces 108 4. Choix de la presse d’injection Faire un bon choix consiste à adapter le mieux possible la pièce à fabriquer à toutes les caractéristiques technique de la presse. Cette remarque nous amène tout naturellement à déterminer :  La force de fermeture exprimée en tonne ou KN (1tonne=10KN),  Le volume injectable a) Détermination de la force de fermeture Comme nous avons énoncé dans la partie bibliographique la force de fermeture doit etre égale ou supérieur à la force de portance du moule v proj intF S P  intP Pression interne du moule. projS Section projetée de la pièce et des canaux au niveau du plan de joint. vF Force de verrouillage Selon l’expérience, la pression interne du moule correspond aux moyennes suivantes sous réserve de conditions de façonnage adaptées aux matériaux sont donnés dans le tableau suivant : Thermoplastique Pression interne moyenne PE, PP 250 - 600 PS, SB 200 - 500 ABS, ASA, SAN 250 - 350 PC 300 - 500 PC, ABS, PC, PBT 250 - 400 PA 250 - 700 POM 300 - 700 PMMA 300 - 500 Tableau 7 : pression interne moyenne Dans notre cas on utilise le polyéthylène (PE), on prend une pression interne de 600 barsen considérant le cas le plus défavorable.
  • 109.
    Conception et FabricationFAO d’un moule à parois minces 109 Notre pièce est un pot donc la surface projetée sera la surface aplatie qui va correspondre à la surface du cercle qui admet le grand diamètre. Qui nous donnera 2 2 pS 199 31102.55mm 4     Par conséquent on aura 2 vF 600 10 31102.55 186615.3daN 186.62T      Donc vF 186.62T b) Déterminons le volume à injecter Le logiciel SOLIDWORKS nous a permis de connaitre le volume de la pièce à injecter 3 iV 149.33cm À partir de cette valeur on peut déduire la masse de la pièce i 3 3 i M V 0.96g / cm M 0.96 149.33 143.36g V 149.33cm          En conclusion : la force de fermeture du moule est égale à vF 186.62T , la masse à injecter est de 143.36g. D’où la nécessité de choisir une presse dont l’effort est supérieur ou égale à vF 186.62T 5. Choix du type d’alimentation La matière plastique de la pièce peut être à 100% recyclable, cela signifie un gain de matière significatif. D’autre part les prix du bloc chaud sont très élevés, elle peut même tripler le prix du moule. Nous sommes donc face à un compromis : carotte recyclable et par la suite des heures supplémentaires pour le recyclage ou bien l’usage d’un bloc chaud qui est couteux mais très efficace. Le choix d’une solution optimale sera tributaire de 4 critère d’appréciation qu’on jugés nécessaires et suffisant pour satisfaire le cahier de charge :  Coût de la pièce ;  Coût du moule ;
  • 110.
    Conception et FabricationFAO d’un moule à parois minces 110  Rendement de la productivité ;  Qualité de la pièce injectée ; Afin de jugée chaque critère, on attribuera un note comme suit :  3 : pour un niveau jugé bon ;  2 : pour un niveau jugé moyen;  1 pour un niveau jugé faible. Critères Total Coût du moule Coût de la pièce Rendement de la productivité Qualité de la pièce Bloc chaud 1 3 3 3 10 Carotte perdue 3 1 2 2 8 Tableau 8 : choix d’alimentation Résultat : A terme de cette analyse, et en se basant sur l’évaluation des résultats obtenues, on opte pour le moule à canaux chauffantes. Cette solution assure à la fois le coût le plus bas avec la qualité la plus bonne : C’est l’objectif tant recherché par les producteurs en général. D’où on prendra un canal chaud de type Buse Topless série 350 dont les caractéristiques sont présentées dans la partie annexe. 6. Position du point d’injection Le dispositif d’injection déjà choisi, conditionne le choix du point d’injection sur la partie dessus de la pièce. On doit donc définir le point le plus convenable pour l’injection à travers une comparaison entre des différents points accessibles. La simulation faite sur le logiciel MOLDFLOW à donner les résultats Suivant :
  • 111.
    Conception et FabricationFAO d’un moule à parois minces 111 Figure a Figure b Figure 56 : Disposition du point d’injection La figure b représente le point d’injection la plus convenable pour obtenir un meilleur temps de remplissage et simplifie la conception du moule vue qu’on utilisera un bloc chaud. 7. Calcul du seuil d’injection Notre moule est un moule mono-empreinte, donc on utilisera un seuil circulaire. On peut utiliser la formule suivante pour déterminer le diamètre des seuils. 4 sd =n C S  ds Diamètre du seuil en ݉ ݉ n Constante de la matière plastique (PEHD) 0,6 C indice en fontion de l'épaisseur max0,206 e S Surface extérieur d’échange de la pièce avec le moule 2 98111.16mm Dans notre cas maxe 1mm AN : 4 ds 0.6 0.206 1 98111.16 2.18mm    Donc on prendra un seuil de diamètre ds 2.2mm
  • 112.
    Conception et FabricationFAO d’un moule à parois minces III. Etude rhéologique Nous aborderons dans le présent paragraphe la phase de remplissage. La modélisation est complexe à plus d’un titre :  la géométrie est complexe : variations brusques de largeur, d’épaisseur, moules multi  la thermomécanique des écoulements de polymère à l’état fo  il y a coexistence de deux phases liquide et solide, dont les comportements sont très différents. Notre étude est faite sur le logiciel de simulation d’injection de plastique : MOLDFLOW 2010. 1. Résultats de la simulation  Temps de remplissa Le temps de remplissage est court, de l’ordre de 0.8s, en effet, le débit d’injection est élevé. En combinaison avec la forte viscosité de PEHD, la dissipation d’énergie est donc importante, et la température de la ma refroidissement du moule. onception et Fabrication FAO d’un moule à parois minces Etude rhéologique Nous aborderons dans le présent paragraphe la modélisation de l’écoulement pendant la La modélisation est complexe à plus d’un titre : la géométrie est complexe : variations brusques de largeur, d’épaisseur, moules la thermomécanique des écoulements de polymère à l’état fondu est complexe ; il y a coexistence de deux phases liquide et solide, dont les comportements sont Notre étude est faite sur le logiciel de simulation d’injection de plastique : Résultats de la simulation Temps de remplissage Figure 57 : temps de remplissage Le temps de remplissage est court, de l’ordre de 0.8s, en effet, le débit d’injection est élevé. En combinaison avec la forte viscosité de PEHD, la dissipation d’énergie est donc importante, et la température de la matière peut augmenter localement malgré le onception et Fabrication FAO d’un moule à parois minces 112 modélisation de l’écoulement pendant la la géométrie est complexe : variations brusques de largeur, d’épaisseur, moules ndu est complexe ; il y a coexistence de deux phases liquide et solide, dont les comportements sont Notre étude est faite sur le logiciel de simulation d’injection de plastique : Le temps de remplissage est court, de l’ordre de 0.8s, en effet, le débit d’injection est élevé. En combinaison avec la forte viscosité de PEHD, la dissipation d’énergie est tière peut augmenter localement malgré le
  • 113.
    Conception et FabricationFAO d’un moule à parois minces  Température de matière On constate que puisque le PEHD est peu conducteurs de la chaleur, la température à cœur est proche de la température proche de la température de l’acier. La viscosité de ce polymère dépend fortement de la température, il faut évaluer avec précision les gradients thermiques, et coupler étroitement les calculs mécaniques et thermi calculs sur le refroidissement. onception et Fabrication FAO d’un moule à parois minces Température de matière Figure 58: température de la matière On constate que puisque le PEHD est peu conducteurs de la chaleur, la température à cœur est proche de la température d’injection, tandis qu’à la paroi elle est proche de la température de l’acier. La viscosité de ce polymère dépend fortement de la température, il faut évaluer avec précision les gradients thermiques, et coupler étroitement les calculs mécaniques et thermiques. Donc on a besoin d’approfondir nos calculs sur le refroidissement. onception et Fabrication FAO d’un moule à parois minces 113 On constate que puisque le PEHD est peu conducteurs de la chaleur, la d’injection, tandis qu’à la paroi elle est proche de la température de l’acier. La viscosité de ce polymère dépend fortement de la température, il faut évaluer avec précision les gradients thermiques, et coupler ques. Donc on a besoin d’approfondir nos
  • 114.
    Conception et FabricationFAO d’un moule à parois minces  Pression dans la cavité Figure 59: l’évolution de la température au cours du remplissage  Ligne de soudure On observe que les lignes de du point d’injection.  Event Les évents permettent de chasser l’air emprisonné dans l’empreinte pendant l’injection de la matière. La figure ci-dessous montre les zones d’emprisonnement de l'air. onception et Fabrication FAO d’un moule à parois minces Pression dans la cavité : l’évolution de la température au cours du remplissage Figure 60: présence de ligne de soudure On observe que les lignes de soudure ne sont pas trop visible conséquent d’un bon choix Les évents permettent de chasser l’air emprisonné dans l’empreinte pendant l’injection dessous montre les zones d’emprisonnement de l'air. onception et Fabrication FAO d’un moule à parois minces 114 soudure ne sont pas trop visible conséquent d’un bon choix Les évents permettent de chasser l’air emprisonné dans l’empreinte pendant l’injection
  • 115.
    Conception et FabricationFAO d’un moule à parois minces Figure Les évents sont généralement placés dans le plan perpendiculaire au sens d’injection, donc sur le plan de joint on les usine avec une profondeur de 0.05 mm IV. Calcul et choix du système de refroidissement 1. Le temps du cycle c ref rem an mt t t t t    Pour le temps annexe - Calculons le temps de remplissage Le logiciel SOLIDWORKS nous a permis de connaitre le volume injecté 3 iV 149.33cm / s On prendra un débit d’injection i rem rem i V 149.33 t 2.77s t 2.77s Q 54      - Calculons le temps de refroidissement Appliquons la méthode thermodynamique 2 1 2 ref 2 4 e 8 (1 10 ) 8 280 60 t ln ( ) ln ( ) 3.2s a T T 7.7 10 110 60                onception et Fabrication FAO d’un moule à parois minces Figure 61: les zones d’emprisonnement de l’air Les évents sont généralement placés dans le plan perpendiculaire au sens d’injection, donc sur le plan de joint on les usine avec une profondeur de 0.05 mm Calcul et choix du système de refroidissement ps du cycle c ref rem an mt t t t t    Pour le temps annexe ant on prendra égale à 3s Calculons le temps de remplissage Le logiciel SOLIDWORKS nous a permis de connaitre le volume injecté On prendra un débit d’injection 3 iQ 54cm / s rem remt 2.77s t 2.77s     Calculons le temps de refroidissement Appliquons la méthode thermodynamique : 2 1 2 i M 2 4 m M T Te 8 (1 10 ) 8 280 60 t ln ( ) ln ( ) 3.2s a T T 7.7 10 110 60                         onception et Fabrication FAO d’un moule à parois minces 115 Les évents sont généralement placés dans le plan perpendiculaire au sens d’injection, Le logiciel SOLIDWORKS nous a permis de connaitre le volume injecté e 8 (1 10 ) 8 280 60 t ln ( ) ln ( ) 3.2s a T T 7.7 10 110 60                
  • 116.
    Conception et FabricationFAO d’un moule à parois minces 116 reft 3.2s  Le temps de maintien est généralement égale à m ref mt 0.3 t 0.3 3.2 t 0.96s      Finalement on aura le temps de cycle ct 3 2.77 0.96 3.2 9.93s 10s      ct 10s  2. Système de refroidissement La matière plastique mise en forme dans l’empreinte du moule à chaud ne peut pas être démoulée avant que la pièce conformée dans l’empreinte ne soit suffisant rigide pour résister aux efforts d’éjection. Pour réduire le cycle de fabrication, il est nécessaire d’accélérer le refroidissement artificiellement par l’action d’un réfrigérant à proximité de l’empreinte. Pour cela on va déterminer le nombre de calorie nécessaire à évacuer et ainsi le nombre de canaux de refroidissement à placer dans l’empreinte mobile. En premier lieu : on se fixera un temps de cycle ct 5s  Calcul du nombre de calorie à évacuer pour un temps de cycles ct 5s cycle e s p i MQ M.(H H ) M c .(T T )     p M 143.36g c (PE) 0.55kcal / kg. C     3 cycleQ 143.36 10 0.55 (280 110) 13.4kcal        Le nombre de calorie par heure cycle cycle/h c 3600 Q 3600 13.4 Q 9648kcal / h t 5      Par conséquent : cycle/hQ 9648kcal / h  Quantité de chaleur à évacuer par l’empreinte mobile p p cycle/h t S Q Q S   A l’aide du logiciel Solidworks on a pu déterminer la valeur de la surface de l’empreinte mobile en contact à la pièce
  • 117.
    Conception et FabricationFAO d’un moule à parois minces 117 2 p 2 t S 87729.32mm S 1915151.6mm     p/h 87729.32 Q 9648 4419.55kcal / h 191515.16    p/hQ 4419.55kcal / h   Consommation de liquide dans l’empreinte mobile p/h p f s e Q G cp (T T )   s e f T 22 C T 18 C cp : chaleur spécifique du fluide de refroidissement à 20°C 0.99883kcal / kg. C         p 4419.55 G 1106.18kg / h 0.99883 (22 18)     Comme on travaille avec l’eau donc pG 1106.18L / h  Calcul de la section qui permettrait le passage de quantité d’eau voulue p p f f G S 3600 v    f 3 f v 0.6m / s 998.62kg / cm     6 2 p 1106.18 S 512.82 10 m 3600 0.6 998.62        6 p c S 4 512.82 10 4 d 0.0255m 25.5mm           Le diamètre des canaux doit être compris entre 8 et 14mm. Pour avoir un diamètre cohérent, il faut remplacer le canal par différents canaux, on aura n entrées d’eau. 2 2 2 p p 8 dc 14 8 14 S 50.26 S 153.94mm 4 4          c 512.82 Pour d 8mm n 10.2 10 50.26     
  • 118.
    Conception et FabricationFAO d’un moule à parois minces 118 c 512.82 Pour d 14mm n 3.3 3 153.94      Le nombre n d’entrée peut être compris entre 3et 10, on choisit d’en placer 10 2 p c 1 si n=10 S 512.82 51.28mm 10 d 8.08 8mm        Par conséquent on utilisera 10 entrées d’eau de diamètre cd 8mm  Vérification de la valeur du nombre de REYNOLDS f f v Dh Re    f f 6f f 3 v 0.6m / s ( vitesse du fluide dans les canaux) 0.001002 1.0038 10 (viscosité cinématique de l'eau) 998.21 Dh 8 10 m                3 6 0.6 8 10 Re 47818.83 1.0038 10        On est bien en régime permanent turbulent car Re 47818.83 3500   Calcul du coefficient d’échange thermique hT 0.75 f Th 0.04(Pe) Dh   3 f f f 4 f 4 f f v Dh cp 0.6 8 10 0.9983 998.21 Pe 33370.05 0.6 2.389 10 0.6w / m.k 0.6 2.389 10 kcal / s.m.k (conductivité thermique de l'eau) cp 0.99983lcal / kg. C                             4 0.75 2 T 3 0.6 2.389 10 3600 h 0.04(33370.05) 6370.26kcal / m .h. K 8 10            Calcul de surface active des canaux
  • 119.
    Conception et FabricationFAO d’un moule à parois minces 119 p/h cp T c f Q S h (T T )   p/h c f Q 4419.55kcal / h T 22 C T 20 C        2 cp 4419.55 S 0.35m 6370.26 (22 20)       Longueur des canaux à placer dans l’empreinte mobile cp cp 3 S 0.35 L 13.93m Dh 8 10       Conservation des calories :Dans le cas à canaux chaud, il est nécessaire de conserver une partie des calories et de ralentir une déperdition trop rapide. La mise en place de plaques isolantes sur la périphérie du moule est nécessaire. Figure 62 : Circuit de refroidissement
  • 120.
    Conception et FabricationFAO d’un moule à parois minces V. Système d’éjection L’éjection des pièces pièce ou déformation permanente avant le refroidissement définitif. De ce fait, on prévoit d’effectuer un système éjection pneumatique de la pièce. Un tel dispositif est bien adéquat à notre soupape associé à un circuit d’air assure bien l’éjection dans la bonne condition puisque ils sont des outilles standard présente un bon coefficient de frottement. VI. Guidage et centrage Le bon positionnement est assuré par des colonnes de guidage et des douilles de centrage. En même temps en doit prévoyait le centrage de colonnes de guidage à épaulement avec plot de centrage et des bagues à collerette avec plot de onception et Fabrication FAO d’un moule à parois minces Système d’éjection pièces-après refroidissement et ouverture du moule rupture de la pièce ou déformation permanente avant le refroidissement définitif. De ce fait, on prévoit d’effectuer un système éjection pneumatique de la pièce. Un tel dispositif est bien adéquat à notre conception du point où l’éjecteur en forme se soupape associé à un circuit d’air assure bien l’éjection dans la bonne condition puisque ils sont des outilles standard présente un bon coefficient de frottement. Figure 63 : principe d’éjection et centrage Le bon positionnement est assuré par des colonnes de guidage et des douilles de En même temps en doit prévoyait le centrage de colonnes de guidage à épaulement avec plot de centrage et des bagues à collerette avec plot de centrage. onception et Fabrication FAO d’un moule à parois minces 120 après refroidissement et ouverture du moule rupture de la De ce fait, on prévoit d’effectuer un système éjection pneumatique de la pièce. conception du point où l’éjecteur en forme se soupape associé à un circuit d’air assure bien l’éjection dans la bonne condition puisque ils sont des outilles standard présente un bon coefficient de frottement. Le bon positionnement est assuré par des colonnes de guidage et des douilles de En même temps en doit prévoyait le centrage de colonnes de guidage à épaulement avec
  • 121.
    Conclusion générale etperspectives 121 CONCLUSION GENERALE ET PERSPECTIVES Ce projet de quatre mois m’a permis de voir l’intérieur le mode de fonctionnement des entreprises et de me familiarisé avec le milieu professionnel. En effet j’ai eu à mettre en pratique certaines compétences et acquérir une certaine expérience professionnelle dans le milieu industriel. Et la saine ambiance de travail qui régnait au sein de l’entreprise m’a beaucoup facilité la mise au point de ce projet. Ce projet a été bénéfique dans la mesure où j’ai eu l’opportunité de connaitre l’utilité de la matière plastique dans la vie quotidienne, mais aussi de comprendre leur différents procédés de mise en œuvre et la conception des moules pour l’injection de matière plastique. Et cette dernière ne peut pas être réalisée sans la maitrise de certains outils informatiques très important dans notre secteur à savoir les logiciels de conception (Solidworks et AUTOCAD), et le logiciel de simulation de la matière plastique comme le MOLDFLOW.
  • 122.
  • 123.
    Bibliographie et webographie 123 BIBLIOGRAPHIEET WEBOGRAPHIE [1] MEMOTECHNO MATIERE PLASTIQUE [2] TECHNIQUE DE L’INGENIEUR [3] GUIDE DE CONSTRUCTION DES OUTILLAGES D’INJECTION [4] OPTIMISATION DU MOULE PAR INJECTION [5] CONCEPTION PIECES ET OUTILLAGE II   www.cap-science.net/upload/transformation-plastiques.pdf (1) G. Menges: D’origine allemande. Il fût ingénieur-docteur. Chef de l'Institut Pontstrabe 49e en 1965(Allemagne), professeur en matières plastiques et auteur du livre intitulé « guide de constructions des outillages d’injection ».
  • 124.