E
EL
LE
EC
CT
TR
RI
IC
CI
IT
TE
E I
IN
ND
DU
US
ST
TR
RI
IE
EL
LL
LE
E
STAGIAIRE :
Ce cours a été élaboré par MM. TUO K. pour le compte du C.E.F.A.
2
C.E.F.A. Electricité industrielle
CHAPITRE 1
L’APPAREILLAGE DE L’INSTALLATION INDUSTRIELLE
1- CONTACTEUR
1.1- Présentation
C’est un appareil de connexion commandé par un électro-aimant. Il fonctionne en tout ou rien.
Lorsque la bobine de l’électro-aimant est alimentée, le contacteur établit par l’intermédiaire de contacts (contacts de
puissance ou pôles) le circuit entre le réseau d’alimentation et le récepteur. Le contacteur possède aussi des contacts
auxiliaires.
1.2- Normalisation
Bobine
KM : s’il s’agit d’un contacteur principal
KA : s’il s’agit d’un contacteur auxiliaire
(B1, B2) s’il y a deux bobines dans le contacteur
Contacts principaux
1 à 6 : Contacteur tripolaire
1 à 8 : Contacteur tétrapolaire
1 à 0 : Contacteur pintapolaire
Contacts auxiliaires
Deux chiffres permettent de repérer les contacts auxiliaires
Les chiffres 1 et 2 permettent de repérer les contacts à ouverture (repos)
3-4 : Contacts à fermeture (travail)
Contacts temporisés
 Au travail
5 et 6 : contact spécial à ouverture
7 et 8 : contact spécial à fermeture
 Au repos
B
A
1 2
1
3
4 5 6
2 12 22
32
1 11 21
31
3
4
A
B
55
56
67
68
A
B
55
56
67
68
3
C.E.F.A. Electricité industrielle
2. RELAIS THERMIQUE
2.1. Présentation
Il est destiné à assurer la protection thermique des récepteurs contre les surcharges faibles et prolongées,
les déséquilibres ou manque de phase. Les organes de détection des surintensités sont des bilames
insérés dans chacune des phases du récepteur à protéger. Elles agissent sur un contact de déclenchement
qui doit être mise en série avec le circuit de la bobine du contacteur qui commande la mise sous tension
du moteur.
NB : Les relais magnétothermiques protègent contre les surcharges fortes et les courts-circuits.
2.2. Normalisation
Bilames
Contacts du relais
Le chiffre 9 suivi de 5 et 6 ou 7 et 8 est réservé pour les contacts des relais de protection contre les
surcharges (relais thermique, magnétique, différentiel…).
3. SECTIONNEUR
3.1. Présentation
Cet appareil, placé en tête du montage, permet d’isoler les circuits électriques. Il possède :
- Trois contacts de puissance établis par l’intermédiaire de barrettes de sectionnement ou de fusibles.
- Deux contacts auxiliaires permettant l’isolement du circuit de commande. Le fait de fermer le
sectionneur sans fusibles ou sans barrettes permet de faire des essais à vide (vérifier le
fonctionnement de l’appareillage dans l’armoire). Seul le circuit de commande est alimenté.
Remarque : Les contacts de puissance n’étant équipés d’aucun pouvoir de coupure (système de soufflage
de l’arc électrique), le sectionneur ne doit jamais être manœuvré en charge.
3.2. Normalisation
Sectionneur à broche Sectionneur à fusibles Contacts auxiliaires
de sectionnement
95 97
98
96
6
4
2
1 3 5
1 3 5 1 3 5 13 23
24
14
6
4
2
6
4
2
4
C.E.F.A. Electricité industrielle
4. MOTEUR ASYNCHRONE
4.1. Présentation
L’entraînement des machines est assuré en majorité par des moteurs asynchrones alimentés en courant
alternatif triphasé.
Ce type de moteur s’impose en effet dans la plupart des applications par :
- son prix de revient très avantageux
- ses qualités de robustesse
- sa facilité d’entretien.
4.2. Normalisation
L1 L2 L3
Commande et protection
U V W
5- CHOIX DE L’APPAREILLAGE
5.1- Choix d'un sectionneur
Le choix d'un sectionneur peut se faire en fonction des différents éléments suivants:
- La fonction du sectionnement
o S'il s'agit seulement d'isoler le circuit aval, il faut déterminer et prendre en compte le
courant maximal de chacun des pôles principaux.
o S'il s'agit d'isoler et de supporter les cartouches fusibles destinés à protéger l'installation
contre les courts-circuits et les surcharges, le choix dépend de la cartouche.
- Dispositif de protection : le dispositif de protection est fonction du nombre de contacts auxiliaires
de pré coupure à utilise (deux au maximum) et d'un éventuel dispositif de protection contre la
marche en monophasé (fusible à percuteur ou relais différentiel)
- La tension nominale : la tension de fonctionnement peut-être en continue ou en alternatif.
- Le type de commande : la poignée de commande peut-être intérieure latérale ou intérieure
frontale. Il peut-être du type extérieur avec dispositif de verrouillage à cadenas.
- L'environnement : la connaissance de l'environnement permet d'identifier le traitement de
protection du matériel.
Au vu de tous ces paramètres, tous les constructeurs mettent à la disposition des techniciens des tableaux ou
courbes, des sectionneurs.
M

5
C.E.F.A. Electricité industrielle
* Encliquetage direct sur
profité chapeau largeur 35
mm ou platine Telequick
Tableau des sectionneurs porte fusibles
5.2- Le choix d'un fusible
Démarche à suivre :
a- Selon l'emploi, on détermine la classe du fusible (gl ou aM).
b- À partir du courant d'emploi, on détermine le calibre du fusible en respectant la règle de protection
suivante. IB < ln < Iz avec
IB: courant d'emploi du circuit qui est fonction du récepteur,
ln : calibre nominal du fusible,
Iz : courant admissible dans la canalisation.
Pour la classe aM, on choisit le calibre fusible = au courant nominal du moteur en pleine charge.
Pour la classe gI, on prend les cartouches dans le calibre correspondant au courant en pleine
charge de l'installation à protéger.
c- On précise la forme du fusible (cylindrique ou à couteau) et les dimensions qui dépendent du socle
dans lequel il est monté.
d- La désignation d'un fusible doit comporter : la classe gI ou aM, le calibre ln, la tension nominale, la
forme et la taille, le système déclencheur éventuellement.
6
C.E.F.A. Electricité industrielle
Exemple: Fusible gI, 25 A, taille 10 x 38, 380 v avec percuteur.
Choisir un fusible pour la protection d'un transformateur revient à suivre la méthodologie suivante:
a- côté primaire : il faut installer une protection laissant passer les pointes du courant (aM).
b- côté secondaire : il faut calculer le courant de tout circuit au point le plus éloigné de la protection
du fusible. Il faut choisir le calibre afin d'avoir un temps de coupure de 5 secondes maximales pour le
Icc calculé en utilisant des cartouches gr. (lire sur les courbes de fusion des fusibles)
Cartouches fusibles
Pour sectionneurs
Classe aM : protection des appareils à fortes pointes d’intensité (moteur, électro-frein, etc.
Classe gF ou g1 : protection des circuits sans pointe d’intensité importante (chauffage, etc.).
Cartouches fusibles sans percuteur
7
C.E.F.A. Electricité industrielle
5.3- Choix des relais thermiques
Le choix est fonction de la nature et des conditions de fonctionnement du récepteur à protéger.
Le courant absorbé par le récepteur doit être compris dans la plage de réglage de celui-ci.
Cas des moteurs
Il faut choisir et régler le Rt en fonction du courant mentionné sur la plaque signalétique du moteur:
- Relais compensé différentiel à utiliser que dans les circuits équilibrés.
- Relais compensé non différentiel à n'utiliser pour les récepteurs raccordés sur un réseau
déséquilibré.
Cas des circuits de distribution
Il faut choisir le Rt en fonction des courants d'emploi.
Remarque
Lorsque l'équipement est difficilement accessible, il y a lieu d'utiliser un relais thermique à réarmement
automatique.
Il faudra alors faire attention au risque encouru par le personnel travaillant sur la machine.
5.4- Choix des relais magnétiques
Cas des moteurs
Pour choisir un Rm, il faut d'abord déterminer le courant maximal que le moteur peut absorber pendant le
démarrage. Le relais choisi doit permettre le passage de ce courant de démarrage et déclenché pour Un et Id
légèrement supérieur.
Cas des circuits de distribution
L'utilisation du Rm ne se justifie pas car associé à un contacteur, il ne doit pas jouer le rôle du dispositif de
protection contre les cours circuits.
8
C.E.F.A. Electricité industrielle
Tableau des relais tripolaires de protection thermique compensés et différentiels
Courant alternatif ou continu
5.5. Choix des contacteurs
Le choix d'un contacteur se fait en fonction d'un certains nombre de critères primordiaux tel que :
le courant nominal, la durée de vie électrique, la catégorie d'emploi et d'autres critères non moins
importants : la tension, le facteur de marche, le pouvoir de coupure, le pouvoir de fermeture, etc.
Méthode de choix
A partir des conditions de fonctionnement des récepteurs deux méthodes de choix se dégagent
- le choix selon la catégorie d'emploi
- le choix selon la durée de vie électrique
9
C.E.F.A. Electricité industrielle
Choix des contacteurs selon la catégorie d’emploi (courant alternatif)
Après avoir identifié la catégorie d'emploi du contacteur, le choix se fait en fonction de l'un des critères ou
l'ensemble des critères suivants.
o le courant d'emploi maximal (catégorie AC!)
o le courant d'emploi ou la puissance d'emploi (catégorie AC3)
o le courant coupé maximal en fonction des services (AC2, AC4)
10
C.E.F.A. Electricité industrielle
Choix en fonction de la durée de vie électrique
On détermine d'abord la durée de vie du contacteur qui est le critère primordial puis en fonction d e la
catégorie d'emploi, le choix se fait à partir de :
o le courant d'emploi (AC!)
o le courant coupé ou la puissance coupée (AC2, AC3, AC4).
11
C.E.F.A. Electricité industrielle
CHAPITRE 2
COMMANDE D’UN CONTACTEUR
1. COMMANDE MANUELLE PAR INTERRUPTEUR
Q
F1
F2
S1
Q KM1
2. COMMANDE MANUELLE PAR BOUTON POUSSOIR
Q
F1
F2
S1
Q KM1
L’interrupteur est maintenu fermé par le dispositif
d’accrochage. Lors d’une coupure de courant, le
contacteur KM1 s’ouvre et le moteur s’arrête. Lorsque la
tension réapparaît, le moteur se met en marche sans avertir
l’opérateur. C’est un système d’insécurité.
Si on remplace l’interrupteur par un bouton
poussoir, on obtient une marche par impulsion ou
par à coup. La bobine du contacteur est alimentée
seulement pendant la durée de l’impulsion.
12
C.E.F.A. Electricité industrielle
3. COMMANDE AUTOMATIQUE
Q
F1
F2
S1
Q KM1
4. COMMANDE AUTOMATIQUE OU MANUELLE PAR COMMUTATEUR
Q
F1
F2
1 2 3
S1
S2
Q KM1
Cette installation fonctionne sans surveillance. La
fermeture du contacteur est commandée par un
contact du flotteur. On peut alors commander un
contacteur avec un flotteur, une horloge, un
thermostat, pressostat, un détecteur de niveau,
détecteur inductif ou capacitif, détecteur
photoélectrique, etc.
Auto : 1
Arrêt : 2
Manuel : 3
 Commutateur sur AUTO : c’est commander le
contacteur avec le flotteur
 Commutateur sur MANUEL : c’est commander
directement avec le contact du commutateur :
marche forcée de KM1
13
C.E.F.A. Electricité industrielle
5. COMMANDE MANUELLE A DISTANCE PAR DEUX BOUTONS POUSSOIRS
Q
F1
F2
S1
KM1
S2
Q KM1
6. COMMANDE MANUELLE A DISTANCE PAR PLUSIEURS BOUTONS POUSSOIRS
Q
F1
F2
S1
S2
S3 S4 KM1
Q KM1
Contact d’auto- maintien ou d’auto-
alimentation
L’action sur le bouton poussoir marche S2
permet d’alimenter le contacteur KM1, qui se
maintient par son contact à fermeture placé en
parallèle sur le bouton poussoir marche S2. Une
action sur le bouton poussoir d’arrêt S1 placé en
série, coupe le circuit.
MARCHE : Action sur S2 ou S4,
fermeture de KM1 qui
s’automaintient par le contact (13 –
14) de KM1
ARRET : Action sur S1 ou S3, on a la mise
hors tension de la bobine de KM1
14
C.E.F.A. Electricité industrielle
7. COMMANDE A DISTANCE PAR A COUPS
Par interrupteur
Q
F1
F2
S1
1 2
S3
S2
KM1
Q KM1
Par bouton poussoir
Q
F1
F2
S1
KM1
S3 S2
Q KM1
S1 : Arrêt
S2 : Marche
S3 en 1 : A coups
S3 en 2 : Normal
S1: Arrêt
S2: Marche
S3: A coups
15
C.E.F.A. Electricité industrielle
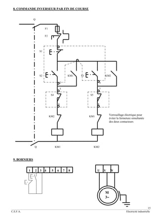
8. COMMANDE INVERSEUR PAR FIN DE COURSE
Q
F1
F2
S1
3
S2 KM1 S3 KM2
2 4
5 7
S4 S5
6 8
KM2 KM1
Q KM1 KM2
9. BORNIERS
1 2 3 4 5 6 7 8 U V W
M
3
Verrouillage électrique pour
éviter la fermeture simultanée
des deux contacteurs
16
C.E.F.A. Electricité industrielle
CHAPITRE 3
ALIMENTATION DU CIRCUIT DE COMMANDE
1. ALIMENTATION ENTRE PHASES
Le circuit de commande est raccordé entre deux phases du réseau d’alimentation. Sauf spécification
particulière cette solution a été retenue pour tous les appareils.
2. ALIMENTATION SEPAREE
Le circuit de commande est alimenté sous une tension différente du circuit de puissance. Pour transformer
un équipement dont le circuit de commande est raccordé d’origine entre phases, en alimentation séparée, il
suffit :
- de supprimer les deux connexions se reliant aux phases L1 et L2, et de raccorder ces dernières sur
la source d’alimentation séparée.
- de remplacer si nécessaire les bobines des contacteurs.
3. ALIMENTATION PAR TRANSFORMATEUR
Lorsque par mesure de sécurité, il est nécessaire d’alimenter le contacteur et son circuit de commande,
notamment les auxiliaires de commande, sous une tension inférieure à la tension du réseau d’alimentation
ou une tension d’isolation galvanique (séparation des circuits), il est possible d’utiliser un transformateur
dont le primaire est adapté à la tension du réseau et le secondaire fournit la tension de commande. Les
alimentations de basse tension présentent deux éventualités :
- L’équipement comporte une ou deux contacteurs de petite taille. Dans ce cas, la puissance du
transformateur nécessaire est faible. Il est alors conseillé d’alimenter les contacteurs à partir du
transformateur. (Fig. 1)
- L’équipement comporte un ou plusieurs contacteurs de forte taille ou un nombre important de petits
contacteurs. Afin de limiter la puissance du transformateur, il est alors judicieux d’alimenter en
basse tension un relais d’automatisme qui assure lui même la mise sous tension des autres
contacteurs de l’équipement. La sécurité est garantie parce que les boutons poussoirs sont sous
tension basse (tension de sécurité). (Fig. 2)
F1 F3 F1 F3
F4 F4
F2 F2 KA1
KM1
KM1
Fig. 1 Fig. 2
KA1
17
C.E.F.A. Electricité industrielle
4. ALIMENTATION A COURANT CONTINU
Pour obtenir un fonctionnement silencieux, quelques soit le contacteur, il est conseillé d’utiliser une
alimentation à courant continu. Ainsi, pour l’alimentation des contacteurs de grandes puissances, le
dispositif permet :
- D’augmenter considérablement la pression sur les pôles (le courant électrique ne s’annule plus lors
des passages à zéro).
- De maintenir le contacteur fermé même si le réseau d’alimentation est affecté d’une forte chute de
tension.
- De retarder légèrement l’ouverture du contacteur lors des micro-coupures.
Q
F1 F3
F4
C
F2
KM1
Q
18
C.E.F.A. Electricité industrielle
CHAPITRE 4
SIGNALISATION
1. SIGNALISATION « SOUS TENSION »
Q
F1
F2
X1
dispositif de commande
Q H1 KM1
2. SIGNALISATION « MARCHE » ET « ARRET »
Q
F1 F1
F2
KM1
Q KM1 H1
Un voyant lumineux indique la mise sous tension
de l’installation qui s’effectue généralement par
l’intermédiaire d’un sectionneur placé en amont.
Le voyant signale la fermeture d’un
contacteur
Contrairement au cas précédent, c’est
l’ouverture du contacteur qui est signalée.
19
C.E.F.A. Electricité industrielle
3. SIGNALISATION DIRECTE AUX BORNES DU RECEPTEUR
F1
F2
KM1 H1
4. SIGNALISATION « DEFAUT »
F1
F2
Q H1 KM1
5. SIGNALISATION SONORE AVEC « ACQUIT »
F1
Contact défaut
KA1 KA1
Acquit
Q H1 KA1
Le voyant de signalisation est raccordé directement aux bornes
du récepteur dont il signale la mise sous tension. Ce dispositif
permet d’économiser un contact, mais si le récepteur :
- Est inductif, la surtension qui se produit au moment de
la coupure risque de détériorer la lampe.
- Est défectueux, la lampe signale toujours sa bonne
marche
C’est le déclenchement du relais,
assurant la protection du récepteur qui
est signalé. Le contact qui commande le
voyant est incorporé au relais de
protection
Le contact de défaut actionne la sirène
qui reste sous tension tant que la
personne intéressée n’a pas actionné le
bouton poussoir « Acquittement ». Ce
schéma peut être utilisé également
pour réaliser une installation d’appel
centralisé à plusieurs postes. Le
contact défaut est alors remplacé par
un ou plusieurs boutons poussoirs
d’appel.
20
C.E.F.A. Electricité industrielle
CHAPITRE 5
DEMARRAGE DES MOTEURS
.
1. DEMARRAGE DIRECT
1.1. Principe
C'est le procédé de démarrage le plus
simple qui ne peut être exécuté qu'avec
le moteur asynchrone à rotor à cage
Les enroulements du stator sont
couplés directement sur le réseau, le
moteur démarre et atteint sa vitesse
nominale.
1.2. Caractéristiques
Intensité
La courbe In = f (N) nous indique que la
surintensité au moment du démarrage
peut être de 4 à 8 fois l'intensité
nominale; il en résulte une pointe
d'intensité très importante.
ID = 4 à 8 In
Couple moteur
Au moment du démarrage, le couple
moteur est en moyenne de 1,5 à 2 fois le
couple nominal.
TD = 0,5 à 1,5 Tn
1.3. Schémas des circuits
Fonctionnement
Après avoir fermé le sectionneur, l'action sur S2 enclenche KM qui s'auto-alimente, l'arrêt est provoqué par
S1 ou le déclenchement de F2. C'est la fonction mémoire.
Schéma de puissance et schéma de commande
Le circuit de puissance est alimenté en triphasé, alors que le circuit de commande est pris entre phase et
neutre, ou alimenté par l'intermédiaire d'un transformateur de sécurité.
a. Circuit de puissance b. Circuit de commande
Q : Sectionneur F1 : Fusible du circuit de commande
KM1 : Contacteur S0 : Bouton poussoir arrêt
F2 : Relais thermique S1 : Bouton poussoir marche
KM1 : Contact auto-alimentation
Q : Contacts sur sectionneur
21
C.E.F.A. Electricité industrielle
Schéma de puissance - un sens de marche
Q
KM1
F2
Schéma de commande- un sens de marche
Q
F1
F2
S0
S1 KM1
KM1
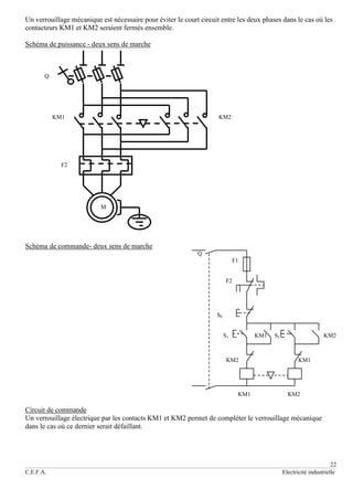
1.4. Inversion du sens de marche
Circuit de puissance
L'inversion du sens marche est obtenue en croisant deux des conducteurs de phases d'alimentation, le
troisième restant inchangé. On inverse ainsi le sens du champ tournant, et, par conséquent, le sens de
rotation.
M

22
C.E.F.A. Electricité industrielle
Un verrouillage mécanique est nécessaire pour éviter le court circuit entre les deux phases dans le cas où les
contacteurs KM1 et KM2 seraient fermés ensemble.
Schéma de puissance - deux sens de marche
Q
KM1 KM2
F2
Schéma de commande- deux sens de marche
Q
F1
F2
S0
S1 KM1 S2 KM2
KM2 KM1
KM1 KM2
Circuit de commande
Un verrouillage électrique par les contacts KM1 et KM2 permet de compléter le verrouillage mécanique
dans le cas où ce dernier serait défaillant.
M

23
C.E.F.A. Electricité industrielle
1.5. Couplage des enroulements
La plaque à borne a toujours les entrées des enroulements
repérées U, V, W et les sorties correspondantes X, Y, Z qui
sont raccordées comme sur le schéma.
Dans un moteur, chaque enroulement a une impédance Z
qui est constante et qui peut supporter une tension donnée.
Couplage étoile, symbole : Y
Les trois enroulements ont un point commun X,
Y, Z qui est réalisé sur la plaque à borne par des
barrettes.
Exemples : Un moteur 220/380 V sera branché
en étoile sur un réseau triphasé 380 V entre
phases, chaque enroulement supportant 220 V.
Couplage triangle, symbole : D
Les trois enroulements sont branchés en série et
les points communs reliés à chaque phase du
réseau.
Exemple : Un moteur 380/660 V sera branché
en triangle sur un réseau triphasé 380 V entre
phases.
1.6. Conclusion
Avantages
- Simplicité de l'appareillage
- Couple important
- Temps de démarrage minimal pour un moteur à cage
Inconvénients
- Appel de courant très important : ID = 4 à 8 In
- Démarrage brutal
Emplois
- Moteurs de petite puissance (P = 7,5 ch.) ou de puissance faible par rapport à la puissance du
réseau.
- Machines ne nécessitant pas une mise en vitesse progressive
- Machines nécessitant un bon couple de démarrage.
24
C.E.F.A. Electricité industrielle
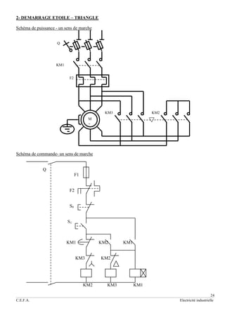
2- DEMARRAGE ETOILE – TRIANGLE
Schéma de puissance - un sens de marche
Q
KM1
F2
KM3 KM2
Schéma de commande- un sens de marche
Q
F1
F2
S0
S1
KM1 KM2 KM1
KM3 KM2
KM2 KM3 KM1
M

25
C.E.F.A. Electricité industrielle
Schéma de puissance - deux sens de marche
Q
KM1 KM2
F2
KM4 KM3
Schéma de commande- deux sens de marche
Q
F1
F2
S0
KM1 KM2
S1 KM1 S2 KM2 KA1 KM3 KA1
KM2 KM1 KM4 KM3
KM1 KM2 KM3 KM4 KA1
M

26
C.E.F.A. Electricité industrielle
CHAPITRE 6
DEMARRAGE DES MOTEURS ASYNCHRONES MONOPHASES
1. CHAMP D'APPLICATION
Machines à laver, réfrigérateurs, aspirateurs, moulins à café, séchoirs, tous ces appareils nécessitent l'emploi
de moteurs de puissance inférieure à 1 KW.
Etant donné que la plupart des installations particulières existent en monophasé, on constate un
développement important des moteurs de petite puissance alimentés en monophasé. Ce sont des moteurs
asynchrones monophasés (à induction) ou des moteurs universels (moteurs à collecteur).
2. PRINCIPE
Un champ alternatif monophasé peut être considéré comme la
somme de deux champs tournants symétriques
Si on place un disque en face de bobines parcourues par un
courant alternatif monophasé, il est immobile, étant sollicité par
les deux champs tournants. Le couple moteur au repos est nul.
Si on lance le disque dans un sens, il continue à tourner sans
cesse. Le champ qui tourne dans le même sens que le disque
exerce alors un couple supérieur à l'autre, il y a production d'un
couple moteur.
3. CARACTERISTIQUES
3.1 Couple de démarrage nul
Il est nécessaire d'utiliser des artifices tels que des
enroulements auxiliaires ou une spire de déphasage.
3.2 Vitesse
Comme en triphasé, elle dépend du nombre de pôles et la fréquence du réseau n =
p
f
- le glissement est plus élevé qu'en triphasé
- le facteur de puissance est plus faible
27
C.E.F.A. Electricité industrielle
3.3 Tension d'alimentation
U 2U
a. b.
Barrette de connexion
L'enroulement est réalisé en deux parties pouvant être couplées en série ou en parallèle pour une utilisation
sous la tension U et la tension 2U
Exemple:
a. Enroulement en parallèle : U = 110V
b. Enroulements en série : U = 220V
4. DEMARRAGE
4.1 Par lancement
Après la mise sous tension du stator, on peut lancer le moteur à la main dans un sens ou dans l'autre. Le
couple moteur résultant des deux couples inverses entretient la rotation dans le sens du lancement.
4.2 Par phase auxiliaire
La méthode de démarrage par phase auxiliaire
nécessite un:
- Décalage de 90° électrique de l'entrée principale de
l'entrée auxiliaire
- Déphasage de 90° dans les enroulements du courant
auxiliaire sur le courant principal par un condensateur. Ce
déphasage est obtenu à l'aide de C1.
Pour améliorer le couple de démarrage, un condensateur C2, en service au moment de la mise sous tension,
est mis hors circuit lorsque le moteur atteint sa pleine vitesse, soit par un interrupteur centrifuge, soit par un
contact temporisé
En effet, lors du démarrage, on a besoin d'un condensateur important; mais à vitesse nominale, le courant
dans un enroulement auxiliaire reste intense et risque de détériorer le condensateur ou l'enroulement.
5. SCHEMAS
Equipement de démarrage d'un moteur asynchrone monophasé avec auxiliaire et démarrage par
condensateur à deux sens de marche.
K
C1 C2
28
C.E.F.A. Electricité industrielle
5.1. Puissance 5.2. Commande
L1 L2 Q1 F1
F2
Q
S1
KM3
S2 KM1 S3 KM2
F2
KM3 KM3 KM1 KM2 KM3
KM1 KM2 KM2 KM1
Q1 KM1 KM2 KM3
6. TRANSFORMATION D'UN MOTEUR TRIPHASE EN MOTEUR MONOPHASE
Un moteur triphasé peut être alimenté éventuellement en monophasé. Deux phases dont l'une est inversée,
sont montées en série ou en parallèle selon le couplage. La troisième montée en série avec un condensateur,
fait office de phase auxiliaire.
6.1. Couplage série monophasé
Si le moteur en triphasé doit être couplé en étoile
sous la tension du réseau on utilise le couplage
série.
U
6.2 Couplage parallèle monophasé
Si le moteur en triphasé doit être couplé en triangle
sous la tension du réseau on utilise le couplage
parallèle.
3
U
29
C.E.F.A. Electricité industrielle
CHAPITRE 7
ETUDE DE CAS : BROYEUR DE CIMENT
1. DESCRIPTION
Dans une société de la place, on mélange dans un broyeur, des boules de fer, du clinker et gypse. L’ensemble
mis en rotation par un moteur électrique, permet de produire de la poudre de ciment.
2. FONCTIONNEMENT
Une action sur S1 enclenche une sonnerie qui avertit les travailleurs du démarrage du broyeur. Après 30
secondes, la sonnerie s’arrête et le broyeur démarre aussitôt. Une lampe H1 signale la phase de démarrage du
broyeur et une autre lampe H2, la fin du démarrage.
Une action sur So arrête le broyeur.
Pour ouvrir le broyeur, le positionnement de la porte (en haut ou en bas) est obtenu par action sur S2. Or S2
permet la rotation du broyeur dans le sens opposé à celui de S1 avec une marche par à coup, autorisée 45
secondes après l’arrêt du broyeur.
Pour la sécurité des ouvriers, un capteur F3 a été placé pour arrêter le broyeur et enclencher la sirène,
lorsqu’un ouvrier entre dans la zone interdite lors du fonctionnement.
NB : Le broyeur utilise en réalité le démarrage rotorique, mais pour notre exercice nous allons utiliser le
démarrage étoile – triangle.
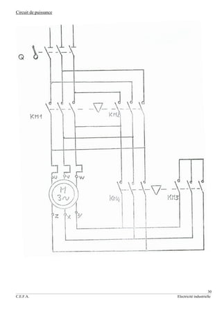
3. TRAVAIL DEMANDE
Etablissez le schéma développé du circuit de puissance
Etablissez le schéma développé du circuit de commande
30
C.E.F.A. Electricité industrielle
Circuit de puissance
31
C.E.F.A. Electricité industrielle
Circuit de commande
32
C.E.F.A. Electricité industrielle
CHAPITRE 8
MAINTENANCE DES INSTALLATIONS ELECTRIQUES
1. INTRODUCTION
 Entretenir un équipement : consiste à dépanner les appareils qui le constituent.
 Maintenir un équipement : consiste à prévenir les pannes. On essaie de prévoir les causes de
panne possible et d’y remédier pour éviter les arrêts indésirables des installations, entraînant ceux
de la production.
2. METHODES
 Maintenance préventive : Elle permet de prévenir les pannes en faisant des contrôles et des
mesures sur les appareils à un intervalle de temps donné. On vérifie le matériel (on effectue des
contrôles). Elle peut être systématique (exemple : remplacer l’huile, les charbons de mcc).
 Maintenance curative : Elle correspond à l’entretien. Elle intervient après une défaillance du
matériel.
3. OPERATIONS DE MAINTENANCE
La surveillance : on distingue 3 types : les inspections, les visites et les contrôles.
 Inspection : Sans arrêter la production, on relève périodiquement les anomalies et on effectue des
réglages.
 Visite : On effectue à périodicité déterminée, une liste d’opérations prédéfinies pouvant entraîner
l’arrêt de la production
 Contrôle : C’est la vérification de la conformité suivie d’un jugement.
Les révisions
C’est un ensemble d’examens, de contrôles et d’interventions effectués sur un équipement en vu d’assurer
son bon fonctionnement pendant une durée déterminée.
On distingue des révisions générales et des révisions partielles.
Dépannage et réparation
 Dépannage : C’est l’action sur un matériel défectueux en vu de le remettre en état
fonctionnement provisoire. Il sera suivi d’une réparation.
 Réparation : remettre en état de fonctionnement définitif après défaillance. L’équipement doit
être fonctionnelle à 100%.
Echange standard
Une pièce ou un sous-ensemble défectueux est remplacé par la pièce ou le sous-ensemble neuf ou réparé.
Documents de maintenance
 Le principal document de la maintenance est le dossier technique. Le dossier technique
comprendra le schéma électrique, le schéma de réalisation la nomenclature, l’implantation,
l’analyse de fonctionnement et la notice des appareils.
 La fiche historique : avec la nature des pannes.
33
C.E.F.A. Electricité industrielle
4. CONCLUSION
Les équipements modernes améliorent la productivité de l’industriel et le travail des ouvriers. Les machines
sont devenues de plus en plus performantes et les systèmes de commande de plus en plus coûteux. Il est vital
pour l’entreprise que la production s’arrête le moins possible. Ainsi les machines sont vendues avec un
contrat de maintenance permettant de palier tout problème. Le constructeur négligeant cet aspect sera
délaissé au profit de ceux qui le développent. Pour faciliter la maintenance, on s’achemine vers des auto-
diagnostiques de plus en plus puissant permettant des interventions rapides et peu coûteuses.
34
C.E.F.A. Electricité industrielle
CHAPITRE 9
DEPANNAGE D’UN EQUIPEMENT
Etant donné la variété de tous les équipements automatiques qui sont réalisables en utilisant uniquement le
matériel électromécanique, sectionneurs, contacteurs, relais, auxiliaires de commande, il n’est pas possible
de définir un processus de dépannage pouvant être suivi à la lettre et convenant à tous les schémas.
Néanmoins, nous allons vous proposer un processus général, méthode commune à tous les schémas.
1. VERIFICATIONS PRELIMINAIRES
Quels que soient le type, l’importance et la complexité de l’équipement, un certain nombre de vérifications
doivent être effectuées avant de procéder à un examen détaillé.
Tout d’abord, vérifier la présence de la tension aux bornes de l’alimentation, avec une lampe témoin ou
mieux, avec un voltmètre.
o Si l’équipement est muni d’un sectionneur :
Vérifier que sa fermeture est correcte et que son contact auxiliaire est établi.
o Si l’équipement est muni de fusibles :
Vérifier que les fusibles de protection du circuit de commande ne sont pas fondus.
o Si l’équipement comprend des relais de protection :
Vérifier que tous les relais sont bien armés.
2. PROCESSUS DE DEPANNAGE
Tous les vérifications préliminaires ayant été effectuées, si le montage est toujours à l’arrêt, deux cas
peuvent se présenter :
2.1. La tension est nulle
- mettre l’équipement hors tension ;
- vérifier le serrage de toutes les bornes et l’efficacité des contacts ;
- s’assurer également qu’aucune connexion n’est rompue ;
- vérifier tous les points du circuit à l’aide de la lampe test à pile.
2.2. La tension est normale
- S’assurer que la tension indiquée sur la bobine est sensiblement la même que celle indiquée sur le
voltmètre ;
- Vérifier le serrage des connexions de la bobine ;
- Changer de bobine si nécessaire.
- Le contacteur est sollicité, mais ne se ferme pas complètement :
o Le contacteur a subi un choc mécanique qui a plus ou moins bloqué la partie mobile, ou bien
un corps étranger s’est introduit à l’intérieur du circuit magnétique.
o Pour déceler ce défaut, il suffit de manœuvrer manuellement la partie mobile du circuit
magnétique (montage hors tension).
o La tension du réseau est trop faible ;
35
C.E.F.A. Electricité industrielle
o La bobine n’est pas adaptée à la tension réelle du réseau ;
o La longueur des fils de commande ou leur section insuffisante crée une chute de tension trop
importante au moment de l’appel de l’armature mobile du circuit magnétique.
3. REMARQUE
En présence d’un équipement plus complexe, il est recommandé d’examiner attentivement le schéma, puis
de le diviser en schémas élémentaires correspondants Chacun une fonction bien déterminée de l’équipement,
ensuite, de le contrôler chaque schéma partiel.
4. LES RELAIS THERMIQUES
Aucun entretien. La seule intervention éventuelle ne concerne que le réglage de la valeur du courant de
déclenchement qui doit être fonction du courant absorbé par le récepteur.
5. CE QU’IL NE FAUT JAMAIS FAIRE :
- Limer ou graisser les contacts ;
- « Bricoler » une pièce ou la remplacer par une pièce de rechange non adaptée ;
- Réarmer un relais de protection sans avoir recherché et supprimé la cause du déclenchement ;
- Après fusion d’un fusible et remplacement de celui-ci ; effectuer un nouvel essai sans avoir remédié au
défaut ;
- Court-circuiter ou remplacer un fusible par un fil. Remplacer un fusible par un autre fusible de calibre
supérieur sans une raison valable.
- Laisser un coffret ou une armoire ouvert sans nécessité, même pour une courte durée et surtout en
atmosphère poussiéreuse.
6. TRAVAUX PRATIQUES
a. Câblez les schémas électriques de démarrage direct deux sens de marche
b. Recherche de pannes
c. Evaluation
36
C.E.F.A. Electricité industrielle
CHAPITRE 10
LES SYMBOLES
Tableau comparatif des symboles les plus usuels
SYMBOLES GRAPHIQUES
38
C.E.F.A. Electricité industrielle
39
C.E.F.A. Electricité industrielle
MACHINES ELECTRIQUES TOURNANTES
41
C.E.F.A. Electricité industrielle
SOMMAIRE
CHAPITRE 1 - APPAREILLAGE DE L’INSTALLATION INDUSTRIELLE 2
1. CONTACTEUR 2
1.1 Présentation 2
1.2 Normalisation 2
2. RELAIS THERMIQUE 3
2.1. Présentation 3
2.2. Normalisation 3
3. SECTIONNEUR 3
3.1. Présentation 3
3.2. Normalisation 3
4. MOTEUR ASYNCHRONE 4
4.1. Présentation 4
4.2. Normalisation 4
5. CHOIX DE L’APPAREILLAGE 4
5.1. Choix d’un sectionneur 4
5.2. Choix d’un fusible 5
5.3. Choix des relais thermiques 7
5.4. Choix des relais magnétiques 7
5.5. Choix des contacteurs 8
CHAPITRE 2 – COMMANDE D’UN CONTACTEUR 11
1. COMMANDE MANUELLE PAR INTERRUPTEUR 11
2. COMMANDE MANUELLE PAR BOUTON POUSSOIR 11
3. COMMANDE AUTOMATIQUE 12
4. COMMANDE AUTOMATIQUE OU MANUELLE PAR COMMUTATEUR 12
5. COMMANDE MANUELLE À DISTANCE PAR DEUX BOUTONS POUSSOIR 13
6. COMMANDE MANUELLE A DISTANCE PAR PLUSIEURS BOUTONS POUSSOIR 13
7. COMMANDE A DISTANCE PAR A COUPS 14
8. COMMANDE INVERSEUR PAR FIN DE COURSE 15
9. BORNIERS 15
CHAPITRE 3 – ALIMENTATION DU CIRCUIT DE COMMANDE 16
1. ALIMENTATION ENTRE PHASES 16
2. ALIMENTATION SEPAREE 16
3. ALIMENTATION PAR TRANSFORMATEUR 16
4. ALIMENTATION A COURANT CONTINU 17
CHAPITRE 4 – SIGNALISATION 18
1. SIGNALISATION « SOUS TENSION » 18
2. SIGNALISATION « MARCHE » « ARRET » 18
3. SIGNALISATION DIRECTE AUX BORNES DU RECEPTEUR 19
4. SIGNALISATION DEFAUT 19
5. SIGNALISATION SONORE AVEC « ACQUIT » 19
CHAPITRE 5 - DEMARRAGE DES MOTEURS 20
1. DEMARRAGE DIRECT 20
1.1. Principe 20
1.2. Caractéristiques 20
1.3. Schémas des circuits 21
1.4. Inversion du sens de marche 21
1.5. Couplage des enroulements 15
1.6. Conclusion 15
2. DEMARRAGE ETOILE – TRIANGLE 23
42
C.E.F.A. Electricité industrielle
CHAPITRE 6 - DEMARRAGE DES MOTEURS ASYNCHRONES MONOPHASES 26
1. CHAMP D'APPLICATION 20
2. PRINCIPE 20
3. CARACTERISTIQUES 20
3.1. Couple de démarrage nul 20
3.2. Vitesse 20
3.3. Tension d'alimentation 20
4. DEMARRAGE 21
4.1. Par lancement 21
4.2. Par phase auxiliaire 21
5. SCHEMAS 21
5.1. Puissance 22
5.2. Commande 22
6. TRANSFORMATION D'UN MOTEUR TRIPHASE EN MOTEUR MONOPHASE 22
6.1. Couplage série monophasé 22
6.2. Couplage parallèle monophasé 22
CHAPITRE 7 – ETUDE DE CAS : BROYEUR DE CIMENT 23
1. DESCRIPTION 23
2. FONCTIONNEMENT 23
3. TRAVAIL DEMANDE 23
CHAPITRE 8 - MAINTENANCE DES INSTALLATIONS ELECTRIQUES 32
1. INTRODUCTION 24
2. METHODES 24
3. OPERATIONS DE MAINTENANCE 24
4. CONCLUSION 25
CHAPITRE 9 - DEPANNAGE D’UN EQUIPEMENT 34
1. VERIFICATIONS PRELIMINAIRES 26
1.1. Si l’équipement est muni d’un sectionneur 26
1.2. Si l’équipement est muni de fusibles 26
1.3. Si l’équipement comprend des relais de protection 26
2. PROCESSUS DE DEPANNAGE 26
2.1. La tension est nulle 26
2.2. La tension est normale 26
3. REMARQUE 27
4. CONSEILS PRATIQUES : CE QU’IL NE FAUT JAMAIS FAIRE 27
5. TRAVAUX PRATIQUES 27
CHAPITRE 10 – LES SYMBOLES 29

Electricité industrielle - cours.pdf

  • 1.
    E EL LE EC CT TR RI IC CI IT TE E I IN ND DU US ST TR RI IE EL LL LE E STAGIAIRE : Cecours a été élaboré par MM. TUO K. pour le compte du C.E.F.A.
  • 2.
    2 C.E.F.A. Electricité industrielle CHAPITRE1 L’APPAREILLAGE DE L’INSTALLATION INDUSTRIELLE 1- CONTACTEUR 1.1- Présentation C’est un appareil de connexion commandé par un électro-aimant. Il fonctionne en tout ou rien. Lorsque la bobine de l’électro-aimant est alimentée, le contacteur établit par l’intermédiaire de contacts (contacts de puissance ou pôles) le circuit entre le réseau d’alimentation et le récepteur. Le contacteur possède aussi des contacts auxiliaires. 1.2- Normalisation Bobine KM : s’il s’agit d’un contacteur principal KA : s’il s’agit d’un contacteur auxiliaire (B1, B2) s’il y a deux bobines dans le contacteur Contacts principaux 1 à 6 : Contacteur tripolaire 1 à 8 : Contacteur tétrapolaire 1 à 0 : Contacteur pintapolaire Contacts auxiliaires Deux chiffres permettent de repérer les contacts auxiliaires Les chiffres 1 et 2 permettent de repérer les contacts à ouverture (repos) 3-4 : Contacts à fermeture (travail) Contacts temporisés  Au travail 5 et 6 : contact spécial à ouverture 7 et 8 : contact spécial à fermeture  Au repos B A 1 2 1 3 4 5 6 2 12 22 32 1 11 21 31 3 4 A B 55 56 67 68 A B 55 56 67 68
  • 3.
    3 C.E.F.A. Electricité industrielle 2.RELAIS THERMIQUE 2.1. Présentation Il est destiné à assurer la protection thermique des récepteurs contre les surcharges faibles et prolongées, les déséquilibres ou manque de phase. Les organes de détection des surintensités sont des bilames insérés dans chacune des phases du récepteur à protéger. Elles agissent sur un contact de déclenchement qui doit être mise en série avec le circuit de la bobine du contacteur qui commande la mise sous tension du moteur. NB : Les relais magnétothermiques protègent contre les surcharges fortes et les courts-circuits. 2.2. Normalisation Bilames Contacts du relais Le chiffre 9 suivi de 5 et 6 ou 7 et 8 est réservé pour les contacts des relais de protection contre les surcharges (relais thermique, magnétique, différentiel…). 3. SECTIONNEUR 3.1. Présentation Cet appareil, placé en tête du montage, permet d’isoler les circuits électriques. Il possède : - Trois contacts de puissance établis par l’intermédiaire de barrettes de sectionnement ou de fusibles. - Deux contacts auxiliaires permettant l’isolement du circuit de commande. Le fait de fermer le sectionneur sans fusibles ou sans barrettes permet de faire des essais à vide (vérifier le fonctionnement de l’appareillage dans l’armoire). Seul le circuit de commande est alimenté. Remarque : Les contacts de puissance n’étant équipés d’aucun pouvoir de coupure (système de soufflage de l’arc électrique), le sectionneur ne doit jamais être manœuvré en charge. 3.2. Normalisation Sectionneur à broche Sectionneur à fusibles Contacts auxiliaires de sectionnement 95 97 98 96 6 4 2 1 3 5 1 3 5 1 3 5 13 23 24 14 6 4 2 6 4 2
  • 4.
    4 C.E.F.A. Electricité industrielle 4.MOTEUR ASYNCHRONE 4.1. Présentation L’entraînement des machines est assuré en majorité par des moteurs asynchrones alimentés en courant alternatif triphasé. Ce type de moteur s’impose en effet dans la plupart des applications par : - son prix de revient très avantageux - ses qualités de robustesse - sa facilité d’entretien. 4.2. Normalisation L1 L2 L3 Commande et protection U V W 5- CHOIX DE L’APPAREILLAGE 5.1- Choix d'un sectionneur Le choix d'un sectionneur peut se faire en fonction des différents éléments suivants: - La fonction du sectionnement o S'il s'agit seulement d'isoler le circuit aval, il faut déterminer et prendre en compte le courant maximal de chacun des pôles principaux. o S'il s'agit d'isoler et de supporter les cartouches fusibles destinés à protéger l'installation contre les courts-circuits et les surcharges, le choix dépend de la cartouche. - Dispositif de protection : le dispositif de protection est fonction du nombre de contacts auxiliaires de pré coupure à utilise (deux au maximum) et d'un éventuel dispositif de protection contre la marche en monophasé (fusible à percuteur ou relais différentiel) - La tension nominale : la tension de fonctionnement peut-être en continue ou en alternatif. - Le type de commande : la poignée de commande peut-être intérieure latérale ou intérieure frontale. Il peut-être du type extérieur avec dispositif de verrouillage à cadenas. - L'environnement : la connaissance de l'environnement permet d'identifier le traitement de protection du matériel. Au vu de tous ces paramètres, tous les constructeurs mettent à la disposition des techniciens des tableaux ou courbes, des sectionneurs. M 
  • 5.
    5 C.E.F.A. Electricité industrielle *Encliquetage direct sur profité chapeau largeur 35 mm ou platine Telequick Tableau des sectionneurs porte fusibles 5.2- Le choix d'un fusible Démarche à suivre : a- Selon l'emploi, on détermine la classe du fusible (gl ou aM). b- À partir du courant d'emploi, on détermine le calibre du fusible en respectant la règle de protection suivante. IB < ln < Iz avec IB: courant d'emploi du circuit qui est fonction du récepteur, ln : calibre nominal du fusible, Iz : courant admissible dans la canalisation. Pour la classe aM, on choisit le calibre fusible = au courant nominal du moteur en pleine charge. Pour la classe gI, on prend les cartouches dans le calibre correspondant au courant en pleine charge de l'installation à protéger. c- On précise la forme du fusible (cylindrique ou à couteau) et les dimensions qui dépendent du socle dans lequel il est monté. d- La désignation d'un fusible doit comporter : la classe gI ou aM, le calibre ln, la tension nominale, la forme et la taille, le système déclencheur éventuellement.
  • 6.
    6 C.E.F.A. Electricité industrielle Exemple:Fusible gI, 25 A, taille 10 x 38, 380 v avec percuteur. Choisir un fusible pour la protection d'un transformateur revient à suivre la méthodologie suivante: a- côté primaire : il faut installer une protection laissant passer les pointes du courant (aM). b- côté secondaire : il faut calculer le courant de tout circuit au point le plus éloigné de la protection du fusible. Il faut choisir le calibre afin d'avoir un temps de coupure de 5 secondes maximales pour le Icc calculé en utilisant des cartouches gr. (lire sur les courbes de fusion des fusibles) Cartouches fusibles Pour sectionneurs Classe aM : protection des appareils à fortes pointes d’intensité (moteur, électro-frein, etc. Classe gF ou g1 : protection des circuits sans pointe d’intensité importante (chauffage, etc.). Cartouches fusibles sans percuteur
  • 7.
    7 C.E.F.A. Electricité industrielle 5.3-Choix des relais thermiques Le choix est fonction de la nature et des conditions de fonctionnement du récepteur à protéger. Le courant absorbé par le récepteur doit être compris dans la plage de réglage de celui-ci. Cas des moteurs Il faut choisir et régler le Rt en fonction du courant mentionné sur la plaque signalétique du moteur: - Relais compensé différentiel à utiliser que dans les circuits équilibrés. - Relais compensé non différentiel à n'utiliser pour les récepteurs raccordés sur un réseau déséquilibré. Cas des circuits de distribution Il faut choisir le Rt en fonction des courants d'emploi. Remarque Lorsque l'équipement est difficilement accessible, il y a lieu d'utiliser un relais thermique à réarmement automatique. Il faudra alors faire attention au risque encouru par le personnel travaillant sur la machine. 5.4- Choix des relais magnétiques Cas des moteurs Pour choisir un Rm, il faut d'abord déterminer le courant maximal que le moteur peut absorber pendant le démarrage. Le relais choisi doit permettre le passage de ce courant de démarrage et déclenché pour Un et Id légèrement supérieur. Cas des circuits de distribution L'utilisation du Rm ne se justifie pas car associé à un contacteur, il ne doit pas jouer le rôle du dispositif de protection contre les cours circuits.
  • 8.
    8 C.E.F.A. Electricité industrielle Tableaudes relais tripolaires de protection thermique compensés et différentiels Courant alternatif ou continu 5.5. Choix des contacteurs Le choix d'un contacteur se fait en fonction d'un certains nombre de critères primordiaux tel que : le courant nominal, la durée de vie électrique, la catégorie d'emploi et d'autres critères non moins importants : la tension, le facteur de marche, le pouvoir de coupure, le pouvoir de fermeture, etc. Méthode de choix A partir des conditions de fonctionnement des récepteurs deux méthodes de choix se dégagent - le choix selon la catégorie d'emploi - le choix selon la durée de vie électrique
  • 9.
    9 C.E.F.A. Electricité industrielle Choixdes contacteurs selon la catégorie d’emploi (courant alternatif) Après avoir identifié la catégorie d'emploi du contacteur, le choix se fait en fonction de l'un des critères ou l'ensemble des critères suivants. o le courant d'emploi maximal (catégorie AC!) o le courant d'emploi ou la puissance d'emploi (catégorie AC3) o le courant coupé maximal en fonction des services (AC2, AC4)
  • 10.
    10 C.E.F.A. Electricité industrielle Choixen fonction de la durée de vie électrique On détermine d'abord la durée de vie du contacteur qui est le critère primordial puis en fonction d e la catégorie d'emploi, le choix se fait à partir de : o le courant d'emploi (AC!) o le courant coupé ou la puissance coupée (AC2, AC3, AC4).
  • 11.
    11 C.E.F.A. Electricité industrielle CHAPITRE2 COMMANDE D’UN CONTACTEUR 1. COMMANDE MANUELLE PAR INTERRUPTEUR Q F1 F2 S1 Q KM1 2. COMMANDE MANUELLE PAR BOUTON POUSSOIR Q F1 F2 S1 Q KM1 L’interrupteur est maintenu fermé par le dispositif d’accrochage. Lors d’une coupure de courant, le contacteur KM1 s’ouvre et le moteur s’arrête. Lorsque la tension réapparaît, le moteur se met en marche sans avertir l’opérateur. C’est un système d’insécurité. Si on remplace l’interrupteur par un bouton poussoir, on obtient une marche par impulsion ou par à coup. La bobine du contacteur est alimentée seulement pendant la durée de l’impulsion.
  • 12.
    12 C.E.F.A. Electricité industrielle 3.COMMANDE AUTOMATIQUE Q F1 F2 S1 Q KM1 4. COMMANDE AUTOMATIQUE OU MANUELLE PAR COMMUTATEUR Q F1 F2 1 2 3 S1 S2 Q KM1 Cette installation fonctionne sans surveillance. La fermeture du contacteur est commandée par un contact du flotteur. On peut alors commander un contacteur avec un flotteur, une horloge, un thermostat, pressostat, un détecteur de niveau, détecteur inductif ou capacitif, détecteur photoélectrique, etc. Auto : 1 Arrêt : 2 Manuel : 3  Commutateur sur AUTO : c’est commander le contacteur avec le flotteur  Commutateur sur MANUEL : c’est commander directement avec le contact du commutateur : marche forcée de KM1
  • 13.
    13 C.E.F.A. Electricité industrielle 5.COMMANDE MANUELLE A DISTANCE PAR DEUX BOUTONS POUSSOIRS Q F1 F2 S1 KM1 S2 Q KM1 6. COMMANDE MANUELLE A DISTANCE PAR PLUSIEURS BOUTONS POUSSOIRS Q F1 F2 S1 S2 S3 S4 KM1 Q KM1 Contact d’auto- maintien ou d’auto- alimentation L’action sur le bouton poussoir marche S2 permet d’alimenter le contacteur KM1, qui se maintient par son contact à fermeture placé en parallèle sur le bouton poussoir marche S2. Une action sur le bouton poussoir d’arrêt S1 placé en série, coupe le circuit. MARCHE : Action sur S2 ou S4, fermeture de KM1 qui s’automaintient par le contact (13 – 14) de KM1 ARRET : Action sur S1 ou S3, on a la mise hors tension de la bobine de KM1
  • 14.
    14 C.E.F.A. Electricité industrielle 7.COMMANDE A DISTANCE PAR A COUPS Par interrupteur Q F1 F2 S1 1 2 S3 S2 KM1 Q KM1 Par bouton poussoir Q F1 F2 S1 KM1 S3 S2 Q KM1 S1 : Arrêt S2 : Marche S3 en 1 : A coups S3 en 2 : Normal S1: Arrêt S2: Marche S3: A coups
  • 15.
    15 C.E.F.A. Electricité industrielle 8.COMMANDE INVERSEUR PAR FIN DE COURSE Q F1 F2 S1 3 S2 KM1 S3 KM2 2 4 5 7 S4 S5 6 8 KM2 KM1 Q KM1 KM2 9. BORNIERS 1 2 3 4 5 6 7 8 U V W M 3 Verrouillage électrique pour éviter la fermeture simultanée des deux contacteurs
  • 16.
    16 C.E.F.A. Electricité industrielle CHAPITRE3 ALIMENTATION DU CIRCUIT DE COMMANDE 1. ALIMENTATION ENTRE PHASES Le circuit de commande est raccordé entre deux phases du réseau d’alimentation. Sauf spécification particulière cette solution a été retenue pour tous les appareils. 2. ALIMENTATION SEPAREE Le circuit de commande est alimenté sous une tension différente du circuit de puissance. Pour transformer un équipement dont le circuit de commande est raccordé d’origine entre phases, en alimentation séparée, il suffit : - de supprimer les deux connexions se reliant aux phases L1 et L2, et de raccorder ces dernières sur la source d’alimentation séparée. - de remplacer si nécessaire les bobines des contacteurs. 3. ALIMENTATION PAR TRANSFORMATEUR Lorsque par mesure de sécurité, il est nécessaire d’alimenter le contacteur et son circuit de commande, notamment les auxiliaires de commande, sous une tension inférieure à la tension du réseau d’alimentation ou une tension d’isolation galvanique (séparation des circuits), il est possible d’utiliser un transformateur dont le primaire est adapté à la tension du réseau et le secondaire fournit la tension de commande. Les alimentations de basse tension présentent deux éventualités : - L’équipement comporte une ou deux contacteurs de petite taille. Dans ce cas, la puissance du transformateur nécessaire est faible. Il est alors conseillé d’alimenter les contacteurs à partir du transformateur. (Fig. 1) - L’équipement comporte un ou plusieurs contacteurs de forte taille ou un nombre important de petits contacteurs. Afin de limiter la puissance du transformateur, il est alors judicieux d’alimenter en basse tension un relais d’automatisme qui assure lui même la mise sous tension des autres contacteurs de l’équipement. La sécurité est garantie parce que les boutons poussoirs sont sous tension basse (tension de sécurité). (Fig. 2) F1 F3 F1 F3 F4 F4 F2 F2 KA1 KM1 KM1 Fig. 1 Fig. 2 KA1
  • 17.
    17 C.E.F.A. Electricité industrielle 4.ALIMENTATION A COURANT CONTINU Pour obtenir un fonctionnement silencieux, quelques soit le contacteur, il est conseillé d’utiliser une alimentation à courant continu. Ainsi, pour l’alimentation des contacteurs de grandes puissances, le dispositif permet : - D’augmenter considérablement la pression sur les pôles (le courant électrique ne s’annule plus lors des passages à zéro). - De maintenir le contacteur fermé même si le réseau d’alimentation est affecté d’une forte chute de tension. - De retarder légèrement l’ouverture du contacteur lors des micro-coupures. Q F1 F3 F4 C F2 KM1 Q
  • 18.
    18 C.E.F.A. Electricité industrielle CHAPITRE4 SIGNALISATION 1. SIGNALISATION « SOUS TENSION » Q F1 F2 X1 dispositif de commande Q H1 KM1 2. SIGNALISATION « MARCHE » ET « ARRET » Q F1 F1 F2 KM1 Q KM1 H1 Un voyant lumineux indique la mise sous tension de l’installation qui s’effectue généralement par l’intermédiaire d’un sectionneur placé en amont. Le voyant signale la fermeture d’un contacteur Contrairement au cas précédent, c’est l’ouverture du contacteur qui est signalée.
  • 19.
    19 C.E.F.A. Electricité industrielle 3.SIGNALISATION DIRECTE AUX BORNES DU RECEPTEUR F1 F2 KM1 H1 4. SIGNALISATION « DEFAUT » F1 F2 Q H1 KM1 5. SIGNALISATION SONORE AVEC « ACQUIT » F1 Contact défaut KA1 KA1 Acquit Q H1 KA1 Le voyant de signalisation est raccordé directement aux bornes du récepteur dont il signale la mise sous tension. Ce dispositif permet d’économiser un contact, mais si le récepteur : - Est inductif, la surtension qui se produit au moment de la coupure risque de détériorer la lampe. - Est défectueux, la lampe signale toujours sa bonne marche C’est le déclenchement du relais, assurant la protection du récepteur qui est signalé. Le contact qui commande le voyant est incorporé au relais de protection Le contact de défaut actionne la sirène qui reste sous tension tant que la personne intéressée n’a pas actionné le bouton poussoir « Acquittement ». Ce schéma peut être utilisé également pour réaliser une installation d’appel centralisé à plusieurs postes. Le contact défaut est alors remplacé par un ou plusieurs boutons poussoirs d’appel.
  • 20.
    20 C.E.F.A. Electricité industrielle CHAPITRE5 DEMARRAGE DES MOTEURS . 1. DEMARRAGE DIRECT 1.1. Principe C'est le procédé de démarrage le plus simple qui ne peut être exécuté qu'avec le moteur asynchrone à rotor à cage Les enroulements du stator sont couplés directement sur le réseau, le moteur démarre et atteint sa vitesse nominale. 1.2. Caractéristiques Intensité La courbe In = f (N) nous indique que la surintensité au moment du démarrage peut être de 4 à 8 fois l'intensité nominale; il en résulte une pointe d'intensité très importante. ID = 4 à 8 In Couple moteur Au moment du démarrage, le couple moteur est en moyenne de 1,5 à 2 fois le couple nominal. TD = 0,5 à 1,5 Tn 1.3. Schémas des circuits Fonctionnement Après avoir fermé le sectionneur, l'action sur S2 enclenche KM qui s'auto-alimente, l'arrêt est provoqué par S1 ou le déclenchement de F2. C'est la fonction mémoire. Schéma de puissance et schéma de commande Le circuit de puissance est alimenté en triphasé, alors que le circuit de commande est pris entre phase et neutre, ou alimenté par l'intermédiaire d'un transformateur de sécurité. a. Circuit de puissance b. Circuit de commande Q : Sectionneur F1 : Fusible du circuit de commande KM1 : Contacteur S0 : Bouton poussoir arrêt F2 : Relais thermique S1 : Bouton poussoir marche KM1 : Contact auto-alimentation Q : Contacts sur sectionneur
  • 21.
    21 C.E.F.A. Electricité industrielle Schémade puissance - un sens de marche Q KM1 F2 Schéma de commande- un sens de marche Q F1 F2 S0 S1 KM1 KM1 1.4. Inversion du sens de marche Circuit de puissance L'inversion du sens marche est obtenue en croisant deux des conducteurs de phases d'alimentation, le troisième restant inchangé. On inverse ainsi le sens du champ tournant, et, par conséquent, le sens de rotation. M 
  • 22.
    22 C.E.F.A. Electricité industrielle Unverrouillage mécanique est nécessaire pour éviter le court circuit entre les deux phases dans le cas où les contacteurs KM1 et KM2 seraient fermés ensemble. Schéma de puissance - deux sens de marche Q KM1 KM2 F2 Schéma de commande- deux sens de marche Q F1 F2 S0 S1 KM1 S2 KM2 KM2 KM1 KM1 KM2 Circuit de commande Un verrouillage électrique par les contacts KM1 et KM2 permet de compléter le verrouillage mécanique dans le cas où ce dernier serait défaillant. M 
  • 23.
    23 C.E.F.A. Electricité industrielle 1.5.Couplage des enroulements La plaque à borne a toujours les entrées des enroulements repérées U, V, W et les sorties correspondantes X, Y, Z qui sont raccordées comme sur le schéma. Dans un moteur, chaque enroulement a une impédance Z qui est constante et qui peut supporter une tension donnée. Couplage étoile, symbole : Y Les trois enroulements ont un point commun X, Y, Z qui est réalisé sur la plaque à borne par des barrettes. Exemples : Un moteur 220/380 V sera branché en étoile sur un réseau triphasé 380 V entre phases, chaque enroulement supportant 220 V. Couplage triangle, symbole : D Les trois enroulements sont branchés en série et les points communs reliés à chaque phase du réseau. Exemple : Un moteur 380/660 V sera branché en triangle sur un réseau triphasé 380 V entre phases. 1.6. Conclusion Avantages - Simplicité de l'appareillage - Couple important - Temps de démarrage minimal pour un moteur à cage Inconvénients - Appel de courant très important : ID = 4 à 8 In - Démarrage brutal Emplois - Moteurs de petite puissance (P = 7,5 ch.) ou de puissance faible par rapport à la puissance du réseau. - Machines ne nécessitant pas une mise en vitesse progressive - Machines nécessitant un bon couple de démarrage.
  • 24.
    24 C.E.F.A. Electricité industrielle 2-DEMARRAGE ETOILE – TRIANGLE Schéma de puissance - un sens de marche Q KM1 F2 KM3 KM2 Schéma de commande- un sens de marche Q F1 F2 S0 S1 KM1 KM2 KM1 KM3 KM2 KM2 KM3 KM1 M 
  • 25.
    25 C.E.F.A. Electricité industrielle Schémade puissance - deux sens de marche Q KM1 KM2 F2 KM4 KM3 Schéma de commande- deux sens de marche Q F1 F2 S0 KM1 KM2 S1 KM1 S2 KM2 KA1 KM3 KA1 KM2 KM1 KM4 KM3 KM1 KM2 KM3 KM4 KA1 M 
  • 26.
    26 C.E.F.A. Electricité industrielle CHAPITRE6 DEMARRAGE DES MOTEURS ASYNCHRONES MONOPHASES 1. CHAMP D'APPLICATION Machines à laver, réfrigérateurs, aspirateurs, moulins à café, séchoirs, tous ces appareils nécessitent l'emploi de moteurs de puissance inférieure à 1 KW. Etant donné que la plupart des installations particulières existent en monophasé, on constate un développement important des moteurs de petite puissance alimentés en monophasé. Ce sont des moteurs asynchrones monophasés (à induction) ou des moteurs universels (moteurs à collecteur). 2. PRINCIPE Un champ alternatif monophasé peut être considéré comme la somme de deux champs tournants symétriques Si on place un disque en face de bobines parcourues par un courant alternatif monophasé, il est immobile, étant sollicité par les deux champs tournants. Le couple moteur au repos est nul. Si on lance le disque dans un sens, il continue à tourner sans cesse. Le champ qui tourne dans le même sens que le disque exerce alors un couple supérieur à l'autre, il y a production d'un couple moteur. 3. CARACTERISTIQUES 3.1 Couple de démarrage nul Il est nécessaire d'utiliser des artifices tels que des enroulements auxiliaires ou une spire de déphasage. 3.2 Vitesse Comme en triphasé, elle dépend du nombre de pôles et la fréquence du réseau n = p f - le glissement est plus élevé qu'en triphasé - le facteur de puissance est plus faible
  • 27.
    27 C.E.F.A. Electricité industrielle 3.3Tension d'alimentation U 2U a. b. Barrette de connexion L'enroulement est réalisé en deux parties pouvant être couplées en série ou en parallèle pour une utilisation sous la tension U et la tension 2U Exemple: a. Enroulement en parallèle : U = 110V b. Enroulements en série : U = 220V 4. DEMARRAGE 4.1 Par lancement Après la mise sous tension du stator, on peut lancer le moteur à la main dans un sens ou dans l'autre. Le couple moteur résultant des deux couples inverses entretient la rotation dans le sens du lancement. 4.2 Par phase auxiliaire La méthode de démarrage par phase auxiliaire nécessite un: - Décalage de 90° électrique de l'entrée principale de l'entrée auxiliaire - Déphasage de 90° dans les enroulements du courant auxiliaire sur le courant principal par un condensateur. Ce déphasage est obtenu à l'aide de C1. Pour améliorer le couple de démarrage, un condensateur C2, en service au moment de la mise sous tension, est mis hors circuit lorsque le moteur atteint sa pleine vitesse, soit par un interrupteur centrifuge, soit par un contact temporisé En effet, lors du démarrage, on a besoin d'un condensateur important; mais à vitesse nominale, le courant dans un enroulement auxiliaire reste intense et risque de détériorer le condensateur ou l'enroulement. 5. SCHEMAS Equipement de démarrage d'un moteur asynchrone monophasé avec auxiliaire et démarrage par condensateur à deux sens de marche. K C1 C2
  • 28.
    28 C.E.F.A. Electricité industrielle 5.1.Puissance 5.2. Commande L1 L2 Q1 F1 F2 Q S1 KM3 S2 KM1 S3 KM2 F2 KM3 KM3 KM1 KM2 KM3 KM1 KM2 KM2 KM1 Q1 KM1 KM2 KM3 6. TRANSFORMATION D'UN MOTEUR TRIPHASE EN MOTEUR MONOPHASE Un moteur triphasé peut être alimenté éventuellement en monophasé. Deux phases dont l'une est inversée, sont montées en série ou en parallèle selon le couplage. La troisième montée en série avec un condensateur, fait office de phase auxiliaire. 6.1. Couplage série monophasé Si le moteur en triphasé doit être couplé en étoile sous la tension du réseau on utilise le couplage série. U 6.2 Couplage parallèle monophasé Si le moteur en triphasé doit être couplé en triangle sous la tension du réseau on utilise le couplage parallèle. 3 U
  • 29.
    29 C.E.F.A. Electricité industrielle CHAPITRE7 ETUDE DE CAS : BROYEUR DE CIMENT 1. DESCRIPTION Dans une société de la place, on mélange dans un broyeur, des boules de fer, du clinker et gypse. L’ensemble mis en rotation par un moteur électrique, permet de produire de la poudre de ciment. 2. FONCTIONNEMENT Une action sur S1 enclenche une sonnerie qui avertit les travailleurs du démarrage du broyeur. Après 30 secondes, la sonnerie s’arrête et le broyeur démarre aussitôt. Une lampe H1 signale la phase de démarrage du broyeur et une autre lampe H2, la fin du démarrage. Une action sur So arrête le broyeur. Pour ouvrir le broyeur, le positionnement de la porte (en haut ou en bas) est obtenu par action sur S2. Or S2 permet la rotation du broyeur dans le sens opposé à celui de S1 avec une marche par à coup, autorisée 45 secondes après l’arrêt du broyeur. Pour la sécurité des ouvriers, un capteur F3 a été placé pour arrêter le broyeur et enclencher la sirène, lorsqu’un ouvrier entre dans la zone interdite lors du fonctionnement. NB : Le broyeur utilise en réalité le démarrage rotorique, mais pour notre exercice nous allons utiliser le démarrage étoile – triangle. 3. TRAVAIL DEMANDE Etablissez le schéma développé du circuit de puissance Etablissez le schéma développé du circuit de commande
  • 30.
  • 31.
  • 32.
    32 C.E.F.A. Electricité industrielle CHAPITRE8 MAINTENANCE DES INSTALLATIONS ELECTRIQUES 1. INTRODUCTION  Entretenir un équipement : consiste à dépanner les appareils qui le constituent.  Maintenir un équipement : consiste à prévenir les pannes. On essaie de prévoir les causes de panne possible et d’y remédier pour éviter les arrêts indésirables des installations, entraînant ceux de la production. 2. METHODES  Maintenance préventive : Elle permet de prévenir les pannes en faisant des contrôles et des mesures sur les appareils à un intervalle de temps donné. On vérifie le matériel (on effectue des contrôles). Elle peut être systématique (exemple : remplacer l’huile, les charbons de mcc).  Maintenance curative : Elle correspond à l’entretien. Elle intervient après une défaillance du matériel. 3. OPERATIONS DE MAINTENANCE La surveillance : on distingue 3 types : les inspections, les visites et les contrôles.  Inspection : Sans arrêter la production, on relève périodiquement les anomalies et on effectue des réglages.  Visite : On effectue à périodicité déterminée, une liste d’opérations prédéfinies pouvant entraîner l’arrêt de la production  Contrôle : C’est la vérification de la conformité suivie d’un jugement. Les révisions C’est un ensemble d’examens, de contrôles et d’interventions effectués sur un équipement en vu d’assurer son bon fonctionnement pendant une durée déterminée. On distingue des révisions générales et des révisions partielles. Dépannage et réparation  Dépannage : C’est l’action sur un matériel défectueux en vu de le remettre en état fonctionnement provisoire. Il sera suivi d’une réparation.  Réparation : remettre en état de fonctionnement définitif après défaillance. L’équipement doit être fonctionnelle à 100%. Echange standard Une pièce ou un sous-ensemble défectueux est remplacé par la pièce ou le sous-ensemble neuf ou réparé. Documents de maintenance  Le principal document de la maintenance est le dossier technique. Le dossier technique comprendra le schéma électrique, le schéma de réalisation la nomenclature, l’implantation, l’analyse de fonctionnement et la notice des appareils.  La fiche historique : avec la nature des pannes.
  • 33.
    33 C.E.F.A. Electricité industrielle 4.CONCLUSION Les équipements modernes améliorent la productivité de l’industriel et le travail des ouvriers. Les machines sont devenues de plus en plus performantes et les systèmes de commande de plus en plus coûteux. Il est vital pour l’entreprise que la production s’arrête le moins possible. Ainsi les machines sont vendues avec un contrat de maintenance permettant de palier tout problème. Le constructeur négligeant cet aspect sera délaissé au profit de ceux qui le développent. Pour faciliter la maintenance, on s’achemine vers des auto- diagnostiques de plus en plus puissant permettant des interventions rapides et peu coûteuses.
  • 34.
    34 C.E.F.A. Electricité industrielle CHAPITRE9 DEPANNAGE D’UN EQUIPEMENT Etant donné la variété de tous les équipements automatiques qui sont réalisables en utilisant uniquement le matériel électromécanique, sectionneurs, contacteurs, relais, auxiliaires de commande, il n’est pas possible de définir un processus de dépannage pouvant être suivi à la lettre et convenant à tous les schémas. Néanmoins, nous allons vous proposer un processus général, méthode commune à tous les schémas. 1. VERIFICATIONS PRELIMINAIRES Quels que soient le type, l’importance et la complexité de l’équipement, un certain nombre de vérifications doivent être effectuées avant de procéder à un examen détaillé. Tout d’abord, vérifier la présence de la tension aux bornes de l’alimentation, avec une lampe témoin ou mieux, avec un voltmètre. o Si l’équipement est muni d’un sectionneur : Vérifier que sa fermeture est correcte et que son contact auxiliaire est établi. o Si l’équipement est muni de fusibles : Vérifier que les fusibles de protection du circuit de commande ne sont pas fondus. o Si l’équipement comprend des relais de protection : Vérifier que tous les relais sont bien armés. 2. PROCESSUS DE DEPANNAGE Tous les vérifications préliminaires ayant été effectuées, si le montage est toujours à l’arrêt, deux cas peuvent se présenter : 2.1. La tension est nulle - mettre l’équipement hors tension ; - vérifier le serrage de toutes les bornes et l’efficacité des contacts ; - s’assurer également qu’aucune connexion n’est rompue ; - vérifier tous les points du circuit à l’aide de la lampe test à pile. 2.2. La tension est normale - S’assurer que la tension indiquée sur la bobine est sensiblement la même que celle indiquée sur le voltmètre ; - Vérifier le serrage des connexions de la bobine ; - Changer de bobine si nécessaire. - Le contacteur est sollicité, mais ne se ferme pas complètement : o Le contacteur a subi un choc mécanique qui a plus ou moins bloqué la partie mobile, ou bien un corps étranger s’est introduit à l’intérieur du circuit magnétique. o Pour déceler ce défaut, il suffit de manœuvrer manuellement la partie mobile du circuit magnétique (montage hors tension). o La tension du réseau est trop faible ;
  • 35.
    35 C.E.F.A. Electricité industrielle oLa bobine n’est pas adaptée à la tension réelle du réseau ; o La longueur des fils de commande ou leur section insuffisante crée une chute de tension trop importante au moment de l’appel de l’armature mobile du circuit magnétique. 3. REMARQUE En présence d’un équipement plus complexe, il est recommandé d’examiner attentivement le schéma, puis de le diviser en schémas élémentaires correspondants Chacun une fonction bien déterminée de l’équipement, ensuite, de le contrôler chaque schéma partiel. 4. LES RELAIS THERMIQUES Aucun entretien. La seule intervention éventuelle ne concerne que le réglage de la valeur du courant de déclenchement qui doit être fonction du courant absorbé par le récepteur. 5. CE QU’IL NE FAUT JAMAIS FAIRE : - Limer ou graisser les contacts ; - « Bricoler » une pièce ou la remplacer par une pièce de rechange non adaptée ; - Réarmer un relais de protection sans avoir recherché et supprimé la cause du déclenchement ; - Après fusion d’un fusible et remplacement de celui-ci ; effectuer un nouvel essai sans avoir remédié au défaut ; - Court-circuiter ou remplacer un fusible par un fil. Remplacer un fusible par un autre fusible de calibre supérieur sans une raison valable. - Laisser un coffret ou une armoire ouvert sans nécessité, même pour une courte durée et surtout en atmosphère poussiéreuse. 6. TRAVAUX PRATIQUES a. Câblez les schémas électriques de démarrage direct deux sens de marche b. Recherche de pannes c. Evaluation
  • 36.
    36 C.E.F.A. Electricité industrielle CHAPITRE10 LES SYMBOLES Tableau comparatif des symboles les plus usuels
  • 37.
  • 38.
  • 39.
  • 40.
  • 41.
    41 C.E.F.A. Electricité industrielle SOMMAIRE CHAPITRE1 - APPAREILLAGE DE L’INSTALLATION INDUSTRIELLE 2 1. CONTACTEUR 2 1.1 Présentation 2 1.2 Normalisation 2 2. RELAIS THERMIQUE 3 2.1. Présentation 3 2.2. Normalisation 3 3. SECTIONNEUR 3 3.1. Présentation 3 3.2. Normalisation 3 4. MOTEUR ASYNCHRONE 4 4.1. Présentation 4 4.2. Normalisation 4 5. CHOIX DE L’APPAREILLAGE 4 5.1. Choix d’un sectionneur 4 5.2. Choix d’un fusible 5 5.3. Choix des relais thermiques 7 5.4. Choix des relais magnétiques 7 5.5. Choix des contacteurs 8 CHAPITRE 2 – COMMANDE D’UN CONTACTEUR 11 1. COMMANDE MANUELLE PAR INTERRUPTEUR 11 2. COMMANDE MANUELLE PAR BOUTON POUSSOIR 11 3. COMMANDE AUTOMATIQUE 12 4. COMMANDE AUTOMATIQUE OU MANUELLE PAR COMMUTATEUR 12 5. COMMANDE MANUELLE À DISTANCE PAR DEUX BOUTONS POUSSOIR 13 6. COMMANDE MANUELLE A DISTANCE PAR PLUSIEURS BOUTONS POUSSOIR 13 7. COMMANDE A DISTANCE PAR A COUPS 14 8. COMMANDE INVERSEUR PAR FIN DE COURSE 15 9. BORNIERS 15 CHAPITRE 3 – ALIMENTATION DU CIRCUIT DE COMMANDE 16 1. ALIMENTATION ENTRE PHASES 16 2. ALIMENTATION SEPAREE 16 3. ALIMENTATION PAR TRANSFORMATEUR 16 4. ALIMENTATION A COURANT CONTINU 17 CHAPITRE 4 – SIGNALISATION 18 1. SIGNALISATION « SOUS TENSION » 18 2. SIGNALISATION « MARCHE » « ARRET » 18 3. SIGNALISATION DIRECTE AUX BORNES DU RECEPTEUR 19 4. SIGNALISATION DEFAUT 19 5. SIGNALISATION SONORE AVEC « ACQUIT » 19 CHAPITRE 5 - DEMARRAGE DES MOTEURS 20 1. DEMARRAGE DIRECT 20 1.1. Principe 20 1.2. Caractéristiques 20 1.3. Schémas des circuits 21 1.4. Inversion du sens de marche 21 1.5. Couplage des enroulements 15 1.6. Conclusion 15 2. DEMARRAGE ETOILE – TRIANGLE 23
  • 42.
    42 C.E.F.A. Electricité industrielle CHAPITRE6 - DEMARRAGE DES MOTEURS ASYNCHRONES MONOPHASES 26 1. CHAMP D'APPLICATION 20 2. PRINCIPE 20 3. CARACTERISTIQUES 20 3.1. Couple de démarrage nul 20 3.2. Vitesse 20 3.3. Tension d'alimentation 20 4. DEMARRAGE 21 4.1. Par lancement 21 4.2. Par phase auxiliaire 21 5. SCHEMAS 21 5.1. Puissance 22 5.2. Commande 22 6. TRANSFORMATION D'UN MOTEUR TRIPHASE EN MOTEUR MONOPHASE 22 6.1. Couplage série monophasé 22 6.2. Couplage parallèle monophasé 22 CHAPITRE 7 – ETUDE DE CAS : BROYEUR DE CIMENT 23 1. DESCRIPTION 23 2. FONCTIONNEMENT 23 3. TRAVAIL DEMANDE 23 CHAPITRE 8 - MAINTENANCE DES INSTALLATIONS ELECTRIQUES 32 1. INTRODUCTION 24 2. METHODES 24 3. OPERATIONS DE MAINTENANCE 24 4. CONCLUSION 25 CHAPITRE 9 - DEPANNAGE D’UN EQUIPEMENT 34 1. VERIFICATIONS PRELIMINAIRES 26 1.1. Si l’équipement est muni d’un sectionneur 26 1.2. Si l’équipement est muni de fusibles 26 1.3. Si l’équipement comprend des relais de protection 26 2. PROCESSUS DE DEPANNAGE 26 2.1. La tension est nulle 26 2.2. La tension est normale 26 3. REMARQUE 27 4. CONSEILS PRATIQUES : CE QU’IL NE FAUT JAMAIS FAIRE 27 5. TRAVAUX PRATIQUES 27 CHAPITRE 10 – LES SYMBOLES 29