Eléments de Robotique

Université Blaise Pascal
T. Chateau

2012/2013

Cm
zm
Cn-2
Cm-1
Cn-1
Ck+L
zn

zk+1
zk+L
Ck

zk

C2
z0,z1
C1

C0

Ck+1

Cn
Table des matières
Liste des figures

iii

Liste des tableaux

vi

Introduction

1

1 Géométrie et cinématique du déplacement
1.1 Introduction . . . . . . . . . . . . . . . . . . . . . . . . . . . . . . . .
1.2 Géométrie du déplacement . . . . . . . . . . . . . . . . . . . . . . . .
1.2.1 Transformations homogènes . . . . . . . . . . . . . . . . . . .
1.2.1.1 Matrice de transformations homogènes de translation pure . . . . . . . . . . . . . . . . . . . . . . . .
1.2.1.2 Matrice de transformation homogène de rotation pure
1.2.1.3 Propriétés des matrices de transformation homogène
1.2.1.4 Rotation autour d’un axe u quelconque . . . . . . . .
1.2.2 Situation d’un solide dans l’espace . . . . . . . . . . . . . . . .
1.2.2.1 Description de la position d’un solide . . . . . . . . .
1.2.2.2 Description de l’orientation d’un solide . . . . . . . .
1.3 Cinématique du déplacement . . . . . . . . . . . . . . . . . . . . . . .
1.3.1 Mouvement circulaire . . . . . . . . . . . . . . . . . . . . . . .
1.3.2 Systèmes d’axes tournants . . . . . . . . . . . . . . . . . . . .
1.3.3 Systèmes d’axes mobiles dans le cas général . . . . . . . . . .
1.3.4 Lois de composition des vitesses . . . . . . . . . . . . . . . . .

3
3
3
3
4
5
7
12
16
16
19
24
24
24
25
26

2 Modélisation géométrique des robots - Commande en position des
robots
2.1 Introduction à la modélisation . . . . . . . . . . . . . . . . . . . . . .
2.2 Description de la structure géométrique d’un robot . . . . . . . . . .
2.2.1 Notations et règles générales . . . . . . . . . . . . . . . . . . .
2.2.2 Description des robots à chaîne ouverte simple . . . . . . . . .

29
29
30
30
30
ii

Table des matières
2.2.2.1
2.2.2.2

2.3

2.4

2.5

Cadre général . . . . . . . . . . . . . . . . . . . . . .
Paramétrage de Denavit-Hartenberg modifié (Khalil
86) . . . . . . . . . . . . . . . . . . . . . . . . . . . .
2.2.2.3 Exemples de description . . . . . . . . . . . . . . . .
2.2.3 Extensions aux chaînes fermées et arborescentes . . . . . . . .
2.2.3.1 Cas des chaînes arborescentes . . . . . . . . . . . . .
2.2.3.2 Cas des chaînes fermées . . . . . . . . . . . . . . . .
2.2.3.3 Exemples . . . . . . . . . . . . . . . . . . . . . . . .
Modélisation géométrique directe d’un robot . . . . . . . . . . . . . .
2.3.1 Matrice de transformation de l’organe terminal dans le repère
atelier . . . . . . . . . . . . . . . . . . . . . . . . . . . . . . .
2.3.2 Calcul du modèle géométrique direct d’un robot (MGD) . . .
2.3.3 Exemples de modèles géométriques directs . . . . . . . . . . .
2.3.3.1 MGD du robot AID-5 . . . . . . . . . . . . . . . . .
2.3.3.2 MGD du robot H-80 . . . . . . . . . . . . . . . . . .
2.3.3.3 MGD du robot AFMA . . . . . . . . . . . . . . . . .
Modélisation géométrique inverse d’un robot . . . . . . . . . . . . . .
2.4.1 Introduction . . . . . . . . . . . . . . . . . . . . . . . . . . . .
2.4.2 Position du problème . . . . . . . . . . . . . . . . . . . . . . .
2.4.3 Résolubilité d’un robot manipulateur (introduit par Pieper 68)
2.4.4 Nombre de solutions au problème inverse . . . . . . . . . . . .
2.4.5 Calcul du modèle géométrique inverse (MGI) . . . . . . . . . .
2.4.5.1 Présentation de la méthode . . . . . . . . . . . . . .
2.4.5.2 Solutions aux types d’équations rencontrés . . . . . .
2.4.6 MGI pour des robots à 6 ddl comportant un poignet rotule
(d’axes concourants) . . . . . . . . . . . . . . . . . . . . . . .
2.4.7 Exemples de calcul de MGI . . . . . . . . . . . . . . . . . . .
2.4.7.1 Calcul du MGI pour le robot AID-5 . . . . . . . . .
2.4.7.2 MGI du robot ACMA H-80 . . . . . . . . . . . . . .
Commande en position d’un robot . . . . . . . . . . . . . . . . . . . .
2.5.1 Introduction . . . . . . . . . . . . . . . . . . . . . . . . . . . .
2.5.2 Génération de mouvement dans l’espace articulaire . . . . . .
2.5.2.1 Interpolation polynomiale . . . . . . . . . . . . . . .
2.5.2.2 Loi bang-bang . . . . . . . . . . . . . . . . . . . . .
2.5.2.3 Loi trapèze : loi bang-bang avec palier de vitesse . .
2.5.3 Génération de mouvement rectiligne dans l’espace opérationnel

Conclusion

30
30
33
36
37
39
40
45
45
46
47
47
51
55
55
55
56
56
57
58
58
59
66
68
68
74
75
75
76
77
83
86
94
97
Table des matières

iii

Bibliographie

97
Table des figures
1.1 Passage d’un repère Ri à un repère Rf . . . . . . . . . . . . .
1.2 Translation pure d’un repère Rf par rapport à un repère Ri .
1.3 Rotation pure autour de l’axe x d’un repère Rf par rapport
repère Ri . . . . . . . . . . . . . . . . . . . . . . . . . . . . . .
1.4 Rotation pure autour de l’axe y d’un repère Rf par rapport
repère Ri . . . . . . . . . . . . . . . . . . . . . . . . . . . . . .
1.5 Rotation pure autour de l’axe z d’un repère Rf par rapport
repère Ri . . . . . . . . . . . . . . . . . . . . . . . . . . . . . .
1.6 Passage direct et inverse d’un repère Ri à un repère Rj . . . .
1.7 Transformations consécutives . . . . . . . . . . . . . . . . . .
1.8 Composition à droite et à gauche d’une transformation . . . .
1.9 Composition à droite d’une translation le long de l’axe y . . .
1.10 Composition à droite d’une translation le long de l’axe y . . .
1.11 Rotation autour d’un axe quelconque y . . . . . . . . . . . .
1.12 Coordonnées cartésiennes . . . . . . . . . . . . . . . . . . . . .
1.13 Coordonnées cylindriques . . . . . . . . . . . . . . . . . . . . .
1.14 Coordonnées sphériques . . . . . . . . . . . . . . . . . . . . .
1.15 Les angles d’Euler (convention z, x, z) . . . . . . . . . . . . . .
1.16 Les angles de Bryant (convention x, y, z) . . . . . . . . . . . .
1.17 Les angles de roulis-tangage-lacet (convention z, y, x) . . . . .
1.18 Les quaternions. . . . . . . . . . . . . . . . . . . . . . . . . .
1.19 Mouvement circulaire. . . . . . . . . . . . . . . . . . . . . . .
1.20 Système d’axes tournants. . . . . . . . . . . . . . . . . . . . .
1.21 Système d’axes mobiles : cas général. . . . . . . . . . . . . . .
1.22 Système d’axes mobiles : cas d’une chaîne articulaire simple. .

.
.
à
.
à
.
à
.
.
.
.
.
.
.
.
.
.
.
.
.
.
.
.
.
.

. .
. .
un
. .
un
. .
un
. .
. .
. .
. .
. .
. .
. .
. .
. .
. .
. .
. .
. .
. .
. .
. .
. .
. .

.
.

4
5

.

6

.

7

.
.
.
.
.
.
.
.
.
.
.
.
.
.
.
.
.
.

8
9
10
12
12
13
14
17
17
18
20
21
22
23
24
25
25
26

2.1 Robot à structure ouverte simple. . . . . . . . . . . . . . . . . . . . . 31
2.2 Paramètres géométriques dans le cas d’une structure ouverte simple.
32
2.3 Structure du robot AID-5. . . . . . . . . . . . . . . . . . . . . . . . . 34
2.4
2.5
2.6
2.7
2.8
2.9
2.10
2.11
2.12
2.13
2.14
2.15
2.16
2.17
2.18
2.19
2.20
2.21
2.22

Structure du robot ACMA H-80. . . . . . . . . . . . . . . . . . . . .
Robot à structure ouverte arborescente. . . . . . . . . . . . . . . . . .
Paramétrage nécessaire à un corps à plus de 2 articulations . . . . .
Repères nécessaires pour décrire une chaîne fermée . . . . . . . . . .
Synoptique du robot HITACHI-HPR . . . . . . . . . . . . . . . . . .
Synoptique du robot ASEA-IRB5 . . . . . . . . . . . . . . . . . . . .
Synoptique équivalent du robot ASEA-IRB5 . . . . . . . . . . . . . .
Repères nécessaires pour décrire un robot dans un atelier. . . . . . .
Boucles de génération de mouvement. (a) : dans l’espace articulaire (b) : dans l’espace opérationnel. . . . . . . . . . . . . . . . . . . . . .
Degré 1 : Evolution de la position, de la vitesse et de l’accélération .
Degré 3 : Evolution de la position, de la vitesse et de l’accélération .
Degré 5 : Evolution de la position, de la vitesse et de l’accélération .
Loi bang-bang : Evolution de la position, de la vitesse et de l’accélération . . . . . . . . . . . . . . . . . . . . . . . . . . . . . . . . . . .
Loi trapèze et bang-bang : Evolution de de la vitesse et de l’accélération . . . . . . . . . . . . . . . . . . . . . . . . . . . . . . . . . . . .
Loi trapèze : Evolution de la position, de la vitesse et de l’accélération
Loi trapèze : Evolution de la vitesse . . . . . . . . . . . . . . . . . .
Loi trapèze : Evolution de la vitesse . . . . . . . . . . . . . . . . . .
Loi trapèze : Evolution de la vitesse . . . . . . . . . . . . . . . . . .
Loi trapèze : cas où la vitesse n’est pas saturée . . . . . . . . . . . .

36
37
38
41
42
43
44
46
75
78
80
82
84
86
88
89
90
91
93
Liste des tableaux
2.1 Systèmes d’equations possibles . . . . . . . . . . . . . . . . . . . . . . 60
Introduction

Introduction

1
2

Introduction
Chapitre 1
Géométrie et cinématique du
déplacement
1.1

Introduction

L’étude de la robotique nécessite des connaissances de base en Géométrie et en
cinématique. Lorsque l’on désire commander un robot, il est nécessaire de situer ses
différentes parties mobiles les unes par rapport aux autres. Pour ce faire, on associe
un repère à chaque partie du robot (socle, effecteur, articulations). Le passage d’un
repère à un autre (position, orientation) s’exprime sous la forme d’une matrice de
passage.
La géométrie, et plus particulièrement les coordonnées et transformations homogènes sont des outils indispensables et très utilisés en robotique, qui font l’objet
d’une grande partie de ce chapitre.
La cinématique du déplacement, à travers la loi de composition des vitesses, fait
également partie des bases de la robotique. Elle est abordée dans la deuxième partie
du chapitre

1.2
1.2.1

Géométrie du déplacement
Transformations homogènes

Dans le cas d’une transformation homogène, le type de représentation est matriciel. Le passage d’un repère initial Ri à un repère final Rf s’exprime par l’intermédiaire d’une matrice M, appelée matrice de changement de repère, matrice de
passage ou matrice de transformation homogène (cf fig. 1.1). En robotique,
4

Géométrie et cinématique du déplacement
zi

M
zf

yf
Rf

Ri
yi

xf

xi

Figure 1.1 – Passage d’un repère Ri à un repère Rf
.
cette matrice de dimension (4 × 4), notée

sx
 sy
i
Tf = i Mf = (i sj i nj i aj i Pj ) = 
 sz
0

i

Mf s’exprime sous la forme :

nx ax Px
i
Rf i Pf
ny ay Py 
=
0
1
nz az Pz 
0 0 1

(1.1)

où i sj , i nj et i aj sont les vecteurs unitaires, suivant les axes xj , yj et zj du repère
Rj exprimés dans le repère Ri , où i Pj est le vecteur exprimant l’origine du repère
Rj dans le repère Ri , et avec :
– i Rf : matrice (3 × 3) des rotations donnant l’orientation notée i Af (de Rf dans
Ri )
– i Pf : matrice (3 × 1) des translations donnant la position
i

i

Mf =

Rf
0

i

Pf
1

i

=

Af
0

i

Pf
1

I3
0

=

i

Pf
1

i

×

Af 0
0 1

(1.2)

A l’aide de la matrice i Mf , il est possible d’exprimer les coordonnées d’un point
quelconque P de l’espace dans le repère Ri à partir de ces coordonnées homogènes
exprimées dans le repère Rf par la relation :


x
x′
 y
 y′ 
 ′  =i Mf . 
 z
 z 
1
1 R


i

1.2.1.1






i

=
Rf

Rf
0

i

Pf
1


x
 y 
. 
 z 
1 R


(1.3)

f

Matrice de transformations homogènes de translation pure

Lorsque deux repères sont uniquement liés par une translation, il est possible
de passer de l’un à l’autre en utilisant une matrice de transformation homogène de
1.2 Géométrie du déplacement

5
zf

zi

M
Rf
Ri

xf

yi
xi

b

yf

c
a

Figure 1.2 – Translation pure d’un repère Rf par rapport à un repère Ri
.
translation pure. Nous utiliserons les notations suivantes :
– Trans(a, b, c) pour indiquer une translation (a selon l’axe x, b selon l’axe y et
c selon l’axe z)
– Trans(x, a) pour indiquer une translation a selon l’axe x
– Trans(y, b) pour indiquer une translation b selon l’axe y
– Trans(z, c) pour indiquer une translation c selon l’axe z
Considérons une translation T composée de :
– d’une translation a selon l’axe x → Trans(a, 0, 0) = Trans(x, a)
– d’une translation b selon l’axe y → Trans(0, b, 0) = Trans(y, b)
– d’une translation c selon l’axe z → Trans(0, 0, c) = Trans(z, c)
La figure (1.2) montre un exemple de cette translation, associée à la matrice de
transformation homogène de translation pure i Mf . Les matrices de translation sont
liées par la relation suivante :
Trans(a, b, c) = Trans(a, 0, 0).Trans(0, b, 0).Trans(0, 0, c)
= Trans(x, a).Trans(y, b).Trans(z, c)

(1.4)

La matrice de transformation homogène de translation pure i Mf associée à cette
translation s’exprime alors :

 
 
 

0
0
a
a

I3
0 
I3
b  
I3
0  
I3
b  

.
.
=
M =
 
 
 

c 
0
0
c
0 0 0 1
0 0 0 1
0 0 0 1
0 0 0 1
(1.5)
1.2.1.2

Matrice de transformation homogène de rotation pure

Lorsque deux repères sont uniquement liés par une rotation, il est possible de
passer de l’un à l’autre en utilisant une matrice de transformation homogène de
rotation pure. Nous utiliserons les notations suivantes :
6

Géométrie et cinématique du déplacement
zi
θx
cos θx

cos θx
Rf

− sin θx
xi

Ri

yf
sin θx

zf

θx

yi

θx
xf

Figure 1.3 – Rotation pure autour de l’axe x d’un repère Rf par rapport à un
repère Ri
.
– Rot(x, θx ) pour indiquer une rotation (θx autour de l’axe x)
– Rot(y, θy ) pour indiquer une rotation (θy autour de l’axe y)
– Rot(z, θz ) pour indiquer une rotation (θz autour de l’axe z)
Dans la matrice de transformation homogène, la rotation est décrite par la matrice
R présentée dans l’équation (1.1) page 4. Lorsque la rotation est nulle autour des
trois axes, R devient la matrice identité (c’est le cas pour les rotations pures) :


1 0 0
R = I3 =  0 1 0 
(1.6)
0 0 1
Exemple 1 : Une rotation θx autour de l’axe x (cf fig. 1.3).

 

1
0
0
1 0
0
R =  0 cos θx − sin θx  =  0 cθx −sθx  (autre notation)
0 sin θx cos θx
0 sθx cθx
(1.7)
Notons (iRf , jRf , kRf ) la base associée au repère Rf et (iRi , jRi , kRi ) la
base associée au repère Ri . La matrice de rotation R est obtenue en
décrivant (iRf , jRf , kRf ) en fonction de (iRi , jRi , kRi ) :
iRf = 1.iRi + 0.jRi
+ 0.kRi
=
jRf = 0.iRi + cos θx .jRi + sin θx .kRi =
kRf = 0.iRi − sin θx .jRi + cos θx .kRi =

i

sf
nf
i
af
i

(1.8)
1.2 Géométrie du déplacement

7
zi

zf

θy

Ri

θy

Rf
xi

yf
yi

θy
xf

Figure 1.4 – Rotation pure autour de l’axe y d’un repère Rf par rapport à un
repère Ri
.
Exemple 2 :

cos θy
0
R=
− sin θy

Une rotation θy autour de l’axe y (cf fig. 1.4).
 

0 sin θy
cθy 0 sθy
1
0 = 0
1 0  (autre notation)
0 cos θy
−sθy 0 cθy
(1.9)

Exemple 3 : Une rotation θz autour de l’axe z (cf fig. 1.5).

 

cos θz − sin θz 0
cθz −sθz 0
R =  sin θz cos θz 0  =  sθz cθz 0  (autre notation)
0
0
1
0
0
1
(1.10)
Rq. : Une rotation autour d’un axe principal x, y ou z laisse
inchangé l’axe de rotation considéré.

1.2.1.3

Propriétés des matrices de transformation homogène

Nous avons vu (eq. 1.1 page
peut se mettre sous la forme :

sx
 sy
T =
 sz
0

4) qu’une matrice de transformation homogène T

nx ax Px
ny ay Py 
=
nz az Pz 
0 0 1

A P
0 1

(1.11)
8

Géométrie et cinématique du déplacement
zi
zf

θz
yf
Ri

θz

Rf
xi

yi

θz
xf

Figure 1.5 – Rotation pure autour de l’axe z d’un repère Rf par rapport à un
repère Ri
.
avec
– A : matrice (3 × 3) des rotations donnant l’orientation (de Rf dans Ri )
– P : matrice (3 × 1) des translations donnant la position (de Rf dans Ri )
Lorsque la tranformation, entre le repère de départ et la repère d’arrivée est une
translation pure, on a A = I3 . Dans le cas d’une rotation pure, on a P = O3 =
(0, 0, 0)T
Propriété 1 La matrice de rotation A est orthogonale :
A−1 = AT

(1.12)

Les éléments de la matrice A de rotation représentent les cosinus directeurs d’orientation (s, n, a). Elle ne contient que trois paramètres indépendants sur les 9 qui la
constituent (trois angles de rotations). Un des vecteurs s, n ou a se déduit du produit
vectoriel des deux autres, car ils constituent une base orthonormée. Par exemple :
s = na
n.a = 0
||n|| = ||a|| = 1

(1.13)

Propriété 2 Soit la matrice i Tj de transformation homogène prenant le repère Ri
pour l’amener sur le repère Rj . Si j Ti est la matrice de transformation homogène
prenant le repère Rj pour l’amener sur le repère Ri , alors i Tj et j Ti sont liés par la
relation :
−1
i
Tj
= j Ti
(1.14)
1.2 Géométrie du déplacement
i

zi

9

Tj
zj
j

Ri

yj
Rj

Ti = (i Tj )−1

yi

xj

xi

Figure 1.6 – Passage direct et inverse d’un repère Ri à un repère Rj
.
La figure 1.6 illustre cette propriété. Soit le point P1 de coordonnées homogènes
i
v1 = (i vx ,i vy ,i vz , 1)T dans Ri et j v1 = (j vx ,j vy ,j vz , 1)T dans Rj .On a :
j
i

v1 = j Ti .i v1 (a)
v1 = i Tj .j v1 (b)

(1.15)

En multipliant par (i Tj )−1 la relation (b) de l’équation (1.15), on obtient :
(i Tj )−1 .i v1 = (i Tj )−1 .i Tj .j v1

(1.16)

En utilisant la relation (a) de (1.15), on en déduit :
j

Ti =

i

Tj

−1

(1.17)

Propriété 3 Soit la matrice T de transformation homogène effectuant une rotation
d’angle θu autour de l’axe u (indifférement x, y ou z). La matrice inverse T −1 est
également une matrice de transformation homogène effectuant une rotation autour
de l’axe u, mais d’angle −θu :
(T )−1 = (Rot(u, θu ))−1 = Rot(u, −θu ) = Rot(−u, θu )

(1.18)

Par convention sur le sens de rotation, on a :
Rot(u, −θu ) = Rot(−u, θu )

Exemple : rotation autour de l’axe x.

1
0
0
 0 c(−θx ) −s(−θx )
Rot(x, −θx ) = 
 0 s(−θx ) c(−θx )
0
0
0


1
0
0
 0 cθx sθx
= 
 0 −sθx cθx
0
0
0


0
0 

0 
1

(1.19)


0
0 

0 
1
= (Rot(x, θx ))T
(1.20)
10

Géométrie et cinématique du déplacement
k−1

zk−1
0

T1

z1

y1

z0

xk−1

R1
R0

Tk

yk

Rk−1
yk−1

zk

Rk
xk

x1
y0

0

x0

Tk

Figure 1.7 – Transformations consécutives
.
En utilisant la propriété 1, on en déduit :
Rot(x, −θx ) = (Rot(x, θx ))T = (Rot(x, θx ))−1

(1.21)

Cette propriété est également vraie pour les matrices de transformation homogène
de translation pure :
Trans(u, d) = Trans(−u, d) = Trans(u, −d)

(1.22)

Propriété 4 L’inverse d’une matrice de transformation homogène peut être mis
sous la forme :


−sT .P
T
T
 AT −nT .P 
 = A −A .P
T −1 = 
(1.23)

0
1
−aT .P 
0
1
Propriété 5 Si un repère R0 a subit K transformations consécutives, et si la ieme
(i = 1, 2, .., k) est définie par rapport au repère Ri−1 , alors :
0

Tk =0 T1 .1 T2 .2 T3 .3 T4 ...k−1 Tk

(1.24)

La figure 1.7 illustre cette propriété.
Propriété 6 La composition de deux matrices n’est pas commutative
T1 .T2 =

A1 P1
0 1

.

A2 P2
0 1

=

A1 .A2 A1 .P2 + P1
0
1

(1.25)
1.2 Géométrie du déplacement
T2 .T1 =

A2 P2
0 1

.

11

A1 P1
0 1

=

A2 .A1 A2 .P1 + P2
0
1

(1.26)

Le produit des matrices de rotation n’étant pas commutatif, on en déduit :
T1 .T2 = T2 .T1

(1.27)

Propriété 7 Dans le cas de transformations consécutives autour du même axe u,
ce dernier reste inchangé par la transformation :
Rot(u, θ1 ).Rot(u, θ2 ) = Rot(u, θ1 + θ2 )

(1.28)

Trans(u, d).Rot(u, θ1 ) = Rot(u, θ1 ).Trans(u, d)

(1.29)

et,

Propriété 8 Soit un repère Rj , défini par une tansformation i Tj du repère Ri . Si
Rj subit une transformation T (définie par rapport au repère Ri ), alors la transformation totale amenant au repère final Rf s’exprime sous la forme :
i

Tf = T.i Tj

(1.30)

Si cette même transformation, amenant Rj sur Rf , est définie dans Rj par T ′ , alors
on a également :
i
(1.31)
Tf =i Tj .T ′
On en déduit la relation suivante :
T.i Tj =i Tj .T ′

(1.32)

Cette relation est illustrée par la figure 1.8.
Lorsqu’un repère Rj , défini par rapport à un repère Ri , subit une transformation
exprimée par rapport à ce même repère Rj , alors la transformation totale est
déduite par la composition à gauche de cette transformation.
Remarque sur la composition des transformations
Une composition à droite s’applique au repère final. (i Tj
Rot(x, θx )R0 .Trans(y, d)R1 ). La figure 1.9 illustre ce propos.

=

Une composition à gauche s’applique au repère initial.
( Tj =Rot(x, θx )R0 .Trans(y, d)R0 ). La figure 1.10 illustre ce propos.
i
12

Géométrie et cinématique du déplacement
T′
zf
i

Tj

zj

yj

zi

xf

Rj

Rf
yf

xj

Ri
yi

T.i Tj

xi

Figure 1.8 – Composition à droite et à gauche d’une transformation
.
z2
z0

y2

Trans(y, d)
R2

θx
z1

y1
R1

x1
x0

R0

θx

x2

y0

Rot(x, θx )
Figure 1.9 – Composition à droite d’une translation le long de l’axe y
.
1.2.1.4

Rotation autour d’un axe u quelconque

Soit un vecteur unitaire u quelconque. Soit Ri , un repère tel que son origine
coïncide avec celle du vecteur u. Les coordonnées de u sont alors, dans Rj :
u = (ux , uy , uz )T .
Soit Rj , un repère tel que :
– son origine coïncide avec celle du vecteur u,
– son axe zj se confonde avec le vecteur u.
La transformation homogène permettant le passage du repère Ri au repère Rj peut
être décomposée en :
– Rot(z, α) : une rotation autour de l’axe z d’un angle α tel que u ∈
au plan (zf , yf ),
– Rot(x, β) : une rotation autour de l’axe x d’un angle β.
1.2 Géométrie du déplacement

13
z2
y2

z0
R2
θx
y0

z1

x2
R1

Trans(y, d)

R0

Rot(x, θx )

x0

y1

x1

Figure 1.10 – Composition à droite d’une translation le long de l’axe y
.
On obtient la relation suivante :
i

Tj = Rot(z, α).Rot(x, β)

(1.33)

Cette relation est illustrée sur la figure 1.11 Le repère Ri subit donc deux transformations successives :
Ri == Rot(z, α) ==> Rf == Rot(x, β) ==> Rj

(1.34)

En développant la relation i Tj =Rot(z, α).Rot(x, β), on obtient :

cα −sα.cβ sα.sβ 0
  sα cα.cβ −cα.sβ 0 

=
  0
sβ
cβ
0 
0
0
0
1
(1.35)
i
A partir de la troisième colonne de la matrice Tj , on peut donc extraire les
coordonnées du vecteur u, exprimées dans le repère Ri :

 

ux
sα.sβ
u =  uy  =  −cα.sβ  = i aj
(1.36)
uz
cβ
 
1 0
0 0
cα −sα 0 0
 sα cα 0 0   0 cβ −sβ 0
.

 0
0 1 0   0 sβ cβ 0
0 0
0 1
0
0 0 1






Tourner autour de l’axe u (défini par le vecteur unitaire u) d’un angle θ, revient
donc à tourner autour de l’axe zj . D’où, d’après la propriété 8, définie page 11, on
en déduit que :
Rot(u, θ).i Tj =i Tj .Rot(z, θ)
(1.37)
soit :
Rot(u, θ) =i Tj .Rot(z, θ).(i Tj )−1

(1.38)
14

Géométrie et cinématique du déplacement
zj

zi zf
u
β
α

yj
β

yf
α

Ri Rf Rj

yi

β
xf
xi α xj
Figure 1.11 – Rotation autour d’un axe quelconque y
.
d’où :
Rot(u, θ) = Rot(z, α).Rot(x, β).Rot(z, θ).Rot(z, −α).Rot(x, −β)

(1.39)

En développant cette relation, on obtient :
Rot(u, θ) =

A(u, θ) 0
0
1

(1.40)

avec :

u2 .(1 − cθ) + cθ
ux uy .(1 − cθ) − uz .sθ ux uz .(1 − cθ) + uy .sθ
x
u2 .(1 − cθ) + cθ
uy uz .(1 − cθ) − ux .sθ 
A(u, θ) =  ux uy .(1 − cθ) + uz .sθ
y
ux uz .(1 − cθ) − uy .sθ uy uz .(1 − cθ) + ux .sθ
u2 .(1 − cθ) + cθ
z
(1.41)
On préfère utiliser la relation suivante (formule de Rodrigues) :


A(u, θ) = u.uT .(1 − cθ) + I3 .cθ + u.sθ
ˆ
avec :




0 −uz uy
0 −ux 
u =  uz
ˆ
−uy ux
0

(1.42)

(1.43)

u est appelée matrice de pré produit vectoriel. En effet, on a la relation :
ˆ
ˆ
u ∧ V = u.V

(1.44)
1.2 Géométrie du déplacement

15

pour tout vecteur V .
 

 
 
 

ux
Vx
uy .Vz − uz .Vy
0 −uz uy
Vx
 uy  ∧  Vy  =  uz .Vx − ux .Vz  =  uz
0 −ux  .  Vy 
uz
Vz
ux .Vy − uy .Vx
−uy ux
0
Vz
(1.45)
ˆ
Remarque représentation exponentielle eu.θ
ˆ
Nous avons vu que A(u, θ) = u.uT .(1 − cθ) + I3 .cθ + u.sθ avec :




0 −uz uy
u =  uz
ˆ
0 −ux 
−uy ux
0

De plus, on a :


 2

ux
ux ux uy ux uz
u.uT =  uy  .(ux uy uz ) =  ux uy u2 uy uz 
y
uz
ux uz uy uz u2
z


(1.46)

(1.47)

et ux 2 + ut 2 + uz 2 = 1


u2 − 1 ux uy
ux uz
x
u2 = u.ˆ = u.uT − I3 =  ux uy u2 − 1 uy uz 
ˆ
ˆu
y
ux uz
uy uz u2 − 1
z


(1.48)

Il est donc possible de réécrire la matrice de rotation sous la forme (autre forme de
la formule de Rodrigues) :
ˆ
ˆ
A(u, θ) = I3 + u.sθ + u2 .(1 − cθ)

(1.49)

En développant en série de Mac Laurin les fonctions sinus et cosinus, on a :
A(u, θ) = I3 + u. θ −
ˆ

θ3 θ5 θ7
+
−
+ ... + u2 .
ˆ
3!
5!
7!

θ2 θ4 θ6
−
+
− ...
2!
4!
6!

(1.50)

Comme on a u3 = −ˆ, u4 = −ˆ2 , u5 = u et u6 = u2 ,
ˆ
u ˆ
u ˆ
ˆ
ˆ
ˆ
on a donc :
A(u, θ) = I3 + u.θ +
ˆ

u
u
u
(ˆ.θ)2 (ˆ.θ)3 (ˆ.θ)4 (ˆ.θ)5
u
+
+
+
+ ...
2!
3!
4!
5!

(1.51)

Ce qui représente le développement en séries de Mac Laurin de la fonction exponentielle. Il vient que :
ˆ
u
(1.52)
A(u, θ) = exp(ˆ, θ) = eu.θ
16

Géométrie et cinématique du déplacement
Exemple : Rotation autour de l’axe x
ˆ
A(x, θ) = eu.θ = I3 + u.sθ + u2 .(1 − cθ)
ˆ
ˆ

(1.53)

avec u = (1, 0, 0)T


 



1 0 0
0 0 0
0 0
0
A(x, θ) =  0 1 0  +  0 0 −1  .sθ +  0 −1 0  .(1 − cθ)
0 0 1
0 1 0
0 0 −1
(1.54)


1 0
0
 0 cθ −sθ 
A(x, θ) =
(1.55)
0 sθ cθ

1.2.2

Situation d’un solide dans l’espace

La situation d’un solide dans l’expace est exprimée par une matrice de transformation homogène de la forme :

sx nx ax Px
 s ny ay Py 

T = y
 sz nz az Pz  =
0 0 0 1


A P
0 1

(1.56)

avec :
– A matrice (3 × 3) des rotations donnant l’oriantation du solide dans un repère
fixe R0
– P matrice (3 ×1) des translations donnant la position du solide dans un repère
fixe R0
Nous allons présenter quelques méthodes de description usuelles en robotique, pour
décrire la situation d’un repère Rn , associé à un solide quelconque, dans un repère
de référence R0 . Nous aborderons d’abord les différentes méthodes permettant de
représenter la position du solide, puis celles permettant de paramétrer l’orientation
de ce même solide.
1.2.2.1

Description de la position d’un solide

La position de l’origine d’un repère lié à un solide Rn , par rapport à un repère
de référence R0 , peut être définie par différents types de coordonnées :
– cartésiennes,
– cylindriques,
– sphériques.
Le choix d’une description est guidé par les caractéristiques du manipulateur (forme
du volume de travail) d’une part, et par la tâche à réaliser d’autre part.
1.2 Géométrie du déplacement

17
zn

z0

T
Rn

R0

xn

y0
x0

yn

Pz
Px

Py

Figure 1.12 – Coordonnées cartésiennes
.
zn
z0

T
Rn
yn

R0
x0

α

xn

y0

z

r
Figure 1.13 – Coordonnées cylindriques

.
Coordonnées cartésiennes C’est la méthode la plus générale. Elle donne directement les composantes du vecteur de position P . Cette représentation est utilisée
lorsque la structure du robot est cartésienne (par exemple : robot cartésien Afma,
Acma-p80, Ibm-7565,...). La figure 1.12 illustre cette représentation. La matrice
de position est la suivante :


Px
Pcar =  Py 
(1.57)
Pz
Coordonnées cylindriques Cette représentation est utilisée lorsque la structure
du robot est cylindrique (par exemple : robot Acma th8, Cincinnati-t3-363,...).
La figure 1.13 illustre cette représentation La matrice de position est la suivante :

Pcyl


r.cα
=  rsα 
z


(1.58)
18

Géométrie et cinématique du déplacement
zn
z0

T
Rn

β
r
R0
x0

α

yn
xn

y0

Figure 1.14 – Coordonnées sphériques
.
On peut exprimer les coordonnées cylindriques en fonction des coordonnées catésiennes par les relations suivantes :
2
2
r = Px + Py
α = atan2(Py , Px )
z = Pz

(1.59)

où la fonction atan2 permet le calcul de l’arc-tangente à partir de deux arguments.
Le résultat α ∈ [−180; 180], le quadrant étant fixé par l’analyse du signe de Px et
de Py . Seul les cas Px = 0 et Py = 0 constitue une singularité (impossibilité de
solution).
Coordonnées sphériques Cette représentation est utilisée lorsque la structure
du robot est spérique (par exemple : robot Unimation-1000/2000/4000, Psabarnabé, Stanford,...). La figure 1.14 illustre cette représentation. La matrice
de position est la suivante :

Psph




r.cα.sβ
=  r.sα.sβ 
r.cβ

(1.60)

On peut exprimer les coordonnées spériques en fonction des coordonnées cartésiennes, par les relations qui suivent :
2
2
r = Px + Py + Pz2
α = atan2(Py , Px ) si β = 0 ou α = 0 si β = 0
Py
α = atan2
, Pz si α = 0 ou β = atan2(Px , Pz ) si α = 0
sα

(1.61)
1.2 Géométrie du déplacement
1.2.2.2

19

Description de l’orientation d’un solide

Pour décrire d’orientation d’un solide, le choix de trois paramètres se révèle
parfois difficile. Aussi, on se ramène à des représentations redondantes. Les méthodes
les plus utilisées sont les suivantes :
– les cosinus directeurs,
– les angles d’Euler,
– les angles de Bryant,
– les angles Roulis-Tangage-Lacet,
– les paramètres d’Euler (ou Olingue-Rodrigues, quaternions).
Les cosinus directeurs La description de l’orientation d’un solide par les cosinus
directeurs est donnée par les trois vecteurs s, n et a constituant 9 éléments appelés
cosinus directeurs. La matrice d’orientation est la suivante :


sx nx ax
 sy ny ay 
(1.62)
sz nz az
La connaissance de deux vecteurs choisis parmi les 3 est suffissante (le troisième
est obtenu par le produit vectoriel des deux autres). 3 composantes seulement sont
indépendantes, mais dans le cas général, il est difficile de les fixer. La description de
l’orientation d’un solide par les cosinus directeurs est une méthode redondante.

Les angles d’Euler Dans ce cas, l’orientation d’un repère Rn associé à un solide
quelconque, dans un repère référence R0 , est déterminée par la spécification de 3
angles correspondants à trois rotations successives (z, x, z). La figure 1.15 illustre
cette méthode de desciption de l’orientation. Le plan (xn , yn ) coupe le plan (x0 , y0 )
suivant une droite ON appelée ligne modale, perpendiculaire aux axes z0 et zn . Son
sens positif est donné par le produit vectoriel zn ∧ z0 . Comme le montre la figure
1.15, les angles d’Euler sont définis comme suit :
– φ (précession) : angle entre x0 et ON tel que 0 ≤ φ ≤ 3600
– θ (nutation) : angle entre z0 et zn tel que 0 ≤ θ ≤ 1800
– ψ (rotation propre) : angle entre ON et xn tel que 0 ≤ ψ ≤ 3600
φ et ψ sont mesurés dans le sens donné par la règle du ‘“tire-bouchon” respectivement
autour des axes Z0 et Zn .
La composition de ces trois rotations permet de calculer la matrice d’orientation.
En effet, on a :
AEul = E(z, φ).A(x, θ).A(z, ψ)
(1.63)
d’où
AEul




cφ.cψ − sφ.cθ.sψ −cφ.sψ − sφ.cθ.cψ sφ.sθ
=  sφ.cψ + cφ.cθ.sψ −sφ.sψ + cφ.cθ.cψ −cφ.sθ 
sθ.sψ
sθ.cψ
cθ

(1.64)
20

Géométrie et cinématique du déplacement
z0
yn

φ
ψ

θ

zn

R0
O

y0

pl
(x

n,

yn

)

Rn

xn
x0
pl(x0 , y0 )

φ

θ

ψ
N

Figure 1.15 – Les angles d’Euler (convention z, x, z)
.
Remarque : Au lieu de prendre par convention l’ordre (z, x, z), certains auteurs prennent l’ordre (z, y, z), ce qui donne :
AEul = A(z, φ).A(y, θ).A(z, ψ)

(1.65)

On peut montrer, que pour passer des cosinus directeurs aux angle d’Euler, les
relations suivantes sont utilisables :
φ = atan2(−ax , ay ) à 1800 près (φ = atan2(ax , −ay ) + 1800) (3éme colonne)
θ = atan2(sφ.ax − cφ.ay , az ) (3éme colonne)
ψ = atan2(−cφ.nx − sφ.ny , cφ.sx + sφ.sy ) (1/2éme colonne)
(1.66)
Dans le cas où ax et ay sont nuls, les axes z0 et zn sont confondus ; donc θ est nul ou
égal à 1800 . Cette situation correspond à un cas singulier, dans lequel, les rotations
φ et psi s’effectuent autour du même axe et c’est la quantité φ + ψ qui intervient.
Lorsque θ = 0, on a alors :
AEul = A(z, φ + ψ)
(1.67)
on en déduit que φ + ψ =antan2(−nx , ny ) (2ème colonne de la matrice de rotation
autour de z) et φ = 0
Les angles de Bryant Comme pour les angles d’Euler, l’orientation d’un repère
Rn , associé à un solide quelconque, dans un repère de référence R0 , est déterminée
1.2 Géométrie du déplacement

φ3
z2
zn

21
z0

z1
φ2

yn

φ1

φ2 y 1 y 2
R0

Rn
φ1
x0
x1

φ3
φ1
y0

φ2
φ3
x2

xn

Figure 1.16 – Les angles de Bryant (convention x, y, z)
.
par la spécification de 3 angles correspondants à 3 rotations successives (x, y, z). La
figure 1.16 illustre cette description de l’orientation.
La composition de ces trois notations permet de calculer la matrice d’orientation.
En effet, on a :
ABry = A(x, φ1 ).A(y, φ2).A(z, φ3 )
(1.68)
d’où
ABry


cφ2 .cφ3 cφ1 .sφ3 + sφ1 .sφ2 .cφ3 sφ1 .sφ3 − cφ1 .sφ2 .cφ3
=  −cφ2 .sφ3 cφ1 .cφ3 − sφ1 .sφ2 .sφ3 sφ1 .cφ3 + cφ1 .sφ2 .sφ3 
sφ2
−sφ1 .cφ2
cφ1 .cφ2


(1.69)

On peut montrer, que le passage des cosinus directeurs aux angles de Bryant est
obtenu par les relations suivantes :
φ1 = atan2(−nz , az ) à 1800 près (φ1 = atan2(nz , −az ) + 1800 ) (3/4éme colonne)
φ2 = atan2(sz , cφ1 .az − sφ1 .nz ) (3éme ligne)
φ3 = atan2(cφ1 .nx + sφ1 .ax , cφ1 .ny + sφ1 .ay ) (3/4éme colonne)
(1.70)
Les roulis-tangage-lacet Comme pour les deux représentations précédentes,
l’orientation d’un repère Rn , associé à un solide quelconque, dans un repère de
référence R0 , est déterminée par la spécification de 3 angles correspondants à 3 rotations successives (z, y, x). La figure 1.17 illustre cette description de l’orientation.
La composition de ces trois rotations permet de calculer la matrice d’orientation :
ARTL = A(z, φ).A(y, θ).A(x, ψ)

(1.71)
22

Géométrie et cinématique du déplacement

z2
zn

z1 z0
φ
θ

ψ

yn
ψ

R0

y1
φ

Rn

x0

φ

θ

y0

θ

ψ
x2 xn
x1

Figure 1.17 – Les angles de roulis-tangage-lacet (convention z, y, x)
.
d’où
ARTL




cφ.cθ cφ.sθ.sψ − sφ.cψ cφ.sθ.cψ + sφ.sψ
=  sφ.cθ sφ.sθ.sψ + cφ.cψ sφ.sθ.cψ − cφ.sψ 
−sθ
cθ.sψ
cθ.cψ

(1.72)

On peut montrer, que le passage des cosinus directeurs aux angles RTL est obtenu
par les relations suivantes :
φ = atan2(sy , sx ) à 1800 près (φ = atan2(−sy , −sx ) + 1800) (1ère colonne)
θ = atan2(−sz , cφ.sx + sφ.sy ) (1ère colonne)
ψ = atan2(sφ.ax − cφ.ay , −sφ.nx + cφ.ny ) (3/4éme colonne)
(1.73)
IL y a une singularité si sy = sx = 0
Les paramètres d’Euler (les quaternions) Dans ce cas, l’orientation d’un repère Rn , associé à un solide quelconque, dans un repère de référence R0 , est déterminée par la spécification des 4 paramètres (λ1 , λ2 , λ3 , λ4 ) qui décrivent une rotation
unique équivalente θ ∈ [−180; 180] autour d’un axe de vecteur unitaire u, tels que :
λ1 = cos

θ
2

λ2 = ux . sin

θ
2

λ3 = uy . sin

θ
2

λ4 = uz . sin

θ
2

(1.74)
1.2 Géométrie du déplacement

23
z0
θ

zn

u
yn

R0
Rn
x0

y0

xn

Figure 1.18 – Les quaternions.
.
Ces paramètres ont les propriétés suivantes :
2λ2 − 1 = cos θ
1

(a) et λ2 + λ2 + λ2 + λ2 = 1 (b)
1
2
3
4

(1.75)

La figure 1.18 illustre cette description de l’orientation La matrice d’orientation est
la suivante :

AQuat


2.(λ2 + λ2 ) − 1 2.(λ2 .λ3 − λ1 .λ4 ) 2.(λ2 .λ4 + λ1 .λ3 )
1
2
=  2.(λ2 .λ3 + λ1 .λ4 ) 2.(λ2 + λ2 ) − 1 2.(λ3 .λ4 − λ1 .λ2 ) 
1
3
2.(λ2 .λ4 − λ1 .λ3 ) 2.(λ3 .λ4 + λ1 λ2 ) 2.(λ2 + λ2 ) − 1
1
4


(1.76)

Pour démontrer cette relation, il suffit de remplacer les expressions des paramètres
(λ1 , λ2 , λ3 , λ4 ) dans la matrice et de comparer avec celle obtenue pour une rotation
autour d’un axe u quelconque.
On peut montrer, que le passage des cosinus directeurs aux quaternions (paramètres d’Euler) est obtenu par les relations suivantes :
λ1 = 1 .
2

sx + ny + az + 1

1
λ2 = 2 .sign(nx − ay ).

sx − ny − az + 1

1
λ3 = 2 .sign(ax − sz ).

−sx + ny − az + 1

1
λ4 = 2 .sign(sy − nx ).

−sx − ny + az + 1

La fonction sign(A) donne le signe d’un réel A

(1.77)
24

Géométrie et cinématique du déplacement
zf
P
R
Rf

θ s
A

yf

xf
Figure 1.19 – Mouvement circulaire.
.

1.3

Cinématique du déplacement

Dans cette partie, nous aborderons les principales relations utilisables lorsqu’il
s’agit de décrire le mouvement d’un corps solide.

1.3.1

Mouvement circulaire

Soit un point P qui se déplace sur un cercle de rayon R (cf fig. 1.19) :
– s représente la longueur de l’arc AP donc s = R.θ
– θ est l’angle au centre du cercle correspondant
La vitesse tangentielle ν peut s’exprimer en fonction de la vitesse angulaire de rotation ω par la relation suivante :
ν=

1.3.2

dθ
ds
= R. = R.ω
dt
dt

(1.78)

Systèmes d’axes tournants

Considérons un système d’axes tournants représenté par la figure 1.20 Soit Rf
(xz , yf , zf ) un repère absolu d’origine O que nous considérons fixe.
Soit Rm (xm , ym , zm ) un repère tournant par rapport à Rf de même origine O.
Soit A = (A1 , A2 , A3 )T (vecteur position de A exprimé dans Rm ), un point variable
dans l’espace.
Alors, on a :
dA
dA
(1.79)
=
+ω∧A
dt
dt
Rf

Rm

où
V (A)Rf = V (A)Rm + ω ∧ A

(1.80)

où ω représente la vitesse angulaire de rotation du repère Rm par rapport au repère
Rf .
1.3 Cinématique du déplacement

25
zf
A

zm

ym

Rf
Rm

yf

xf

xm

Figure 1.20 – Système d’axes tournants.
.
P
zf

r

zm

Q Rm

R

Rf

yf

O

ym

xm

xf

Figure 1.21 – Système d’axes mobiles : cas général.
.

1.3.3

Systèmes d’axes mobiles dans le cas général

Soit Rf (xf , yf , zf ) un repère absolu d’origine O que nous considérons fixe.
Soit Rm (xm , ym , zm ) un repère mobile par rapport à Rf d’origine Q.
Supposons que R soit le vecteur position de l’origine Q par rapport à O.
.
Supposons que R soit la vitesse du point Q par rapport à O.
Supposons que r soit le vecteur position d’un point P quelconque par rapport à Q.
.
Soit r la vitesse du point P par rapport à Q.
La figure 1.21 représente la scène. On a alors :
V (P )Rf = V (Q)Rf + V (P )Rm + ω ∧ r

(1.81)

soit :
dr
dt

.

=R +
Rf

dr
dt

Rm

+ω∧r

où : .
– R exprime la vitesse du point Q par rapport à O,

(1.82)
26

Géométrie et cinématique du déplacement

z0

xi+1 zi+1

z1

x1

C1
R1

zi

y1

Ci

C0
R0

Ci+1
zf

y0

Ri

x0

Ri+1 y
i+1
yi

xi
Figure 1.22 – Système d’axes mobiles : cas d’une chaîne articulaire simple.
.
dr
exprime le mouvement du aux translations,
dt
Rm
– ω ∧ r exprime le mouvement du aux rotations,
– ω exprime la vitesse angulaire de rotation de Rm par rapport à Rf .

–

.

Remarque 1 : Si Q est confondu avec O, alors : R= 0. Il s’en suit
que :
dr
dr
=
+ω∧r
(1.83)
dt
dt
Rf

qui s’écrit également :

.

Rm

.

r Rf =rRm +ω ∧ r

(1.84)

Ce qui permet de vérifier les relations précédentes.
Remarque 2 : Si, de plus, P ne varie par en amplitude (c’est à dire
.
en position), alors r Rm = 0. Il s’en suit que :
.

r Rf = ω ∧ r = −r ∧ ω = ω .r
ˆ

(1.85)

avec
– ω exprime la vitesse angulaire de rotation de Rm par rapport à Rf ,
– ω exprime la matrice de pré produit vectoriel (tenseur ω ).
ˆ
˜

1.3.4

Lois de composition des vitesses

Le but de cette partie est d’établir une relation de récurrence pour une chaine
articulaire formée par les corps successifs d’un robot. A chacun des corps Ci , on
associe un repère Ri . De plus, on considère R0 comme repère fixe. La figure 1.22
décrit le cas d’une chaîne articulaire. Dans ce cas, on peut exprimer la vitesse de
1.3 Cinématique du déplacement

27

translation associée au corps Ci+1 par la relation suivante :
(R )

(R )

(R )

(R )

V (Oi+1 )(R0) = V (Oi )(R0) + V (Oi+1 )(Ri ) + Ωi (R0) ∧ Oi Oi+1
i
i
i
i

(1.86)

où :
(R )
– V (Oi+1)(R0) représente la vitesse de translation de translation de Oi+1 par
i
rapport à O0 exprimée dans le repère Ri ,
(R )
– V (Oi)(R0) représente la vitesse de translation de Oi par rapport à O0 exprimée
i
dans le repère Ri ,
(R )
– V (Oi+1)(Ri ) représente la vitesse de translation de Oi+1 par rapport à Oi exi
primée dans le repère Ri ,
(R )
– Ωi (R0) représente la vitesse angulaire de rotation du repère Ri par rapport au
i
repère R0 exprimée dans le repère Ri ,
– Oi+1 Oi représente le vecteur position de l’origine Oi+1 dans le repère Ri .
De même, on peut écrire :
(R )

(R )

V (Oi+1 )(R0) = i Ai+1 .V (Oi+1 )(R0 )
i
i+1

(1.87)

et
(R )

(R )

0
V (Oi )(R0) = i Ai−1 .V (Oi)(Ri−1 )
i

i
i

(1.88)

Ai+1 représente la matrice rotation de la matrice de transformation homogène
Ti+1 permettant le passage du repère Ri à Ri+1 .
Pour les vitesses angulaires de rotation, nous utiliserons la relation suivante :
(R )

(R

)

(R )

Ωi (R0) = Ωi (Ri−1 ) + i Ai−1 .Ωi−1 (R0 )
i
i−1
i−1

(1.89)

avec :
(R )
– Ωi (R0) représente la vitesse angulaire de rotation du repère Ri par rapport à
i
R0 exprimée dans le repère Ri ,
(R
)
– Ωi (Ri−1 ) représente la vitesse angulaire de rotation du repère Ri par rapport à
i−1
Ri−1 exprimée dans le repère Ri−1 ,
i
– Ai−1 représente la matrice de rotation (cosinus directeur) de la matrice de
transformation homogène permettant le passage du repère Ri au repère Ri−1 ,
(R )
– Ωi−1 (R0 ) représente la vitesse angulaire de rotation du repère Ri−1 par rapport
i−1
à R0 exprimée dans le repère Ri−1 .
Ces trois relations permettent de calculer les vitesses de rotation et de translation
de n’importe quel segment du robot, en particulier celles de l’organe terminal.
Chapitre 2
Modélisation géométrique des robots
- Commande en position des robots
2.1

Introduction à la modélisation

La conception et la commande des robots manipulateurs nécessitent le calcul de
certains modèles mathématiques, tels que les
– modèles de transformation entre :
– l’espace opérationnel X (dans lequel on définit la situation de l’organe terminal)
– l’espace articulaire q (dans lequel on définit la configuration du robot)
X ←→ q

(2.1)

– modèles dynamiques définissant les équations du mouvement du robot, qui
permettent d’établir les relations entre les couples et les forces exercés par les
actionneurs et, les positions, vitesses et accélérations articulaires :
. ..
Γ = f (q, q , q , F )
(2.2)
Parmi les modèles de transformation, on distingue :
– les modèles géométriques direct et inverse qui expriment la situation de l’organe terminal en fonction de la configuration du mécanisme articulaire et inversement.
X ←→ q
(2.3)
– les modèles différentiels direct et inverse qui expriment la différentielle de la
situation de l’organe terminal en fonction de la configuration du mécanisme
articulaire et inversement.
.
.
(2.4)
X ←→ q
La plupart de ces modèles sont établis par calcul symbolique. Dans cet objectif, un
logiciel de calcul symbolique est un outil essentiel.
Modélisation géométrique des robots - Commande en position des
robots

30

L’Ecole Centrale de Nantes a mis sur le marché un logiciel appelé SYMORO+
[KC] qui permet l’étude, le développement et le test de tous ces modèles.
Il existe des méthodes et notations utilisées pour la modélisation des robots. La
plus répandue est celle de Denavit-Hartenberg [DH55]. Elle est bien adaptée pour des
structures ouvertes simples, mais présente des ambiguïtés lorsqu’elle est appliquée
sur des robots à structures fermées ou arborescentes. Dans les années 80, Wisama
Khalil propose une modification de cette méthode : méthode de Denavit-Hartenberg
modifiée (dîte méthode de Khalil). Cette méthode permet la description homogène
en un nombre minimum de paramètres pour la représentation des différentes structures de robots généralement rencontrés.

2.2
2.2.1

Description de la structure géométrique d’un
robot
Notations et règles générales

La méthode générale est basée sur les règles et conventions suivantes :
– la variable de l’articulation j est notée qj
– le corps j est noté Cj
– les corps sont supposés parfaitement rigides. Ils sont connectés par des articulations considérées comme idéales.
– le repère Rj est lié au corps Cj
– l’axe du zj repère Rj , est porté par l’axe articulaire j
– les paramètres qui permettent de définir le repère Rj , par rapport au repère
antécédent sont munis de l’indice j

2.2.2

Description des robots à chaîne ouverte simple

2.2.2.1

Cadre général

Le système est composé de n + 1 corps C0 , C1 , C2 ...Cn et de n articulations (voir
figure 2.1).
Le corps C0 désigne la base du robot. Le corps Cn est celui qui porte l’organe
terminal.
L’articulation j connecte le corps Cj au corps Cj−1.
2.2.2.2

Paramétrage de Denavit-Hartenberg modifié (Khalil 86)

Le repère Rj fixé au corps Cj est défini de telle sorte que :
– zj est porté par l’axe articulaire j
– xj est porté par la perpendiculaire commune aux axes zj et zj+1 Si zj et zj+1
sont parallèles ou colinéaires, le choix de xj n’est pas unique. Dans ce cas, des
2.2 Description de la structure géométrique d’un robot

31

Cn−2
Cn−1
C4
C3
C2

Cn

C1
C0
Figure 2.1 – Robot à structure ouverte simple.
.
considérations de symétrie ou de simplicité permettent alors un choix rationnel.
– yj est l’axe qui forme un trièdre direct : yj = zj ∧ xj
Le passage du repère Rj−1 au repère Rj , s’exprime en fonction de 4 paramètres
suivants :
– αj est l’angle entre les axes zj−1 et zj correspondant à une rotation autour de
xj−1
– dj est la distance entre les axes zj−1 et zj le long de xj−1
– θj est l’angle entre les axes xj−1 et xj correspondant à une rotation autour de
zj
– rj est la distance entre les axes xj−1 et xj correspondant à une rotation autour
de zj
La figure 2.2 représente la définition des paramètres de Denavit-Hartenberg modifié.
La variable articulaire qj (associée à la j eme articulation ) est soit :
– θj si l’articulation est de type rotoïde (σj = 0)
– rj si l’articulation est de type prismatique (σj = 1)
On a donc : qj = σ j .θj + σj .rj
La matrice de transformation homogène définissant le repère Rj dans le repère
Rj−1 est donnée par :
j−1

Tj = Rot(x, αj ).Trans(x, dj ).Rot(z, θj ).Trans(z, rj )

(2.5)

Soit :

Cθj
−Sθj
0
dj
 Cαj .Sθj Cαj .Cθj −Sαj −rj .Sαj 
j−1

Tj = 
 Sαj .Sθj Sαj .Cθj Cαj
rj .Cαj 
0
0
0
1


(2.6)
32

Modélisation géométrique des robots - Commande en position des
robots
xj

zj−1

θj

zj

Oj
αj

rj
xj−1

dj

Oj−1
Figure 2.2 – Paramètres géométriques dans le cas d’une structure ouverte simple.
.
On remarque que : j−1 Aj = Rot(x, αj ).Rot(z, θj ) car les opérations de rotations/translations successives sur un même axe sont commutatives.
On en déduit la matrice de transformation homogène inverse permettant le passage du repère Rj au repère Rj−1 .
j

Tj−1 = Trans(z, −rj ).Rot(z, −θj ).Trans(x, −dj ).Rot(x, −αj )

dont l’expression littérale est la suivante (j Aj−1 = (j−1Aj )T ) :

Cθj Cαj .Sθj Sαj .Sθj −dj .Cθj
 −Sθj Cαj .Cθj Sαj .Cθj dj .Sθj
j
Tj−1 = 
 0
−Sαj
Cαj
−rj
0
0
0
1






(2.7)

(2.8)

Remarques :
1. Pour la définition de R0 , le choix le plus simple consiste à confondre R0 avec
R1 pour la valeur particulière de l’articulation q1 = 0. Cela implique que z0 et
z1 sont confondus, et que x0 = x1 pour q1 = 0.
2. De même, en définissant l’axe xn du repère Rn comme étant colinéaire à xn−1
lorsque qn = 0, on rend les paramètres rn = θn = 0.
3. Pour une articulation j prismatique, l’axe zj est parallèle à l’axe de l’articulation, mais la position sur cet axe peut être quelconque.
4. Cette méthode de description fixe la configuration zéro du robot tel que
q = q = qi0 = 0. On peut choisir une autre configuration (quelconque), en
procédant au changement de variable suivant : q c = q − q i0 avec
2.2 Description de la structure géométrique d’un robot

33

– qc = nouveau vecteur des variables articulaires
– qi0 = configuration à zéro choisie
5. De même, si la convention axe positif est changée au montage du robot, il
suffit d’effectuer le changement de variable : q c = −q.

6. Lorsqu’une cinématique est constituée par 2 ou plusieurs axes parallèles consécutifs, on peut se ramener à une seule matrice de transformation équivalente en
faisant intervenir la somme des variables articulaires. Par exemple, si αj+1 = 0,
les axes zj et zj+1 sont parallèles. Dans ce cas, on a :
j−1

Tj+1 =j−1 Tj .j Tj+1 =
Rot(x, αj ).Trans(x, dj ).Rot(z, θj ).Trans(z, rj ).Rot(x, αj+1).Trans(x, dj+1 ).
Rot(z, θj+1 ).Trans(z, rj+1 ) =
Rot(x, αj ).Trans(x, dj ).Rot(z, θj ).Trans(z, rj ).
Trans(x, dj+1 ).Rot(z, θj+1 ).Trans(z, rj+1 ) =
Rot(x, αj ).Trans(x, dj ).Trans(z, rj ).Rot(z, θj + θj+1 ).Trans(x, dj+1 ).Trans(z, rj+1 ) =
Rot(x, αj ).Trans(x, dj ).Rot(z, θj + θj+1 ).Trans(z, rj + rj+1).Trans(x, dj+1)
(2.9)

Ce qui peut se réécrire sous la forme suivante :

C(θj + θj+1 )
−S(θj + θj+1 )
0
dj + dj+1 .Cθj
 Cαj .S(θj + θj+1 ) Cαj .C(θj + θj+1 ) −Sαj dj+1.Cαj .Sθj − (rj + rj+1 ).Sαj
j−1
Tj+1 = 
 Sαj .S(θj + θj+1 ) Sαj .C(θj + θj+1 ) Cαj dj+1.Sαj .Sθj + (rj + rj+1 ).Cαj
0
0
0
1
(2.10)
La transformation inverse a pour expression :

j+1

Tj−1








C(θj + θj+1 ) Cαj .S(θj + θj+1 ) Sαj .S(θj + θj+1 ) −dj .C(θj + θj+1 ) − dj+1 .Cθj+1
 −S(θj + θj+1 ) Cαj .C(θj + θj+1 ) Sαj .C(θj + θj+1 ) dj .S(θj + θj+1 ) + dj+1 .Sθj+1 

=


0
−Sαj .
Cαj
−(rj + rj+1 )
0
0
0
1
(2.11)

Dans ces deux expressions, on voit apparaître les sommes θj + θj+1 et rj + rj+1 (cf
(2.9)).
2.2.2.3



Exemples de description

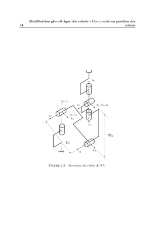
Robot manipulateur AID-5 (RRR,RRR) La figure 2.3 montre le synoptique
du robot AID-5.
Le robot AID-5 est constitué :
– d’un porteur muni de 3 degrés de liberté (RRR)
– d’un poignet muni de 3 degrés de liberté (RRR) : une rotule d’axes concourants
Pour déterminer les paramètres de Denavit-Hartenberg, il faut procéder par étapes :
1. disposer les axes zj sur les axes articulaires
2. disposer R0 tel que R0 = R1 pour q1 = 0
34

Modélisation géométrique des robots - Commande en position des
robots

z6
+

z0 , z1
z5

+

x4 , x5 , x6

+

x0 , x1
x2

z2

+

z4
+

RL4
D3

+

z3

x3

Figure 2.3 – Structure du robot AID-5.
.
2.2 Description de la structure géométrique d’un robot

35

3. disposer les axes xj en prenant la convention xj = zj ∧ zj+1 (trièdre direct).
Il se peut que pour des raisons de simplicité, qu’il soit préférable de prendre
la convention trièdre indirect.
Dans le cas du robot AID-5, les axes zj sont posés de manière automatique en
fonction des conventions de signes sur les axes articulaires (angle positif selon la
règle du vissage selon l’axe).
Le tableau des paramètres de Denavit-Hartenberg relatif au robot AID-5 est le
suivant :
R0
R1
R2
R3
R4
R5

J
=⇒ R1
=⇒ R2
=⇒ R3
=⇒ R4
=⇒ R5
=⇒ R6

σj
0
0
0
0
0
0

αj
0
90
0
90
−90
−90

dj
0
0
D3
0
0
0

θj
rj
q1
0
q2
0
q3
0
q4 RL4
q5
0
q6
0

Trièdre
D/I
D
D/I
D
I
I

Plusieurs problèmes sont mis à jour par cet exemple.
Tout d’abord, le choix des vecteurs xj n’est pas unique. En effet, si l’on regarde les
liaisons R0 =⇒ R1 et R2 =⇒ R3 , les axes zj sont soit colinéaires, soit parallèles. Pour
simplifier la représentation, dans les deux cas on choisit l’axe xj correspondant de
tel sorte que le passage à l’axe xj+1 soit simple (même direction). Dans certains cas,
on regarde également la liaison précédente, de manière à simplifier la représentation
du passage de l’axe xj−1 à l’axe xj .
Pour le choix de x6 , il serait nécessaire de connaître la direction de l’axe xe du
repère outil. En l’abscence de celle-ci, le choix est arbitraire mais doit être simple.
Par conséquent, seul deux choix sont retenus en général. Ces deux choix diffèrent
par une direction opposée. Dans notre exemple, nous avons retenu la simplification
du passage R5 =⇒ R6 qui conduit à avoir x5 = x6 pour q6 = 0.
Dans la dernière colonne de ce tableau figure la convention prise (pour chaque
liaison), pour fixer la direction de l’axe xj . Il est clair que cela revient au même
en définitif, si l’on considère que les repères R0 et Rn sont les mêmes selon les
conventions prises. La seule différence porte sur la présence et non présence dans le
tableau de rotations supplémentaires de valeur 180o = π (qui marchent par paire).
Robot manipulateur ACMA H-80 (PRR, RRR) La figure 2.4 montre le
synoptique de ce robot.
On considère le robot ACMA H-80 constitué :
– d’un porteur muni de 3 degrés de liberté (PRR)
– d’un poignet muni de 3 degrés de liberté (RRR) : une rotule d’axes concourants
Dans le cas du robot ACMA H-80, les axes zj sont posés de manière automatique
en fonction des conventions de signes sur les axes articulaires (angle positif selon la
règle du vissage selon l’axe).
Modélisation géométrique des robots - Commande en position des
robots

36

D3

D4

+

z0 , z1

z2

z4

z3

+

z5

+

+

x0 , x1
x2

x4 , x5 , x6

x3

+
+

z6

Figure 2.4 – Structure du robot ACMA H-80.
.
Le tableau des paramètres de Denavit-Hartenberg relatif au robot ACMA H-80
est le suivant :

R0
R1
R2
R3
R4
R5

J
=⇒ R1
=⇒ R2
=⇒ R3
=⇒ R4
=⇒ R5
=⇒ R6

σj
1
0
0
0
0
0

αj
0
0
0
0
−90
−90

dj
0
0
D3
D4
0
0

θj
0
q2
q3
q4
q5
q6

rj
q1
0
0
0
0
0

Trièdre
D/I
D/I
D/I
I
I
D/I

Robot cartésien AFMA (PPP, RRR) (Voir td)

2.2.3

Extensions aux chaînes fermées et arborescentes

En dehors des chaînes ouvertes simples, il est possible de rencontrer :
– des chaînes ouvertes arborescentes
– des chaînes fermées
– des chaînes composées de chaînes simples, arborescentes ou non, et de chaînes
fermées
2.2 Description de la structure géométrique d’un robot

Cm

37

zm
Cn−2

Cm−1

Cn−1
Ck+L

zk+1

zk+L
Ck

zn
Ck+1

zk

C2
z0 , z1
C1
C0
Figure 2.5 – Robot à structure ouverte arborescente.
.
2.2.3.1

Cas des chaînes arborescentes

Une structure (ou chaîne) est constituée par n + 1 corps, n articulations et r
organes terminaux.
Par convention, les corps et articulations sont numérotés de la manière suivante :
– la base est fixe et constitue le corps C0
– les numéros des corps et articulations sont croissants sur chaque branche en
partant de la base (corps C0 ), vers un organe terminal
– le corps Cj est articulé autour de l’articulation j par rapport au corps Ca(j) ,
qui représente le corps antécédent sur la chaîne menant au corps Cj en partant
de la base.
La topologie du système est complètement définie par la donnée des indices
a(j) pour j = 1, 2, ..n
La figure 2.5 représente un exemple de chaîne arborescente avec deux organes terminaux.
Les différents repères sont placés de la manière suivante :
– Rj est fixe par rapport au corps Cj
– zj est porté par l’axe articulaire j
Jusque là, ces notations sont les mêmes que celles employées pour une chaîne ouverte
simple.

Cn
38

Modélisation géométrique des robots - Commande en position des
robots

Figure 2.6 – Paramétrage nécessaire à un corps à plus de 2 articulations
.

Si le corps Ci′ , avec i = a(j), n’a pas d’arborescence, l’axe xi est choisi comme
la perpendiculaire commune aux axes zi , zj . En effet, le repère Rj est successeur au
repère Ri . On retient les 4 paramètres de Denavit-Hartenberg pour paramétrer la
liaison.
Si le corps Ci porte plus d’un corps, Cj et Ck par exemple, il faut alors choisir
l’axe xi sur l’une des deux perpendiculaires communes à zi , zj ou à zi , zk . Le bon
sens est de retenir la préférence à la chaîne menant à l’organe terminal principal,
ou bien à la chaîne qui possède le plus grand nombre de corps articulés. Deux cas
doivent être envisagés pour définir un repère lié à Cj successeur de Ci .
– si l’axe xi est la perpendiculaire commune à zi , zj alors la matrice de passage
i
Tj (du repère Ri au repère Rj ) s’écrit comme dans le cas des chaînes simples
à partir des 4 paramètres (αj , dj , θj , rj ).
– Si l’axe xi est la perpendiculaire commune à zi , zk , 2 paramètres supplémentaires doivent être introduit.
– γj = l’angle entre l’axe xi et la perpendiculaire commune aux axes zi , zj
notées xi′ , autour de l’axe zi
– εj = distance entre l’axe xi et l’axe xi′ , le long de l’axe zi .
La figure 2.6 montre les différents repères et paramètres mis en oeuvre pour traiter
ce cas particulier.
Ces deux paramètres permettent de construire la matrice de passage i Ti′ , per′
mettant le passage du repère Ri au repère Ri′ . Le repère Ri est identique au repère
Ri , mais il est construit sur l’autre perpendiculaire commune.

i

Ti′ = Rot(z, γj ).Trans(z, εj )

(2.12)
2.2 Description de la structure géométrique d’un robot


Cγj −Sγj
 Sγj Cγj
i
Ti′ = 
 0
0
0
0

D’où on en tire :
i

′

′

0
0
1
0


0
0 

εj 
1

Tj , =i Ti′ .i Tj aveci Tj = Rot(x, αj ).Trans(x, dj ).Rot(z, θj ).Trans(z, rj )

39

(2.13)

(2.14)

Après développement, on obtient la matrice globale suivante :


Cγj .Cθj − Sγj .Cαj .Sθj −Cγj .Sθj − Sγj .Cαj .Cθj Sγj .Sαj dj .Cγj + rj .Sγj .Sαj
 Sγj .Cθj + Cγj .Cαj .Sθj −Sγj .Sθj + Cγj .Cαj .Cθj −Cγj .Sαj dj .Sγj − rj .Cγj .Sαj 
i

Tj = 


Sαj .Sθj
Sαj .Cθj
Cαj
rj .Cαj + εj
0
0
0
1
(2.15)
Son inverse est :


Cγj .Cθj − Sγj .Cαj .Sθj
Sγj .Cθj + Cγj .Cαj .Sθj Sαj .Sθj −εj .Sαj .Sθj − dj .Cθj
 −Cγj .Sθj − Sγj .Cαj .Cθj −Sγj .Sθj + Cγj .Cαj .Cθj Sαj .Cθj −εj .Sαj .Cθj + dj .Sθj 
j

Ti = 


Sγj .Sαj
−Cγj .Sαj
Cαj
−rj − εj .Cαj
0
0
0
1
(2.16)
i ′
Remarque : Si γj et εj = 0, la matrice de transformation homogène Ti est unitaire.
C’est le cas fréquent où les axes xi et xi′ sont confondus. Dans ce cas, on se ramène
au cas des chaînes simples.
2.2.3.2

Cas des chaînes fermées

Dans ce cas, le système est constitué de n+1 corps et éventuellement de r organes
terminaux. De plus, il dispose de L > n articulations.
Le nombre de boucles fermées est donné par la relation : b = L − n
Pour décrire ce style de robot, on détermine une structure arborescente équivalente en coupant virtuellement chacune des boucles fermées sur l’une de ses articulations.
On choisit une articulation non motorisée de préférence, qui est telle que le
nombre de corps qui la sépare de la racine ait le même ordre de grandeur que l’on
parcourt la boucle d’un côté ou de l’autre.
On procède comme au paragraphe précédent pour la numérotation des corps et
des articulations.
Les articulations coupées sont notées à partir de n + 1 jusqu’à L.
On place ensuite les repères sur les corps en suivant les règles déjà énoncées.
Pour chaque articulation coupée k, on définit un repère Rk , fixe par rapport à l’un
des corps supportant cette articulation.
40

Modélisation géométrique des robots - Commande en position des
robots

Soit Cj ce corps. Conformément aux règles précédentes, l’axe zk est porté par
l’axe articulaire k. L’axe xk est porté par la perpendiculaire commune à zk et zj .
A partir des 4 ou 6 paramètres usuels indicés k, on peut construire la matrice
de transformation homogène i Tk permettant le passage du repère Ri au repère Rk ,
avec i = a(k) désignant l’autre corps lié à l’articulation k.
D’autre part, Rk étant fixe par rapport au repère Rj , on peut définir une matrice
constante j Tk permettant le passage du repère Rj au repère Rk .
Pour éviter une confusion de notations, les paramètres géométriques de cette
dernière transformation sont indicés k + b. On a donc j Tk →j Tk+b et j = a(k + b).
Cela revient à introduire un repère Rk+b confondu avec le repère Rk tel que :
k+b
Tk = I4 .
Dans ces conditions, on peut écrire une relation de fermeture de la boucle :

k+b

Tk =k+b Tj .j Tj+1 ..i Tk = I4

(2.17)

Ainsi la description d’un système comportant des boucles fermées se ramène à celle
d’un système arborescent obtenu en coupant chaque boucle sur une de ses articulations, et en rajoutant des repères supplémentaires. Du fait que la coupure se fait sur
une articulation non motorisée, on remarque que les paramètres rk+b et θk+b sont
nuls.
La figure 2.7 montre les différents repères mis en oeuvre pour traiter le cas
particulier des chaînes fermées.

2.2.3.3

Exemples

Robot manipulateur Hitachi HPR (RRR, RR) On considère le robot
HITACHI-HPR constitué de 5 degrés de liberté, 7 corps mobiles et 8 articulations
rotoïdes. Il comporte une boucle fermée de type parallélogramme. Les articulations
2, 5 et 8 ne sont pas motorisées. La boucle est ouverte sur l’articulation 8 entre les
corps 4 et 5.
La figure 2.8 montre le synoptique de ce robot.
Dans le cas du robot HITACHI-HPR, les axes zj sont posés de manière automatique en fonction des conventions de signes sur les axes articulaires (angle positif
selon la règle du vissage selon l’axe).
Le tableau des paramètres de Denavit-Hartenberg relatif au robot HITACHIHPR est le suivant :
2.2 Description de la structure géométrique d’un robot

41

Figure 2.7 – Repères nécessaires pour décrire une chaîne fermée
.

R0
R1
R1
R2
R3
R5
R6
R4
R5

J
=⇒ R1
=⇒ R2
=⇒ R3
=⇒ R4
=⇒ R5
=⇒ R6
=⇒ R7
=⇒ R8
=⇒ R9

a(j) σj
0
0
1
0
1
0
2
0
3
0
5
0
6
0
4
0
5
0

γj
0
0
0
0
0
0
0
0
0

εj
0
0
0
0
0
0
0
0
0

αj
dj
0
0
−90
0
−90
0
0
D4
0
D5
0
D6
90
0
0
D8 = D5
0
D9 = −D4

θj
q1
θ2
q3
q4
θ5
q6
q7
θ8
0

rj
0
0
0
0
0
0
0
0
0

Trièdre
D/I
I
I
D/I
D/I
D/I
D
D/I
D/I

Robot manipulateur ASEA IRB5 (RPP, RR) On considère le robot ASEA
IRB5 constitué de 5 degrés de liberté, 7 corps mobiles et 6 articulations rotoïdes
et 2 prismatiques. Il comporte une boucle fermée de type parallélogramme. Les
articulations 4, 5, 8 et 9 ne sont pas motorisées.
La figure 2.9 montre le synoptique de ce robot.
Dans le cas du robot ASEA IRB5, on préfère simplifier le schéma synoptique
en faisant apparaître deux liaisons rotoïdes à la place du parallélogramme et des
deux liaisons prismatiques. Cela nous permet d’aboutir à la nouvelle représentation
équivalente (cf. figure 2.10).
En considérant cette nouvelle représentation, le tableau des paramètres de
42

Modélisation géométrique des robots - Commande en position des
robots

Figure 2.8 – Synoptique du robot HITACHI-HPR
.
2.2 Description de la structure géométrique d’un robot

Figure 2.9 – Synoptique du robot ASEA-IRB5
.

43
44

Modélisation géométrique des robots - Commande en position des
robots

Figure 2.10 – Synoptique équivalent du robot ASEA-IRB5
.
2.3 Modélisation géométrique directe d’un robot

45

Denavit-Hartenberg relatif au robot ASEA IRB5 est le suivant :
R0
R1
R2
R3
R4

J
=⇒ R1
=⇒ R2
=⇒ R3
=⇒ R4
=⇒ R5

a(j)
0
1
1
2
5

σj
0
0
0
0
0

γj
0
0
0
0
0

εj
0
0
0
0
0

αj dj
0
0
90 0
0 L2
0 L3
90 0

θj
q1
q2
q3
q4
q5

rj
L1
0
0
0
0

Trièdre
D/I
D/I
D/I
D/I
D/I

Robot arborescent (TBD)

2.3
2.3.1

Modélisation géométrique directe d’un robot
Matrice de transformation de l’organe terminal dans le
repère atelier

Un robot n’est qu’un constituant d’un poste de travail. Généralement, on lui
adjoint des systèmes d’alimentation et d’évacuation de pièces, des dispositifs de
bridage, des capteurs extéroceptifs...
Il est donc nécessaire de situer dans l’espace de travail à la fois le robot mais
également tous ce qui peut être amené à intéragir avec ce robot. Pour cela, nous
définissons un repère atelier que nous noterons Rf , différent dans la plupart des cas
du repère R0 lié à la base fixe du robot (évident dans le cas où il y a plusieurs
robots).
La figure 2.11 présente les différents repères et les différentes matrices de transformation homogène mis en jeu pour la modélisation de robot dans un atelier.
On adopte les notations suivantes :
– Z =f T0 la matrice de transformation homogène permettant d’exprimer la
situation du repère de base du robot R0 dans le repère atelier Rf
– 0 Tn la matrice de transformation homogène permettant d’exprimer la situation
du repère de terminal Rn du robot dans le repère de base R0 du robot
– E =n TE la matrice de transformation homogène permettant d’exprimer la
situation du repère outil du robot RE dans le repère terminal du robot Rn
f
– TE la matrice de transformation homogène globale permettant d’exprimer la
situation du repère outil du robot RE dans le repère atelier Rf
La présence du repère RE permet de prendre en compte le fait qu’un robot peut
avoir plusieurs tâches robotiques à effectuer, et de ce fait plusieurs outils.
Ces repères outils sont choisis pour faciliter la description de la tâche robotique
associée. Des directions peuvent être privilégiées : comme par exemple un axe d’usinage, un axe de vissage, une orientation pour soudure ou peinture, ....
On appelle matrice de passage du robot la composition des matrices de transformation exprimant le repère du corps terminal Rn dans le repère de base du robot
Modélisation géométrique des robots - Commande en position des
robots

46

0

z = f T0

Tn

R0
Rn

Rf
E = n TE
f

RE

TE

Figure 2.11 – Repères nécessaires pour décrire un robot dans un atelier.
.
R0 . Pour une chaîne ouverte simple, on a :
0

Tn =o T1 .1 T2 ...n−1 Tn

(2.18)

La matrice de transformation globale f TE s’écrit alors :
f

TE = Z.0 Tn .E

(2.19)

Pour établir les modèles géométriques d’un robot, il sera nécessaire auparavant de
mesurer la situation du robot dans le repère atelier Z, et de calibrer la situation E
du repère outil RE dans le repère terminal du robot Rn .

2.3.2

Calcul du modèle géométrique direct d’un robot
(MGD)

Définition : Le modèle géométrique direct est l’ensemble des relations permettant d’exprimer la situation de l’organe terminal du robot en fonction des variables
articulaires.
La situation de l’organe terminal X est définie par m coordonnées opérationnelles
X = [x1 x2 ...xm−1 xm ]T

(2.20)

Les variables articulaires sont définies par le vecteur q de dimension n :
q = [q1 q2 ...qn−1 qn ]T

(2.21)

Le modèle géométrique s’écrit alors : X = f (q)
Plusieurs possibilités sont offertes pour définir le contenu du vecteur X. Nous
avons vu dans la première partie de ce cours, qu’il existait plusieurs façons de coder
la position et l’orientation d’un corps solide.
Par exemple, si l’on choisit :
2.3 Modélisation géométrique directe d’un robot

47

– la position cartésienne et les cosinus directeurs pour l’orientation, on obtient
X = [Px Py Pz Sx Sy Sz nx ny nz ax ay az ]T

(2.22)

– la position cartésienne et les angles RTL pour l’orientation, on obtient
X = [Px Py Pz φθψ]T

(2.23)

2.3.3

Exemples de modèles géométriques directs

2.3.3.1

MGD du robot AID-5

Le synoptique de ce robot est donné figure 2.3, page 34. On rapelle le tableau
des paramètres de Devavit-Hartenberg de ce robot ci-dessous :

R0
R1
R2
R3
R4
R5

J
=⇒ R1
=⇒ R2
=⇒ R3
=⇒ R4
=⇒ R5
=⇒ R6

σj
0
0
0
0
0
0

αj
0
90
0
90
−90
−90

dj
0
0
D3
0
0
0

θj
rj
q1
0
q2
0
q3
0
q4 −RL4
q5
0
q6
0

Trièdre
D/I
D
D/I
D
I
I

D3 et RL4 sont les caractéristiques géométriques du robot. On rappelle l’expression
de la matrice de transformation homogène associée au paramètrage de DenhavitHartenberg.

Cθj
−Sθj
0
dj
 Cαj .Sθj Cαj .Cθj −Sαj −rj .Sαj 
j−1

Tj = 
 Sαj .Sθj Sαj .Cθj Cαj
rj .Cαj 
0
0
0
1


(2.24)

On en déduit les matrices 0 T1 ,1 T2 ,2 T3 ,3 T4 ,4 T5 et 5 T6 . Pour ce faire une solution
consiste à utiliser un logiciel de calcul formel. Parmis les plus connus, nous pouvons
citer matlab qui dispose d’une boite à outils dédiée au calcul symbolique, Maple,
Maxima. Dans ce cour, nous avons utilisé Maxima, car il posséde une licence Libre
d’utilisation.
Nous avons tout d’abord modélisé le tableau de DH sous une forme matricielle :
Modélisation du MGD :


0 0
0 q1
0
 0 π
0 q2
0 
2


 0 0 D3 q3
0 

DH : 
 0 π
0 q4 −RL4 
2


 0 −π 0 q5
0 
2
0 −π 0 q6
0
2
48

Modélisation géométrique des robots - Commande en position des
robots

Calcul des matrices de passage :
T01 : DenHart (DH, 1)


Cq1 −Sq1 0 0
 Sq1 Cq1 0 0 


 0
0
1 0 
0
0
0 1
(C37) T12 : DenHart2 (DH, 2)


C (q3 + q2 ) −S (q3 + q2 ) 0 D3Cq2


0
0
−1
0

(D37) 
 S (q3 + q2 ) C (q3 + q2 )
0 D3 Sq2 
0
0
0
1
Ceci est une astuce de programmation
(C38) T23 : IDENT (4)


1 0 0 0
 0 1 0 0 

(D38) 
 0 0 1 0 
0 0 0 1
(C39) T34 : DenHart (DH, 4)


0
Cq4 −Sq4 0
 0
0
−1 RL4 

(D39) 
 Sq4 Cq4
0
0 
0
0
0
1
(C40) T45 : DenHart (DH, 5)


Cq5 −Sq5 0 0

0
0
1 0 

(D40) 
 −Sq5 −Cq5 0 0 
0
0
0 1
(C41) T56 : DenHart (DH, 6)


Cq6 −Sq6 0 0

0
0
1 0 

(D41) 
 −Sq6 −Cq6 0 0 
0
0
0 1
Pour obtenir le MGD d’un robot, il faut déterminer la matrice de passage du
robot : soit 0 T6 dans le cas présent. Pour l’obtenir, on multipliera les matrices j−1 Tj
en partant de la dernière afin de déninir des matrices intermédiaires Uj utiles pour
l’élaboration du modèle géométrique inverse (MGI). On a :

Uj =j Tj+1 .Uj+1

(2.25)
2.3 Modélisation géométrique directe d’un robot

49

Appliquer à notre cas, on définit successivement :
U6 = I6
U5 = 5 T6 .U6 = 5 T6
U4 = 4 T5 .U5 = 4 T5 .5 T6 = 4 T6
U3 = 3 T4 .U4 = 3 T4 .4 T5 .5 T6 = 3 T6
U2 = 2 T3 .U3 = 2 T3 .3 T4 .4 T5 .5 T6 = 2 T6
U1 = 1 T2 .U2 = 1 T2 .2 T3 .3 T4 .4 T5 .5 T6 = 1 T6
U0 = 0 T1 .U1 = 0 T1 .1 T2 .2 T3 .3 T4 .4 T5 .5 T6 = 0 T6
Les expression des matrices Uj peuvent
nous les présentons sous la forme :

sxj nxj
syj nyj
Uj = 
 szj nzj
0
0

(2.26)
(2.27)
(2.28)
(2.29)
(2.30)
(2.31)
(2.32)

être assez longues. Lorsque c’est le cas,

axj Pxj
ayj Pyj 

azj Pzj 
0
1

(C42) U5 : T56


Cq6 −Sq6 0 0

0
0
1 0 

(D42) 
 −Sq6 −Cq6 0 0 
0
0
0 1
(C44) U4 : T45 · U5


Cq5 Cq6 −Cq5 Sq6 −Sq5 0

−Sq6
−Cq6
0
0 

(D44) 
 −Sq5 Cq6 Sq5 Sq6
−Cq5 0 
0
0
0
1
(C46) U3 : T34 · U4

Sq4 Sq6 + Cq4 Cq5 Cq6 Sq4 Cq6 − Cq4 Cq5 Sq6

−Sq5 Sq6
Sq5 Cq6
(D46) 
 Sq4 Cq5 Cq6 − Cq4 Sq6 −Sq4 Cq5 Sq6 − Cq4 Cq6
0
0
(C48) U2 : T23 · U3

Sq4 Sq6 + Cq4 Cq5 Cq6 Sq4 Cq6 − Cq4 Cq5 Sq6

−Sq5 Sq6
Sq5 Cq6
(D48) 
 Sq4 Cq5 Cq6 − Cq4 Sq6 −Sq4 Cq5 Sq6 − Cq4 Cq6
0
0
(C49) s2 : Extrait (U2 , 1)


Sq4 Sq6 + Cq4 Cq5 Cq6

(D49) 
Sq5 Cq6
Sq4 Cq5 Cq6 − Cq4 Sq6
(C50) n2 : Extrait (U2 , 2)

(2.33)


0
−Cq4 Sq5
RL4 
Cq5

0 
−Sq4 S q5
0
1

0
−Cq4 Sq5
RL4 
Cq5

0 
−Sq4 S q5
0
1
50

Modélisation géométrique des robots - Commande en position des
robots

(D50)
(C51)
(D51)
(C52)
(D52)
(C53)
(D53)
(C54)
(D54)
(C55)
(D55)
(C56)
(D56)
(C57)
(D57)
On en




Sq4 Cq6 − Cq4 Cq5 Sq6


−Sq5 Sq6
−Sq4 Cq5 Sq6 − Cq4 Cq6
a2 : Extrait (U2 , 3)


−Cq4 Sq5


Cq5
−Sq4 Sq5
P2 : Extrait (U2 , 4)


0
 RL4 
0
U1 : T12 · U2

C (q3 + q2 ) (Sq4 Sq6 + Cq4 Cq5 Cq6 ) − S (q3 + q2 ) Sq5

Cq4 Sq6 − Sq4 Cq5 Cq6

 S (q3 + q2 ) (Sq4 Sq6 + Cq4 Cq5 Cq6 ) + C (q3 + q2 ) Sq5
0
s1 : Extrait (U1 , 1)

C (q3 + q2 ) (Sq4 Sq6 + Cq4 Cq5 Cq6 ) − S (q3 + q2 ) Sq5

Cq4 Sq6 − Sq4 Cq5 Cq6
(q3 + q2 ) (Sq4 Sq6 + Cq4 Cq5 Cq6 ) + C (q3 + q2 ) Sq5
S
n1 : Extrait (U1 , 2)

C (q3 + q2 ) (Sq4 Cq6 − Cq4 Cq5 Sq6 ) + S (q3 + q2 ) Sq5

Sq4 Cq5 Sq6 + Cq4 Cq6
S (q3 + q2 ) (Sq4 Cq6 − Cq4 Cq5 Sq6 ) − C (q3 + q2 ) Sq5
a1 : Extrait (U1 , 3)


−C (q3 + q2 ) Cq4 S q5 − S (q3 + q2 ) C q5


Sq4 Sq5
C (q3 + q2 ) Cq5 − S (q3 + q2 ) Cq4 S q5
P1 : Extrait (U1 , 4)


D3 Cq2 − S (q3 + q2 ) RL4


0
C (q3 + q2 ) RL4 + D3 Sq2
déduit le MGD par le calcul de U0 :

Cq6 C (q3 + q2 ) ( Sq4 Cq6 − Cq4
Sq4 Cq5 Sq
Cq6 S (q3 + q2 ) ( Sq4 Cq6 − Cq4 C
Cq6
Cq6
Sq6
Sq6






(C58) U0 : T01 · U1
0
Cq1 (C (q3 + q2 ) (Sq4 Sq6 + Cq4 C q5 Cq6 ) − S (q3 + q2 ) Sq5 Cq6 ) − S q1 (Cq4 Sq6 − Sq4 Cq5 Cq6 )
B
q ( (q + q2 ) (Sq4 Sq6 + Cq4 C q5 Cq6 ) − S (q3 + q2 ) Sq5 Cq6 ) + C q1 (Cq4 Sq6 − Sq4 Cq5 Cq6 )
(D58) B S 1 C 3
@
S (q3 + q2 ) (Sq4 Sq6 + Cq4 Cq5 Cq6 ) + C (q3 + q2 ) Sq5 Cq6
0

Cq1 (C (q3 + q2 ) (Sq4 C q6 − Cq4 Cq5 Sq6
Sq1 (C (q3 + q2 ) (Sq4 C q6 − Cq4 Cq5 Sq6 )
S (q3 + q2 ) ( Sq4 Cq6 −

(C59) s0 : Extrait (U0 , 1)
0
1
Cq1 (C (q3 + q2 ) (Sq4 Sq6 + Cq4 C q5 Cq6 ) − S (q3 + q2 ) Sq5 Cq6 ) − S q1 (Cq4 Sq6 − Sq4 Cq5 Cq6 )
(D59) @ Sq1 (C (q3 + q2 ) (Sq4 Sq6 + Cq4 C q5 Cq6 ) − S (q3 + q2 ) Sq5 Cq6 ) + C q1 (Cq4 Sq6 − Sq4 Cq5 Cq6 ) A
S (q3 + q2 ) (Sq4 Sq6 + Cq4 Cq5 Cq6 ) + C (q3 + q2 ) Sq5 Cq6
(C60) n0 : Extrait (U0 , 2)
1
0
Cq1 (C (q3 + q2 ) (Sq4 Cq6 − Cq4 C q5 Sq6 ) + S (q3 + q2 ) Sq5 Sq6 ) − S q1 (Sq4 Cq5 Sq6 + Cq4 Cq6 )
(D60) @ Sq1 (C (q3 + q2 ) (Sq4 Cq6 − Cq4 C q5 Sq6 ) + S (q3 + q2 ) Sq5 Sq6 ) + C q1 (Sq4 Cq5 Sq6 + Cq4 Cq6 ) A
S (q3 + q2 ) (Sq4 Cq6 − Cq4 Cq5 Sq6 ) − C (q3 + q2 ) Sq5 Sq6
(C61) a0 : Extrait (U0 , 3)
2.3 Modélisation géométrique directe d’un robot
0

(D61) @

51

1
Cq1 (−C (q3 + q2 ) Cq4 Sq5 − S (q3 + q2 ) Cq5 ) − Sq1 S q4 Sq5
Sq1 (−C (q3 + q2 ) Cq4 Sq5 − S (q3 + q2 ) Cq5 ) + Cq1 S q4 Sq5 A
C (q3 + q2 ) Cq5 − S (q3 + q2 ) Cq4 S q5

(C62) P0 : Extrait (U0 , 4)
0
1
Cq1 (D3 Cq2 − S ( q3 + q2 ) RL4 )
(D62) @ Sq1 (D3 Cq2 − S ( q3 + q2 ) RL4 ) A
C (q3 + q2 ) RL4 + D3 Sq2

A partir de la matrice de passage U0 , il est possible de choisir comme vecteur de
coordonnées opérationnelles :
X = [Px Py Pz Sx Sy Sz nx ny nz ax ay az ]T

(2.34)

Dans ce cas, le modèle géométrique direct du robot est donné par les 12 relations
issues de U0 . On peut noter que dans ce cas, la descrition est redondante car 6
paramètres suffisent pour décrire la position et l’orientation de l’organe terminal
dans le repère atelier. Si on veut réduire le nombre de paramètres, alors, il faudra
choisir un système de descrition d’angles. Dans ce cas, le MGD sera décrit pas le
vecteur de position P et trois angles.
2.3.3.2

MGD du robot H-80

On rapelle le tableau des paramètres de Denavit-Hartenberg relatif au robot
ACMA H-80 :

R0
R1
R2
R3
R4
R5

J
=⇒ R1
=⇒ R2
=⇒ R3
=⇒ R4
=⇒ R5
=⇒ R6

σj
1
0
0
0
0
0

αj
dj
0
0
0
0
0
D3
0
D4
−90 0
−90 0

θj
0
q2
q3
q4
q5
q6

rj
q1
0
0
0
0
0

Trièdre
D/I
D/I
D/I
I
I
D/I

Le synoptique de ce robot est donné figure 2.4 page 36
GCL (GNU Common Lisp) Version(2.4.0) Wed May 9 12 :02 :00 CDT 2001
Licensed under GNU Library General Public License
Contains Enhancements by W. Schelter
Maxima 5.6 Wed May 9 12 :01 :49 CDT 2001 (with enhancements by W.
Schelter).
Licensed under the GNU Public License (see file COPYING)
batch(MGDH80) ;
batching MGDH80.mac
PRINT ( Calcul du MGD)
Calcul du MGD
Calcul du MGD
Modélisation géométrique des robots - Commande en position des
robots

52






DH : 






1
0
0
0
0
0

0
0
0
0
−π
2
−π
2

0
0
D3
D4
0
0

0
q2
q3
q4
q5
q6


q1
0
0
0
0
0










1 0
0 0 q1
0 0
0 q2 0 

0 0 D3 q3 0 

0 0 D4 q4 0 

0 − π 0 q5 0 
2
0 − π 0 q6 0
2
DenHart ( DH, l) :=

−S DHl,4
0
DHl,3
C DHl,4
 C DHl,2 S DHl,4 C DHl,2C DHl,4 −S DHl,2 − DHl,5S DHl,2

 S DHl,2 S DHl,4 S DHl,2 C DHl,4 C DHl,2
DHl,5 C DHl,2
0
0
0
1


m1,l
Extrait (m, l) :=  m2,l 
m3,l
T01 : DenHart ( DH, 1)


1 0 0 0
 0 1 0 0 


 0 0 1 q1 
0 0 0 1
T12 : DenHart ( DH, 2)


Cq2 −Sq2 0 0
 Sq2 Cq2 0 0 


 0
0
1 0 
0
0
0 1
T23 : DenHart ( DH, 3)


Cq3 −Sq3 0 D3
 Sq3 Cq3 0 0 


 0
0
1 0 
0
0
0 1
T34 : DenHart ( DH, 4)


Cq4 −Sq4 0 D4
 Sq4 Cq4 0 0 


 0
0
1 0 
0
0
0 1
T45 : DenHart ( DH, 5)












2.3 Modélisation géométrique directe d’un robot

Cq5 −Sq5 0 0
 0
0
1 0 


 −Sq5 −Cq5 0 0 
0
0
0 1
T56 : DenHart ( DH, 6)


Cq6 −Sq6 0 0
 0
0
1 0 


 −Sq6 −Cq6 0 0 
0
0
0 1
U5 : T56


Cq6 −Sq6 0 0
 0
0
1 0 


 −Sq6 −Cq6 0 0 
0
0
0 1
TRIGREDUCE (U5 )


Cq6 −Sq6 0 0
 0
0
1 0 


 −Sq6 −Cq6 0 0 
0
0
0 1
U : T45 · U5

4
Cq5 Cq6 −Cq5 Sq6 −Sq5 0
 −Sq6
−Cq6
0
0 


 −Sq5 Cq6 Sq5 Sq6 −Cq5 0 
0
0
0
1
U : T34 · U4
3
Sq4 Sq6 + Cq4 Cq5 Cq6 Sq4 Cq6 − Cq4 Cq5 Sq6 −Cq4 Sq5 D4
 Sq4 Cq5 Cq6 − Cq4 Sq6 −Sq4 Cq5 Sq6 − Cq4 Cq6 −Sq4 Sq5 0


−Cq5
0
−Sq5 Cq6
Sq5 Sq6
0
0
0
1
U2 : T23 · U3
s2 : Extrait (U2 , 1)


Cq3 (Sq4 Sq6 + Cq4 Cq5 Cq6 ) − Sq3 (Sq4 Cq5 Cq6 − Cq4 Sq6 )
 Sq3 (Sq4 Sq6 + Cq4 Cq5 Cq6 ) + Cq3 (Sq4 Cq5 Cq6 − Cq4 Sq6 ) 
−Sq5 Cq6
n2 : Extrait (U2 , 2)


Cq3 (Sq4 Cq6 − Cq4 Cq5 Sq6 ) − Sq3 (−Sq4 Cq5 Sq6 − Cq4 Cq6 )
 Cq3 (−Sq4 Cq5 Sq6 − Cq4 Cq6 ) + Sq3 (Sq4 Cq6 − Cq4 Cq5 Sq6 ) 
Sq5 Sq6
a2 : Extrait (U2 , 3)

53







Modélisation géométrique des robots - Commande en position des
robots

54



Sq3 Sq4 Sq5 − Cq3 Cq4 Sq5
 −Cq3 Sq4 Sq5 − Sq3 Cq4 Sq5 
−Cq5
P2 : Extrait (U2 , 4)


D4 Cq3 + D3


D4 Sq3
0
U1 : T12 · U2
s1 : Extrait (U1 , 1)
0

1
Cq2 (Cq3 (Sq4 Sq6 + Cq4 Cq5 Cq6 ) − Sq3 (Sq4 Cq5 Cq6 − Cq4 Sq6 )) − Sq2 (Sq3 (Sq4 Sq6 + Cq4 Cq5 Cq6 ) + Cq3 (Sq4 Cq5 Cq6 − Cq4 Sq6 ))
@ Cq2 (Sq3 (Sq4 Sq6 + Cq4 Cq5 Cq6 ) + Cq3 (Sq4 Cq5 Cq6 − Cq4 Sq6 )) + Sq2 (Cq3 (Sq4 Sq6 + Cq4 Cq5 Cq6 ) − Sq3 (Sq4 Cq5 Cq6 − Cq4 Sq6 )) A
−Sq5 Cq6

n1 : Extrait (U1 , 2)
0

1
Cq2 (Cq3 (Sq4 Cq6 − Cq4 Cq5 Sq6 ) − Sq3 (−Sq4 Cq5 Sq6 − Cq4 Cq6 )) − Sq2 (Cq3 (−Sq4 Cq5 Sq6 − Cq4 Cq6 ) + Sq3 (Sq4 Cq6 − Cq4 Cq5 Sq6 ))
@ Sq2 (Cq3 (Sq4 Cq6 − Cq4 Cq5 Sq6 ) − Sq3 (−Sq4 Cq5 Sq6 − Cq4 Cq6 )) + Cq2 (Cq3 (−Sq4 Cq5 Sq6 − Cq4 Cq6 ) + Sq3 (Sq4 Cq6 − Cq4 Cq5 Sq6 )) A
Sq5 Sq6

a1 : Extrait (U1 , 3)


Cq2 (Sq3 Sq4 Sq5 − Cq3 Cq4 Sq5 ) − Sq2 (−Cq3 Sq4 Sq5 − Sq3 Cq4 Sq5 )
 Sq2 (Sq3 Sq4 Sq5 − Cq3 Cq4 Sq5 ) + Cq2 (−Cq3 Sq4 Sq5 − Sq3 Cq4 Sq5 ) 
−Cq5
P1 : Extrait (U1 , 4)


Cq2 (D4 Cq3 + D3 ) − D4 Sq2 Sq3
 D4 Cq2 Sq3 + Sq2 (D4 Cq3 + D3) 
0
U0 : T01 · U1
s0 : Extrait (U0 , 1)
0

1
Cq2 (Cq3 (Sq4 Sq6 + Cq4 Cq5 Cq6 ) − Sq3 (Sq4 Cq5 Cq6 − Cq4 Sq6 )) − Sq2 (Sq3 (Sq4 Sq6 + Cq4 Cq5 Cq6 ) + Cq3 (Sq4 Cq5 Cq6 − Cq4 Sq6 ))
@ Cq2 (Sq3 (Sq4 Sq6 + Cq4 Cq5 Cq6 ) + Cq3 (Sq4 Cq5 Cq6 − Cq4 Sq6 )) + Sq2 (Cq3 (Sq4 Sq6 + Cq4 Cq5 Cq6 ) − Sq3 (Sq4 Cq5 Cq6 − Cq4 Sq6 )) A
−Sq5 Cq6

n0 : Extrait (U0 , 2)
0

1
Cq2 (Cq3 (Sq4 Cq6 − Cq4 Cq5 Sq6 ) − Sq3 (−Sq4 Cq5 Sq6 − Cq4 Cq6 )) − Sq2 (Cq3 (−Sq4 Cq5 Sq6 − Cq4 Cq6 ) + Sq3 (Sq4 Cq6 − Cq4 Cq5 Sq6 ))
@ Sq2 (Cq3 (Sq4 Cq6 − Cq4 Cq5 Sq6 ) − Sq3 (−Sq4 Cq5 Sq6 − Cq4 Cq6 )) + Cq2 (Cq3 (−Sq4 Cq5 Sq6 − Cq4 Cq6 ) + Sq3 (Sq4 Cq6 − Cq4 Cq5 Sq6 )) A
Sq5 Sq6

a0 : Extrait (U0 , 3)


Cq2 (Sq3 Sq4 Sq5 − Cq3 Cq4 Sq5 ) − Sq2 (−Cq3 Sq4 Sq5 − Sq3 Cq4 Sq5 )
 Sq2 (Sq3 Sq4 Sq5 − Cq3 Cq4 Sq5 ) + Cq2 (−Cq3 Sq4 Sq5 − Sq3 Cq4 Sq5 ) 
−Cq5
P0 : Extrait (U0 , 4)


Cq2 (D4 Cq3 + D3 ) − D4 Sq2 Sq3
 D4 Cq2 Sq3 + Sq2 (D4 Cq3 + D3) 
q1
./MGDH80.mac
2.4 Modélisation géométrique inverse d’un robot
2.3.3.3

2.4
2.4.1

55

MGD du robot AFMA

Modélisation géométrique inverse d’un robot
Introduction

Le modèle géométrique direct MGD permet de calculer les coordonnées opérationnelles X en fonction des coordonnées articulaires q :
MGI

X

q

MGD
Le problème inverse MGI consiste à calculer les coordonnées articulaires qui
amènent l’organe terminal dans une situation désirée, spécifiée par ses coordonnées
opérationnelles.
Lorsqu’elle existe, la forme explicite qui donne toutes les solutions possibles au
problème inverse (il y a rarement unicité de la solution) constitue ce que l’on appelle
le modèle géométrique inverse MGI.
Il n’existe pas une méthode analytique générale pour trouver le MGI, mais un
certain nombre de méthodes, plus ou moins adaptées à des classes de cinématiques
particulières :
– la méthode de Pieper [Pie68] : permet de résoudre le problème pour un nombre
limité d’architectures simples (robots à 6 degrés de liberté (ddl), possédant 3
articulations rotoïdes d’axes concourants ou 3 articulations prismatiques).
– la méthode de Paul [Pau81] : traite séparément chaque cas particulier et
convient à la majorité des robots industriels
– les méthodes géométriques ([LZ83], Elgazzar 85) consistent à trouver directement chaque variable articulaire à partir de considérations géométriques. Il y
a une grande dépendance de ces méthodes avec l’architecture du robot.
Lorsque le modèle géométrique inverse n’existe pas (pas de forme explicite), on utilise
des procédures numériques.
Par itérations successives, on calcule une solution particulière au problème inverse, qui est une solution locale (dépendant des conditions initiales). Outre cet
inconvénient, ces méthodes sont pénalisantes en temps de calcul.
citons par exemple :
– les méthodes de type Newton RAPHSON procédant par linéarisation de la
matrice de passage du mécanisme [Pie68].
– les méthodes basées sur le modèle différentiel inverse ([Fou80, Ren80, GBF85]).
56

Modélisation géométrique des robots - Commande en position des
robots

– les méthodes basées sur la transposée de la matrice jacobienne ([WE84, SS94]).
Nous utiliserons en détail dans cette partie, les méthodes de Pieper et de Paul,
conduisant à une forme explicite du transformateur de coordonnées (MGI).

2.4.2

Position du problème

Soit f TE la matrice de transformation homogène représentant la situation finale
désirée du repère outil par rapport au repère atelier.
On a vu que dans le cas général, on peut exprimer f TE sous la forme :
f

TE = Z.0 Tn .E

(2.35)

avec :
– Z = matrice de transformation homogène définissant le repère R0 du robot
dans le repère atelier.
– E = matrice de transformation homogène définissant le repère outil RE dans
le repère terminal.
– 0 T n = matrice de passage homogène du robot.
En regroupant à droite les termes connus, on obtient la relation
U0 =0 T n = Z −1 .f TE .E −1

(2.36)

Le problème consiste à trouver les variables articulaires q1 , q2 , ...qn pour que 0 T n soit
égal à U0 .
On donne l’expression numérique de f TE et on connait celle de Z et de E.
En résumé :
X

→
Convension

f

TE

→
U0
→
q
(2.36)
Méthode de Paul

(2.37)

Conclusion : Après avoir calculé la valeur numérique de U0 à partir de X, on
utilise l’expression analytique de U0 pour extraire le vecteur q. La principale difficulté
est donc ette dernière étape.

2.4.3

Résolubilité d’un robot manipulateur (introduit par
Pieper 68)

Un robot manipulateur est dit résoluble lorsqu’il est possible de calculer toutes
les configurations permettant d’atteindre une situation donnée.
Tous les robots ne le sont pas, mais ce n’est pas une condition nécessaire pour
la commande car dans de pareil cas, des méthodes itératives numériques sont mises
en oeuvre pour trouver une solution locale.
D’après Roth (76), les robots à moins de 6 ddl sont toujours résolubles.
Avec 6 ddl, ils sont résolubles lorsqu’ils présentent les caractéristiques suivantes :
2.4 Modélisation géométrique inverse d’un robot

57

– 3 articulations prismatiques
– 3 articulations rotoïdes d’axes concourants
– 1 articulation rotoïde et 1 articulation prismatique coaxiales
– 2 paires d’articulations rotoïdes d’axes concourants
Presque tous les robots à 6 d.d.l. de l’industrie sont résolubles.

2.4.4

Nombre de solutions au problème inverse

On peut constater pratiquement trois cas :
– abscence de solutions.
Par exemple, lorsque la situation désirée est en dehors de la zone accessible du
robot. La zone accessible est limitée par le nombre de ddl, les débattements
articulaires, et la dimension des segments.
– infinité de solutions.
Ce cas se présente lorsque :
– le robot est redondant vis-à-vis de la tâche à réaliser.
– le robot se trouve en configuration singulière. Il y a alors une redondance
locale qui se traduit par le fait que le robot ne peut déplacer son organe
terminal dans certaines directions ou tourner autour de certains axes. De ce
fait, il perd un ou plusieurs ddl. Tout cela est dû aux valeurs numériques
particulières prises par les paramètres pour décrire la situation désirée.
– solution en ensemble fini.
C’est le cas lorsque toutes les solutions peuvent être calculées sans ambiguïté.
La forme explicite est alors un ensemble de vecteurs q 1 , q 2 , ...q r qui satisfont
l’équation
X = f (q i )

(2.38)

pour i = 1, 2, ..., r
r = n Kj représente le nombre de configurations articulaires possibles, et
j=1
Kj le nombre de solutions pour la variable articulaire qj .
Le nombre de solutions dépend de l’architecture du robot manipulateur. Il n’existe
pas de formule générale pour le déterminer.
Pour les classes de robots à 6 ddl possédant trois articulations rotoïdes d’axes
concourants, le nombre maximum de solutions est de 32 dans l’hypothèse ou aucun
paramètre géométrique n’est égal à 0.
Ce nombre dépend des valeurs particulières des paramètres géométriques, de
l’amplitude des courses articulaires et donc du positionnement des butées mécaniques et/ou électriques.
Modélisation géométrique des robots - Commande en position des
robots

58

2.4.5

Calcul du modèle géométrique inverse (MGI)

2.4.5.1

Présentation de la méthode

Considérons un robot manipulateur dont la matrice de passage homogène a pour
expression :
0
Tn =0 T1 .1 T2 ....n−1 Tn
(2.39)
On note :

sx nx ax Px
 s ny ay Py 

U0 =0 T1 .1 T2 ...n−1 Tn =  y
 sz nz az Pz 
0 0 0 1


(2.40)

Cette matrice U0 est la donnée du problème. Elle représente la situation de l’organe
terminal dans le repère de base du robot R0 .
Trouver les variables articulaires à partir de l’équation :
U0 =0 T1 .1 T2 .n−1 Tn

(2.41)

en fonction des éléments articulaires s, n, a et P est très difficile.
Paul (en 81) a proposé une méthode qui consiste à prémultiplier successivement
les 2 membres de l’équation par les matrices de transformation homogène inverse.
j

Tj−1 pour j variant de 1 à n − 1

(2.42)

Cela permet d’isoler et d’identifier l’une après l’autre les variables articulaires que
l’on recherche.
Remarques :
1. Pour un robot à 6 ddl, on procède comme suit :
– Multiplication à gauche par 1 T0
1

T0 .U0 =1 T2 .2 T3 .3 T4 .4 T5 .5 T6

(2.43)

1ère partie de l’équation = fonction de q1 uniquement
2ème partie de l’équation = fonction de q2 , q3 , q4 ,q5 , q6 déjà calculé pour
MGD si on a pris la précaution de sauvegarder tous les résultats intermédiaires Ui .
– q1 est obtenu par identification d’un ou de deux éléments parmi les plus
simples qui constitue l’expression de droite avec les termes équivalents dans
celle de gauche. Les différents types de relations mises en jeu dans ces identifications seront étudiés au paragraphe suivant (une dizaine de cas).
– en partant de l’expression 1 T0 .U0 =1 T2 .2 T3 .3 T4 .4 T5 .5 T6 , on prémultiplie par
2
T1 et on réitère le même processus. La succession des équations permettant
2.4 Modélisation géométrique inverse d’un robot

59

le calcul de tous les qi est la suivante :
U0 =0 T1 .1 T2 .2 T3 .3 T4 .4 T5 .5 T6
1
T0 U0 =1 T2 .2 T3 .3 T4 .4 T5 .5 T6 → q1
2
T1 U1 =2 T3 .3 T4 .4 T5 .5 T6 → q2
3
T2 U2 =3 T4 .4 T5 .5 T6 → q3
4
T3 U3 =4 T5 .5 T6 → q4
5
T4 U4 =5 T6 → q5 et q6

(2.44)

avec Uj =j Tj−1 Uj−1

2. Dans certains cas il est possible de résoudre le robot en partant de qn . Il suffit
alors de multiplier à droite les 2 membres de l’expression
U0 =0 T1 .1 T2 .n−1 Tn par j Tj−1 pour j variable de n à 2
2.4.5.2

(2.45)

Solutions aux types d’équations rencontrés

Lorsque nous utilisons la méthode précédente, nous sommes confrontés de manière itérative à la résolution de système d’équations de différents types. L’utilisation
d’un grand nombre de robots industriels a permis de constater que les principaux
types rencontrés sont peu nombreux. La liste est donnée par le tableau 2.4.5.2. Les
10 types d’équations sont détaillés ci-dessous.
Equations type 1 : X.rj = Y
Dans ce cas, la réponse est immédiate =⇒ r1 =

Y
avec X = 0
X

Equations type 2 : X.Sθi + Y.Cθi = Z
X et Y étant connus, deux cas peuvent être envisagés.
– Z = 0, 2 solutions sont possibles :
θi = ATAN 2(−Y, X)
′
θi = θi + 180o

(2.46)

– Z=0
On résout le système en sinus et en cosinus, puis on prend l’arctangente : On peut
réécrire le système type 2 de deux manières différentes.
Y.Cθi = Z − X.Sθi
X.Sθi = Z − Y.Cθi
en sinus :

d’où

Y 2 .C 2 θi = Z 2 + X 2 .S 2 θi − 2.Z.X.Sθi
Y 2 .(1 − S 2 θi ) = Z 2 + X 2 .S 2 θi − 2.Z.X.Sθi
(X 2 + Y 2 ).S 2 θi − 2.Z.X.Sθi + Z 2 − Y 2 = 0
△ = 4.Y 2 (X 2 + Y 2 − Z 2 )
√
Z.X + ε.Y X 2 + Y 2 − Z 2
Sθi =
avec ε = ±1
X2 + Y 2

(2.47)

(2.48)
60

Modélisation géométrique des robots - Commande en position des
robots

Type d’équations

Forme du système d’équations

Type 1

X.ri = Y

Type 2

X.Sθi + Y.Cθi = Z

Type 3

X1 .Sθi = Y1
X1 .Sθi + Y1 .Cθi = Z1
ou
X2 .Cθi = Y2
X2 .Sθi + Y2 .Cθi = Z2

Type 4

X1 .rj .Sθi = Y1
X2 .rj .Cθi = Y2

Type 5

X1 .Sθi = Y1 + Z1 .rj
X2 .Cθi = Y2 + Z2 .rj

Type 6

W.Sθj = X.Cθi + Y.Sθi + Z1
W.Cθj = X.Sθi − Y.Cθi + Z2

Type 7

W1 .Cθj + W2 .Sθj = X.Cθi + Y.Sθi + Z1
W1 .Sθj − W2 .Cθj = X.Sθi − Y.Cθi + Z2

Type 8

X.Cθi + Y.C(θi + θj ) = Z1
X.Sθi + Y.S(θi + θj ) = Z2

Type 9

X.Cθi = Y

Type 10

X.Sθi = Y

Table 2.1 – Systèmes d’equations possibles
2.4 Modélisation géométrique inverse d’un robot

61

X 2 .S 2 θi = Z 2 + Y 2 .C 2 θi − 2.Z.Y.Cθi
X 2 .(1 − C 2 θi ) = Z 2 + Y 2 .C 2 θi − 2.Z.Y.Cθi
(X 2 + Y 2 ).C 2 θi − 2.Z.Y.Cθi + Z 2 − X 2 = 0
(2.49)
△ = 4.X 2 (X 2 + Y 2 − Z 2 )
√
Z.Y − ε.X X 2 + Y 2 − Z 2
Cθi =
avec ε = ±1
d’où
X2 + Y 2
Le signe − devant ε vient du fait que nous devrons vérifier à chaque instant que
C 2 θi + S 2 θi = 1. La réponse est la suivante :
en cosinus :

√
Z.X + ε.Y X 2 + Y 2 − Z 2
Sθi =
X2 + Y 2
√
Z.Y − ε.X X 2 + Y 2 − Z 2
Cθi =
X2 + Y 2

(2.50)

si X 2 + Y 2 − Z 2 ≥ 0 alors θi = AT AN2(Sθi , Cθi )

(2.51)

Equations type 3 (forme 1) :
X1 .Sθi = Y1
X2 .Cθi = Y2

(2.52)

X1 et X2 étant non nuls, la réponse est la suivante.
Y1 Y2
,
)
X1 X2

(2.53)

X1 .Sθi + Y1 .Cθi = Z1
X2 .Sθi + Y2 .Cθi = Z2

(2.54)

θi = ATAN2(

Equations type 3 (forme2) :

On se ramène au cas précédent en posant :
Sθi =

Y2 .Z1 − Y1 .Z2
X1 .Y2 − X2 .Y1

X1 .Z2 − X2 .Z1
Cθi =
X1 .Y2 − X2 .Y1

(2.55)
62

Modélisation géométrique des robots - Commande en position des
robots

d’où θi = ATAN2(Sθi , Cθi )

Equations type 4 :
X1 .rj .Sθi = Y1
X2 .rj .Cθi = Y2
X1 et X2 étant non nuls. On réécrit le système :

2

 2 2
 r .S θi = Y1
Y1
 j
 r .Sθ =

2
 j i

X1
X1 =⇒
 r .Cθ = Y2

2
 j

 2 2
i
 r .C θi = Y2
X2
 j
2
X2
d’où
rj = ±

(2.56)

(2.57)

Y2
Y12
+ 22
2
X1
X2

Si rj n’est pas nul, on en déduit :
θi = ATAN 2(

Y2
Y1
rj ,
rj )
X1 X2

(2.58)

X1 et X2 étant non nuls. La réponse est la suivante :
Y12
Y2
+ 22
2
X1
X2
Y1 Y2
)
θi = ATAN2( ,
X1 X2

(2.59)

X1 .Sθi = Y1 + Z1 .rj
X2 .Cθi = Y2 + Z2 .rj

(2.60)

rj = ±

Equations type 5 :

X1 et X2 étant non nuls, on réécrit le système

 Sθ = Y1 + Z1 .r

i
j


X1 X1
Sθi = V1 + W1 .rj
soit
Cθi = V2 + W2 .rj


 Cθ = Y2 + Z2 .r

j
i
X2 X2

(2.61)
2.4 Modélisation géométrique inverse d’un robot

63

S 2 θi + C 2 θi = 1
2
2
2
1 = V12 + V22 + 2.(W1 V1 + W2 V2 ).rj + (W1 + W2 ).rj
2
2
△ = 4.(W1 V1 + W2 V2 )2 − 4.(V12 + V22 − 1).(W1 + W2 )

(2.62)

2
2
2
2
△ = 4.(2.W1 V1 .W2 V2 ) − 4.(V12 .W2 + V22 .W1 − W1 − W2 )
2
2
△ = 4.(W1 + W2 − (V1 .W2 − V2 .W1 )2 )

rj =

2
2
−(V1 .W1 + V2 .W2 ) + ε W1 + W2 − (V1 .W2 − V2 .W1 )2
2
2
W1 + W2

(2.63)

On en déduit :
θi = ATAN2(V1 + W1 .rj , V2 + W2 .rj )

(2.64)

△ étant positif, avec ε = ±1, la réponse est la suivante
rj =

2
2
2
−(V1 .W1 + V2 .W2 ) + ε W1 + W2 − (V1 .W2 − V2 .W1 )
2
2
W1 + W2

(2.65)

θi = ATAN2(V1 + W1 .rj , V2 + W2 .rj )

Equations type 6 :
W.Sθj = X.Cθi + Y.Sθi + Z1
W.Cθj = X.Sθi − Y.Cθi + Z2

(2.66)

Eliminons θj :
2
W 2 .S 2 θj = X 2 .C 2 θi + Y 2 .S 2 θi + Z1 + 2.X.Y.Cθi .Sθi + 2.X.Cθi .Z1 + 2.Y.Sθi .Z1
2
W 2 .C 2 θj = X 2 .S 2 θi + Y 2 .C 2 θi + Z2 − 2.X.Y.Cθi .Sθi + 2.X.Sθi .Z2 − 2.Y.Cθi .Z2

W2 =

2
2
X 2 + Y 2 + Z1 + Z2 + 2.X.Cθi .Z1 + 2.Y.Sθi .Z1 + 2.X.Sθi .Z2 − 2.Y.Cθi .Z2
(2.67)
En sommant, on peut écrire :

B1 .Sθi + B2 .Cθi = B3

(2.68)
64

Modélisation géométrique des robots - Commande en position des
robots
Avec
B1 = 2.(Y.Z1 + X.Z2 )
B2 = 2.(X.Z1 − Y.Z2 )
2
2
B3 = W 2 − X 2 − Y 2 − Z1 − Z2

(2.69)

Dans ce cas, θi peut être résolu par un système de type 2.
Puis θj peut être résolu par un système de type 3 (forme 1) avec
Y1 = X.Cθi + Y.Sθi + Z1
Y2 = X.Sθi − Y.Cθi + Z2

X1 = W
X2 = W

(2.70)

W1 .Cθj + W2 .Sθj = X.Cθi + Y.Sθi + Z1
W1 .Sθj − W2 .Cθj = X.Sθi − Y.Cθi + Z2

(2.71)

et

Equations type 7 :

En élevant les deux premiers membres au carré, on a :
2
2
W1 .C 2 θj + W2 .S 2 θj + 2.W1 .W2 .Cθj .Sθj
2
2
W1 .S 2 θj + W2 .C 2 θj − 2.W1 .W2 .Cθj .Sθj

(2.72)

2
2
En additionnant, il reste W1 + W2

Pour les seconds membres élevés au carré, on a :
2
X 2 .C 2 θi + Y 2 .S 2 θi + Z1 + 2.XY.Cθi .Sθi + 2.XZ1.Cθi + 2.Y Z1 .Sθi
2
X 2 .S 2 θi + Y 2 .C 2 θi + Z2 − 2.XY.Cθi .Sθi + 2.XZ2 .Sθi − 2.Y Z2 .Cθi

(2.73)

En additionnant, il reste
2
2
X 2 + Y 2 + Z1 + Z2 + 2.(XZ1 − Y Z2 ).Cθi + 2.(Y Z1 + XZ2 ).Sθi

(2.74)

Soit en regroupant les deux résultats :
2
2
2
2
2.(XZ1 − Y Z2 ).Cθi + 2.(Y Z1 + XZ2 ).Sθi = W1 + W2 − X 2 − Y 2 − Z1 − Z2
(2.75)
C’est une équation de type 2 en θi . Une fois θi calculé, on résout une des 2 équations
de type 2 en θj .

Equations type 8 :
X.Cθi + Y.C(θi + θj ) = Z1
X.Sθi + Y.S(θi + θj ) = Z2

(2.76)
2.4 Modélisation géométrique inverse d’un robot

65

En élevant au carré, on obtient :
2
X 2 .C 2 θi + Y 2 .C 2 (θi + θj ) + 2.XY.Cθi .C(θi + θj ) = Z1
2
X 2 .S 2 θi + Y 2 .S 2 (θi + θj ) + 2.XY.Sθi .S(θi + θj ) = Z2

(2.77)

En additionnant :
2
2
2.XY.(Cθi .C(θi + θj ) + Sθi .S(θi + θj )) = Z1 + Z2 − X 2 − Y 2

(2.78)

En intégrant un signe − dans le sinus et le cosinus, on a :
2
2
2.XY.(C(−θi ).C(θi + θj ) − S(−θi ).S(θi + θj )) = Z1 + Z2 − X 2 − Y 2

(2.79)

d’où
C(θi + θj − θi ) = Cθj =

2
2
Z1 + Z2 − X 2 − Y 2
2.XY

(2.80)

On en déduit θj avec :
θj = ATAN2(± 1 − C 2 θj , Cθj )

(2.81)

Il suffit ensuite de résoudre un système de deux équations et deux inconnues comme
suit :
X.Cθi + Y.(Cθi .Cθj − Sθi .Sθj ) = Z1
X.Sθi + Y.(Cθi .Sθj + Sθi .Cθj ) = Z2
(2.82)
(X + Y.Cθj ).Cθi − Y.Sθj .Sθi = Z1
Y.Sθj .Cθi + (X + Y.Cθj ).Sθi = Z2
Soit :
B1 .Cθi − B2 .Sθi = Z1 avec B1 = X + Y.Cθj
B2 .Cθi + B1 .Sθi = Z2
B2 = Y.Sθj

(2.83)

On résoud en sinus et cosinus (équations type 3 forme 2) et on obtient θi par :
θi = ATAN2(Sθi , Cθi )

(2.84)

X.Cθj = Y

(2.85)

Equations type 9 :
Dans ce cas, la réponse est immédiate :
Y
X
√
Sθi = ± 1 − C 2 θi

Cθi =

et

θi = ATAN2(Sθi , Cθi )

(2.86)
Modélisation géométrique des robots - Commande en position des
robots

66

Equations type 10 :
(2.87)

X.Sθi = Y
Dans ce cas, la réponse est immédiate =⇒
Y
X√
Cθi = ± 1 − S 2 θi

Sθi =

2.4.6

et

θi = ATAN2(Sθi , Cθi )

(2.88)

MGI pour des robots à 6 ddl comportant un poignet
rotule (d’axes concourants)

Lorsqu’il s’agit de déterminer le MGI d’un robot, avant de se lancer dans la série
de calculs itératifs présentés dans le paragraphe e), il est bon de se poser la question
de simplification de la méthode. En effet, avant tout calcul, il faut savoir :
– quelles sont les variables articulaires qui contribuent à la position du repère
terminal du robot Rn
– quelles sont les variables articulaires qui contribuent à l’orientation du repère
terminal Rn
Lorsque le poignet du robot est une rotule d’axes concourants, c’est le porteur qui
pilote la position de l’organe terminal. Ce porteur est constitué de n − 3 ddl.
On peut écrire :
0
Pn =0 Pn−3+1 , c’est à dire :


Px

 Py  0 1 2
 = T T T3 ...n−3 Tn−3+1 

1 2

 Pz 
1



0
0 

0 
1

(2.89)

(2.90)
avec :


Px
 P 
–  y  : position de l’organe terminal dans le repère R0 .
 Pz 
1
 
0
 0 
–   : opérateur d’extraction de la matrice de position à partir de la matrice
 0 
1
de transformation homogène
A partir de cette première relation, en reprenant la méthode itérative du paragraphe 2.4.5.1 page 58, il est donc possible de calculer les valeurs des n − 3 premières
articulations.
2.4 Modélisation géométrique inverse d’un robot

67

Pour les 3 dernières, on utilise une seconde relation. Une fois la position atteinte,
l’organe terminal se trouve dans une "orientation initiale" dûe aux différentes transformations homogènes depuis le repère de base du robot R0 , jusqu’au dernier repère
du porteur Rn−3 .
A partir de la matrice U0 , on peut extraire la matrice des cosinus directeurs 0 An .
0
An = [ s n a] est une donnée du problème inverse.
On peut donc écrire :
n−3
A0 [ s n a] =n−3 An
(2.91)
Les premières variables articulaires q1 , q2 ..qn−3 étant calculées à partir de la position
de l’organe terminal, la matrice n−3 A0 est donc connue numériquement. Le terme de
gauche est donc entièrement connu. On réduit le système à trois variables articulaires
qn−2 , qn−1 qn .
Pour déterminer leurs valeurs numériques, on utilise la méthode itérative du
paragraphe 2.4.5.1 page 58.
Remarque :
1. Lorsque le robot à 6ddl (n = 6), les deux relations précédentes s’écrivent :
– Pour la position, on détermine q1 , q2 , q3 avec :
 


0
Px
 Py  0 1 2 3  0 
 


(2.92)
 Pz  = T1 T2 T3 T4  0 
1
1


Px

 P 
1 2 3
où  y  est la position de l’organe terminal et 0 T1 T2 T3 T4 

 Pz 
1
pend que de q4 , a5 , q6 .
– Pour l’orientation, on détermine q4 , q5 , q6 à partir de :


3

A0
↑
Ne dépend que de
q1 q2 q3

[s n a]
↑
Matrice des cos. directeurs
extraite à partir de U0


0
0 
 ne dé0 
1

=3 A6
↑
Ne dépend que de
q4 q5 q6
(2.93)

2. Dans la remarque précédente, la première relation fait apparaître la matrice
de transformation homogène 3 T4 . Celle-ci n’est utile que si l’origine du repère
R3 ne coïncide pas avec l’origine du repère R4 . Sa présence dans la relation,
permet de prendre en compte les paramètres géométriques fixes de la liaison
R3 /R4 .
3. Lorsque n est supérieur à 6, on dit que le robot est redondant. Il sera donc nécessaire d’introduire des relations supplémentaires décrivant cette redondance.
Modélisation géométrique des robots - Commande en position des
robots

68

2.4.7

Exemples de calcul de MGI

2.4.7.1

Calcul du MGI pour le robot AID-5

On se donne le système de coordonnées opérationnelles X.

sx nx ax
 sy ny ay
On peut en déduire U0 =0 T6 = 
 sz nz az
0 0 0

Il faut déterminer le système de coordonnées articulaires q.
On a :


Px
Py 

Pz 
1

(2.94)

U0 =0 T1 1 T2 2 T3 3 T4 4 T5 5 T6 =0 T6
(2.95)
j

Uj = Tj−1 Uj−1 permettant de déterminer dans l’ordre q1 à q6
Détermination de q1 , q2 , q3 Ce robot possède un poignet rotule.
Les premiers éléments du corps articulé forment les translations.
Les derniers éléments forment les rotations.
On a donc :
0

On a donc :

P6 =0 P4 permettant de déterminer dans



0
Px
 0
 Py  0
1
2
3



 Pz  = T1 T2 T3 T4  0
1
1
 
C1
Px
 P y   s1
 

 Pz  = 
1


l’ordre q1 à q6






[−S23 RL4 + C2 D3 ]
[−S23 RL4 + C2 D3 ] 


C23 RL4 + S2 D3
1

(2.96)

(2.97)

(2.98)

Ces relations ne permettent pas d’extraire directement q1 , q2 , q3 .
Seul q1 pourrait être déterminé. En effet, d’après la relation précédente, par
identification des termes de droite et gauche on pourrait écrire :
q1 = ATAN 2(Py , Px ) à π près
Prémultiplication par

(2.99)

1

T0

Px
 Py
1
T0 
 Pz
1


C 1 P x + S1 P y
  −S1 Px + C1 Py 

=

  Pz
1




(2.100)
2.4 Modélisation géométrique inverse d’un robot


0

 0 
=1 T0 0 T1 1 T2 2 T3   =1 T4 

 0 
1
 
 
0
0
 0 
 0 
=1 T6   = U1  
 0 
 0 
1
1


69

0
0 

0 
1

(2.101)

(2.102)

4 → 6 est une liaison rotule n’affectant pas la position.
Or U1 a déjà été calculé par le MGD.
On en tire par identification, de nouvelles équations.
C 1 P x + S1 P y
= −S23 RL4 + C2 D3 (a)
−S1 Px + C1 Py = 0
(b)
Pz
= C23 RL4 + S2 D3
(c)

(2.103)

de l’équation (b) on tire
q1 = ATAN 2(Py , Px )
ou
′
q1 = q1 + 180
˚
Prémultiplication par 2 T1
On a alors :

C 1 P x + S1 P y
 −S1 Px + C1 Py
2
T1 
 Pz
1
D’où les nouvelles équations :





0

 0
 = U2 

 0
1


−S3 RL4 + D3

  C RL4

l =  3

  0
1




C2 (C1 Px + S1 Py ) + S2 Pz
= −S3 RL4 + D3 (a)
−S2 (C1 Px + S1 Py ) + C2 Pz = C3 RL4
(b)
S1 P x − C 1 P y
=0
(c)

(2.104)

(2.105)

(2.106)

On peut calculer q2 et q3 à partir des équations (a) et (b).
C’est un système de type 6.
Calculons d’abord q2
On a un système du type
W Sθj = X Cθi + Y Sθi + Z1
(2.107)
W Cθj = X Sθi + Y Cθi + Z2
70

Modélisation géométrique des robots - Commande en position des
robots

On se ramène à un système du type
B1
B1
B2
B3

Avec

Sθi + B2 Cθi = B3
= 2(Z1 Y + Z2 X)
= 2(Z1 X − Z2 Y )
2
2
= W 2 − X 2 − Y 2 − Z1 − Z2

(2.108)

Dans notre cas on a :
W = RL4
Z 1 = D3
Z2 = 0

X = −B = −(C1 Px + S1 Py )
Y = −Pz

(2.109)

D’où B1 Sθ2 + B2 Cθ2 = B3
Avec
B1 = 2(−D3 Pz ) = −2D3 Pz
(2.110)

B2 = −2D3 B
2
B3 = RL2 − B 2 − Pz2 − D3
4

C’est une équation de type 2 avec identification
B1 → X
B2 → Y
B3 → Z

(2.111)

La solution est :
Sθ2 =

Cθ2 =

2
2
2
B1 B3 + εB2 B1 + B2 − B3
2
2
B1 + B2
2
B1

+
B1 B3 − εB1
2
2
B1 + B2

2
B2

−

2
B3

= S2
(2.112)
= C2

2
2
2
Avec ε = ±1 et B1 + B2 − B3 ≥ 0
Une autre forme peut être utilisée en posant :
2
V = D − B3
2
2
D = B1 + B2

Sθ2 =

B1 B3 + εB2 V
= S2
D

(2.113)

(type 3)

(2.114)

B1 B3 + εB1 V
= C2
Cθ2 =
D
De ces deux relations on tire :
q2 = q2 = ATAN 2(Sθ2 , Cθ2 )
2 solutions ε = ±1

(2.115)
2.4 Modélisation géométrique inverse d’un robot

71

Calculons q3
D’après le dernier système d’équation, on a :
S3 = −

Pz S2 + BC2 − D3
RL4

(2.116)

C 2 P z + S2 B
C3 = −
RL4
D’où
q3 = ATAN 2(S3 , C3 )

(2.117)

L’orientation de U0 =0 T6 est 0 A6 = [s n a]

(2.118)

Détermination de q4 , q5 , q6

donc 3 A0 [s n a] =3 A6
– q1 , q2 , q3 étant connu 3 A0 est connu
– [s n a] est l’orientation définie par le système de coordonnées opérationnelles.
C’est une donnée du problème.
– 3 A6 ne dépend que de q4 , q5 , q6 qui sont inconnues
On a donc ici un système d’équations avec 3 inconnues.
On calcule le terme de gauche en déterminant d’abord
3

A0 = (0 A−1 ) = (0 A3 )T
3

(2.119)

or 0 A3 est la matrice de rotation de 0 T3 c’est à dire
0



C1
 S1
3
T0 [s n a] = 
 0
0

−S1
C1
0
0

D’où on en tire :

T3 =0 T1 1 T2 2 T3 =0 T1 1 T3
0
0
1
0


C23
0
0  0

0   S23
0
1

−S23
0
C23
0

0
−1
0
0

(2.120)
−1
C 2 D3

0
 .[s n a] (2.121)
S 2 D3  
1



3



C23
0
S23
C1
S1 0
3
A0 =  −S23 0
C23   −S1 C1 0 
0
−1 0
0
0 1

A0 [s n a] = [3 A0 s 3 A0 n 3 A0 a]


 
C23
0 S23
C 1 S1 0
sx
3
−S23 0 C23  −S1 C1 0 |sy 
A0 s =
0
−1 0
0
0 1
sz

(2.122)

(2.123)
72

Modélisation géométrique des robots - Commande en position des
robots


De même on obtient



C23
0 S23
C 1 s x + S1 s y
= −S23 0 C23  −S1 sx + C1 sy 
0
−1 0
sz


C23 (C1 sx + S1 sy ) + S23 sz
= −S23 (C1 sx + S1 sy ) + C23 sz 
S1 s x − C 1 s y

C23 (C1 nx + S1 ny ) + S23 nz
3
A0 n = −S23 (C1 nx + S1 ny ) + C23 nz 
S1 nx − C1 ny

(2.124)

(2.125)





et

(2.126)

(2.127)


C23 (C1 ax + S1 ay ) + S23 az
3
A0 a = −S23 (C1 ax + S1 ay ) + C23 az 
S1 ax − C1 ay

D’autre part 3 A6 est la matrice de rotation de 3 T6 .
Elle peut être extraite de U3 .


C 4 C 5 C 6 − S4 S6
−C4 C5 S6 − S4 C6 −C4 S5
3

−S5 S6
C5
A6 =  S5 C6
−S4 C5 C6 − C4 S6 S4 C5 S6 − C4 C6
S4 S5

(2.128)

Après analyse de 3 A6 et q5 , ne peut se déterminer que par l’utilisation de la fonction
Arcosinus. Cette fonction étant moins précise que ATAN2, on préfère utiliser 4 A6
extraite à partir de U4 .


C5 C6 −C5 S6 −S5
4

C6
0
A6 =  S6
(2.129)
S5 C6 −S5 S6 C5
Il est donc nécessaire de calculer :
4

D’où

A0 (s n a) =4 A3 3 A0 (s n a)





C4 0 −S4
C23 (C1 sx + S1 sy ) + S23 sz
4
A0 s = −S4 0 −C4  −S23 (C1 sx + S1 sy ) + C23 sz 
0 1
0
S1 s x − C 1 s y


C4 [C23 (C1 sx + S1 sy ) + S23 sz ] − S4 (S1 sx − C1 sy )
= −S4 [C23 (C1 sx + S1 sy ) + S23 sz ] − C4 (S1 sx − C1 sy )
−S23 (C1 sx + S1 sy ) + C23 sz

(2.130)

(2.131)

(2.132)

On en déduit 4 A0 n et 4 A0 a en remplaçant s par n puis a.
En identifiant le terme matriciel troisième colonne, deuxième ligne on a
−S4 [C23 (C1 ax + S1 ay ) + S23 az ] − C4 (S1 ax − C1 ay ) = 0

(2.133)
2.4 Modélisation géométrique inverse d’un robot

73

que l’on peut réécrire :
C4 B1 + S4 [C23 B2 + S23 az ] = 0
avec

B1 = S1 ax − C1 ay
B2 = C1 ax + S1 ay

(2.134)
(2.135)

C’est une équation type 2. On a 2 solutions :
q4 = AT AN2(B1 , −C23 B2 − S23 az )
ou
′
q4 = q4 + 180
˚

(2.136)

Pour q5 , on utilise la troisième colonne ligne 1 et 3.
−S5 = C4 [C23 (C1 ax + S1 ay ) + S23 az ] − S4 (S1 ax − C1 ay )
C5 = −S23 (C1 ax + S1 ay ) + C2 3az

(2.137)

C’est une équation de type 3 :
On en déduit
q5 = AT AN2(S5 , C5 )

(2.138)

Pour q6 , on a la deuxième ligne des matrices (colonne 1 et 2).
Equations de type 2
S6 = −S4 [C23 (C1 sx + S1 sy ) + S23 sz ] − C4 [S1 sx − C1 sy ]
C6 = −S4 [C23 (C1 nx + S1 ny ) + S23 nz ] − C4 [S1 nx − c1 ny ]

(2.139)

On en déduit
q6 = AT AN2(S6 , C6 )

(2.140)

On a donc une solution pour q5 , q6 , q2 , q3 et deux solutions pour q4 , q1
Soit un total de quatre solutions.
Le choix devra se faire sur des critères additifs.
Par exemple :
– éloignement des butées
– contrôle de l’espace occupé par le robot
– autre...
Remarque : il existe des positions singulières du robot
1. Si Px = Py = 0
Dans ce cas, q1 est indéterminé et O4 (centre de la route) ∈ à l’axe z0 , z1 .
On peut fixer par exemple :
q1 = q1c valeur courante de q1
ou
q1 =le plus éloigné des butées électriques et mécaniques. Dans ce cas, il se
peut qu’une faible variation de la situation entraîne une grande variation de
q1 impossible à réaliser.
74

Modélisation géométrique des robots - Commande en position des
robots
2. Si C23 (C1 ax + S1 ay ) + S23 az = 0 et S1 ax − C1 ay = 0
Alors q4 est indéterminée.

Si S5 = 0 (résultat des hypothèses 2. Voir equation (2.138) page 73 pour le calcul
de q5 )
alors les axes z4 et z6 sont confondus.
C’est donc la somme q4 + q6 qui intervient car q5 = 0
C’est une singularité de poignet.
Dans ce cas,
3

A6 =3 A4 4 A5 5 A6 = A(x, −90 )A(z, q4 + q6 )
˚

(2.141)

Comme q5 = 0 on ne passe pas par R5 . 3 A6 représente la matrice de rotation de U3 :
Or


C 4 C 5 C 6 − S4 S6
−C4 C5 S6 − S4 C6 −C4 S5 0
 S C
−S5 S6
C5
RL4 

(2.142)
U3 =  5 6

 −S4 C5 C6 − C4 S6 S4 C5 S6 − C4 C6
S4 S5
0
0
0
0
1


C 4 C 6 − S4 S6
 0
U3/q5 =0 = 
 −S4 C6 − C4 S6
0

C(4+6)
−S(4+6)
 0
0
U3/q5 =0 = 
 −S(4+6) −C(4+6)
0
0

D’où (deuxième colonne)


−C4 S6 − S4 C6 0 0
0
1 RL4 


S4 S6 − C 4 C 6
0 0
0
0 1

0 0
1 RL4  3
 or A6 =3 A6 [s n a]

0 0
0 1

q4 + q6 = AT AN2[−C23 (C1 nx + S1 ny ) + S23 nz − S1 nx − C1 ny ]

(2.143)

(2.144)

(2.145)

On peut fixer q4 à la valeur courante et q6 par la relation à dessus.
On peut aussi chercher que q4 et q6 soient le plus éloignées possible des butées.
2.4.7.2

MGI du robot ACMA H-80
2.5 Commande en position d’un robot

2.5

75

Commande en position d’un robot

2.5.1

Introduction

En robotique, une des taches de base que doit accomplir un robot consiste à se
déplacer d’un point A à un point B, avec le respect éventuel d’un certain nombre
de contraintes (vitesse, accéleration max, évitement d’obstacle). La commande en
position du robot consiste donc à calculer les différentes consignes, en fonction du
temps, afin de générer le mouvement désiré. C’est pour cela que la commande en
position d’un robot est aussi appelée génération de mouvement.
De manière classique, deux types de commande en position sont envisagée :
– une commande en position dans l’espace articulaire q (fig 2.12a). Pour assurer
le passage de la position initiale à la position finale (q i → q f ) et le controler
temporellement, une génération de mouvement est nécessaire. Par exemple, si
l’on souhaite synchroniser les axes pour avoir un mouvement harmonieux et
controler la géométrie du déplacement du robot à chaque itération.
– une commande en position dans l’espace opérationnel X (fig 2.12b).
d
Génération d’un q (t)
mouvement en
q
T

qf

Asservissement

+
-

qm

qi
(a)

X

f

q d (t)
d
Génération d’un X (t)
MGI
mouvement en
T
X
Xi
qi
MGD

Asservissement

+
-

qm

(b)
Figure 2.12 – Boucles de génération de mouvement. (a) : dans l’espace articulaire
- (b) : dans l’espace opérationnel.
.
Le choix du type de commande peut être effectué en fonction de l’espace dans lequel
est décrit la trajectoire à suivre. La génération d’un mouvement directement dans
l’espace articulaire présente des avantages :
– le mouvement est minimal sur chaque articulation,
– elle nécessite moins de calculs (pas de passage MGD MGI),
Modélisation géométrique des robots - Commande en position des
robots

76

– le mouvement n’est pas affecté pas le passage sur les configurations singulières,
– les contraintes de couples maximum et de vitesse maximum sont connues car
on les fixe aux limites physiques des actionneurs.
En contrepartie, la géométrie du déplacement du robot dans l’espace opérationnel n’est pas controlée (bien qu’elle soit répétitive). Il y a donc risque de collision si
l’environnement est encombré. On en déduit que ce type de mouvement conviendra
d’avantage lorsque l’espace sera dégagé, et pour des déplacements rapides.
Lorsque la géométrie de la trajectoire doit être contrôlée, la génération de trajectoire dans l’espace opérationnel sera préférée. Par contre, elle comporte un certain
nombre d’inconvénients :
– elle demande d’appliquer le MGI en chaque point de la trajectoire,
– elle peut être mise en défaut lorsque la trajectoire calculée passe par une
position singulière,
– elle peut être mise en défaut lorsque la trajectoire calculée fait passer une
articulation hors de ces limites de variation q¬[qmin ; qmax ],
– les limites Cmax , Vmax étant définies dans l’espace opérationnel ne permettent
pas d’utiliser au mieux les actionneurs.
Le choix dépend essentiellement de la tâche à effectuer et de l’espace de travail.

tâche

2.5.2

espace articulaire
rapide
espace de travail libre
(vitesses, couples, butées)

espace opérationnel
“moyennement” rapide
espace de travail encombré
(précision, obstacle)

Génération de mouvement dans l’espace articulaire

Soit un robot à n degrés de liberté.
Soit qi le vecteur des coordonnées articulaires initiales.
Soit qf le vecteur des coordonnées articulaires finales.
Soit kv le vecteur vitesse maximal.
Soit ka le vecteur accélération maximal.
Les caractéristiques kv , ka sont calculées en fonction de :
– kv : les caractéristiques des actionneurs et des rapports de réduction des organes de transmission,
– ka : le rapport des couples moteurs maximaux aux inerties maximales.
Le mouvement interpolé entre q i et q f en fonction du temps t est décrit par
2.5 Commande en position d’un robot

77

l’équation suivante :
q = q i + r(t)D
.
.
q (t) =r (t)D

pour 0 ≤ t ≤ tf

(2.146)

avec D = q f − q i .
r(t) est une fonction d’interpolation telle que : r(0) = 0 et r(tf ) = 1. On peut
alors écrire 2.146 comme suit :
q(t) = q f (t) − [1 − r(t)]D

(2.147)

Plusieurs fonctions permettent de satisfaire le passage par q i à t = 0 et q f à
t = tf :
– interpolation polynomiale linéaire, de degré 3 ou de degré 5
– loi du Bang Bang,
– loi trapèze (Bang Bang avec paliers de vitesse)
2.5.2.1

Interpolation polynomiale

Les 3 modes les plus courants sont l’interpolation linéaire, l’interpolation de degré
3 et l’interpolation de degré 5.
L’interpolation linéaire C’est la plus simple. L’équation du mouvement s’écrit :
q(t) = q i +

t
.D
tf

(2.148)

Cette loi de mouvement impose une vitesse constante le long de la trajectoire. Elle
est continue en position et discontinue en vitesse.
On en déduit la fonction d’interpolation :
r(t) =

t
tf

(2.149)

La loi est continue en position, mais discontinue en vitesse et accélération. On
obtient l’évolution suivante (fig 2.13).
Pratiquement, le début (t = 0) et la fin (t = tf ) sont marqués par des à-coups.
78

Modélisation géométrique des robots - Commande en position des
robots

Evolution de la variable q(t)
3

2.5

q(t)

2

qi

qf

1.5

1

0.5

0

0

0.2

0.4

0.6

0.8

1
t (secondes)

1.2

1.4

1.6

1.8

2

1.4

1.6

1.8

2

1.4

1.6

1.8

2

Evolution de la variable dq/dt
3

2.5

2

1.5
Vmax

dq/dt

1

0.5

0

−0.5

−1

−1.5

−2

0

0.2

0.4

0.6

0.8

1
t (secondes)

1.2

Evolution de la variable d/dt(dq/dt)
3

2

d/dt(dq/dt)

1

0

−1

−2

−3

0

0.2

0.4

0.6

0.8

1
t (secondes)

1.2

Figure 2.13 – Degré 1 : Evolution de la position, de la vitesse et de l’accélération
.
2.5 Commande en position d’un robot

79

L’interpolation de degré 3 [Craig86] Si l’on impose une vitesse nulle aux points
de départ et d’arrivée, on rajoute deux contraintes supplémentaires par rapport à
l’interpolation linéaire. Afin de satisfaire ces 4 contraintes,
q(0) = q i (c)
q(tf ) = q f (d)

q i = q(0) = 0 (a)
˙
˙
f
q = q(tf ) = 0 (b)
˙
˙

le degré minimal du polynôme est de 3. La forme générale est donnée par l’équation suivante :
q(t) = a0 + a1 .t + a2 .t2 + a3 .t3
(2.150)
On en déduit les relations donnant la vitesse et l’accélération :
q = a1 + 2.a2 .t + 3.a3 .t2
˙
q =
¨
2.a2 + 6.a3 .t

(2.151)

En utilisant les hypothèses (a) et (c), on en déduit les coefficients :
a0 = q i
a1 = 0

(2.152)

On en déduit la fonction d’interpolation :
t
tf

r(t) = 3.

2

− 2.

3

t
tf

(2.153)

En utilisant les hypothèses (b) et (d), on obtient un système de deux équations
et deux inconnues. On en déduit les coefficients :
a2 =
a3 =

3
.D
t2
f
2
− t3 .D
f

L’accélération s’annule lorsque t = − 2.a2 =
6.a3

2.3.t3
f
t2 .6.2
f

(2.154)

=

tf
2

. Elle a donc un maximum

en t = 0 et minimum en t = tf . La valeur extrèmale est : qmax =
¨
La vitesse est maximale en t =
extrèmale est : qmax = 3.|D| .
˙
2.tf

tf
2

6.|D|
t2
f

et nulle en t = 0 et en t = tf . La valeur

On obtient l’évolution suivante (fig 2.14).
80

Modélisation géométrique des robots - Commande en position des
robots

Evolution de la variable q(t)
3

2.5

q(t)

2

qf

1.5

1
qi

0.5

0

0

0.2

0.4

0.6

0.8

1
t (secondes)

1.2

1.4

1.6

1.8

2

1.4

1.6

1.8

2

1.4

1.6

1.8

2

Evolution de la variable dq/dt
3

2.5

2
3.|D|/(2.tf)
1.5

dq/dt

1

0.5

0

−0.5

−1

−1.5

−2

0

0.2

0.4

0.6

0.8

1
t (secondes)

1.2

Evolution de la variable d/dt(dq/dt)

6.|D|/(tf.tf)

6

4

d/dt(dq/dt)

2

0

−2

−4

−6.|D|/(tf.tf)

−6
0

0.2

0.4

0.6

0.8

1
t (secondes)

1.2

Figure 2.14 – Degré 3 : Evolution de la position, de la vitesse et de l’accélération
.
2.5 Commande en position d’un robot

81

L’interpolation de degré 5 [Binf ord77]
Si de plus l’on impose une accélération nulle aux points de départ et d’arrivée, on
rajoute deux contraintes supplémentaires par rapport à l’interpolation de degré 3.
Afin de satisfaire ces 6 contraintes,
q i = q (0) = 0 (a)
¨
¨
q f = q(tf ) = 0 (b)
¨
¨

q(0) = q i (e)
q(tf ) = q f (f )

q i = q(0) = 0 (c)
˙
˙
q f = q(tf ) = 0 (d)
˙
˙

le degré minimal du polynôme est de 5. La forme générale est donnée par l’équation suivante :
q(t) = a0 + a1 .t + a2 .t2 + a3 .t3 + a4 .t4 + a5 .t5
(2.155)
On en déduit les relations donnant la vitesse et l’accélération :
q = a1 + 2.a2 .t + 3.a3 .t2 + 4.a4 .t3 + 5.a5 .t4
˙
q =
¨
2.a2 + 6.a3 .t + 12.a4 .t2 + 20.a5 .t3
En utilisant les hypothèses (e), (c) et

 a0
a1

a2

(2.156)

(a), on en déduit les coefficients :
= qi
= 0
= 0

(2.157)

En utilisant les hypothèses (f ), (d) et (b), on obtient un système de trois équations et trois inconnues. On en déduit les coefficients :

10
 a3 = t3 .D

f

a4 = − 15 .D
(2.158)
t4
f

 a = 6 .D
 5
5
tf

On en déduit la fonction d’interpolation :
r(t) = 10.

t
tf

3

− 15.

L’accélération s’annule lorsque t =
√ 2 ¨
√ 2
qmax = 10.|D| qmin = − 10.|D|
¨
3.t
3.t
f

tf
2

t
tf

4

+ 6.

t
tf

5

(2.159)

. Elle a un maximum et un minimum :

f

La vitesse est maximale en t =
extrèmale est : qmax = 15.|D| .
˙
8.tf

tf
2

et nulle en t = 0 et en t = tf . La valeur

On obtient l’évolution suivante (fig 2.15).
82

Modélisation géométrique des robots - Commande en position des
robots

Evolution de la variable q(t)
3

2.5

q(t)

2

qi

qf

1.5

1

0.5

0

0

0.2

0.4

0.6

0.8

1
t (secondes)

1.2

1.4

1.6

1.8

2

1.4

1.6

1.8

2

1.4

1.6

1.8

2

Evolution de la variable dq/dt
3

2.5
15.|D|/8.tf
2

1.5

dq/dt

1

0.5

0

−0.5

−1

−1.5

−2

0

0.2

0.4

0.6

0.8

1
t (secondes)

1.2

Evolution de la variable d/dt(dq/dt)
(10.|D|)/(sqrt(3).tf.tf)

6

4

d/dt(dq/dt)

2

0

−2

−4

−6

− (10.|D|)/(sqrt(3).tf.tf)
0

0.2

0.4

0.6

0.8

1
t (secondes)

1.2

Figure 2.15 – Degré 5 : Evolution de la position, de la vitesse et de l’accélération
.
2.5 Commande en position d’un robot
2.5.2.2

83

Loi bang-bang

Dans ce cas le mouvement est représenté par une phase d’accélération constante
tf
jusqu’à 2 , puis une phase de deccélération constante. On impose les 4 contraintes :
q(0) = q i (c)
q(tf ) = q f (d)

q i = q(0) = 0 (a)
˙
˙
f
q = q(tf ) = 0 (b)
˙
˙

Le mouvement est donc continu en position et en vitesse. Il est discontinu en
accélération.
La position est donnée par l’ensemble des relations suivantes :

 q(t) =

q i + 2 · ( tt )2 .D
f

 q(t) = q i + −1 + 4 ·

t
tf

pour

− 2 · ( ttf )2 .D

0
tf
2

t

f
≤ t ≤ 2
≤ t ≤ tf

(2.160)

On en déduit les relations donnant la vitesse et l’accélération :
tf
P our 0 ≤ t ≤
2

q = 4 · ( tft2 ).D
˙
4
q = ( tf 2 ).D
¨
q =
˙
q =
¨

tf
P our
≤ t ≤ tf
2

4
tf

− 4 · ( tft2 ).D
4
−( tf 2 ).D

(2.161)

(2.162)

4
4
¨
L’accélération a un maximum et un minimum : qmax = ( tf 2 ).D, qmin = −( tf 2 ).D
¨

La vitesse est maximale en t =
extrèmale est : qmax = 2.|D| .
˙
tf

tf
2

et nulle en t = 0 et en t = tf . La valeur

On obtient l’évolution suivante (fig 2.16).
84

Modélisation géométrique des robots - Commande en position des
robots
Evolution de la variable q(t)
3

2.5

qf

q(t)

2

1.5

1
qi

0.5

0

0

0.2

0.4

0.6

0.8

1
t (secondes)

1.2

1.4

1.6

1.8

2

1.4

1.6

1.8

2

1.4

1.6

1.8

2

Evolution de la variable dq/dt
3

2.5
2.|D|/tf
2

1.5

dq/dt

1

0.5

0

−0.5

−1

−1.5

−2

0

0.2

0.4

0.6

0.8

1
t (secondes)

1.2

Evolution de la variable d/dt(dq/dt)

6
4.|D|/(tf.tf)
4

d/dt(dq/dt)

2

0

−2
−4.|D|/(tf.tf)
−4

−6
0

0.2

0.4

0.6

0.8

1
t (secondes)

1.2

Figure 2.16 – Loi bang-bang : Evolution de la position, de la vitesse et de l’accélération
.
2.5 Commande en position d’un robot

85

Remarque : temps minimum .
Si tf n’est pas spécifié, on recherche en général le temps minimum pour faire le
déplacement q i → q f en respectant les contraintes de vitesse et d’accélération.
Généralement on calcul le temps minimum sur chaque articulation séparemment
puis on effectue la coordination des articulations sur un temps commun. La coordination est nécessaire à deux titres :
– harmonie du mouvement global du robot
– contrôle de la trajectoire et de la géométrie du robot.
Les deux étapes sont donc :
– calcul du temps minimum tf : il dépend de la méthode d’interpolation retenue.
Il consiste en fait à saturer la vitesse et/ou l’accélération. Pour le calcul de
chacun des tf j , on se sert des résultats suivants :
Interpolation linéaire

Interpolation de degré 3

tf j =

tf j = MAX

|Dj |
kvj

3·|Dj |
,
2·kvj

6·|Dj |
kaj

10·|Dj |
√
3·kaj

Interpolation de degré 5

tf j = MAX

15·|Dj |
,
8·kvj

Loi Bang-Bang

tf j = MAX

2·|Dj |
,2
kvj

·

|Dj |
kaj

– Pour la coordination des axes, on impose pour chaque axe tf
MAX[tf 1 , tf 2 , · · · tf n ].

=
86

Modélisation géométrique des robots - Commande en position des
robots

2.5.2.3

Loi trapèze : loi bang-bang avec palier de vitesse

Avec une loi bang-bang, le temps minimal est assuré, soit en saturant la vitesse,
soit en saturant l’accélération.
Lorsque la vitesse est saturée, le fait d’ajouter un palier permet aussi de saturer
l’accélération, et de diminuer le temps de parcours.
Evolution de la variable dq/dt
3

2.5

2
Loi trapèze : saturation de l’accélération
1.5
kv

dq/dt

1

0.5

0

−0.5
Loi bang−bang : saturation de la vitesse
−1

−1.5

−2

0

0.2

0.4

0.6

0.8

1
t (secondes)

1.2

1.4

1.6

1.8

2

1.8

2

Evolution de la variable d/dt(dq/dt)

loi trapèze : saturation de l’accélération

6
ka

loi bang−bang : saturation de la vitesse

4

d/dt(dq/dt)

2

0

−2

−4

−ka
−6
0

0.2

0.4

0.6

0.8

1
t (secondes)

1.2

1.4

1.6

Figure 2.17 – Loi trapèze et bang-bang : Evolution de de la vitesse et de l’accélération
.
Si la vitesse est saturée sur l’articulation j, d’après le tableau 2.5.2.2, on voit
que :
– tf ≥

2·|Dj |
kvj

lorsque que l’on veut saturer la vitesse
2.5 Commande en position d’un robot

87

|D |

j
– tf ≥ 2 · kaj lorsque que l’on veut saturer l’accélération
par conséquent l’existence d’un palier de vitesse est donné par :

2 · |Dj |
>2·
kvj

|Dj |
kaj

(2.163)

En élevant au carré, on obtient la condition d’existance du palier :
2
kvj
|Dj | >
kaj

(2.164)

La loi trapèze est optimale en temps : elle est parmi celles qui assurent une
continuïté en vitesse.
La position est donnée par l’ensemble des relations suivantes :

2
i
 qj (t) =
qj + t2 · kaj · sgn(Dj )

τ
i
qj (t) =
qj + (t − 2j ) · kvj · sgn(Dj )

 q (t) = q f − 1 · (t − t)2 · k · sgn(D )
j
fj
aj
j
j
2

0
≤ t ≤
τj
τj
≤ t ≤ tf j − τj
pour
tf j − τj ≤ t ≤
tf j
(2.165)
On en déduit les relations donnant la vitesse et l’accélération :
qj (t) = t · kaj · sgn(Dj )
˙
qj (t) = kaj · sgn(Dj )
¨

P our 0 ≤ t ≤ τj
P our τj ≤ t ≤ tf j − τj

P our tf j − τj ≤ t ≤ tf j

qj (t) = kvj · sgn(Dj )
˙
qj (t) =
¨
0

qj (t) = (tf j − t) · kaj · sgn(Dj )
˙
qj (t) =
¨
−kaj · sgn(Dj )

avec
τj =

kvj
kaj

On obtient l’évolution suivante (fig 2.18).

(2.166)

(2.167)

(2.168)

(2.169)
88

Modélisation géométrique des robots - Commande en position des
robots
Evolution de la variable q(t)
3

2.5

q(t)

2

qf

1.5

1
qi

0.5

0

0

0.2

0.4

0.6

0.8

1
t (secondes)

1.2

1.4

1.6

1.8

2

1.4

1.6

1.8

2

1.4

1.6

1.8

2

Evolution de la variable dq/dt
3

2.5

2

1.5
kv

dq/dt

1

0.5

0

−0.5

−1

−1.5

−2

0

0.2

0.4

0.6

0.8

1
t (secondes)

1.2

Evolution de la variable d/dt(dq/dt)

6
ka

4

d/dt(dq/dt)

2

0

−2

−4

−ka
−6
0

0.2

0.4

0.6

0.8

1
t (secondes)

1.2

Figure 2.18 – Loi trapèze : Evolution de la position, de la vitesse et de l’accélération
.
2.5 Commande en position d’un robot

89

L’aire du trapèze représentant l’évolution des vitesses, est égale à la distance
parcourue dans l’intervalle [0; tf j ]. On a donc :
f
i
|Dj| = |qj − qj | = 2 ·

|Dj| =

τj
0

kaj · t · dt +

kvj · tf j −

tf j −τj
τj

2

kvj
kaj

kvj · dt

(2.170)

On en déduit le temps minimal pour l’axe j.
tf j =

kvj
kaj

|Dj|
kvj
+ |Dj|
kvj

+

tf j = τj +

(2.171)

Pour synchroniser les différents mouvements des axes 1, 2, · · · , n deux méthodes ont
été proposées.
Méthode du temps minimal [Tondu 84]
Dans cette méthode le temps optimal tf = Maxj [tf j ] est conservé. Soit k
l’articulation contraignante imposant tf = tf k .
L’articulation j est synchronisée par rapport à sa loi propre en augmentant la
durée du palier de vitesse. Les phases d’accélération et de déccélération restant
identiques à celles de la loi propre.
La loi synchronisée s’obtient en réalisant une homothétie d’un rapport λj sur sa
loi propre. On obtient l’évolution suivante (fig 2.19).
Evolution de la variable dq/dt
2

1.5
Loi propre
Loi homothétique rapport lambdaj

kvj
1

dq/dt

kaj
lambdaj . kvj

0.5
lambdaj . kaj

t

0
tfk

tfj

−0.5

−1

0

0.2

0.4

0.6

0.8

1
t (secondes)

1.2

1.4

1.6

1.8

2

Figure 2.19 – Loi trapèze : Evolution de la vitesse
.
|D |

tf = τj + λj ·kjvj représente la durée de synchronisation. En fait, τj reste constant.
On peut reprendre le calcul de l’intégrale précédent en introduisant λj . Comme :
90

Modélisation géométrique des robots - Commande en position des
robots

tf = τj +
On en déduit :

|Dj |
λj · kvj

λj =

=⇒

tf − τj =

|Dj |
λj · kvj

(2.172)

|Dj |
tf j − τj
=
(tf − τj ) · kvj
tf − τj

(2.173)

Méthode proportionnelle
Avec cette méthode, les lois de vitesses des diverses articulations sont homothétiques et comportent des phases d’accélération et de freinage de même durée τ .
On obtient l’évolution suivante (fig 2.20).
Evolution de la variable dq/dt
2

1.5
dq/dt = lambdaj . kvk
j=k
1

dq/dt

j=n

0.5

j=2
j=1
t

0
tau

tf−tau

tf

−0.5

−1

0

0.2

0.4

0.6

0.8

1
t (secondes)

1.2

1.4

1.6

1.8

2

Figure 2.20 – Loi trapèze : Evolution de la vitesse
.
On a alors :
qj (t) = λj · qk (t)
˙
˙

pour

j = 1, 2, · · · , n

(2.174)

Classiquement dans cette méthode les lois de vitesses sont déduites par homothétie de la loi de vitesse de l’articulation contraignante k.
On a :
qk (t) = λk · qk (t)
˙
˙

donc

λk = 1

(2.175)

Dans certains cas, il n’est pas possible de respecter des contraintes d’accélérations ou bien celles de vitesses pour une ou plusieurs articulations.
On est alors obligé d’introduire une marge de temps ∆t et de recalculer les
rapports d’homothétie compte tenu de la nouvelle durée du mouvement tf = tf k +∆t.
2.5 Commande en position d’un robot

91

Cette méthode ne donne pas le temps minimum (car soit il faut ralonger τ
(accélération), soit il faut ralonger la durée du palier de vitesse (vitesse)).
Il existe une alternative à cette méthode que nous allons présenter maintenant.
Cette méthode suppose le calcul d’une constante de temps τ de la phase d’accélération à priori différent du τj optimal des lois propres de chacunes des articulations.
Soit λj · kvj la vitesse de la loi synchronisée pour l’articulation j.
Soit νj · kaj l’accélération de la loi synchronisée pour l’articulation j qui produit
le mouvement.
Calculons τ qui assure un temps tf minimum. Considérons deux articulations.
Les temps de parcours minimaux pour ces deux articulations sont :
tf 1 = τ1 +
tf 2 = τ2 +

|D1 |
kv1
|D2 |
kv2

On obtient l’évolution suivante (fig 2.21).
Evolution de la variable dq/dt
2

1.5
lambda1 . kv1
kv1
1
lambda2 . kv2

dq/dt

kv2
0.5

0
tau1

tf1

tf2

tf

tau2
−0.5
tau

−1

0

0.2

0.4

0.6

0.8

1
t (secondes)

1.2

1.4

1.6

1.8

2

Figure 2.21 – Loi trapèze : Evolution de la vitesse
.
La loi synchronisée est telle que le temps tf :

tf = τ1 +
avec

|D2 |
|D1 |
= τ2 +
kv1
kv2

(2.176)
92

Modélisation géométrique des robots - Commande en position des
robots

 τ1 =


τ2 =

λ1 ·kv1
ν1 ·ka1

et

λ2 ·kv2
ν2 ·ka2

tf = MAX[tf 1 , tf 2 ]

On doit calculer λj et νj pour rendre tf minimum. On veut un τ fixe. On a donc :
τ = τ1 = τ2 =

λ2 · kv2
λ1 · kv1
=
ν1 · ka1
ν2 · ka2

(2.177)

De plus, comme τ = τ1 = τ2 et tf = tf 1 = tf 2 , on a :
|D1 |
|D2 |
=
λ1 · kv1
λ2 · kv2
On en déduit deux relations :

 λ2 = λ1 ·


 ν = ν ·
2
1

kv1
kv2
ka1
ka2

(2.178)

·

|D2 |
|D1 |

·

|D2 |
|D1 |

Pour satisfaire les contraintes de vitesse, on a :

 0 ≤ λ1 ≤ 1
kv2 |D1 |
·
⇒
0 ≤ λ1 ≤

kv1 |D2 |
0 ≤ λ2 ≤ 1

Pour satisfaire les contraintes d’accélération, on a :

 0 ≤ ν1 ≤ 1
ka2 |D1 |
·
⇒
0 ≤ ν1 ≤

ka1 |D2 |
0 ≤ ν2 ≤ 1

(2.179)

(2.180)

(2.181)

Le temps tf minimum est obtenu lorsque λ1 et ν1 sont les plus grands et satisfont
les contraintes suivantes :


 λ1opt = MIN 1, kv2 ·


kv1


 ν1opt = MIN 1, ka2 ·
ka1

|D1 |
|D2 |

(2.182)

|D1 |
|D2 |

Dans ce cas la durée optimale de la phase d’accélération est :
τopt =

λ1opt kv1
·
ν1opt ka1

(2.183)
2.5 Commande en position d’un robot

93

Ces relations sont généralisables à n articulations, en écrivant que :

k

 λ1opt = MIN 1, kvj · |D1||

|Dj
v1
 j = 2, 3, · · · , n









kaj |D1 |
j = 2, 3, · · · , n
pour
ν
= MIN 1, ka1 · |Dj |

 1opt









j = 1, 2, · · · , n
λjopt kvj
λ1opt kv1

τopt = ν1opt · ka1 = νjopt · kaj

(2.184)

Remarque : Si pour une articulation j donnée, la loi optimale n’atteint pas la
vitesse maximale kvj , on remplace dans les formules précédentes le terme kvj par
′
la vitesse maximale effectivement atteinte kvj . Cette situation se présente lorsque :
|Dj | <

2
kvj
.
kaj

On obtient l’évolution suivante (fig 2.22).
Evolution de la variable dq/dt
3
kvj

2.5

kvj’

2

1.5

dq/dt

1

0.5
t

0
tfj
−0.5

−1

−1.5

−2

0

0.2

0.4

0.6

0.8

1
t (secondes)

1.2

1.4

1.6

1.8

2

Figure 2.22 – Loi trapèze : cas où la vitesse n’est pas saturée
.
′

On en déduit : kvj =

|Dj | · kaj

En effet, en laissant tomber le terme sgn(Dj ), on a :

 q ( tf ) = q i +
 j 2
j



t

qj ( 2 ) =
˙ f

tf
2

(

tf
2

2

)2

· kaj
′

· kaj = kvj

⇒







|Dj |
2
′

=

kvj =

(

tf 2
)
2

2

· kaj

|Dj | · kaj

t

f
⇒ (2)=

|Dj |
kaj
Modélisation géométrique des robots - Commande en position des
robots

94

2.5.3

Génération de mouvement rectiligne dans l’espace opérationnel

Nous nous restreindrons à ce type de mouvement car la génération de mouvement dans l’espace opérationnel devient vite complexe.
On cherche à appliquer un mouvement rectiligne au point outil (OE origine du
repère RE lié à l’outil).
Soit O TE i la matrice de transformation homogène décrivant la situtation initiale
de l’outil dans le repère R0 .
Soit O TE f la matrice de transformation homogène décrivant la situtation finale
de l’outil dans le repère R0 .
Af P f
Ai P i
O
TE f =
0
1
0 1
On décompose le mouvement en un mouvement de :
– rotation autour d’un axe u de l’organe terminal pour aligner Ai avec Af ,
– translation en ligne droite entre les origines OE i et OE f .

On définit : O TE i =

Les deux mouvements se terminent en même temps.
On a donc :
O

TE f =O TE i · T (u, θ) =

Ai P i
0 1

·

A(u, θ) P
0
1

(2.185)

Soit :
– kv1 et ka1 les vitesses et accélérations maximales pour la rotation
– kv2 et ka2 les vitesses et accélérations maximales pour la translation
Le calcul de u et θ est obtenu à partir de la relation suivante :
Ai .A(u, θ) = Af

(2.186)

A(u, θ) représente une rotation d’un angle θ autour d’un axe u.

si
A(u, θ) = [Ai ]T · Af =  ni  ·
ai


sf nf af


si · sf si · nf si · af
A(u, θ) =  ni · sf ni · nf ni · af 
ai · sf ai · nf ai · af


(2.187)

(2.188)
2.5 Commande en position d’un robot

95

or on a vu que :

u2 .(1 − cθ) + cθ
ux uy .(1 − cθ) − uz .sθ ux uz .(1 − cθ) + uy .sθ
x
u2 .(1 − cθ) + cθ
uy uz .(1 − cθ) − ux .sθ 
A(u, θ) =  ux uy .(1 − cθ) + uz .sθ
y
ux uz .(1 − cθ) − uy .sθ uy uz .(1 − cθ) + ux .sθ
u2 .(1 − cθ) + cθ
z
(2.189)
ou bien


A(u, θ) = u.uT .(1 − cθ) + I3 .cθ + u.sθ
ˆ

(2.190)

De ces différentes expressions on en déduit :

1
 cθ =
· si · sf + ni · nf + ai · af − 1

2


 sθ = 1 · (ai · nf − ni · af )2 + (si · af − ai · sf )2 + (ni · sf − si · nf )2


2


θ =
AT AN2(sθ, cθ)

 i f

a · n − ni · af



1
 u =
·  si · af − ai · sf 

2·sθ



ni · sf − si · sf
(2.191)
L’ensemble des méthodes d’interpolation mises en œuvre dans l’espace articulaire peuvent être mises en œuvre dans l’espace opérationnel.
Compte tenu du déplacement total θ et des contraintes kv1 et ka1 , on calcule le
temps minimal tf 1 .
On procède de manière identique pour déterminer pour déterminer tf 2 imposé
par le mouvement de translation sachant que la distance parcourue est :
D = Pf − Pi =

f
f
i
i
(Px − Px )2 + (Py − Py )2 + (Pzf − Pzi )2

(2.192)

La synchronisation des deux types de mouvement permet de trouver un commun
tf .
Le mouvement résultant est tel que :
O

TE (t) =

A(t) P (t)
0
1

avec

P (t) = P i + r(t)(P f − P i )
A(t) = Ai · A(u, r(t) · θ)

(2.193)

où r(t) représente la fonction d’interpolation retenue.
On pourrait également écrire :
P (t) = P f − (1 − r(t))[P f − P i]
A(t) = Af · A(u, −(1 − r(t)) · θ)

(2.194)
96

Modélisation géométrique des robots - Commande en position des
robots

Remarque : Si l’on choisit de calculer la rotation autour d’un axe fixe par rapport à R0 , alors il faut réécrire la relation exprimant le mouvement de rotation en
composant à gauche :
A(u, θ).Ai = Af

(2.195)
Bibliographie
[DH55]

Denavit J and Hartenberg R.S. A Kinematic notation for lower pair mechanism
based on matrices. Trans. of ACME, J. of Applied Mechanics, 22 :215–221, June
1955.

[Fou80]

A. Fournier. Génération de mouvements en robotique : application des inverses
généralisées et des pseudo-inverses. PhD thesis, USTL, Mntpellier, April 1980.

[GBF85] A.A Goldenberg, B. Benhabib, and R.G. Fenton. A complete generalized solution to inverse kinematics of robots. IEEE J. of Robotics and Automation,
RA-1(1) :14–20, 1985.
[KC]

Khalil W. and Creusot D. Symoro+ : a system for the symbolic modeling of
robots. Robotica, 15 :153–161.

[LZ83]

C.S.G. Lee and M. Ziegler. A geometric approach in solving the inverse kinematics of PUMA robots. In Proc. 13th Int. Symp on Industrial Robots, volume 16,
pages 1–18, 1983.

[Pau81] R.C.P Paul. Robot manipulators : mathematics, programming an d control. 1981.
[Pie68]

D.L Pieper. The Kinematics of manipulators under computer control. PhD thesis,
Stanford University, 1968.

[Ren80] M. Renaud. Contribution a la modélisation et à la commande dynamiques des
robots manipulateurs. PhD thesis, UPS, Toulouse, September 1980.
[SS94]

L. Sicavicco and B. Sciavicco. Modeling and control of robot manipulators. McGraw Hill, 1994.

[WE84] W.A. Wolovich and H. Elliot. A computational technique for inverse kinematics. In 23 IEEE Conf. on Decision and Control, pages 1359–1353, Las Vegas,
December 1984.

Rapport

  • 1.
    Eléments de Robotique UniversitéBlaise Pascal T. Chateau 2012/2013 Cm zm Cn-2 Cm-1 Cn-1 Ck+L zn zk+1 zk+L Ck zk C2 z0,z1 C1 C0 Ck+1 Cn
  • 3.
    Table des matières Listedes figures iii Liste des tableaux vi Introduction 1 1 Géométrie et cinématique du déplacement 1.1 Introduction . . . . . . . . . . . . . . . . . . . . . . . . . . . . . . . . 1.2 Géométrie du déplacement . . . . . . . . . . . . . . . . . . . . . . . . 1.2.1 Transformations homogènes . . . . . . . . . . . . . . . . . . . 1.2.1.1 Matrice de transformations homogènes de translation pure . . . . . . . . . . . . . . . . . . . . . . . . 1.2.1.2 Matrice de transformation homogène de rotation pure 1.2.1.3 Propriétés des matrices de transformation homogène 1.2.1.4 Rotation autour d’un axe u quelconque . . . . . . . . 1.2.2 Situation d’un solide dans l’espace . . . . . . . . . . . . . . . . 1.2.2.1 Description de la position d’un solide . . . . . . . . . 1.2.2.2 Description de l’orientation d’un solide . . . . . . . . 1.3 Cinématique du déplacement . . . . . . . . . . . . . . . . . . . . . . . 1.3.1 Mouvement circulaire . . . . . . . . . . . . . . . . . . . . . . . 1.3.2 Systèmes d’axes tournants . . . . . . . . . . . . . . . . . . . . 1.3.3 Systèmes d’axes mobiles dans le cas général . . . . . . . . . . 1.3.4 Lois de composition des vitesses . . . . . . . . . . . . . . . . . 3 3 3 3 4 5 7 12 16 16 19 24 24 24 25 26 2 Modélisation géométrique des robots - Commande en position des robots 2.1 Introduction à la modélisation . . . . . . . . . . . . . . . . . . . . . . 2.2 Description de la structure géométrique d’un robot . . . . . . . . . . 2.2.1 Notations et règles générales . . . . . . . . . . . . . . . . . . . 2.2.2 Description des robots à chaîne ouverte simple . . . . . . . . . 29 29 30 30 30
  • 4.
    ii Table des matières 2.2.2.1 2.2.2.2 2.3 2.4 2.5 Cadregénéral . . . . . . . . . . . . . . . . . . . . . . Paramétrage de Denavit-Hartenberg modifié (Khalil 86) . . . . . . . . . . . . . . . . . . . . . . . . . . . . 2.2.2.3 Exemples de description . . . . . . . . . . . . . . . . 2.2.3 Extensions aux chaînes fermées et arborescentes . . . . . . . . 2.2.3.1 Cas des chaînes arborescentes . . . . . . . . . . . . . 2.2.3.2 Cas des chaînes fermées . . . . . . . . . . . . . . . . 2.2.3.3 Exemples . . . . . . . . . . . . . . . . . . . . . . . . Modélisation géométrique directe d’un robot . . . . . . . . . . . . . . 2.3.1 Matrice de transformation de l’organe terminal dans le repère atelier . . . . . . . . . . . . . . . . . . . . . . . . . . . . . . . 2.3.2 Calcul du modèle géométrique direct d’un robot (MGD) . . . 2.3.3 Exemples de modèles géométriques directs . . . . . . . . . . . 2.3.3.1 MGD du robot AID-5 . . . . . . . . . . . . . . . . . 2.3.3.2 MGD du robot H-80 . . . . . . . . . . . . . . . . . . 2.3.3.3 MGD du robot AFMA . . . . . . . . . . . . . . . . . Modélisation géométrique inverse d’un robot . . . . . . . . . . . . . . 2.4.1 Introduction . . . . . . . . . . . . . . . . . . . . . . . . . . . . 2.4.2 Position du problème . . . . . . . . . . . . . . . . . . . . . . . 2.4.3 Résolubilité d’un robot manipulateur (introduit par Pieper 68) 2.4.4 Nombre de solutions au problème inverse . . . . . . . . . . . . 2.4.5 Calcul du modèle géométrique inverse (MGI) . . . . . . . . . . 2.4.5.1 Présentation de la méthode . . . . . . . . . . . . . . 2.4.5.2 Solutions aux types d’équations rencontrés . . . . . . 2.4.6 MGI pour des robots à 6 ddl comportant un poignet rotule (d’axes concourants) . . . . . . . . . . . . . . . . . . . . . . . 2.4.7 Exemples de calcul de MGI . . . . . . . . . . . . . . . . . . . 2.4.7.1 Calcul du MGI pour le robot AID-5 . . . . . . . . . 2.4.7.2 MGI du robot ACMA H-80 . . . . . . . . . . . . . . Commande en position d’un robot . . . . . . . . . . . . . . . . . . . . 2.5.1 Introduction . . . . . . . . . . . . . . . . . . . . . . . . . . . . 2.5.2 Génération de mouvement dans l’espace articulaire . . . . . . 2.5.2.1 Interpolation polynomiale . . . . . . . . . . . . . . . 2.5.2.2 Loi bang-bang . . . . . . . . . . . . . . . . . . . . . 2.5.2.3 Loi trapèze : loi bang-bang avec palier de vitesse . . 2.5.3 Génération de mouvement rectiligne dans l’espace opérationnel Conclusion 30 30 33 36 37 39 40 45 45 46 47 47 51 55 55 55 56 56 57 58 58 59 66 68 68 74 75 75 76 77 83 86 94 97
  • 5.
  • 7.
    Table des figures 1.1Passage d’un repère Ri à un repère Rf . . . . . . . . . . . . . 1.2 Translation pure d’un repère Rf par rapport à un repère Ri . 1.3 Rotation pure autour de l’axe x d’un repère Rf par rapport repère Ri . . . . . . . . . . . . . . . . . . . . . . . . . . . . . . 1.4 Rotation pure autour de l’axe y d’un repère Rf par rapport repère Ri . . . . . . . . . . . . . . . . . . . . . . . . . . . . . . 1.5 Rotation pure autour de l’axe z d’un repère Rf par rapport repère Ri . . . . . . . . . . . . . . . . . . . . . . . . . . . . . . 1.6 Passage direct et inverse d’un repère Ri à un repère Rj . . . . 1.7 Transformations consécutives . . . . . . . . . . . . . . . . . . 1.8 Composition à droite et à gauche d’une transformation . . . . 1.9 Composition à droite d’une translation le long de l’axe y . . . 1.10 Composition à droite d’une translation le long de l’axe y . . . 1.11 Rotation autour d’un axe quelconque y . . . . . . . . . . . . 1.12 Coordonnées cartésiennes . . . . . . . . . . . . . . . . . . . . . 1.13 Coordonnées cylindriques . . . . . . . . . . . . . . . . . . . . . 1.14 Coordonnées sphériques . . . . . . . . . . . . . . . . . . . . . 1.15 Les angles d’Euler (convention z, x, z) . . . . . . . . . . . . . . 1.16 Les angles de Bryant (convention x, y, z) . . . . . . . . . . . . 1.17 Les angles de roulis-tangage-lacet (convention z, y, x) . . . . . 1.18 Les quaternions. . . . . . . . . . . . . . . . . . . . . . . . . . 1.19 Mouvement circulaire. . . . . . . . . . . . . . . . . . . . . . . 1.20 Système d’axes tournants. . . . . . . . . . . . . . . . . . . . . 1.21 Système d’axes mobiles : cas général. . . . . . . . . . . . . . . 1.22 Système d’axes mobiles : cas d’une chaîne articulaire simple. . . . à . à . à . . . . . . . . . . . . . . . . . . . . . . un . . un . . un . . . . . . . . . . . . . . . . . . . . . . . . . . . . . . . . . . . . . . 4 5 . 6 . 7 . . . . . . . . . . . . . . . . . . 8 9 10 12 12 13 14 17 17 18 20 21 22 23 24 25 25 26 2.1 Robot à structure ouverte simple. . . . . . . . . . . . . . . . . . . . . 31 2.2 Paramètres géométriques dans le cas d’une structure ouverte simple. 32 2.3 Structure du robot AID-5. . . . . . . . . . . . . . . . . . . . . . . . . 34
  • 8.
    2.4 2.5 2.6 2.7 2.8 2.9 2.10 2.11 2.12 2.13 2.14 2.15 2.16 2.17 2.18 2.19 2.20 2.21 2.22 Structure du robotACMA H-80. . . . . . . . . . . . . . . . . . . . . Robot à structure ouverte arborescente. . . . . . . . . . . . . . . . . . Paramétrage nécessaire à un corps à plus de 2 articulations . . . . . Repères nécessaires pour décrire une chaîne fermée . . . . . . . . . . Synoptique du robot HITACHI-HPR . . . . . . . . . . . . . . . . . . Synoptique du robot ASEA-IRB5 . . . . . . . . . . . . . . . . . . . . Synoptique équivalent du robot ASEA-IRB5 . . . . . . . . . . . . . . Repères nécessaires pour décrire un robot dans un atelier. . . . . . . Boucles de génération de mouvement. (a) : dans l’espace articulaire (b) : dans l’espace opérationnel. . . . . . . . . . . . . . . . . . . . . . Degré 1 : Evolution de la position, de la vitesse et de l’accélération . Degré 3 : Evolution de la position, de la vitesse et de l’accélération . Degré 5 : Evolution de la position, de la vitesse et de l’accélération . Loi bang-bang : Evolution de la position, de la vitesse et de l’accélération . . . . . . . . . . . . . . . . . . . . . . . . . . . . . . . . . . . Loi trapèze et bang-bang : Evolution de de la vitesse et de l’accélération . . . . . . . . . . . . . . . . . . . . . . . . . . . . . . . . . . . . Loi trapèze : Evolution de la position, de la vitesse et de l’accélération Loi trapèze : Evolution de la vitesse . . . . . . . . . . . . . . . . . . Loi trapèze : Evolution de la vitesse . . . . . . . . . . . . . . . . . . Loi trapèze : Evolution de la vitesse . . . . . . . . . . . . . . . . . . Loi trapèze : cas où la vitesse n’est pas saturée . . . . . . . . . . . . 36 37 38 41 42 43 44 46 75 78 80 82 84 86 88 89 90 91 93
  • 9.
    Liste des tableaux 2.1Systèmes d’equations possibles . . . . . . . . . . . . . . . . . . . . . . 60
  • 11.
  • 12.
  • 13.
    Chapitre 1 Géométrie etcinématique du déplacement 1.1 Introduction L’étude de la robotique nécessite des connaissances de base en Géométrie et en cinématique. Lorsque l’on désire commander un robot, il est nécessaire de situer ses différentes parties mobiles les unes par rapport aux autres. Pour ce faire, on associe un repère à chaque partie du robot (socle, effecteur, articulations). Le passage d’un repère à un autre (position, orientation) s’exprime sous la forme d’une matrice de passage. La géométrie, et plus particulièrement les coordonnées et transformations homogènes sont des outils indispensables et très utilisés en robotique, qui font l’objet d’une grande partie de ce chapitre. La cinématique du déplacement, à travers la loi de composition des vitesses, fait également partie des bases de la robotique. Elle est abordée dans la deuxième partie du chapitre 1.2 1.2.1 Géométrie du déplacement Transformations homogènes Dans le cas d’une transformation homogène, le type de représentation est matriciel. Le passage d’un repère initial Ri à un repère final Rf s’exprime par l’intermédiaire d’une matrice M, appelée matrice de changement de repère, matrice de passage ou matrice de transformation homogène (cf fig. 1.1). En robotique,
  • 14.
    4 Géométrie et cinématiquedu déplacement zi M zf yf Rf Ri yi xf xi Figure 1.1 – Passage d’un repère Ri à un repère Rf . cette matrice de dimension (4 × 4), notée  sx  sy i Tf = i Mf = (i sj i nj i aj i Pj ) =   sz 0 i Mf s’exprime sous la forme :  nx ax Px i Rf i Pf ny ay Py  = 0 1 nz az Pz  0 0 1 (1.1) où i sj , i nj et i aj sont les vecteurs unitaires, suivant les axes xj , yj et zj du repère Rj exprimés dans le repère Ri , où i Pj est le vecteur exprimant l’origine du repère Rj dans le repère Ri , et avec : – i Rf : matrice (3 × 3) des rotations donnant l’orientation notée i Af (de Rf dans Ri ) – i Pf : matrice (3 × 1) des translations donnant la position i i Mf = Rf 0 i Pf 1 i = Af 0 i Pf 1 I3 0 = i Pf 1 i × Af 0 0 1 (1.2) A l’aide de la matrice i Mf , il est possible d’exprimer les coordonnées d’un point quelconque P de l’espace dans le repère Ri à partir de ces coordonnées homogènes exprimées dans le repère Rf par la relation :   x x′  y  y′   ′  =i Mf .   z  z  1 1 R  i 1.2.1.1     i = Rf Rf 0 i Pf 1  x  y  .   z  1 R  (1.3) f Matrice de transformations homogènes de translation pure Lorsque deux repères sont uniquement liés par une translation, il est possible de passer de l’un à l’autre en utilisant une matrice de transformation homogène de
  • 15.
    1.2 Géométrie dudéplacement 5 zf zi M Rf Ri xf yi xi b yf c a Figure 1.2 – Translation pure d’un repère Rf par rapport à un repère Ri . translation pure. Nous utiliserons les notations suivantes : – Trans(a, b, c) pour indiquer une translation (a selon l’axe x, b selon l’axe y et c selon l’axe z) – Trans(x, a) pour indiquer une translation a selon l’axe x – Trans(y, b) pour indiquer une translation b selon l’axe y – Trans(z, c) pour indiquer une translation c selon l’axe z Considérons une translation T composée de : – d’une translation a selon l’axe x → Trans(a, 0, 0) = Trans(x, a) – d’une translation b selon l’axe y → Trans(0, b, 0) = Trans(y, b) – d’une translation c selon l’axe z → Trans(0, 0, c) = Trans(z, c) La figure (1.2) montre un exemple de cette translation, associée à la matrice de transformation homogène de translation pure i Mf . Les matrices de translation sont liées par la relation suivante : Trans(a, b, c) = Trans(a, 0, 0).Trans(0, b, 0).Trans(0, 0, c) = Trans(x, a).Trans(y, b).Trans(z, c) (1.4) La matrice de transformation homogène de translation pure i Mf associée à cette translation s’exprime alors :         0 0 a a  I3 0  I3 b   I3 0   I3 b    . . = M =        c  0 0 c 0 0 0 1 0 0 0 1 0 0 0 1 0 0 0 1 (1.5) 1.2.1.2 Matrice de transformation homogène de rotation pure Lorsque deux repères sont uniquement liés par une rotation, il est possible de passer de l’un à l’autre en utilisant une matrice de transformation homogène de rotation pure. Nous utiliserons les notations suivantes :
  • 16.
    6 Géométrie et cinématiquedu déplacement zi θx cos θx cos θx Rf − sin θx xi Ri yf sin θx zf θx yi θx xf Figure 1.3 – Rotation pure autour de l’axe x d’un repère Rf par rapport à un repère Ri . – Rot(x, θx ) pour indiquer une rotation (θx autour de l’axe x) – Rot(y, θy ) pour indiquer une rotation (θy autour de l’axe y) – Rot(z, θz ) pour indiquer une rotation (θz autour de l’axe z) Dans la matrice de transformation homogène, la rotation est décrite par la matrice R présentée dans l’équation (1.1) page 4. Lorsque la rotation est nulle autour des trois axes, R devient la matrice identité (c’est le cas pour les rotations pures) :   1 0 0 R = I3 =  0 1 0  (1.6) 0 0 1 Exemple 1 : Une rotation θx autour de l’axe x (cf fig. 1.3).     1 0 0 1 0 0 R =  0 cos θx − sin θx  =  0 cθx −sθx  (autre notation) 0 sin θx cos θx 0 sθx cθx (1.7) Notons (iRf , jRf , kRf ) la base associée au repère Rf et (iRi , jRi , kRi ) la base associée au repère Ri . La matrice de rotation R est obtenue en décrivant (iRf , jRf , kRf ) en fonction de (iRi , jRi , kRi ) : iRf = 1.iRi + 0.jRi + 0.kRi = jRf = 0.iRi + cos θx .jRi + sin θx .kRi = kRf = 0.iRi − sin θx .jRi + cos θx .kRi = i sf nf i af i (1.8)
  • 17.
    1.2 Géométrie dudéplacement 7 zi zf θy Ri θy Rf xi yf yi θy xf Figure 1.4 – Rotation pure autour de l’axe y d’un repère Rf par rapport à un repère Ri . Exemple 2 :  cos θy 0 R= − sin θy Une rotation θy autour de l’axe y (cf fig. 1.4).    0 sin θy cθy 0 sθy 1 0 = 0 1 0  (autre notation) 0 cos θy −sθy 0 cθy (1.9) Exemple 3 : Une rotation θz autour de l’axe z (cf fig. 1.5).     cos θz − sin θz 0 cθz −sθz 0 R =  sin θz cos θz 0  =  sθz cθz 0  (autre notation) 0 0 1 0 0 1 (1.10) Rq. : Une rotation autour d’un axe principal x, y ou z laisse inchangé l’axe de rotation considéré. 1.2.1.3 Propriétés des matrices de transformation homogène Nous avons vu (eq. 1.1 page peut se mettre sous la forme :  sx  sy T =  sz 0 4) qu’une matrice de transformation homogène T  nx ax Px ny ay Py  = nz az Pz  0 0 1 A P 0 1 (1.11)
  • 18.
    8 Géométrie et cinématiquedu déplacement zi zf θz yf Ri θz Rf xi yi θz xf Figure 1.5 – Rotation pure autour de l’axe z d’un repère Rf par rapport à un repère Ri . avec – A : matrice (3 × 3) des rotations donnant l’orientation (de Rf dans Ri ) – P : matrice (3 × 1) des translations donnant la position (de Rf dans Ri ) Lorsque la tranformation, entre le repère de départ et la repère d’arrivée est une translation pure, on a A = I3 . Dans le cas d’une rotation pure, on a P = O3 = (0, 0, 0)T Propriété 1 La matrice de rotation A est orthogonale : A−1 = AT (1.12) Les éléments de la matrice A de rotation représentent les cosinus directeurs d’orientation (s, n, a). Elle ne contient que trois paramètres indépendants sur les 9 qui la constituent (trois angles de rotations). Un des vecteurs s, n ou a se déduit du produit vectoriel des deux autres, car ils constituent une base orthonormée. Par exemple : s = na n.a = 0 ||n|| = ||a|| = 1 (1.13) Propriété 2 Soit la matrice i Tj de transformation homogène prenant le repère Ri pour l’amener sur le repère Rj . Si j Ti est la matrice de transformation homogène prenant le repère Rj pour l’amener sur le repère Ri , alors i Tj et j Ti sont liés par la relation : −1 i Tj = j Ti (1.14)
  • 19.
    1.2 Géométrie dudéplacement i zi 9 Tj zj j Ri yj Rj Ti = (i Tj )−1 yi xj xi Figure 1.6 – Passage direct et inverse d’un repère Ri à un repère Rj . La figure 1.6 illustre cette propriété. Soit le point P1 de coordonnées homogènes i v1 = (i vx ,i vy ,i vz , 1)T dans Ri et j v1 = (j vx ,j vy ,j vz , 1)T dans Rj .On a : j i v1 = j Ti .i v1 (a) v1 = i Tj .j v1 (b) (1.15) En multipliant par (i Tj )−1 la relation (b) de l’équation (1.15), on obtient : (i Tj )−1 .i v1 = (i Tj )−1 .i Tj .j v1 (1.16) En utilisant la relation (a) de (1.15), on en déduit : j Ti = i Tj −1 (1.17) Propriété 3 Soit la matrice T de transformation homogène effectuant une rotation d’angle θu autour de l’axe u (indifférement x, y ou z). La matrice inverse T −1 est également une matrice de transformation homogène effectuant une rotation autour de l’axe u, mais d’angle −θu : (T )−1 = (Rot(u, θu ))−1 = Rot(u, −θu ) = Rot(−u, θu ) (1.18) Par convention sur le sens de rotation, on a : Rot(u, −θu ) = Rot(−u, θu ) Exemple : rotation autour de l’axe x.  1 0 0  0 c(−θx ) −s(−θx ) Rot(x, −θx ) =   0 s(−θx ) c(−θx ) 0 0 0  1 0 0  0 cθx sθx =   0 −sθx cθx 0 0 0  0 0   0  1 (1.19)  0 0   0  1 = (Rot(x, θx ))T (1.20)
  • 20.
    10 Géométrie et cinématiquedu déplacement k−1 zk−1 0 T1 z1 y1 z0 xk−1 R1 R0 Tk yk Rk−1 yk−1 zk Rk xk x1 y0 0 x0 Tk Figure 1.7 – Transformations consécutives . En utilisant la propriété 1, on en déduit : Rot(x, −θx ) = (Rot(x, θx ))T = (Rot(x, θx ))−1 (1.21) Cette propriété est également vraie pour les matrices de transformation homogène de translation pure : Trans(u, d) = Trans(−u, d) = Trans(u, −d) (1.22) Propriété 4 L’inverse d’une matrice de transformation homogène peut être mis sous la forme :   −sT .P T T  AT −nT .P   = A −A .P T −1 =  (1.23)  0 1 −aT .P  0 1 Propriété 5 Si un repère R0 a subit K transformations consécutives, et si la ieme (i = 1, 2, .., k) est définie par rapport au repère Ri−1 , alors : 0 Tk =0 T1 .1 T2 .2 T3 .3 T4 ...k−1 Tk (1.24) La figure 1.7 illustre cette propriété. Propriété 6 La composition de deux matrices n’est pas commutative T1 .T2 = A1 P1 0 1 . A2 P2 0 1 = A1 .A2 A1 .P2 + P1 0 1 (1.25)
  • 21.
    1.2 Géométrie dudéplacement T2 .T1 = A2 P2 0 1 . 11 A1 P1 0 1 = A2 .A1 A2 .P1 + P2 0 1 (1.26) Le produit des matrices de rotation n’étant pas commutatif, on en déduit : T1 .T2 = T2 .T1 (1.27) Propriété 7 Dans le cas de transformations consécutives autour du même axe u, ce dernier reste inchangé par la transformation : Rot(u, θ1 ).Rot(u, θ2 ) = Rot(u, θ1 + θ2 ) (1.28) Trans(u, d).Rot(u, θ1 ) = Rot(u, θ1 ).Trans(u, d) (1.29) et, Propriété 8 Soit un repère Rj , défini par une tansformation i Tj du repère Ri . Si Rj subit une transformation T (définie par rapport au repère Ri ), alors la transformation totale amenant au repère final Rf s’exprime sous la forme : i Tf = T.i Tj (1.30) Si cette même transformation, amenant Rj sur Rf , est définie dans Rj par T ′ , alors on a également : i (1.31) Tf =i Tj .T ′ On en déduit la relation suivante : T.i Tj =i Tj .T ′ (1.32) Cette relation est illustrée par la figure 1.8. Lorsqu’un repère Rj , défini par rapport à un repère Ri , subit une transformation exprimée par rapport à ce même repère Rj , alors la transformation totale est déduite par la composition à gauche de cette transformation. Remarque sur la composition des transformations Une composition à droite s’applique au repère final. (i Tj Rot(x, θx )R0 .Trans(y, d)R1 ). La figure 1.9 illustre ce propos. = Une composition à gauche s’applique au repère initial. ( Tj =Rot(x, θx )R0 .Trans(y, d)R0 ). La figure 1.10 illustre ce propos. i
  • 22.
    12 Géométrie et cinématiquedu déplacement T′ zf i Tj zj yj zi xf Rj Rf yf xj Ri yi T.i Tj xi Figure 1.8 – Composition à droite et à gauche d’une transformation . z2 z0 y2 Trans(y, d) R2 θx z1 y1 R1 x1 x0 R0 θx x2 y0 Rot(x, θx ) Figure 1.9 – Composition à droite d’une translation le long de l’axe y . 1.2.1.4 Rotation autour d’un axe u quelconque Soit un vecteur unitaire u quelconque. Soit Ri , un repère tel que son origine coïncide avec celle du vecteur u. Les coordonnées de u sont alors, dans Rj : u = (ux , uy , uz )T . Soit Rj , un repère tel que : – son origine coïncide avec celle du vecteur u, – son axe zj se confonde avec le vecteur u. La transformation homogène permettant le passage du repère Ri au repère Rj peut être décomposée en : – Rot(z, α) : une rotation autour de l’axe z d’un angle α tel que u ∈ au plan (zf , yf ), – Rot(x, β) : une rotation autour de l’axe x d’un angle β.
  • 23.
    1.2 Géométrie dudéplacement 13 z2 y2 z0 R2 θx y0 z1 x2 R1 Trans(y, d) R0 Rot(x, θx ) x0 y1 x1 Figure 1.10 – Composition à droite d’une translation le long de l’axe y . On obtient la relation suivante : i Tj = Rot(z, α).Rot(x, β) (1.33) Cette relation est illustrée sur la figure 1.11 Le repère Ri subit donc deux transformations successives : Ri == Rot(z, α) ==> Rf == Rot(x, β) ==> Rj (1.34) En développant la relation i Tj =Rot(z, α).Rot(x, β), on obtient :  cα −sα.cβ sα.sβ 0   sα cα.cβ −cα.sβ 0   =   0 sβ cβ 0  0 0 0 1 (1.35) i A partir de la troisième colonne de la matrice Tj , on peut donc extraire les coordonnées du vecteur u, exprimées dans le repère Ri :     ux sα.sβ u =  uy  =  −cα.sβ  = i aj (1.36) uz cβ   1 0 0 0 cα −sα 0 0  sα cα 0 0   0 cβ −sβ 0 .   0 0 1 0   0 sβ cβ 0 0 0 0 1 0 0 0 1    Tourner autour de l’axe u (défini par le vecteur unitaire u) d’un angle θ, revient donc à tourner autour de l’axe zj . D’où, d’après la propriété 8, définie page 11, on en déduit que : Rot(u, θ).i Tj =i Tj .Rot(z, θ) (1.37) soit : Rot(u, θ) =i Tj .Rot(z, θ).(i Tj )−1 (1.38)
  • 24.
    14 Géométrie et cinématiquedu déplacement zj zi zf u β α yj β yf α Ri Rf Rj yi β xf xi α xj Figure 1.11 – Rotation autour d’un axe quelconque y . d’où : Rot(u, θ) = Rot(z, α).Rot(x, β).Rot(z, θ).Rot(z, −α).Rot(x, −β) (1.39) En développant cette relation, on obtient : Rot(u, θ) = A(u, θ) 0 0 1 (1.40) avec :  u2 .(1 − cθ) + cθ ux uy .(1 − cθ) − uz .sθ ux uz .(1 − cθ) + uy .sθ x u2 .(1 − cθ) + cθ uy uz .(1 − cθ) − ux .sθ  A(u, θ) =  ux uy .(1 − cθ) + uz .sθ y ux uz .(1 − cθ) − uy .sθ uy uz .(1 − cθ) + ux .sθ u2 .(1 − cθ) + cθ z (1.41) On préfère utiliser la relation suivante (formule de Rodrigues) :  A(u, θ) = u.uT .(1 − cθ) + I3 .cθ + u.sθ ˆ avec :   0 −uz uy 0 −ux  u =  uz ˆ −uy ux 0 (1.42) (1.43) u est appelée matrice de pré produit vectoriel. En effet, on a la relation : ˆ ˆ u ∧ V = u.V (1.44)
  • 25.
    1.2 Géométrie dudéplacement 15 pour tout vecteur V .           ux Vx uy .Vz − uz .Vy 0 −uz uy Vx  uy  ∧  Vy  =  uz .Vx − ux .Vz  =  uz 0 −ux  .  Vy  uz Vz ux .Vy − uy .Vx −uy ux 0 Vz (1.45) ˆ Remarque représentation exponentielle eu.θ ˆ Nous avons vu que A(u, θ) = u.uT .(1 − cθ) + I3 .cθ + u.sθ avec :   0 −uz uy u =  uz ˆ 0 −ux  −uy ux 0 De plus, on a :   2  ux ux ux uy ux uz u.uT =  uy  .(ux uy uz ) =  ux uy u2 uy uz  y uz ux uz uy uz u2 z  (1.46) (1.47) et ux 2 + ut 2 + uz 2 = 1  u2 − 1 ux uy ux uz x u2 = u.ˆ = u.uT − I3 =  ux uy u2 − 1 uy uz  ˆ ˆu y ux uz uy uz u2 − 1 z  (1.48) Il est donc possible de réécrire la matrice de rotation sous la forme (autre forme de la formule de Rodrigues) : ˆ ˆ A(u, θ) = I3 + u.sθ + u2 .(1 − cθ) (1.49) En développant en série de Mac Laurin les fonctions sinus et cosinus, on a : A(u, θ) = I3 + u. θ − ˆ θ3 θ5 θ7 + − + ... + u2 . ˆ 3! 5! 7! θ2 θ4 θ6 − + − ... 2! 4! 6! (1.50) Comme on a u3 = −ˆ, u4 = −ˆ2 , u5 = u et u6 = u2 , ˆ u ˆ u ˆ ˆ ˆ ˆ on a donc : A(u, θ) = I3 + u.θ + ˆ u u u (ˆ.θ)2 (ˆ.θ)3 (ˆ.θ)4 (ˆ.θ)5 u + + + + ... 2! 3! 4! 5! (1.51) Ce qui représente le développement en séries de Mac Laurin de la fonction exponentielle. Il vient que : ˆ u (1.52) A(u, θ) = exp(ˆ, θ) = eu.θ
  • 26.
    16 Géométrie et cinématiquedu déplacement Exemple : Rotation autour de l’axe x ˆ A(x, θ) = eu.θ = I3 + u.sθ + u2 .(1 − cθ) ˆ ˆ (1.53) avec u = (1, 0, 0)T       1 0 0 0 0 0 0 0 0 A(x, θ) =  0 1 0  +  0 0 −1  .sθ +  0 −1 0  .(1 − cθ) 0 0 1 0 1 0 0 0 −1 (1.54)   1 0 0  0 cθ −sθ  A(x, θ) = (1.55) 0 sθ cθ 1.2.2 Situation d’un solide dans l’espace La situation d’un solide dans l’expace est exprimée par une matrice de transformation homogène de la forme :  sx nx ax Px  s ny ay Py   T = y  sz nz az Pz  = 0 0 0 1  A P 0 1 (1.56) avec : – A matrice (3 × 3) des rotations donnant l’oriantation du solide dans un repère fixe R0 – P matrice (3 ×1) des translations donnant la position du solide dans un repère fixe R0 Nous allons présenter quelques méthodes de description usuelles en robotique, pour décrire la situation d’un repère Rn , associé à un solide quelconque, dans un repère de référence R0 . Nous aborderons d’abord les différentes méthodes permettant de représenter la position du solide, puis celles permettant de paramétrer l’orientation de ce même solide. 1.2.2.1 Description de la position d’un solide La position de l’origine d’un repère lié à un solide Rn , par rapport à un repère de référence R0 , peut être définie par différents types de coordonnées : – cartésiennes, – cylindriques, – sphériques. Le choix d’une description est guidé par les caractéristiques du manipulateur (forme du volume de travail) d’une part, et par la tâche à réaliser d’autre part.
  • 27.
    1.2 Géométrie dudéplacement 17 zn z0 T Rn R0 xn y0 x0 yn Pz Px Py Figure 1.12 – Coordonnées cartésiennes . zn z0 T Rn yn R0 x0 α xn y0 z r Figure 1.13 – Coordonnées cylindriques . Coordonnées cartésiennes C’est la méthode la plus générale. Elle donne directement les composantes du vecteur de position P . Cette représentation est utilisée lorsque la structure du robot est cartésienne (par exemple : robot cartésien Afma, Acma-p80, Ibm-7565,...). La figure 1.12 illustre cette représentation. La matrice de position est la suivante :   Px Pcar =  Py  (1.57) Pz Coordonnées cylindriques Cette représentation est utilisée lorsque la structure du robot est cylindrique (par exemple : robot Acma th8, Cincinnati-t3-363,...). La figure 1.13 illustre cette représentation La matrice de position est la suivante : Pcyl  r.cα =  rsα  z  (1.58)
  • 28.
    18 Géométrie et cinématiquedu déplacement zn z0 T Rn β r R0 x0 α yn xn y0 Figure 1.14 – Coordonnées sphériques . On peut exprimer les coordonnées cylindriques en fonction des coordonnées catésiennes par les relations suivantes : 2 2 r = Px + Py α = atan2(Py , Px ) z = Pz (1.59) où la fonction atan2 permet le calcul de l’arc-tangente à partir de deux arguments. Le résultat α ∈ [−180; 180], le quadrant étant fixé par l’analyse du signe de Px et de Py . Seul les cas Px = 0 et Py = 0 constitue une singularité (impossibilité de solution). Coordonnées sphériques Cette représentation est utilisée lorsque la structure du robot est spérique (par exemple : robot Unimation-1000/2000/4000, Psabarnabé, Stanford,...). La figure 1.14 illustre cette représentation. La matrice de position est la suivante : Psph   r.cα.sβ =  r.sα.sβ  r.cβ (1.60) On peut exprimer les coordonnées spériques en fonction des coordonnées cartésiennes, par les relations qui suivent : 2 2 r = Px + Py + Pz2 α = atan2(Py , Px ) si β = 0 ou α = 0 si β = 0 Py α = atan2 , Pz si α = 0 ou β = atan2(Px , Pz ) si α = 0 sα (1.61)
  • 29.
    1.2 Géométrie dudéplacement 1.2.2.2 19 Description de l’orientation d’un solide Pour décrire d’orientation d’un solide, le choix de trois paramètres se révèle parfois difficile. Aussi, on se ramène à des représentations redondantes. Les méthodes les plus utilisées sont les suivantes : – les cosinus directeurs, – les angles d’Euler, – les angles de Bryant, – les angles Roulis-Tangage-Lacet, – les paramètres d’Euler (ou Olingue-Rodrigues, quaternions). Les cosinus directeurs La description de l’orientation d’un solide par les cosinus directeurs est donnée par les trois vecteurs s, n et a constituant 9 éléments appelés cosinus directeurs. La matrice d’orientation est la suivante :   sx nx ax  sy ny ay  (1.62) sz nz az La connaissance de deux vecteurs choisis parmi les 3 est suffissante (le troisième est obtenu par le produit vectoriel des deux autres). 3 composantes seulement sont indépendantes, mais dans le cas général, il est difficile de les fixer. La description de l’orientation d’un solide par les cosinus directeurs est une méthode redondante. Les angles d’Euler Dans ce cas, l’orientation d’un repère Rn associé à un solide quelconque, dans un repère référence R0 , est déterminée par la spécification de 3 angles correspondants à trois rotations successives (z, x, z). La figure 1.15 illustre cette méthode de desciption de l’orientation. Le plan (xn , yn ) coupe le plan (x0 , y0 ) suivant une droite ON appelée ligne modale, perpendiculaire aux axes z0 et zn . Son sens positif est donné par le produit vectoriel zn ∧ z0 . Comme le montre la figure 1.15, les angles d’Euler sont définis comme suit : – φ (précession) : angle entre x0 et ON tel que 0 ≤ φ ≤ 3600 – θ (nutation) : angle entre z0 et zn tel que 0 ≤ θ ≤ 1800 – ψ (rotation propre) : angle entre ON et xn tel que 0 ≤ ψ ≤ 3600 φ et ψ sont mesurés dans le sens donné par la règle du ‘“tire-bouchon” respectivement autour des axes Z0 et Zn . La composition de ces trois rotations permet de calculer la matrice d’orientation. En effet, on a : AEul = E(z, φ).A(x, θ).A(z, ψ) (1.63) d’où AEul   cφ.cψ − sφ.cθ.sψ −cφ.sψ − sφ.cθ.cψ sφ.sθ =  sφ.cψ + cφ.cθ.sψ −sφ.sψ + cφ.cθ.cψ −cφ.sθ  sθ.sψ sθ.cψ cθ (1.64)
  • 30.
    20 Géométrie et cinématiquedu déplacement z0 yn φ ψ θ zn R0 O y0 pl (x n, yn ) Rn xn x0 pl(x0 , y0 ) φ θ ψ N Figure 1.15 – Les angles d’Euler (convention z, x, z) . Remarque : Au lieu de prendre par convention l’ordre (z, x, z), certains auteurs prennent l’ordre (z, y, z), ce qui donne : AEul = A(z, φ).A(y, θ).A(z, ψ) (1.65) On peut montrer, que pour passer des cosinus directeurs aux angle d’Euler, les relations suivantes sont utilisables : φ = atan2(−ax , ay ) à 1800 près (φ = atan2(ax , −ay ) + 1800) (3éme colonne) θ = atan2(sφ.ax − cφ.ay , az ) (3éme colonne) ψ = atan2(−cφ.nx − sφ.ny , cφ.sx + sφ.sy ) (1/2éme colonne) (1.66) Dans le cas où ax et ay sont nuls, les axes z0 et zn sont confondus ; donc θ est nul ou égal à 1800 . Cette situation correspond à un cas singulier, dans lequel, les rotations φ et psi s’effectuent autour du même axe et c’est la quantité φ + ψ qui intervient. Lorsque θ = 0, on a alors : AEul = A(z, φ + ψ) (1.67) on en déduit que φ + ψ =antan2(−nx , ny ) (2ème colonne de la matrice de rotation autour de z) et φ = 0 Les angles de Bryant Comme pour les angles d’Euler, l’orientation d’un repère Rn , associé à un solide quelconque, dans un repère de référence R0 , est déterminée
  • 31.
    1.2 Géométrie dudéplacement φ3 z2 zn 21 z0 z1 φ2 yn φ1 φ2 y 1 y 2 R0 Rn φ1 x0 x1 φ3 φ1 y0 φ2 φ3 x2 xn Figure 1.16 – Les angles de Bryant (convention x, y, z) . par la spécification de 3 angles correspondants à 3 rotations successives (x, y, z). La figure 1.16 illustre cette description de l’orientation. La composition de ces trois notations permet de calculer la matrice d’orientation. En effet, on a : ABry = A(x, φ1 ).A(y, φ2).A(z, φ3 ) (1.68) d’où ABry  cφ2 .cφ3 cφ1 .sφ3 + sφ1 .sφ2 .cφ3 sφ1 .sφ3 − cφ1 .sφ2 .cφ3 =  −cφ2 .sφ3 cφ1 .cφ3 − sφ1 .sφ2 .sφ3 sφ1 .cφ3 + cφ1 .sφ2 .sφ3  sφ2 −sφ1 .cφ2 cφ1 .cφ2  (1.69) On peut montrer, que le passage des cosinus directeurs aux angles de Bryant est obtenu par les relations suivantes : φ1 = atan2(−nz , az ) à 1800 près (φ1 = atan2(nz , −az ) + 1800 ) (3/4éme colonne) φ2 = atan2(sz , cφ1 .az − sφ1 .nz ) (3éme ligne) φ3 = atan2(cφ1 .nx + sφ1 .ax , cφ1 .ny + sφ1 .ay ) (3/4éme colonne) (1.70) Les roulis-tangage-lacet Comme pour les deux représentations précédentes, l’orientation d’un repère Rn , associé à un solide quelconque, dans un repère de référence R0 , est déterminée par la spécification de 3 angles correspondants à 3 rotations successives (z, y, x). La figure 1.17 illustre cette description de l’orientation. La composition de ces trois rotations permet de calculer la matrice d’orientation : ARTL = A(z, φ).A(y, θ).A(x, ψ) (1.71)
  • 32.
    22 Géométrie et cinématiquedu déplacement z2 zn z1 z0 φ θ ψ yn ψ R0 y1 φ Rn x0 φ θ y0 θ ψ x2 xn x1 Figure 1.17 – Les angles de roulis-tangage-lacet (convention z, y, x) . d’où ARTL   cφ.cθ cφ.sθ.sψ − sφ.cψ cφ.sθ.cψ + sφ.sψ =  sφ.cθ sφ.sθ.sψ + cφ.cψ sφ.sθ.cψ − cφ.sψ  −sθ cθ.sψ cθ.cψ (1.72) On peut montrer, que le passage des cosinus directeurs aux angles RTL est obtenu par les relations suivantes : φ = atan2(sy , sx ) à 1800 près (φ = atan2(−sy , −sx ) + 1800) (1ère colonne) θ = atan2(−sz , cφ.sx + sφ.sy ) (1ère colonne) ψ = atan2(sφ.ax − cφ.ay , −sφ.nx + cφ.ny ) (3/4éme colonne) (1.73) IL y a une singularité si sy = sx = 0 Les paramètres d’Euler (les quaternions) Dans ce cas, l’orientation d’un repère Rn , associé à un solide quelconque, dans un repère de référence R0 , est déterminée par la spécification des 4 paramètres (λ1 , λ2 , λ3 , λ4 ) qui décrivent une rotation unique équivalente θ ∈ [−180; 180] autour d’un axe de vecteur unitaire u, tels que : λ1 = cos θ 2 λ2 = ux . sin θ 2 λ3 = uy . sin θ 2 λ4 = uz . sin θ 2 (1.74)
  • 33.
    1.2 Géométrie dudéplacement 23 z0 θ zn u yn R0 Rn x0 y0 xn Figure 1.18 – Les quaternions. . Ces paramètres ont les propriétés suivantes : 2λ2 − 1 = cos θ 1 (a) et λ2 + λ2 + λ2 + λ2 = 1 (b) 1 2 3 4 (1.75) La figure 1.18 illustre cette description de l’orientation La matrice d’orientation est la suivante : AQuat  2.(λ2 + λ2 ) − 1 2.(λ2 .λ3 − λ1 .λ4 ) 2.(λ2 .λ4 + λ1 .λ3 ) 1 2 =  2.(λ2 .λ3 + λ1 .λ4 ) 2.(λ2 + λ2 ) − 1 2.(λ3 .λ4 − λ1 .λ2 )  1 3 2.(λ2 .λ4 − λ1 .λ3 ) 2.(λ3 .λ4 + λ1 λ2 ) 2.(λ2 + λ2 ) − 1 1 4  (1.76) Pour démontrer cette relation, il suffit de remplacer les expressions des paramètres (λ1 , λ2 , λ3 , λ4 ) dans la matrice et de comparer avec celle obtenue pour une rotation autour d’un axe u quelconque. On peut montrer, que le passage des cosinus directeurs aux quaternions (paramètres d’Euler) est obtenu par les relations suivantes : λ1 = 1 . 2 sx + ny + az + 1 1 λ2 = 2 .sign(nx − ay ). sx − ny − az + 1 1 λ3 = 2 .sign(ax − sz ). −sx + ny − az + 1 1 λ4 = 2 .sign(sy − nx ). −sx − ny + az + 1 La fonction sign(A) donne le signe d’un réel A (1.77)
  • 34.
    24 Géométrie et cinématiquedu déplacement zf P R Rf θ s A yf xf Figure 1.19 – Mouvement circulaire. . 1.3 Cinématique du déplacement Dans cette partie, nous aborderons les principales relations utilisables lorsqu’il s’agit de décrire le mouvement d’un corps solide. 1.3.1 Mouvement circulaire Soit un point P qui se déplace sur un cercle de rayon R (cf fig. 1.19) : – s représente la longueur de l’arc AP donc s = R.θ – θ est l’angle au centre du cercle correspondant La vitesse tangentielle ν peut s’exprimer en fonction de la vitesse angulaire de rotation ω par la relation suivante : ν= 1.3.2 dθ ds = R. = R.ω dt dt (1.78) Systèmes d’axes tournants Considérons un système d’axes tournants représenté par la figure 1.20 Soit Rf (xz , yf , zf ) un repère absolu d’origine O que nous considérons fixe. Soit Rm (xm , ym , zm ) un repère tournant par rapport à Rf de même origine O. Soit A = (A1 , A2 , A3 )T (vecteur position de A exprimé dans Rm ), un point variable dans l’espace. Alors, on a : dA dA (1.79) = +ω∧A dt dt Rf Rm où V (A)Rf = V (A)Rm + ω ∧ A (1.80) où ω représente la vitesse angulaire de rotation du repère Rm par rapport au repère Rf .
  • 35.
    1.3 Cinématique dudéplacement 25 zf A zm ym Rf Rm yf xf xm Figure 1.20 – Système d’axes tournants. . P zf r zm Q Rm R Rf yf O ym xm xf Figure 1.21 – Système d’axes mobiles : cas général. . 1.3.3 Systèmes d’axes mobiles dans le cas général Soit Rf (xf , yf , zf ) un repère absolu d’origine O que nous considérons fixe. Soit Rm (xm , ym , zm ) un repère mobile par rapport à Rf d’origine Q. Supposons que R soit le vecteur position de l’origine Q par rapport à O. . Supposons que R soit la vitesse du point Q par rapport à O. Supposons que r soit le vecteur position d’un point P quelconque par rapport à Q. . Soit r la vitesse du point P par rapport à Q. La figure 1.21 représente la scène. On a alors : V (P )Rf = V (Q)Rf + V (P )Rm + ω ∧ r (1.81) soit : dr dt . =R + Rf dr dt Rm +ω∧r où : . – R exprime la vitesse du point Q par rapport à O, (1.82)
  • 36.
    26 Géométrie et cinématiquedu déplacement z0 xi+1 zi+1 z1 x1 C1 R1 zi y1 Ci C0 R0 Ci+1 zf y0 Ri x0 Ri+1 y i+1 yi xi Figure 1.22 – Système d’axes mobiles : cas d’une chaîne articulaire simple. . dr exprime le mouvement du aux translations, dt Rm – ω ∧ r exprime le mouvement du aux rotations, – ω exprime la vitesse angulaire de rotation de Rm par rapport à Rf . – . Remarque 1 : Si Q est confondu avec O, alors : R= 0. Il s’en suit que : dr dr = +ω∧r (1.83) dt dt Rf qui s’écrit également : . Rm . r Rf =rRm +ω ∧ r (1.84) Ce qui permet de vérifier les relations précédentes. Remarque 2 : Si, de plus, P ne varie par en amplitude (c’est à dire . en position), alors r Rm = 0. Il s’en suit que : . r Rf = ω ∧ r = −r ∧ ω = ω .r ˆ (1.85) avec – ω exprime la vitesse angulaire de rotation de Rm par rapport à Rf , – ω exprime la matrice de pré produit vectoriel (tenseur ω ). ˆ ˜ 1.3.4 Lois de composition des vitesses Le but de cette partie est d’établir une relation de récurrence pour une chaine articulaire formée par les corps successifs d’un robot. A chacun des corps Ci , on associe un repère Ri . De plus, on considère R0 comme repère fixe. La figure 1.22 décrit le cas d’une chaîne articulaire. Dans ce cas, on peut exprimer la vitesse de
  • 37.
    1.3 Cinématique dudéplacement 27 translation associée au corps Ci+1 par la relation suivante : (R ) (R ) (R ) (R ) V (Oi+1 )(R0) = V (Oi )(R0) + V (Oi+1 )(Ri ) + Ωi (R0) ∧ Oi Oi+1 i i i i (1.86) où : (R ) – V (Oi+1)(R0) représente la vitesse de translation de translation de Oi+1 par i rapport à O0 exprimée dans le repère Ri , (R ) – V (Oi)(R0) représente la vitesse de translation de Oi par rapport à O0 exprimée i dans le repère Ri , (R ) – V (Oi+1)(Ri ) représente la vitesse de translation de Oi+1 par rapport à Oi exi primée dans le repère Ri , (R ) – Ωi (R0) représente la vitesse angulaire de rotation du repère Ri par rapport au i repère R0 exprimée dans le repère Ri , – Oi+1 Oi représente le vecteur position de l’origine Oi+1 dans le repère Ri . De même, on peut écrire : (R ) (R ) V (Oi+1 )(R0) = i Ai+1 .V (Oi+1 )(R0 ) i i+1 (1.87) et (R ) (R ) 0 V (Oi )(R0) = i Ai−1 .V (Oi)(Ri−1 ) i i i (1.88) Ai+1 représente la matrice rotation de la matrice de transformation homogène Ti+1 permettant le passage du repère Ri à Ri+1 . Pour les vitesses angulaires de rotation, nous utiliserons la relation suivante : (R ) (R ) (R ) Ωi (R0) = Ωi (Ri−1 ) + i Ai−1 .Ωi−1 (R0 ) i i−1 i−1 (1.89) avec : (R ) – Ωi (R0) représente la vitesse angulaire de rotation du repère Ri par rapport à i R0 exprimée dans le repère Ri , (R ) – Ωi (Ri−1 ) représente la vitesse angulaire de rotation du repère Ri par rapport à i−1 Ri−1 exprimée dans le repère Ri−1 , i – Ai−1 représente la matrice de rotation (cosinus directeur) de la matrice de transformation homogène permettant le passage du repère Ri au repère Ri−1 , (R ) – Ωi−1 (R0 ) représente la vitesse angulaire de rotation du repère Ri−1 par rapport i−1 à R0 exprimée dans le repère Ri−1 . Ces trois relations permettent de calculer les vitesses de rotation et de translation de n’importe quel segment du robot, en particulier celles de l’organe terminal.
  • 39.
    Chapitre 2 Modélisation géométriquedes robots - Commande en position des robots 2.1 Introduction à la modélisation La conception et la commande des robots manipulateurs nécessitent le calcul de certains modèles mathématiques, tels que les – modèles de transformation entre : – l’espace opérationnel X (dans lequel on définit la situation de l’organe terminal) – l’espace articulaire q (dans lequel on définit la configuration du robot) X ←→ q (2.1) – modèles dynamiques définissant les équations du mouvement du robot, qui permettent d’établir les relations entre les couples et les forces exercés par les actionneurs et, les positions, vitesses et accélérations articulaires : . .. Γ = f (q, q , q , F ) (2.2) Parmi les modèles de transformation, on distingue : – les modèles géométriques direct et inverse qui expriment la situation de l’organe terminal en fonction de la configuration du mécanisme articulaire et inversement. X ←→ q (2.3) – les modèles différentiels direct et inverse qui expriment la différentielle de la situation de l’organe terminal en fonction de la configuration du mécanisme articulaire et inversement. . . (2.4) X ←→ q La plupart de ces modèles sont établis par calcul symbolique. Dans cet objectif, un logiciel de calcul symbolique est un outil essentiel.
  • 40.
    Modélisation géométrique desrobots - Commande en position des robots 30 L’Ecole Centrale de Nantes a mis sur le marché un logiciel appelé SYMORO+ [KC] qui permet l’étude, le développement et le test de tous ces modèles. Il existe des méthodes et notations utilisées pour la modélisation des robots. La plus répandue est celle de Denavit-Hartenberg [DH55]. Elle est bien adaptée pour des structures ouvertes simples, mais présente des ambiguïtés lorsqu’elle est appliquée sur des robots à structures fermées ou arborescentes. Dans les années 80, Wisama Khalil propose une modification de cette méthode : méthode de Denavit-Hartenberg modifiée (dîte méthode de Khalil). Cette méthode permet la description homogène en un nombre minimum de paramètres pour la représentation des différentes structures de robots généralement rencontrés. 2.2 2.2.1 Description de la structure géométrique d’un robot Notations et règles générales La méthode générale est basée sur les règles et conventions suivantes : – la variable de l’articulation j est notée qj – le corps j est noté Cj – les corps sont supposés parfaitement rigides. Ils sont connectés par des articulations considérées comme idéales. – le repère Rj est lié au corps Cj – l’axe du zj repère Rj , est porté par l’axe articulaire j – les paramètres qui permettent de définir le repère Rj , par rapport au repère antécédent sont munis de l’indice j 2.2.2 Description des robots à chaîne ouverte simple 2.2.2.1 Cadre général Le système est composé de n + 1 corps C0 , C1 , C2 ...Cn et de n articulations (voir figure 2.1). Le corps C0 désigne la base du robot. Le corps Cn est celui qui porte l’organe terminal. L’articulation j connecte le corps Cj au corps Cj−1. 2.2.2.2 Paramétrage de Denavit-Hartenberg modifié (Khalil 86) Le repère Rj fixé au corps Cj est défini de telle sorte que : – zj est porté par l’axe articulaire j – xj est porté par la perpendiculaire commune aux axes zj et zj+1 Si zj et zj+1 sont parallèles ou colinéaires, le choix de xj n’est pas unique. Dans ce cas, des
  • 41.
    2.2 Description dela structure géométrique d’un robot 31 Cn−2 Cn−1 C4 C3 C2 Cn C1 C0 Figure 2.1 – Robot à structure ouverte simple. . considérations de symétrie ou de simplicité permettent alors un choix rationnel. – yj est l’axe qui forme un trièdre direct : yj = zj ∧ xj Le passage du repère Rj−1 au repère Rj , s’exprime en fonction de 4 paramètres suivants : – αj est l’angle entre les axes zj−1 et zj correspondant à une rotation autour de xj−1 – dj est la distance entre les axes zj−1 et zj le long de xj−1 – θj est l’angle entre les axes xj−1 et xj correspondant à une rotation autour de zj – rj est la distance entre les axes xj−1 et xj correspondant à une rotation autour de zj La figure 2.2 représente la définition des paramètres de Denavit-Hartenberg modifié. La variable articulaire qj (associée à la j eme articulation ) est soit : – θj si l’articulation est de type rotoïde (σj = 0) – rj si l’articulation est de type prismatique (σj = 1) On a donc : qj = σ j .θj + σj .rj La matrice de transformation homogène définissant le repère Rj dans le repère Rj−1 est donnée par : j−1 Tj = Rot(x, αj ).Trans(x, dj ).Rot(z, θj ).Trans(z, rj ) (2.5) Soit :  Cθj −Sθj 0 dj  Cαj .Sθj Cαj .Cθj −Sαj −rj .Sαj  j−1  Tj =   Sαj .Sθj Sαj .Cθj Cαj rj .Cαj  0 0 0 1  (2.6)
  • 42.
    32 Modélisation géométrique desrobots - Commande en position des robots xj zj−1 θj zj Oj αj rj xj−1 dj Oj−1 Figure 2.2 – Paramètres géométriques dans le cas d’une structure ouverte simple. . On remarque que : j−1 Aj = Rot(x, αj ).Rot(z, θj ) car les opérations de rotations/translations successives sur un même axe sont commutatives. On en déduit la matrice de transformation homogène inverse permettant le passage du repère Rj au repère Rj−1 . j Tj−1 = Trans(z, −rj ).Rot(z, −θj ).Trans(x, −dj ).Rot(x, −αj ) dont l’expression littérale est la suivante (j Aj−1 = (j−1Aj )T ) :  Cθj Cαj .Sθj Sαj .Sθj −dj .Cθj  −Sθj Cαj .Cθj Sαj .Cθj dj .Sθj j Tj−1 =   0 −Sαj Cαj −rj 0 0 0 1     (2.7) (2.8) Remarques : 1. Pour la définition de R0 , le choix le plus simple consiste à confondre R0 avec R1 pour la valeur particulière de l’articulation q1 = 0. Cela implique que z0 et z1 sont confondus, et que x0 = x1 pour q1 = 0. 2. De même, en définissant l’axe xn du repère Rn comme étant colinéaire à xn−1 lorsque qn = 0, on rend les paramètres rn = θn = 0. 3. Pour une articulation j prismatique, l’axe zj est parallèle à l’axe de l’articulation, mais la position sur cet axe peut être quelconque. 4. Cette méthode de description fixe la configuration zéro du robot tel que q = q = qi0 = 0. On peut choisir une autre configuration (quelconque), en procédant au changement de variable suivant : q c = q − q i0 avec
  • 43.
    2.2 Description dela structure géométrique d’un robot 33 – qc = nouveau vecteur des variables articulaires – qi0 = configuration à zéro choisie 5. De même, si la convention axe positif est changée au montage du robot, il suffit d’effectuer le changement de variable : q c = −q. 6. Lorsqu’une cinématique est constituée par 2 ou plusieurs axes parallèles consécutifs, on peut se ramener à une seule matrice de transformation équivalente en faisant intervenir la somme des variables articulaires. Par exemple, si αj+1 = 0, les axes zj et zj+1 sont parallèles. Dans ce cas, on a : j−1 Tj+1 =j−1 Tj .j Tj+1 = Rot(x, αj ).Trans(x, dj ).Rot(z, θj ).Trans(z, rj ).Rot(x, αj+1).Trans(x, dj+1 ). Rot(z, θj+1 ).Trans(z, rj+1 ) = Rot(x, αj ).Trans(x, dj ).Rot(z, θj ).Trans(z, rj ). Trans(x, dj+1 ).Rot(z, θj+1 ).Trans(z, rj+1 ) = Rot(x, αj ).Trans(x, dj ).Trans(z, rj ).Rot(z, θj + θj+1 ).Trans(x, dj+1 ).Trans(z, rj+1 ) = Rot(x, αj ).Trans(x, dj ).Rot(z, θj + θj+1 ).Trans(z, rj + rj+1).Trans(x, dj+1) (2.9) Ce qui peut se réécrire sous la forme suivante :  C(θj + θj+1 ) −S(θj + θj+1 ) 0 dj + dj+1 .Cθj  Cαj .S(θj + θj+1 ) Cαj .C(θj + θj+1 ) −Sαj dj+1.Cαj .Sθj − (rj + rj+1 ).Sαj j−1 Tj+1 =   Sαj .S(θj + θj+1 ) Sαj .C(θj + θj+1 ) Cαj dj+1.Sαj .Sθj + (rj + rj+1 ).Cαj 0 0 0 1 (2.10) La transformation inverse a pour expression : j+1 Tj−1      C(θj + θj+1 ) Cαj .S(θj + θj+1 ) Sαj .S(θj + θj+1 ) −dj .C(θj + θj+1 ) − dj+1 .Cθj+1  −S(θj + θj+1 ) Cαj .C(θj + θj+1 ) Sαj .C(θj + θj+1 ) dj .S(θj + θj+1 ) + dj+1 .Sθj+1   =   0 −Sαj . Cαj −(rj + rj+1 ) 0 0 0 1 (2.11) Dans ces deux expressions, on voit apparaître les sommes θj + θj+1 et rj + rj+1 (cf (2.9)). 2.2.2.3  Exemples de description Robot manipulateur AID-5 (RRR,RRR) La figure 2.3 montre le synoptique du robot AID-5. Le robot AID-5 est constitué : – d’un porteur muni de 3 degrés de liberté (RRR) – d’un poignet muni de 3 degrés de liberté (RRR) : une rotule d’axes concourants Pour déterminer les paramètres de Denavit-Hartenberg, il faut procéder par étapes : 1. disposer les axes zj sur les axes articulaires 2. disposer R0 tel que R0 = R1 pour q1 = 0
  • 44.
    34 Modélisation géométrique desrobots - Commande en position des robots z6 + z0 , z1 z5 + x4 , x5 , x6 + x0 , x1 x2 z2 + z4 + RL4 D3 + z3 x3 Figure 2.3 – Structure du robot AID-5. .
  • 45.
    2.2 Description dela structure géométrique d’un robot 35 3. disposer les axes xj en prenant la convention xj = zj ∧ zj+1 (trièdre direct). Il se peut que pour des raisons de simplicité, qu’il soit préférable de prendre la convention trièdre indirect. Dans le cas du robot AID-5, les axes zj sont posés de manière automatique en fonction des conventions de signes sur les axes articulaires (angle positif selon la règle du vissage selon l’axe). Le tableau des paramètres de Denavit-Hartenberg relatif au robot AID-5 est le suivant : R0 R1 R2 R3 R4 R5 J =⇒ R1 =⇒ R2 =⇒ R3 =⇒ R4 =⇒ R5 =⇒ R6 σj 0 0 0 0 0 0 αj 0 90 0 90 −90 −90 dj 0 0 D3 0 0 0 θj rj q1 0 q2 0 q3 0 q4 RL4 q5 0 q6 0 Trièdre D/I D D/I D I I Plusieurs problèmes sont mis à jour par cet exemple. Tout d’abord, le choix des vecteurs xj n’est pas unique. En effet, si l’on regarde les liaisons R0 =⇒ R1 et R2 =⇒ R3 , les axes zj sont soit colinéaires, soit parallèles. Pour simplifier la représentation, dans les deux cas on choisit l’axe xj correspondant de tel sorte que le passage à l’axe xj+1 soit simple (même direction). Dans certains cas, on regarde également la liaison précédente, de manière à simplifier la représentation du passage de l’axe xj−1 à l’axe xj . Pour le choix de x6 , il serait nécessaire de connaître la direction de l’axe xe du repère outil. En l’abscence de celle-ci, le choix est arbitraire mais doit être simple. Par conséquent, seul deux choix sont retenus en général. Ces deux choix diffèrent par une direction opposée. Dans notre exemple, nous avons retenu la simplification du passage R5 =⇒ R6 qui conduit à avoir x5 = x6 pour q6 = 0. Dans la dernière colonne de ce tableau figure la convention prise (pour chaque liaison), pour fixer la direction de l’axe xj . Il est clair que cela revient au même en définitif, si l’on considère que les repères R0 et Rn sont les mêmes selon les conventions prises. La seule différence porte sur la présence et non présence dans le tableau de rotations supplémentaires de valeur 180o = π (qui marchent par paire). Robot manipulateur ACMA H-80 (PRR, RRR) La figure 2.4 montre le synoptique de ce robot. On considère le robot ACMA H-80 constitué : – d’un porteur muni de 3 degrés de liberté (PRR) – d’un poignet muni de 3 degrés de liberté (RRR) : une rotule d’axes concourants Dans le cas du robot ACMA H-80, les axes zj sont posés de manière automatique en fonction des conventions de signes sur les axes articulaires (angle positif selon la règle du vissage selon l’axe).
  • 46.
    Modélisation géométrique desrobots - Commande en position des robots 36 D3 D4 + z0 , z1 z2 z4 z3 + z5 + + x0 , x1 x2 x4 , x5 , x6 x3 + + z6 Figure 2.4 – Structure du robot ACMA H-80. . Le tableau des paramètres de Denavit-Hartenberg relatif au robot ACMA H-80 est le suivant : R0 R1 R2 R3 R4 R5 J =⇒ R1 =⇒ R2 =⇒ R3 =⇒ R4 =⇒ R5 =⇒ R6 σj 1 0 0 0 0 0 αj 0 0 0 0 −90 −90 dj 0 0 D3 D4 0 0 θj 0 q2 q3 q4 q5 q6 rj q1 0 0 0 0 0 Trièdre D/I D/I D/I I I D/I Robot cartésien AFMA (PPP, RRR) (Voir td) 2.2.3 Extensions aux chaînes fermées et arborescentes En dehors des chaînes ouvertes simples, il est possible de rencontrer : – des chaînes ouvertes arborescentes – des chaînes fermées – des chaînes composées de chaînes simples, arborescentes ou non, et de chaînes fermées
  • 47.
    2.2 Description dela structure géométrique d’un robot Cm 37 zm Cn−2 Cm−1 Cn−1 Ck+L zk+1 zk+L Ck zn Ck+1 zk C2 z0 , z1 C1 C0 Figure 2.5 – Robot à structure ouverte arborescente. . 2.2.3.1 Cas des chaînes arborescentes Une structure (ou chaîne) est constituée par n + 1 corps, n articulations et r organes terminaux. Par convention, les corps et articulations sont numérotés de la manière suivante : – la base est fixe et constitue le corps C0 – les numéros des corps et articulations sont croissants sur chaque branche en partant de la base (corps C0 ), vers un organe terminal – le corps Cj est articulé autour de l’articulation j par rapport au corps Ca(j) , qui représente le corps antécédent sur la chaîne menant au corps Cj en partant de la base. La topologie du système est complètement définie par la donnée des indices a(j) pour j = 1, 2, ..n La figure 2.5 représente un exemple de chaîne arborescente avec deux organes terminaux. Les différents repères sont placés de la manière suivante : – Rj est fixe par rapport au corps Cj – zj est porté par l’axe articulaire j Jusque là, ces notations sont les mêmes que celles employées pour une chaîne ouverte simple. Cn
  • 48.
    38 Modélisation géométrique desrobots - Commande en position des robots Figure 2.6 – Paramétrage nécessaire à un corps à plus de 2 articulations . Si le corps Ci′ , avec i = a(j), n’a pas d’arborescence, l’axe xi est choisi comme la perpendiculaire commune aux axes zi , zj . En effet, le repère Rj est successeur au repère Ri . On retient les 4 paramètres de Denavit-Hartenberg pour paramétrer la liaison. Si le corps Ci porte plus d’un corps, Cj et Ck par exemple, il faut alors choisir l’axe xi sur l’une des deux perpendiculaires communes à zi , zj ou à zi , zk . Le bon sens est de retenir la préférence à la chaîne menant à l’organe terminal principal, ou bien à la chaîne qui possède le plus grand nombre de corps articulés. Deux cas doivent être envisagés pour définir un repère lié à Cj successeur de Ci . – si l’axe xi est la perpendiculaire commune à zi , zj alors la matrice de passage i Tj (du repère Ri au repère Rj ) s’écrit comme dans le cas des chaînes simples à partir des 4 paramètres (αj , dj , θj , rj ). – Si l’axe xi est la perpendiculaire commune à zi , zk , 2 paramètres supplémentaires doivent être introduit. – γj = l’angle entre l’axe xi et la perpendiculaire commune aux axes zi , zj notées xi′ , autour de l’axe zi – εj = distance entre l’axe xi et l’axe xi′ , le long de l’axe zi . La figure 2.6 montre les différents repères et paramètres mis en oeuvre pour traiter ce cas particulier. Ces deux paramètres permettent de construire la matrice de passage i Ti′ , per′ mettant le passage du repère Ri au repère Ri′ . Le repère Ri est identique au repère Ri , mais il est construit sur l’autre perpendiculaire commune. i Ti′ = Rot(z, γj ).Trans(z, εj ) (2.12)
  • 49.
    2.2 Description dela structure géométrique d’un robot  Cγj −Sγj  Sγj Cγj i Ti′ =   0 0 0 0 D’où on en tire : i ′ ′ 0 0 1 0  0 0   εj  1 Tj , =i Ti′ .i Tj aveci Tj = Rot(x, αj ).Trans(x, dj ).Rot(z, θj ).Trans(z, rj ) 39 (2.13) (2.14) Après développement, on obtient la matrice globale suivante :   Cγj .Cθj − Sγj .Cαj .Sθj −Cγj .Sθj − Sγj .Cαj .Cθj Sγj .Sαj dj .Cγj + rj .Sγj .Sαj  Sγj .Cθj + Cγj .Cαj .Sθj −Sγj .Sθj + Cγj .Cαj .Cθj −Cγj .Sαj dj .Sγj − rj .Cγj .Sαj  i  Tj =    Sαj .Sθj Sαj .Cθj Cαj rj .Cαj + εj 0 0 0 1 (2.15) Son inverse est :   Cγj .Cθj − Sγj .Cαj .Sθj Sγj .Cθj + Cγj .Cαj .Sθj Sαj .Sθj −εj .Sαj .Sθj − dj .Cθj  −Cγj .Sθj − Sγj .Cαj .Cθj −Sγj .Sθj + Cγj .Cαj .Cθj Sαj .Cθj −εj .Sαj .Cθj + dj .Sθj  j  Ti =    Sγj .Sαj −Cγj .Sαj Cαj −rj − εj .Cαj 0 0 0 1 (2.16) i ′ Remarque : Si γj et εj = 0, la matrice de transformation homogène Ti est unitaire. C’est le cas fréquent où les axes xi et xi′ sont confondus. Dans ce cas, on se ramène au cas des chaînes simples. 2.2.3.2 Cas des chaînes fermées Dans ce cas, le système est constitué de n+1 corps et éventuellement de r organes terminaux. De plus, il dispose de L > n articulations. Le nombre de boucles fermées est donné par la relation : b = L − n Pour décrire ce style de robot, on détermine une structure arborescente équivalente en coupant virtuellement chacune des boucles fermées sur l’une de ses articulations. On choisit une articulation non motorisée de préférence, qui est telle que le nombre de corps qui la sépare de la racine ait le même ordre de grandeur que l’on parcourt la boucle d’un côté ou de l’autre. On procède comme au paragraphe précédent pour la numérotation des corps et des articulations. Les articulations coupées sont notées à partir de n + 1 jusqu’à L. On place ensuite les repères sur les corps en suivant les règles déjà énoncées. Pour chaque articulation coupée k, on définit un repère Rk , fixe par rapport à l’un des corps supportant cette articulation.
  • 50.
    40 Modélisation géométrique desrobots - Commande en position des robots Soit Cj ce corps. Conformément aux règles précédentes, l’axe zk est porté par l’axe articulaire k. L’axe xk est porté par la perpendiculaire commune à zk et zj . A partir des 4 ou 6 paramètres usuels indicés k, on peut construire la matrice de transformation homogène i Tk permettant le passage du repère Ri au repère Rk , avec i = a(k) désignant l’autre corps lié à l’articulation k. D’autre part, Rk étant fixe par rapport au repère Rj , on peut définir une matrice constante j Tk permettant le passage du repère Rj au repère Rk . Pour éviter une confusion de notations, les paramètres géométriques de cette dernière transformation sont indicés k + b. On a donc j Tk →j Tk+b et j = a(k + b). Cela revient à introduire un repère Rk+b confondu avec le repère Rk tel que : k+b Tk = I4 . Dans ces conditions, on peut écrire une relation de fermeture de la boucle : k+b Tk =k+b Tj .j Tj+1 ..i Tk = I4 (2.17) Ainsi la description d’un système comportant des boucles fermées se ramène à celle d’un système arborescent obtenu en coupant chaque boucle sur une de ses articulations, et en rajoutant des repères supplémentaires. Du fait que la coupure se fait sur une articulation non motorisée, on remarque que les paramètres rk+b et θk+b sont nuls. La figure 2.7 montre les différents repères mis en oeuvre pour traiter le cas particulier des chaînes fermées. 2.2.3.3 Exemples Robot manipulateur Hitachi HPR (RRR, RR) On considère le robot HITACHI-HPR constitué de 5 degrés de liberté, 7 corps mobiles et 8 articulations rotoïdes. Il comporte une boucle fermée de type parallélogramme. Les articulations 2, 5 et 8 ne sont pas motorisées. La boucle est ouverte sur l’articulation 8 entre les corps 4 et 5. La figure 2.8 montre le synoptique de ce robot. Dans le cas du robot HITACHI-HPR, les axes zj sont posés de manière automatique en fonction des conventions de signes sur les axes articulaires (angle positif selon la règle du vissage selon l’axe). Le tableau des paramètres de Denavit-Hartenberg relatif au robot HITACHIHPR est le suivant :
  • 51.
    2.2 Description dela structure géométrique d’un robot 41 Figure 2.7 – Repères nécessaires pour décrire une chaîne fermée . R0 R1 R1 R2 R3 R5 R6 R4 R5 J =⇒ R1 =⇒ R2 =⇒ R3 =⇒ R4 =⇒ R5 =⇒ R6 =⇒ R7 =⇒ R8 =⇒ R9 a(j) σj 0 0 1 0 1 0 2 0 3 0 5 0 6 0 4 0 5 0 γj 0 0 0 0 0 0 0 0 0 εj 0 0 0 0 0 0 0 0 0 αj dj 0 0 −90 0 −90 0 0 D4 0 D5 0 D6 90 0 0 D8 = D5 0 D9 = −D4 θj q1 θ2 q3 q4 θ5 q6 q7 θ8 0 rj 0 0 0 0 0 0 0 0 0 Trièdre D/I I I D/I D/I D/I D D/I D/I Robot manipulateur ASEA IRB5 (RPP, RR) On considère le robot ASEA IRB5 constitué de 5 degrés de liberté, 7 corps mobiles et 6 articulations rotoïdes et 2 prismatiques. Il comporte une boucle fermée de type parallélogramme. Les articulations 4, 5, 8 et 9 ne sont pas motorisées. La figure 2.9 montre le synoptique de ce robot. Dans le cas du robot ASEA IRB5, on préfère simplifier le schéma synoptique en faisant apparaître deux liaisons rotoïdes à la place du parallélogramme et des deux liaisons prismatiques. Cela nous permet d’aboutir à la nouvelle représentation équivalente (cf. figure 2.10). En considérant cette nouvelle représentation, le tableau des paramètres de
  • 52.
    42 Modélisation géométrique desrobots - Commande en position des robots Figure 2.8 – Synoptique du robot HITACHI-HPR .
  • 53.
    2.2 Description dela structure géométrique d’un robot Figure 2.9 – Synoptique du robot ASEA-IRB5 . 43
  • 54.
    44 Modélisation géométrique desrobots - Commande en position des robots Figure 2.10 – Synoptique équivalent du robot ASEA-IRB5 .
  • 55.
    2.3 Modélisation géométriquedirecte d’un robot 45 Denavit-Hartenberg relatif au robot ASEA IRB5 est le suivant : R0 R1 R2 R3 R4 J =⇒ R1 =⇒ R2 =⇒ R3 =⇒ R4 =⇒ R5 a(j) 0 1 1 2 5 σj 0 0 0 0 0 γj 0 0 0 0 0 εj 0 0 0 0 0 αj dj 0 0 90 0 0 L2 0 L3 90 0 θj q1 q2 q3 q4 q5 rj L1 0 0 0 0 Trièdre D/I D/I D/I D/I D/I Robot arborescent (TBD) 2.3 2.3.1 Modélisation géométrique directe d’un robot Matrice de transformation de l’organe terminal dans le repère atelier Un robot n’est qu’un constituant d’un poste de travail. Généralement, on lui adjoint des systèmes d’alimentation et d’évacuation de pièces, des dispositifs de bridage, des capteurs extéroceptifs... Il est donc nécessaire de situer dans l’espace de travail à la fois le robot mais également tous ce qui peut être amené à intéragir avec ce robot. Pour cela, nous définissons un repère atelier que nous noterons Rf , différent dans la plupart des cas du repère R0 lié à la base fixe du robot (évident dans le cas où il y a plusieurs robots). La figure 2.11 présente les différents repères et les différentes matrices de transformation homogène mis en jeu pour la modélisation de robot dans un atelier. On adopte les notations suivantes : – Z =f T0 la matrice de transformation homogène permettant d’exprimer la situation du repère de base du robot R0 dans le repère atelier Rf – 0 Tn la matrice de transformation homogène permettant d’exprimer la situation du repère de terminal Rn du robot dans le repère de base R0 du robot – E =n TE la matrice de transformation homogène permettant d’exprimer la situation du repère outil du robot RE dans le repère terminal du robot Rn f – TE la matrice de transformation homogène globale permettant d’exprimer la situation du repère outil du robot RE dans le repère atelier Rf La présence du repère RE permet de prendre en compte le fait qu’un robot peut avoir plusieurs tâches robotiques à effectuer, et de ce fait plusieurs outils. Ces repères outils sont choisis pour faciliter la description de la tâche robotique associée. Des directions peuvent être privilégiées : comme par exemple un axe d’usinage, un axe de vissage, une orientation pour soudure ou peinture, .... On appelle matrice de passage du robot la composition des matrices de transformation exprimant le repère du corps terminal Rn dans le repère de base du robot
  • 56.
    Modélisation géométrique desrobots - Commande en position des robots 46 0 z = f T0 Tn R0 Rn Rf E = n TE f RE TE Figure 2.11 – Repères nécessaires pour décrire un robot dans un atelier. . R0 . Pour une chaîne ouverte simple, on a : 0 Tn =o T1 .1 T2 ...n−1 Tn (2.18) La matrice de transformation globale f TE s’écrit alors : f TE = Z.0 Tn .E (2.19) Pour établir les modèles géométriques d’un robot, il sera nécessaire auparavant de mesurer la situation du robot dans le repère atelier Z, et de calibrer la situation E du repère outil RE dans le repère terminal du robot Rn . 2.3.2 Calcul du modèle géométrique direct d’un robot (MGD) Définition : Le modèle géométrique direct est l’ensemble des relations permettant d’exprimer la situation de l’organe terminal du robot en fonction des variables articulaires. La situation de l’organe terminal X est définie par m coordonnées opérationnelles X = [x1 x2 ...xm−1 xm ]T (2.20) Les variables articulaires sont définies par le vecteur q de dimension n : q = [q1 q2 ...qn−1 qn ]T (2.21) Le modèle géométrique s’écrit alors : X = f (q) Plusieurs possibilités sont offertes pour définir le contenu du vecteur X. Nous avons vu dans la première partie de ce cours, qu’il existait plusieurs façons de coder la position et l’orientation d’un corps solide. Par exemple, si l’on choisit :
  • 57.
    2.3 Modélisation géométriquedirecte d’un robot 47 – la position cartésienne et les cosinus directeurs pour l’orientation, on obtient X = [Px Py Pz Sx Sy Sz nx ny nz ax ay az ]T (2.22) – la position cartésienne et les angles RTL pour l’orientation, on obtient X = [Px Py Pz φθψ]T (2.23) 2.3.3 Exemples de modèles géométriques directs 2.3.3.1 MGD du robot AID-5 Le synoptique de ce robot est donné figure 2.3, page 34. On rapelle le tableau des paramètres de Devavit-Hartenberg de ce robot ci-dessous : R0 R1 R2 R3 R4 R5 J =⇒ R1 =⇒ R2 =⇒ R3 =⇒ R4 =⇒ R5 =⇒ R6 σj 0 0 0 0 0 0 αj 0 90 0 90 −90 −90 dj 0 0 D3 0 0 0 θj rj q1 0 q2 0 q3 0 q4 −RL4 q5 0 q6 0 Trièdre D/I D D/I D I I D3 et RL4 sont les caractéristiques géométriques du robot. On rappelle l’expression de la matrice de transformation homogène associée au paramètrage de DenhavitHartenberg.  Cθj −Sθj 0 dj  Cαj .Sθj Cαj .Cθj −Sαj −rj .Sαj  j−1  Tj =   Sαj .Sθj Sαj .Cθj Cαj rj .Cαj  0 0 0 1  (2.24) On en déduit les matrices 0 T1 ,1 T2 ,2 T3 ,3 T4 ,4 T5 et 5 T6 . Pour ce faire une solution consiste à utiliser un logiciel de calcul formel. Parmis les plus connus, nous pouvons citer matlab qui dispose d’une boite à outils dédiée au calcul symbolique, Maple, Maxima. Dans ce cour, nous avons utilisé Maxima, car il posséde une licence Libre d’utilisation. Nous avons tout d’abord modélisé le tableau de DH sous une forme matricielle : Modélisation du MGD :   0 0 0 q1 0  0 π 0 q2 0  2    0 0 D3 q3 0   DH :   0 π 0 q4 −RL4  2    0 −π 0 q5 0  2 0 −π 0 q6 0 2
  • 58.
    48 Modélisation géométrique desrobots - Commande en position des robots Calcul des matrices de passage : T01 : DenHart (DH, 1)   Cq1 −Sq1 0 0  Sq1 Cq1 0 0     0 0 1 0  0 0 0 1 (C37) T12 : DenHart2 (DH, 2)   C (q3 + q2 ) −S (q3 + q2 ) 0 D3Cq2   0 0 −1 0  (D37)   S (q3 + q2 ) C (q3 + q2 ) 0 D3 Sq2  0 0 0 1 Ceci est une astuce de programmation (C38) T23 : IDENT (4)   1 0 0 0  0 1 0 0   (D38)   0 0 1 0  0 0 0 1 (C39) T34 : DenHart (DH, 4)   0 Cq4 −Sq4 0  0 0 −1 RL4   (D39)   Sq4 Cq4 0 0  0 0 0 1 (C40) T45 : DenHart (DH, 5)   Cq5 −Sq5 0 0  0 0 1 0   (D40)   −Sq5 −Cq5 0 0  0 0 0 1 (C41) T56 : DenHart (DH, 6)   Cq6 −Sq6 0 0  0 0 1 0   (D41)   −Sq6 −Cq6 0 0  0 0 0 1 Pour obtenir le MGD d’un robot, il faut déterminer la matrice de passage du robot : soit 0 T6 dans le cas présent. Pour l’obtenir, on multipliera les matrices j−1 Tj en partant de la dernière afin de déninir des matrices intermédiaires Uj utiles pour l’élaboration du modèle géométrique inverse (MGI). On a : Uj =j Tj+1 .Uj+1 (2.25)
  • 59.
    2.3 Modélisation géométriquedirecte d’un robot 49 Appliquer à notre cas, on définit successivement : U6 = I6 U5 = 5 T6 .U6 = 5 T6 U4 = 4 T5 .U5 = 4 T5 .5 T6 = 4 T6 U3 = 3 T4 .U4 = 3 T4 .4 T5 .5 T6 = 3 T6 U2 = 2 T3 .U3 = 2 T3 .3 T4 .4 T5 .5 T6 = 2 T6 U1 = 1 T2 .U2 = 1 T2 .2 T3 .3 T4 .4 T5 .5 T6 = 1 T6 U0 = 0 T1 .U1 = 0 T1 .1 T2 .2 T3 .3 T4 .4 T5 .5 T6 = 0 T6 Les expression des matrices Uj peuvent nous les présentons sous la forme :  sxj nxj syj nyj Uj =   szj nzj 0 0 (2.26) (2.27) (2.28) (2.29) (2.30) (2.31) (2.32) être assez longues. Lorsque c’est le cas,  axj Pxj ayj Pyj   azj Pzj  0 1 (C42) U5 : T56   Cq6 −Sq6 0 0  0 0 1 0   (D42)   −Sq6 −Cq6 0 0  0 0 0 1 (C44) U4 : T45 · U5   Cq5 Cq6 −Cq5 Sq6 −Sq5 0  −Sq6 −Cq6 0 0   (D44)   −Sq5 Cq6 Sq5 Sq6 −Cq5 0  0 0 0 1 (C46) U3 : T34 · U4  Sq4 Sq6 + Cq4 Cq5 Cq6 Sq4 Cq6 − Cq4 Cq5 Sq6  −Sq5 Sq6 Sq5 Cq6 (D46)   Sq4 Cq5 Cq6 − Cq4 Sq6 −Sq4 Cq5 Sq6 − Cq4 Cq6 0 0 (C48) U2 : T23 · U3  Sq4 Sq6 + Cq4 Cq5 Cq6 Sq4 Cq6 − Cq4 Cq5 Sq6  −Sq5 Sq6 Sq5 Cq6 (D48)   Sq4 Cq5 Cq6 − Cq4 Sq6 −Sq4 Cq5 Sq6 − Cq4 Cq6 0 0 (C49) s2 : Extrait (U2 , 1)   Sq4 Sq6 + Cq4 Cq5 Cq6  (D49)  Sq5 Cq6 Sq4 Cq5 Cq6 − Cq4 Sq6 (C50) n2 : Extrait (U2 , 2) (2.33)  0 −Cq4 Sq5 RL4  Cq5  0  −Sq4 S q5 0 1  0 −Cq4 Sq5 RL4  Cq5  0  −Sq4 S q5 0 1
  • 60.
    50 Modélisation géométrique desrobots - Commande en position des robots (D50) (C51) (D51) (C52) (D52) (C53) (D53) (C54) (D54) (C55) (D55) (C56) (D56) (C57) (D57) On en   Sq4 Cq6 − Cq4 Cq5 Sq6   −Sq5 Sq6 −Sq4 Cq5 Sq6 − Cq4 Cq6 a2 : Extrait (U2 , 3)   −Cq4 Sq5   Cq5 −Sq4 Sq5 P2 : Extrait (U2 , 4)   0  RL4  0 U1 : T12 · U2  C (q3 + q2 ) (Sq4 Sq6 + Cq4 Cq5 Cq6 ) − S (q3 + q2 ) Sq5  Cq4 Sq6 − Sq4 Cq5 Cq6   S (q3 + q2 ) (Sq4 Sq6 + Cq4 Cq5 Cq6 ) + C (q3 + q2 ) Sq5 0 s1 : Extrait (U1 , 1)  C (q3 + q2 ) (Sq4 Sq6 + Cq4 Cq5 Cq6 ) − S (q3 + q2 ) Sq5  Cq4 Sq6 − Sq4 Cq5 Cq6 (q3 + q2 ) (Sq4 Sq6 + Cq4 Cq5 Cq6 ) + C (q3 + q2 ) Sq5 S n1 : Extrait (U1 , 2)  C (q3 + q2 ) (Sq4 Cq6 − Cq4 Cq5 Sq6 ) + S (q3 + q2 ) Sq5  Sq4 Cq5 Sq6 + Cq4 Cq6 S (q3 + q2 ) (Sq4 Cq6 − Cq4 Cq5 Sq6 ) − C (q3 + q2 ) Sq5 a1 : Extrait (U1 , 3)   −C (q3 + q2 ) Cq4 S q5 − S (q3 + q2 ) C q5   Sq4 Sq5 C (q3 + q2 ) Cq5 − S (q3 + q2 ) Cq4 S q5 P1 : Extrait (U1 , 4)   D3 Cq2 − S (q3 + q2 ) RL4   0 C (q3 + q2 ) RL4 + D3 Sq2 déduit le MGD par le calcul de U0 : Cq6 C (q3 + q2 ) ( Sq4 Cq6 − Cq4 Sq4 Cq5 Sq Cq6 S (q3 + q2 ) ( Sq4 Cq6 − Cq4 C Cq6 Cq6 Sq6 Sq6     (C58) U0 : T01 · U1 0 Cq1 (C (q3 + q2 ) (Sq4 Sq6 + Cq4 C q5 Cq6 ) − S (q3 + q2 ) Sq5 Cq6 ) − S q1 (Cq4 Sq6 − Sq4 Cq5 Cq6 ) B q ( (q + q2 ) (Sq4 Sq6 + Cq4 C q5 Cq6 ) − S (q3 + q2 ) Sq5 Cq6 ) + C q1 (Cq4 Sq6 − Sq4 Cq5 Cq6 ) (D58) B S 1 C 3 @ S (q3 + q2 ) (Sq4 Sq6 + Cq4 Cq5 Cq6 ) + C (q3 + q2 ) Sq5 Cq6 0 Cq1 (C (q3 + q2 ) (Sq4 C q6 − Cq4 Cq5 Sq6 Sq1 (C (q3 + q2 ) (Sq4 C q6 − Cq4 Cq5 Sq6 ) S (q3 + q2 ) ( Sq4 Cq6 − (C59) s0 : Extrait (U0 , 1) 0 1 Cq1 (C (q3 + q2 ) (Sq4 Sq6 + Cq4 C q5 Cq6 ) − S (q3 + q2 ) Sq5 Cq6 ) − S q1 (Cq4 Sq6 − Sq4 Cq5 Cq6 ) (D59) @ Sq1 (C (q3 + q2 ) (Sq4 Sq6 + Cq4 C q5 Cq6 ) − S (q3 + q2 ) Sq5 Cq6 ) + C q1 (Cq4 Sq6 − Sq4 Cq5 Cq6 ) A S (q3 + q2 ) (Sq4 Sq6 + Cq4 Cq5 Cq6 ) + C (q3 + q2 ) Sq5 Cq6 (C60) n0 : Extrait (U0 , 2) 1 0 Cq1 (C (q3 + q2 ) (Sq4 Cq6 − Cq4 C q5 Sq6 ) + S (q3 + q2 ) Sq5 Sq6 ) − S q1 (Sq4 Cq5 Sq6 + Cq4 Cq6 ) (D60) @ Sq1 (C (q3 + q2 ) (Sq4 Cq6 − Cq4 C q5 Sq6 ) + S (q3 + q2 ) Sq5 Sq6 ) + C q1 (Sq4 Cq5 Sq6 + Cq4 Cq6 ) A S (q3 + q2 ) (Sq4 Cq6 − Cq4 Cq5 Sq6 ) − C (q3 + q2 ) Sq5 Sq6 (C61) a0 : Extrait (U0 , 3)
  • 61.
    2.3 Modélisation géométriquedirecte d’un robot 0 (D61) @ 51 1 Cq1 (−C (q3 + q2 ) Cq4 Sq5 − S (q3 + q2 ) Cq5 ) − Sq1 S q4 Sq5 Sq1 (−C (q3 + q2 ) Cq4 Sq5 − S (q3 + q2 ) Cq5 ) + Cq1 S q4 Sq5 A C (q3 + q2 ) Cq5 − S (q3 + q2 ) Cq4 S q5 (C62) P0 : Extrait (U0 , 4) 0 1 Cq1 (D3 Cq2 − S ( q3 + q2 ) RL4 ) (D62) @ Sq1 (D3 Cq2 − S ( q3 + q2 ) RL4 ) A C (q3 + q2 ) RL4 + D3 Sq2 A partir de la matrice de passage U0 , il est possible de choisir comme vecteur de coordonnées opérationnelles : X = [Px Py Pz Sx Sy Sz nx ny nz ax ay az ]T (2.34) Dans ce cas, le modèle géométrique direct du robot est donné par les 12 relations issues de U0 . On peut noter que dans ce cas, la descrition est redondante car 6 paramètres suffisent pour décrire la position et l’orientation de l’organe terminal dans le repère atelier. Si on veut réduire le nombre de paramètres, alors, il faudra choisir un système de descrition d’angles. Dans ce cas, le MGD sera décrit pas le vecteur de position P et trois angles. 2.3.3.2 MGD du robot H-80 On rapelle le tableau des paramètres de Denavit-Hartenberg relatif au robot ACMA H-80 : R0 R1 R2 R3 R4 R5 J =⇒ R1 =⇒ R2 =⇒ R3 =⇒ R4 =⇒ R5 =⇒ R6 σj 1 0 0 0 0 0 αj dj 0 0 0 0 0 D3 0 D4 −90 0 −90 0 θj 0 q2 q3 q4 q5 q6 rj q1 0 0 0 0 0 Trièdre D/I D/I D/I I I D/I Le synoptique de ce robot est donné figure 2.4 page 36 GCL (GNU Common Lisp) Version(2.4.0) Wed May 9 12 :02 :00 CDT 2001 Licensed under GNU Library General Public License Contains Enhancements by W. Schelter Maxima 5.6 Wed May 9 12 :01 :49 CDT 2001 (with enhancements by W. Schelter). Licensed under the GNU Public License (see file COPYING) batch(MGDH80) ; batching MGDH80.mac PRINT ( Calcul du MGD) Calcul du MGD Calcul du MGD
  • 62.
    Modélisation géométrique desrobots - Commande en position des robots 52     DH :      1 0 0 0 0 0 0 0 0 0 −π 2 −π 2 0 0 D3 D4 0 0 0 q2 q3 q4 q5 q6  q1 0 0 0 0 0         1 0 0 0 q1 0 0 0 q2 0   0 0 D3 q3 0   0 0 D4 q4 0   0 − π 0 q5 0  2 0 − π 0 q6 0 2 DenHart ( DH, l) :=  −S DHl,4 0 DHl,3 C DHl,4  C DHl,2 S DHl,4 C DHl,2C DHl,4 −S DHl,2 − DHl,5S DHl,2   S DHl,2 S DHl,4 S DHl,2 C DHl,4 C DHl,2 DHl,5 C DHl,2 0 0 0 1   m1,l Extrait (m, l) :=  m2,l  m3,l T01 : DenHart ( DH, 1)   1 0 0 0  0 1 0 0     0 0 1 q1  0 0 0 1 T12 : DenHart ( DH, 2)   Cq2 −Sq2 0 0  Sq2 Cq2 0 0     0 0 1 0  0 0 0 1 T23 : DenHart ( DH, 3)   Cq3 −Sq3 0 D3  Sq3 Cq3 0 0     0 0 1 0  0 0 0 1 T34 : DenHart ( DH, 4)   Cq4 −Sq4 0 D4  Sq4 Cq4 0 0     0 0 1 0  0 0 0 1 T45 : DenHart ( DH, 5)           
  • 63.
    2.3 Modélisation géométriquedirecte d’un robot  Cq5 −Sq5 0 0  0 0 1 0     −Sq5 −Cq5 0 0  0 0 0 1 T56 : DenHart ( DH, 6)   Cq6 −Sq6 0 0  0 0 1 0     −Sq6 −Cq6 0 0  0 0 0 1 U5 : T56   Cq6 −Sq6 0 0  0 0 1 0     −Sq6 −Cq6 0 0  0 0 0 1 TRIGREDUCE (U5 )   Cq6 −Sq6 0 0  0 0 1 0     −Sq6 −Cq6 0 0  0 0 0 1 U : T45 · U5  4 Cq5 Cq6 −Cq5 Sq6 −Sq5 0  −Sq6 −Cq6 0 0     −Sq5 Cq6 Sq5 Sq6 −Cq5 0  0 0 0 1 U : T34 · U4 3 Sq4 Sq6 + Cq4 Cq5 Cq6 Sq4 Cq6 − Cq4 Cq5 Sq6 −Cq4 Sq5 D4  Sq4 Cq5 Cq6 − Cq4 Sq6 −Sq4 Cq5 Sq6 − Cq4 Cq6 −Sq4 Sq5 0   −Cq5 0 −Sq5 Cq6 Sq5 Sq6 0 0 0 1 U2 : T23 · U3 s2 : Extrait (U2 , 1)   Cq3 (Sq4 Sq6 + Cq4 Cq5 Cq6 ) − Sq3 (Sq4 Cq5 Cq6 − Cq4 Sq6 )  Sq3 (Sq4 Sq6 + Cq4 Cq5 Cq6 ) + Cq3 (Sq4 Cq5 Cq6 − Cq4 Sq6 )  −Sq5 Cq6 n2 : Extrait (U2 , 2)   Cq3 (Sq4 Cq6 − Cq4 Cq5 Sq6 ) − Sq3 (−Sq4 Cq5 Sq6 − Cq4 Cq6 )  Cq3 (−Sq4 Cq5 Sq6 − Cq4 Cq6 ) + Sq3 (Sq4 Cq6 − Cq4 Cq5 Sq6 )  Sq5 Sq6 a2 : Extrait (U2 , 3) 53     
  • 64.
    Modélisation géométrique desrobots - Commande en position des robots 54   Sq3 Sq4 Sq5 − Cq3 Cq4 Sq5  −Cq3 Sq4 Sq5 − Sq3 Cq4 Sq5  −Cq5 P2 : Extrait (U2 , 4)   D4 Cq3 + D3   D4 Sq3 0 U1 : T12 · U2 s1 : Extrait (U1 , 1) 0 1 Cq2 (Cq3 (Sq4 Sq6 + Cq4 Cq5 Cq6 ) − Sq3 (Sq4 Cq5 Cq6 − Cq4 Sq6 )) − Sq2 (Sq3 (Sq4 Sq6 + Cq4 Cq5 Cq6 ) + Cq3 (Sq4 Cq5 Cq6 − Cq4 Sq6 )) @ Cq2 (Sq3 (Sq4 Sq6 + Cq4 Cq5 Cq6 ) + Cq3 (Sq4 Cq5 Cq6 − Cq4 Sq6 )) + Sq2 (Cq3 (Sq4 Sq6 + Cq4 Cq5 Cq6 ) − Sq3 (Sq4 Cq5 Cq6 − Cq4 Sq6 )) A −Sq5 Cq6 n1 : Extrait (U1 , 2) 0 1 Cq2 (Cq3 (Sq4 Cq6 − Cq4 Cq5 Sq6 ) − Sq3 (−Sq4 Cq5 Sq6 − Cq4 Cq6 )) − Sq2 (Cq3 (−Sq4 Cq5 Sq6 − Cq4 Cq6 ) + Sq3 (Sq4 Cq6 − Cq4 Cq5 Sq6 )) @ Sq2 (Cq3 (Sq4 Cq6 − Cq4 Cq5 Sq6 ) − Sq3 (−Sq4 Cq5 Sq6 − Cq4 Cq6 )) + Cq2 (Cq3 (−Sq4 Cq5 Sq6 − Cq4 Cq6 ) + Sq3 (Sq4 Cq6 − Cq4 Cq5 Sq6 )) A Sq5 Sq6 a1 : Extrait (U1 , 3)   Cq2 (Sq3 Sq4 Sq5 − Cq3 Cq4 Sq5 ) − Sq2 (−Cq3 Sq4 Sq5 − Sq3 Cq4 Sq5 )  Sq2 (Sq3 Sq4 Sq5 − Cq3 Cq4 Sq5 ) + Cq2 (−Cq3 Sq4 Sq5 − Sq3 Cq4 Sq5 )  −Cq5 P1 : Extrait (U1 , 4)   Cq2 (D4 Cq3 + D3 ) − D4 Sq2 Sq3  D4 Cq2 Sq3 + Sq2 (D4 Cq3 + D3)  0 U0 : T01 · U1 s0 : Extrait (U0 , 1) 0 1 Cq2 (Cq3 (Sq4 Sq6 + Cq4 Cq5 Cq6 ) − Sq3 (Sq4 Cq5 Cq6 − Cq4 Sq6 )) − Sq2 (Sq3 (Sq4 Sq6 + Cq4 Cq5 Cq6 ) + Cq3 (Sq4 Cq5 Cq6 − Cq4 Sq6 )) @ Cq2 (Sq3 (Sq4 Sq6 + Cq4 Cq5 Cq6 ) + Cq3 (Sq4 Cq5 Cq6 − Cq4 Sq6 )) + Sq2 (Cq3 (Sq4 Sq6 + Cq4 Cq5 Cq6 ) − Sq3 (Sq4 Cq5 Cq6 − Cq4 Sq6 )) A −Sq5 Cq6 n0 : Extrait (U0 , 2) 0 1 Cq2 (Cq3 (Sq4 Cq6 − Cq4 Cq5 Sq6 ) − Sq3 (−Sq4 Cq5 Sq6 − Cq4 Cq6 )) − Sq2 (Cq3 (−Sq4 Cq5 Sq6 − Cq4 Cq6 ) + Sq3 (Sq4 Cq6 − Cq4 Cq5 Sq6 )) @ Sq2 (Cq3 (Sq4 Cq6 − Cq4 Cq5 Sq6 ) − Sq3 (−Sq4 Cq5 Sq6 − Cq4 Cq6 )) + Cq2 (Cq3 (−Sq4 Cq5 Sq6 − Cq4 Cq6 ) + Sq3 (Sq4 Cq6 − Cq4 Cq5 Sq6 )) A Sq5 Sq6 a0 : Extrait (U0 , 3)   Cq2 (Sq3 Sq4 Sq5 − Cq3 Cq4 Sq5 ) − Sq2 (−Cq3 Sq4 Sq5 − Sq3 Cq4 Sq5 )  Sq2 (Sq3 Sq4 Sq5 − Cq3 Cq4 Sq5 ) + Cq2 (−Cq3 Sq4 Sq5 − Sq3 Cq4 Sq5 )  −Cq5 P0 : Extrait (U0 , 4)   Cq2 (D4 Cq3 + D3 ) − D4 Sq2 Sq3  D4 Cq2 Sq3 + Sq2 (D4 Cq3 + D3)  q1 ./MGDH80.mac
  • 65.
    2.4 Modélisation géométriqueinverse d’un robot 2.3.3.3 2.4 2.4.1 55 MGD du robot AFMA Modélisation géométrique inverse d’un robot Introduction Le modèle géométrique direct MGD permet de calculer les coordonnées opérationnelles X en fonction des coordonnées articulaires q : MGI X q MGD Le problème inverse MGI consiste à calculer les coordonnées articulaires qui amènent l’organe terminal dans une situation désirée, spécifiée par ses coordonnées opérationnelles. Lorsqu’elle existe, la forme explicite qui donne toutes les solutions possibles au problème inverse (il y a rarement unicité de la solution) constitue ce que l’on appelle le modèle géométrique inverse MGI. Il n’existe pas une méthode analytique générale pour trouver le MGI, mais un certain nombre de méthodes, plus ou moins adaptées à des classes de cinématiques particulières : – la méthode de Pieper [Pie68] : permet de résoudre le problème pour un nombre limité d’architectures simples (robots à 6 degrés de liberté (ddl), possédant 3 articulations rotoïdes d’axes concourants ou 3 articulations prismatiques). – la méthode de Paul [Pau81] : traite séparément chaque cas particulier et convient à la majorité des robots industriels – les méthodes géométriques ([LZ83], Elgazzar 85) consistent à trouver directement chaque variable articulaire à partir de considérations géométriques. Il y a une grande dépendance de ces méthodes avec l’architecture du robot. Lorsque le modèle géométrique inverse n’existe pas (pas de forme explicite), on utilise des procédures numériques. Par itérations successives, on calcule une solution particulière au problème inverse, qui est une solution locale (dépendant des conditions initiales). Outre cet inconvénient, ces méthodes sont pénalisantes en temps de calcul. citons par exemple : – les méthodes de type Newton RAPHSON procédant par linéarisation de la matrice de passage du mécanisme [Pie68]. – les méthodes basées sur le modèle différentiel inverse ([Fou80, Ren80, GBF85]).
  • 66.
    56 Modélisation géométrique desrobots - Commande en position des robots – les méthodes basées sur la transposée de la matrice jacobienne ([WE84, SS94]). Nous utiliserons en détail dans cette partie, les méthodes de Pieper et de Paul, conduisant à une forme explicite du transformateur de coordonnées (MGI). 2.4.2 Position du problème Soit f TE la matrice de transformation homogène représentant la situation finale désirée du repère outil par rapport au repère atelier. On a vu que dans le cas général, on peut exprimer f TE sous la forme : f TE = Z.0 Tn .E (2.35) avec : – Z = matrice de transformation homogène définissant le repère R0 du robot dans le repère atelier. – E = matrice de transformation homogène définissant le repère outil RE dans le repère terminal. – 0 T n = matrice de passage homogène du robot. En regroupant à droite les termes connus, on obtient la relation U0 =0 T n = Z −1 .f TE .E −1 (2.36) Le problème consiste à trouver les variables articulaires q1 , q2 , ...qn pour que 0 T n soit égal à U0 . On donne l’expression numérique de f TE et on connait celle de Z et de E. En résumé : X → Convension f TE → U0 → q (2.36) Méthode de Paul (2.37) Conclusion : Après avoir calculé la valeur numérique de U0 à partir de X, on utilise l’expression analytique de U0 pour extraire le vecteur q. La principale difficulté est donc ette dernière étape. 2.4.3 Résolubilité d’un robot manipulateur (introduit par Pieper 68) Un robot manipulateur est dit résoluble lorsqu’il est possible de calculer toutes les configurations permettant d’atteindre une situation donnée. Tous les robots ne le sont pas, mais ce n’est pas une condition nécessaire pour la commande car dans de pareil cas, des méthodes itératives numériques sont mises en oeuvre pour trouver une solution locale. D’après Roth (76), les robots à moins de 6 ddl sont toujours résolubles. Avec 6 ddl, ils sont résolubles lorsqu’ils présentent les caractéristiques suivantes :
  • 67.
    2.4 Modélisation géométriqueinverse d’un robot 57 – 3 articulations prismatiques – 3 articulations rotoïdes d’axes concourants – 1 articulation rotoïde et 1 articulation prismatique coaxiales – 2 paires d’articulations rotoïdes d’axes concourants Presque tous les robots à 6 d.d.l. de l’industrie sont résolubles. 2.4.4 Nombre de solutions au problème inverse On peut constater pratiquement trois cas : – abscence de solutions. Par exemple, lorsque la situation désirée est en dehors de la zone accessible du robot. La zone accessible est limitée par le nombre de ddl, les débattements articulaires, et la dimension des segments. – infinité de solutions. Ce cas se présente lorsque : – le robot est redondant vis-à-vis de la tâche à réaliser. – le robot se trouve en configuration singulière. Il y a alors une redondance locale qui se traduit par le fait que le robot ne peut déplacer son organe terminal dans certaines directions ou tourner autour de certains axes. De ce fait, il perd un ou plusieurs ddl. Tout cela est dû aux valeurs numériques particulières prises par les paramètres pour décrire la situation désirée. – solution en ensemble fini. C’est le cas lorsque toutes les solutions peuvent être calculées sans ambiguïté. La forme explicite est alors un ensemble de vecteurs q 1 , q 2 , ...q r qui satisfont l’équation X = f (q i ) (2.38) pour i = 1, 2, ..., r r = n Kj représente le nombre de configurations articulaires possibles, et j=1 Kj le nombre de solutions pour la variable articulaire qj . Le nombre de solutions dépend de l’architecture du robot manipulateur. Il n’existe pas de formule générale pour le déterminer. Pour les classes de robots à 6 ddl possédant trois articulations rotoïdes d’axes concourants, le nombre maximum de solutions est de 32 dans l’hypothèse ou aucun paramètre géométrique n’est égal à 0. Ce nombre dépend des valeurs particulières des paramètres géométriques, de l’amplitude des courses articulaires et donc du positionnement des butées mécaniques et/ou électriques.
  • 68.
    Modélisation géométrique desrobots - Commande en position des robots 58 2.4.5 Calcul du modèle géométrique inverse (MGI) 2.4.5.1 Présentation de la méthode Considérons un robot manipulateur dont la matrice de passage homogène a pour expression : 0 Tn =0 T1 .1 T2 ....n−1 Tn (2.39) On note :  sx nx ax Px  s ny ay Py   U0 =0 T1 .1 T2 ...n−1 Tn =  y  sz nz az Pz  0 0 0 1  (2.40) Cette matrice U0 est la donnée du problème. Elle représente la situation de l’organe terminal dans le repère de base du robot R0 . Trouver les variables articulaires à partir de l’équation : U0 =0 T1 .1 T2 .n−1 Tn (2.41) en fonction des éléments articulaires s, n, a et P est très difficile. Paul (en 81) a proposé une méthode qui consiste à prémultiplier successivement les 2 membres de l’équation par les matrices de transformation homogène inverse. j Tj−1 pour j variant de 1 à n − 1 (2.42) Cela permet d’isoler et d’identifier l’une après l’autre les variables articulaires que l’on recherche. Remarques : 1. Pour un robot à 6 ddl, on procède comme suit : – Multiplication à gauche par 1 T0 1 T0 .U0 =1 T2 .2 T3 .3 T4 .4 T5 .5 T6 (2.43) 1ère partie de l’équation = fonction de q1 uniquement 2ème partie de l’équation = fonction de q2 , q3 , q4 ,q5 , q6 déjà calculé pour MGD si on a pris la précaution de sauvegarder tous les résultats intermédiaires Ui . – q1 est obtenu par identification d’un ou de deux éléments parmi les plus simples qui constitue l’expression de droite avec les termes équivalents dans celle de gauche. Les différents types de relations mises en jeu dans ces identifications seront étudiés au paragraphe suivant (une dizaine de cas). – en partant de l’expression 1 T0 .U0 =1 T2 .2 T3 .3 T4 .4 T5 .5 T6 , on prémultiplie par 2 T1 et on réitère le même processus. La succession des équations permettant
  • 69.
    2.4 Modélisation géométriqueinverse d’un robot 59 le calcul de tous les qi est la suivante : U0 =0 T1 .1 T2 .2 T3 .3 T4 .4 T5 .5 T6 1 T0 U0 =1 T2 .2 T3 .3 T4 .4 T5 .5 T6 → q1 2 T1 U1 =2 T3 .3 T4 .4 T5 .5 T6 → q2 3 T2 U2 =3 T4 .4 T5 .5 T6 → q3 4 T3 U3 =4 T5 .5 T6 → q4 5 T4 U4 =5 T6 → q5 et q6 (2.44) avec Uj =j Tj−1 Uj−1 2. Dans certains cas il est possible de résoudre le robot en partant de qn . Il suffit alors de multiplier à droite les 2 membres de l’expression U0 =0 T1 .1 T2 .n−1 Tn par j Tj−1 pour j variable de n à 2 2.4.5.2 (2.45) Solutions aux types d’équations rencontrés Lorsque nous utilisons la méthode précédente, nous sommes confrontés de manière itérative à la résolution de système d’équations de différents types. L’utilisation d’un grand nombre de robots industriels a permis de constater que les principaux types rencontrés sont peu nombreux. La liste est donnée par le tableau 2.4.5.2. Les 10 types d’équations sont détaillés ci-dessous. Equations type 1 : X.rj = Y Dans ce cas, la réponse est immédiate =⇒ r1 = Y avec X = 0 X Equations type 2 : X.Sθi + Y.Cθi = Z X et Y étant connus, deux cas peuvent être envisagés. – Z = 0, 2 solutions sont possibles : θi = ATAN 2(−Y, X) ′ θi = θi + 180o (2.46) – Z=0 On résout le système en sinus et en cosinus, puis on prend l’arctangente : On peut réécrire le système type 2 de deux manières différentes. Y.Cθi = Z − X.Sθi X.Sθi = Z − Y.Cθi en sinus : d’où Y 2 .C 2 θi = Z 2 + X 2 .S 2 θi − 2.Z.X.Sθi Y 2 .(1 − S 2 θi ) = Z 2 + X 2 .S 2 θi − 2.Z.X.Sθi (X 2 + Y 2 ).S 2 θi − 2.Z.X.Sθi + Z 2 − Y 2 = 0 △ = 4.Y 2 (X 2 + Y 2 − Z 2 ) √ Z.X + ε.Y X 2 + Y 2 − Z 2 Sθi = avec ε = ±1 X2 + Y 2 (2.47) (2.48)
  • 70.
    60 Modélisation géométrique desrobots - Commande en position des robots Type d’équations Forme du système d’équations Type 1 X.ri = Y Type 2 X.Sθi + Y.Cθi = Z Type 3 X1 .Sθi = Y1 X1 .Sθi + Y1 .Cθi = Z1 ou X2 .Cθi = Y2 X2 .Sθi + Y2 .Cθi = Z2 Type 4 X1 .rj .Sθi = Y1 X2 .rj .Cθi = Y2 Type 5 X1 .Sθi = Y1 + Z1 .rj X2 .Cθi = Y2 + Z2 .rj Type 6 W.Sθj = X.Cθi + Y.Sθi + Z1 W.Cθj = X.Sθi − Y.Cθi + Z2 Type 7 W1 .Cθj + W2 .Sθj = X.Cθi + Y.Sθi + Z1 W1 .Sθj − W2 .Cθj = X.Sθi − Y.Cθi + Z2 Type 8 X.Cθi + Y.C(θi + θj ) = Z1 X.Sθi + Y.S(θi + θj ) = Z2 Type 9 X.Cθi = Y Type 10 X.Sθi = Y Table 2.1 – Systèmes d’equations possibles
  • 71.
    2.4 Modélisation géométriqueinverse d’un robot 61 X 2 .S 2 θi = Z 2 + Y 2 .C 2 θi − 2.Z.Y.Cθi X 2 .(1 − C 2 θi ) = Z 2 + Y 2 .C 2 θi − 2.Z.Y.Cθi (X 2 + Y 2 ).C 2 θi − 2.Z.Y.Cθi + Z 2 − X 2 = 0 (2.49) △ = 4.X 2 (X 2 + Y 2 − Z 2 ) √ Z.Y − ε.X X 2 + Y 2 − Z 2 Cθi = avec ε = ±1 d’où X2 + Y 2 Le signe − devant ε vient du fait que nous devrons vérifier à chaque instant que C 2 θi + S 2 θi = 1. La réponse est la suivante : en cosinus : √ Z.X + ε.Y X 2 + Y 2 − Z 2 Sθi = X2 + Y 2 √ Z.Y − ε.X X 2 + Y 2 − Z 2 Cθi = X2 + Y 2 (2.50) si X 2 + Y 2 − Z 2 ≥ 0 alors θi = AT AN2(Sθi , Cθi ) (2.51) Equations type 3 (forme 1) : X1 .Sθi = Y1 X2 .Cθi = Y2 (2.52) X1 et X2 étant non nuls, la réponse est la suivante. Y1 Y2 , ) X1 X2 (2.53) X1 .Sθi + Y1 .Cθi = Z1 X2 .Sθi + Y2 .Cθi = Z2 (2.54) θi = ATAN2( Equations type 3 (forme2) : On se ramène au cas précédent en posant : Sθi = Y2 .Z1 − Y1 .Z2 X1 .Y2 − X2 .Y1 X1 .Z2 − X2 .Z1 Cθi = X1 .Y2 − X2 .Y1 (2.55)
  • 72.
    62 Modélisation géométrique desrobots - Commande en position des robots d’où θi = ATAN2(Sθi , Cθi ) Equations type 4 : X1 .rj .Sθi = Y1 X2 .rj .Cθi = Y2 X1 et X2 étant non nuls. On réécrit le système :  2   2 2  r .S θi = Y1 Y1  j  r .Sθ =  2  j i  X1 X1 =⇒  r .Cθ = Y2  2  j   2 2 i  r .C θi = Y2 X2  j 2 X2 d’où rj = ± (2.56) (2.57) Y2 Y12 + 22 2 X1 X2 Si rj n’est pas nul, on en déduit : θi = ATAN 2( Y2 Y1 rj , rj ) X1 X2 (2.58) X1 et X2 étant non nuls. La réponse est la suivante : Y12 Y2 + 22 2 X1 X2 Y1 Y2 ) θi = ATAN2( , X1 X2 (2.59) X1 .Sθi = Y1 + Z1 .rj X2 .Cθi = Y2 + Z2 .rj (2.60) rj = ± Equations type 5 : X1 et X2 étant non nuls, on réécrit le système   Sθ = Y1 + Z1 .r  i j   X1 X1 Sθi = V1 + W1 .rj soit Cθi = V2 + W2 .rj    Cθ = Y2 + Z2 .r  j i X2 X2 (2.61)
  • 73.
    2.4 Modélisation géométriqueinverse d’un robot 63 S 2 θi + C 2 θi = 1 2 2 2 1 = V12 + V22 + 2.(W1 V1 + W2 V2 ).rj + (W1 + W2 ).rj 2 2 △ = 4.(W1 V1 + W2 V2 )2 − 4.(V12 + V22 − 1).(W1 + W2 ) (2.62) 2 2 2 2 △ = 4.(2.W1 V1 .W2 V2 ) − 4.(V12 .W2 + V22 .W1 − W1 − W2 ) 2 2 △ = 4.(W1 + W2 − (V1 .W2 − V2 .W1 )2 ) rj = 2 2 −(V1 .W1 + V2 .W2 ) + ε W1 + W2 − (V1 .W2 − V2 .W1 )2 2 2 W1 + W2 (2.63) On en déduit : θi = ATAN2(V1 + W1 .rj , V2 + W2 .rj ) (2.64) △ étant positif, avec ε = ±1, la réponse est la suivante rj = 2 2 2 −(V1 .W1 + V2 .W2 ) + ε W1 + W2 − (V1 .W2 − V2 .W1 ) 2 2 W1 + W2 (2.65) θi = ATAN2(V1 + W1 .rj , V2 + W2 .rj ) Equations type 6 : W.Sθj = X.Cθi + Y.Sθi + Z1 W.Cθj = X.Sθi − Y.Cθi + Z2 (2.66) Eliminons θj : 2 W 2 .S 2 θj = X 2 .C 2 θi + Y 2 .S 2 θi + Z1 + 2.X.Y.Cθi .Sθi + 2.X.Cθi .Z1 + 2.Y.Sθi .Z1 2 W 2 .C 2 θj = X 2 .S 2 θi + Y 2 .C 2 θi + Z2 − 2.X.Y.Cθi .Sθi + 2.X.Sθi .Z2 − 2.Y.Cθi .Z2 W2 = 2 2 X 2 + Y 2 + Z1 + Z2 + 2.X.Cθi .Z1 + 2.Y.Sθi .Z1 + 2.X.Sθi .Z2 − 2.Y.Cθi .Z2 (2.67) En sommant, on peut écrire : B1 .Sθi + B2 .Cθi = B3 (2.68)
  • 74.
    64 Modélisation géométrique desrobots - Commande en position des robots Avec B1 = 2.(Y.Z1 + X.Z2 ) B2 = 2.(X.Z1 − Y.Z2 ) 2 2 B3 = W 2 − X 2 − Y 2 − Z1 − Z2 (2.69) Dans ce cas, θi peut être résolu par un système de type 2. Puis θj peut être résolu par un système de type 3 (forme 1) avec Y1 = X.Cθi + Y.Sθi + Z1 Y2 = X.Sθi − Y.Cθi + Z2 X1 = W X2 = W (2.70) W1 .Cθj + W2 .Sθj = X.Cθi + Y.Sθi + Z1 W1 .Sθj − W2 .Cθj = X.Sθi − Y.Cθi + Z2 (2.71) et Equations type 7 : En élevant les deux premiers membres au carré, on a : 2 2 W1 .C 2 θj + W2 .S 2 θj + 2.W1 .W2 .Cθj .Sθj 2 2 W1 .S 2 θj + W2 .C 2 θj − 2.W1 .W2 .Cθj .Sθj (2.72) 2 2 En additionnant, il reste W1 + W2 Pour les seconds membres élevés au carré, on a : 2 X 2 .C 2 θi + Y 2 .S 2 θi + Z1 + 2.XY.Cθi .Sθi + 2.XZ1.Cθi + 2.Y Z1 .Sθi 2 X 2 .S 2 θi + Y 2 .C 2 θi + Z2 − 2.XY.Cθi .Sθi + 2.XZ2 .Sθi − 2.Y Z2 .Cθi (2.73) En additionnant, il reste 2 2 X 2 + Y 2 + Z1 + Z2 + 2.(XZ1 − Y Z2 ).Cθi + 2.(Y Z1 + XZ2 ).Sθi (2.74) Soit en regroupant les deux résultats : 2 2 2 2 2.(XZ1 − Y Z2 ).Cθi + 2.(Y Z1 + XZ2 ).Sθi = W1 + W2 − X 2 − Y 2 − Z1 − Z2 (2.75) C’est une équation de type 2 en θi . Une fois θi calculé, on résout une des 2 équations de type 2 en θj . Equations type 8 : X.Cθi + Y.C(θi + θj ) = Z1 X.Sθi + Y.S(θi + θj ) = Z2 (2.76)
  • 75.
    2.4 Modélisation géométriqueinverse d’un robot 65 En élevant au carré, on obtient : 2 X 2 .C 2 θi + Y 2 .C 2 (θi + θj ) + 2.XY.Cθi .C(θi + θj ) = Z1 2 X 2 .S 2 θi + Y 2 .S 2 (θi + θj ) + 2.XY.Sθi .S(θi + θj ) = Z2 (2.77) En additionnant : 2 2 2.XY.(Cθi .C(θi + θj ) + Sθi .S(θi + θj )) = Z1 + Z2 − X 2 − Y 2 (2.78) En intégrant un signe − dans le sinus et le cosinus, on a : 2 2 2.XY.(C(−θi ).C(θi + θj ) − S(−θi ).S(θi + θj )) = Z1 + Z2 − X 2 − Y 2 (2.79) d’où C(θi + θj − θi ) = Cθj = 2 2 Z1 + Z2 − X 2 − Y 2 2.XY (2.80) On en déduit θj avec : θj = ATAN2(± 1 − C 2 θj , Cθj ) (2.81) Il suffit ensuite de résoudre un système de deux équations et deux inconnues comme suit : X.Cθi + Y.(Cθi .Cθj − Sθi .Sθj ) = Z1 X.Sθi + Y.(Cθi .Sθj + Sθi .Cθj ) = Z2 (2.82) (X + Y.Cθj ).Cθi − Y.Sθj .Sθi = Z1 Y.Sθj .Cθi + (X + Y.Cθj ).Sθi = Z2 Soit : B1 .Cθi − B2 .Sθi = Z1 avec B1 = X + Y.Cθj B2 .Cθi + B1 .Sθi = Z2 B2 = Y.Sθj (2.83) On résoud en sinus et cosinus (équations type 3 forme 2) et on obtient θi par : θi = ATAN2(Sθi , Cθi ) (2.84) X.Cθj = Y (2.85) Equations type 9 : Dans ce cas, la réponse est immédiate : Y X √ Sθi = ± 1 − C 2 θi Cθi = et θi = ATAN2(Sθi , Cθi ) (2.86)
  • 76.
    Modélisation géométrique desrobots - Commande en position des robots 66 Equations type 10 : (2.87) X.Sθi = Y Dans ce cas, la réponse est immédiate =⇒ Y X√ Cθi = ± 1 − S 2 θi Sθi = 2.4.6 et θi = ATAN2(Sθi , Cθi ) (2.88) MGI pour des robots à 6 ddl comportant un poignet rotule (d’axes concourants) Lorsqu’il s’agit de déterminer le MGI d’un robot, avant de se lancer dans la série de calculs itératifs présentés dans le paragraphe e), il est bon de se poser la question de simplification de la méthode. En effet, avant tout calcul, il faut savoir : – quelles sont les variables articulaires qui contribuent à la position du repère terminal du robot Rn – quelles sont les variables articulaires qui contribuent à l’orientation du repère terminal Rn Lorsque le poignet du robot est une rotule d’axes concourants, c’est le porteur qui pilote la position de l’organe terminal. Ce porteur est constitué de n − 3 ddl. On peut écrire : 0 Pn =0 Pn−3+1 , c’est à dire :   Px   Py  0 1 2  = T T T3 ...n−3 Tn−3+1   1 2   Pz  1   0 0   0  1 (2.89) (2.90) avec :  Px  P  –  y  : position de l’organe terminal dans le repère R0 .  Pz  1   0  0  –   : opérateur d’extraction de la matrice de position à partir de la matrice  0  1 de transformation homogène A partir de cette première relation, en reprenant la méthode itérative du paragraphe 2.4.5.1 page 58, il est donc possible de calculer les valeurs des n − 3 premières articulations.
  • 77.
    2.4 Modélisation géométriqueinverse d’un robot 67 Pour les 3 dernières, on utilise une seconde relation. Une fois la position atteinte, l’organe terminal se trouve dans une "orientation initiale" dûe aux différentes transformations homogènes depuis le repère de base du robot R0 , jusqu’au dernier repère du porteur Rn−3 . A partir de la matrice U0 , on peut extraire la matrice des cosinus directeurs 0 An . 0 An = [ s n a] est une donnée du problème inverse. On peut donc écrire : n−3 A0 [ s n a] =n−3 An (2.91) Les premières variables articulaires q1 , q2 ..qn−3 étant calculées à partir de la position de l’organe terminal, la matrice n−3 A0 est donc connue numériquement. Le terme de gauche est donc entièrement connu. On réduit le système à trois variables articulaires qn−2 , qn−1 qn . Pour déterminer leurs valeurs numériques, on utilise la méthode itérative du paragraphe 2.4.5.1 page 58. Remarque : 1. Lorsque le robot à 6ddl (n = 6), les deux relations précédentes s’écrivent : – Pour la position, on détermine q1 , q2 , q3 avec :     0 Px  Py  0 1 2 3  0      (2.92)  Pz  = T1 T2 T3 T4  0  1 1   Px   P  1 2 3 où  y  est la position de l’organe terminal et 0 T1 T2 T3 T4    Pz  1 pend que de q4 , a5 , q6 . – Pour l’orientation, on détermine q4 , q5 , q6 à partir de :  3 A0 ↑ Ne dépend que de q1 q2 q3 [s n a] ↑ Matrice des cos. directeurs extraite à partir de U0  0 0   ne dé0  1 =3 A6 ↑ Ne dépend que de q4 q5 q6 (2.93) 2. Dans la remarque précédente, la première relation fait apparaître la matrice de transformation homogène 3 T4 . Celle-ci n’est utile que si l’origine du repère R3 ne coïncide pas avec l’origine du repère R4 . Sa présence dans la relation, permet de prendre en compte les paramètres géométriques fixes de la liaison R3 /R4 . 3. Lorsque n est supérieur à 6, on dit que le robot est redondant. Il sera donc nécessaire d’introduire des relations supplémentaires décrivant cette redondance.
  • 78.
    Modélisation géométrique desrobots - Commande en position des robots 68 2.4.7 Exemples de calcul de MGI 2.4.7.1 Calcul du MGI pour le robot AID-5 On se donne le système de coordonnées opérationnelles X.  sx nx ax  sy ny ay On peut en déduire U0 =0 T6 =   sz nz az 0 0 0 Il faut déterminer le système de coordonnées articulaires q. On a :  Px Py   Pz  1 (2.94) U0 =0 T1 1 T2 2 T3 3 T4 4 T5 5 T6 =0 T6 (2.95) j Uj = Tj−1 Uj−1 permettant de déterminer dans l’ordre q1 à q6 Détermination de q1 , q2 , q3 Ce robot possède un poignet rotule. Les premiers éléments du corps articulé forment les translations. Les derniers éléments forment les rotations. On a donc : 0 On a donc : P6 =0 P4 permettant de déterminer dans    0 Px  0  Py  0 1 2 3     Pz  = T1 T2 T3 T4  0 1 1   C1 Px  P y   s1     Pz  =  1  l’ordre q1 à q6      [−S23 RL4 + C2 D3 ] [−S23 RL4 + C2 D3 ]    C23 RL4 + S2 D3 1 (2.96) (2.97) (2.98) Ces relations ne permettent pas d’extraire directement q1 , q2 , q3 . Seul q1 pourrait être déterminé. En effet, d’après la relation précédente, par identification des termes de droite et gauche on pourrait écrire : q1 = ATAN 2(Py , Px ) à π près Prémultiplication par (2.99) 1 T0  Px  Py 1 T0   Pz 1  C 1 P x + S1 P y   −S1 Px + C1 Py   =    Pz 1   (2.100)
  • 79.
    2.4 Modélisation géométriqueinverse d’un robot   0   0  =1 T0 0 T1 1 T2 2 T3   =1 T4    0  1     0 0  0   0  =1 T6   = U1    0   0  1 1  69  0 0   0  1 (2.101) (2.102) 4 → 6 est une liaison rotule n’affectant pas la position. Or U1 a déjà été calculé par le MGD. On en tire par identification, de nouvelles équations. C 1 P x + S1 P y = −S23 RL4 + C2 D3 (a) −S1 Px + C1 Py = 0 (b) Pz = C23 RL4 + S2 D3 (c) (2.103) de l’équation (b) on tire q1 = ATAN 2(Py , Px ) ou ′ q1 = q1 + 180 ˚ Prémultiplication par 2 T1 On a alors :  C 1 P x + S1 P y  −S1 Px + C1 Py 2 T1   Pz 1 D’où les nouvelles équations :   0   0  = U2    0 1  −S3 RL4 + D3    C RL4  l =  3    0 1   C2 (C1 Px + S1 Py ) + S2 Pz = −S3 RL4 + D3 (a) −S2 (C1 Px + S1 Py ) + C2 Pz = C3 RL4 (b) S1 P x − C 1 P y =0 (c) (2.104) (2.105) (2.106) On peut calculer q2 et q3 à partir des équations (a) et (b). C’est un système de type 6. Calculons d’abord q2 On a un système du type W Sθj = X Cθi + Y Sθi + Z1 (2.107) W Cθj = X Sθi + Y Cθi + Z2
  • 80.
    70 Modélisation géométrique desrobots - Commande en position des robots On se ramène à un système du type B1 B1 B2 B3 Avec Sθi + B2 Cθi = B3 = 2(Z1 Y + Z2 X) = 2(Z1 X − Z2 Y ) 2 2 = W 2 − X 2 − Y 2 − Z1 − Z2 (2.108) Dans notre cas on a : W = RL4 Z 1 = D3 Z2 = 0 X = −B = −(C1 Px + S1 Py ) Y = −Pz (2.109) D’où B1 Sθ2 + B2 Cθ2 = B3 Avec B1 = 2(−D3 Pz ) = −2D3 Pz (2.110) B2 = −2D3 B 2 B3 = RL2 − B 2 − Pz2 − D3 4 C’est une équation de type 2 avec identification B1 → X B2 → Y B3 → Z (2.111) La solution est : Sθ2 = Cθ2 = 2 2 2 B1 B3 + εB2 B1 + B2 − B3 2 2 B1 + B2 2 B1 + B1 B3 − εB1 2 2 B1 + B2 2 B2 − 2 B3 = S2 (2.112) = C2 2 2 2 Avec ε = ±1 et B1 + B2 − B3 ≥ 0 Une autre forme peut être utilisée en posant : 2 V = D − B3 2 2 D = B1 + B2 Sθ2 = B1 B3 + εB2 V = S2 D (2.113) (type 3) (2.114) B1 B3 + εB1 V = C2 Cθ2 = D De ces deux relations on tire : q2 = q2 = ATAN 2(Sθ2 , Cθ2 ) 2 solutions ε = ±1 (2.115)
  • 81.
    2.4 Modélisation géométriqueinverse d’un robot 71 Calculons q3 D’après le dernier système d’équation, on a : S3 = − Pz S2 + BC2 − D3 RL4 (2.116) C 2 P z + S2 B C3 = − RL4 D’où q3 = ATAN 2(S3 , C3 ) (2.117) L’orientation de U0 =0 T6 est 0 A6 = [s n a] (2.118) Détermination de q4 , q5 , q6 donc 3 A0 [s n a] =3 A6 – q1 , q2 , q3 étant connu 3 A0 est connu – [s n a] est l’orientation définie par le système de coordonnées opérationnelles. C’est une donnée du problème. – 3 A6 ne dépend que de q4 , q5 , q6 qui sont inconnues On a donc ici un système d’équations avec 3 inconnues. On calcule le terme de gauche en déterminant d’abord 3 A0 = (0 A−1 ) = (0 A3 )T 3 (2.119) or 0 A3 est la matrice de rotation de 0 T3 c’est à dire 0  C1  S1 3 T0 [s n a] =   0 0 −S1 C1 0 0 D’où on en tire : T3 =0 T1 1 T2 2 T3 =0 T1 1 T3 0 0 1 0  C23 0 0  0  0   S23 0 1 −S23 0 C23 0 0 −1 0 0 (2.120) −1 C 2 D3  0  .[s n a] (2.121) S 2 D3   1  3   C23 0 S23 C1 S1 0 3 A0 =  −S23 0 C23   −S1 C1 0  0 −1 0 0 0 1 A0 [s n a] = [3 A0 s 3 A0 n 3 A0 a]     C23 0 S23 C 1 S1 0 sx 3 −S23 0 C23  −S1 C1 0 |sy  A0 s = 0 −1 0 0 0 1 sz (2.122) (2.123)
  • 82.
    72 Modélisation géométrique desrobots - Commande en position des robots  De même on obtient   C23 0 S23 C 1 s x + S1 s y = −S23 0 C23  −S1 sx + C1 sy  0 −1 0 sz   C23 (C1 sx + S1 sy ) + S23 sz = −S23 (C1 sx + S1 sy ) + C23 sz  S1 s x − C 1 s y  C23 (C1 nx + S1 ny ) + S23 nz 3 A0 n = −S23 (C1 nx + S1 ny ) + C23 nz  S1 nx − C1 ny (2.124) (2.125)   et (2.126) (2.127)  C23 (C1 ax + S1 ay ) + S23 az 3 A0 a = −S23 (C1 ax + S1 ay ) + C23 az  S1 ax − C1 ay D’autre part 3 A6 est la matrice de rotation de 3 T6 . Elle peut être extraite de U3 .   C 4 C 5 C 6 − S4 S6 −C4 C5 S6 − S4 C6 −C4 S5 3  −S5 S6 C5 A6 =  S5 C6 −S4 C5 C6 − C4 S6 S4 C5 S6 − C4 C6 S4 S5 (2.128) Après analyse de 3 A6 et q5 , ne peut se déterminer que par l’utilisation de la fonction Arcosinus. Cette fonction étant moins précise que ATAN2, on préfère utiliser 4 A6 extraite à partir de U4 .   C5 C6 −C5 S6 −S5 4  C6 0 A6 =  S6 (2.129) S5 C6 −S5 S6 C5 Il est donc nécessaire de calculer : 4 D’où A0 (s n a) =4 A3 3 A0 (s n a)    C4 0 −S4 C23 (C1 sx + S1 sy ) + S23 sz 4 A0 s = −S4 0 −C4  −S23 (C1 sx + S1 sy ) + C23 sz  0 1 0 S1 s x − C 1 s y   C4 [C23 (C1 sx + S1 sy ) + S23 sz ] − S4 (S1 sx − C1 sy ) = −S4 [C23 (C1 sx + S1 sy ) + S23 sz ] − C4 (S1 sx − C1 sy ) −S23 (C1 sx + S1 sy ) + C23 sz (2.130) (2.131) (2.132) On en déduit 4 A0 n et 4 A0 a en remplaçant s par n puis a. En identifiant le terme matriciel troisième colonne, deuxième ligne on a −S4 [C23 (C1 ax + S1 ay ) + S23 az ] − C4 (S1 ax − C1 ay ) = 0 (2.133)
  • 83.
    2.4 Modélisation géométriqueinverse d’un robot 73 que l’on peut réécrire : C4 B1 + S4 [C23 B2 + S23 az ] = 0 avec B1 = S1 ax − C1 ay B2 = C1 ax + S1 ay (2.134) (2.135) C’est une équation type 2. On a 2 solutions : q4 = AT AN2(B1 , −C23 B2 − S23 az ) ou ′ q4 = q4 + 180 ˚ (2.136) Pour q5 , on utilise la troisième colonne ligne 1 et 3. −S5 = C4 [C23 (C1 ax + S1 ay ) + S23 az ] − S4 (S1 ax − C1 ay ) C5 = −S23 (C1 ax + S1 ay ) + C2 3az (2.137) C’est une équation de type 3 : On en déduit q5 = AT AN2(S5 , C5 ) (2.138) Pour q6 , on a la deuxième ligne des matrices (colonne 1 et 2). Equations de type 2 S6 = −S4 [C23 (C1 sx + S1 sy ) + S23 sz ] − C4 [S1 sx − C1 sy ] C6 = −S4 [C23 (C1 nx + S1 ny ) + S23 nz ] − C4 [S1 nx − c1 ny ] (2.139) On en déduit q6 = AT AN2(S6 , C6 ) (2.140) On a donc une solution pour q5 , q6 , q2 , q3 et deux solutions pour q4 , q1 Soit un total de quatre solutions. Le choix devra se faire sur des critères additifs. Par exemple : – éloignement des butées – contrôle de l’espace occupé par le robot – autre... Remarque : il existe des positions singulières du robot 1. Si Px = Py = 0 Dans ce cas, q1 est indéterminé et O4 (centre de la route) ∈ à l’axe z0 , z1 . On peut fixer par exemple : q1 = q1c valeur courante de q1 ou q1 =le plus éloigné des butées électriques et mécaniques. Dans ce cas, il se peut qu’une faible variation de la situation entraîne une grande variation de q1 impossible à réaliser.
  • 84.
    74 Modélisation géométrique desrobots - Commande en position des robots 2. Si C23 (C1 ax + S1 ay ) + S23 az = 0 et S1 ax − C1 ay = 0 Alors q4 est indéterminée. Si S5 = 0 (résultat des hypothèses 2. Voir equation (2.138) page 73 pour le calcul de q5 ) alors les axes z4 et z6 sont confondus. C’est donc la somme q4 + q6 qui intervient car q5 = 0 C’est une singularité de poignet. Dans ce cas, 3 A6 =3 A4 4 A5 5 A6 = A(x, −90 )A(z, q4 + q6 ) ˚ (2.141) Comme q5 = 0 on ne passe pas par R5 . 3 A6 représente la matrice de rotation de U3 : Or   C 4 C 5 C 6 − S4 S6 −C4 C5 S6 − S4 C6 −C4 S5 0  S C −S5 S6 C5 RL4   (2.142) U3 =  5 6   −S4 C5 C6 − C4 S6 S4 C5 S6 − C4 C6 S4 S5 0 0 0 0 1  C 4 C 6 − S4 S6  0 U3/q5 =0 =   −S4 C6 − C4 S6 0  C(4+6) −S(4+6)  0 0 U3/q5 =0 =   −S(4+6) −C(4+6) 0 0 D’où (deuxième colonne)  −C4 S6 − S4 C6 0 0 0 1 RL4    S4 S6 − C 4 C 6 0 0 0 0 1  0 0 1 RL4  3  or A6 =3 A6 [s n a]  0 0 0 1 q4 + q6 = AT AN2[−C23 (C1 nx + S1 ny ) + S23 nz − S1 nx − C1 ny ] (2.143) (2.144) (2.145) On peut fixer q4 à la valeur courante et q6 par la relation à dessus. On peut aussi chercher que q4 et q6 soient le plus éloignées possible des butées. 2.4.7.2 MGI du robot ACMA H-80
  • 85.
    2.5 Commande enposition d’un robot 2.5 75 Commande en position d’un robot 2.5.1 Introduction En robotique, une des taches de base que doit accomplir un robot consiste à se déplacer d’un point A à un point B, avec le respect éventuel d’un certain nombre de contraintes (vitesse, accéleration max, évitement d’obstacle). La commande en position du robot consiste donc à calculer les différentes consignes, en fonction du temps, afin de générer le mouvement désiré. C’est pour cela que la commande en position d’un robot est aussi appelée génération de mouvement. De manière classique, deux types de commande en position sont envisagée : – une commande en position dans l’espace articulaire q (fig 2.12a). Pour assurer le passage de la position initiale à la position finale (q i → q f ) et le controler temporellement, une génération de mouvement est nécessaire. Par exemple, si l’on souhaite synchroniser les axes pour avoir un mouvement harmonieux et controler la géométrie du déplacement du robot à chaque itération. – une commande en position dans l’espace opérationnel X (fig 2.12b). d Génération d’un q (t) mouvement en q T qf Asservissement + - qm qi (a) X f q d (t) d Génération d’un X (t) MGI mouvement en T X Xi qi MGD Asservissement + - qm (b) Figure 2.12 – Boucles de génération de mouvement. (a) : dans l’espace articulaire - (b) : dans l’espace opérationnel. . Le choix du type de commande peut être effectué en fonction de l’espace dans lequel est décrit la trajectoire à suivre. La génération d’un mouvement directement dans l’espace articulaire présente des avantages : – le mouvement est minimal sur chaque articulation, – elle nécessite moins de calculs (pas de passage MGD MGI),
  • 86.
    Modélisation géométrique desrobots - Commande en position des robots 76 – le mouvement n’est pas affecté pas le passage sur les configurations singulières, – les contraintes de couples maximum et de vitesse maximum sont connues car on les fixe aux limites physiques des actionneurs. En contrepartie, la géométrie du déplacement du robot dans l’espace opérationnel n’est pas controlée (bien qu’elle soit répétitive). Il y a donc risque de collision si l’environnement est encombré. On en déduit que ce type de mouvement conviendra d’avantage lorsque l’espace sera dégagé, et pour des déplacements rapides. Lorsque la géométrie de la trajectoire doit être contrôlée, la génération de trajectoire dans l’espace opérationnel sera préférée. Par contre, elle comporte un certain nombre d’inconvénients : – elle demande d’appliquer le MGI en chaque point de la trajectoire, – elle peut être mise en défaut lorsque la trajectoire calculée passe par une position singulière, – elle peut être mise en défaut lorsque la trajectoire calculée fait passer une articulation hors de ces limites de variation q¬[qmin ; qmax ], – les limites Cmax , Vmax étant définies dans l’espace opérationnel ne permettent pas d’utiliser au mieux les actionneurs. Le choix dépend essentiellement de la tâche à effectuer et de l’espace de travail. tâche 2.5.2 espace articulaire rapide espace de travail libre (vitesses, couples, butées) espace opérationnel “moyennement” rapide espace de travail encombré (précision, obstacle) Génération de mouvement dans l’espace articulaire Soit un robot à n degrés de liberté. Soit qi le vecteur des coordonnées articulaires initiales. Soit qf le vecteur des coordonnées articulaires finales. Soit kv le vecteur vitesse maximal. Soit ka le vecteur accélération maximal. Les caractéristiques kv , ka sont calculées en fonction de : – kv : les caractéristiques des actionneurs et des rapports de réduction des organes de transmission, – ka : le rapport des couples moteurs maximaux aux inerties maximales. Le mouvement interpolé entre q i et q f en fonction du temps t est décrit par
  • 87.
    2.5 Commande enposition d’un robot 77 l’équation suivante : q = q i + r(t)D . . q (t) =r (t)D pour 0 ≤ t ≤ tf (2.146) avec D = q f − q i . r(t) est une fonction d’interpolation telle que : r(0) = 0 et r(tf ) = 1. On peut alors écrire 2.146 comme suit : q(t) = q f (t) − [1 − r(t)]D (2.147) Plusieurs fonctions permettent de satisfaire le passage par q i à t = 0 et q f à t = tf : – interpolation polynomiale linéaire, de degré 3 ou de degré 5 – loi du Bang Bang, – loi trapèze (Bang Bang avec paliers de vitesse) 2.5.2.1 Interpolation polynomiale Les 3 modes les plus courants sont l’interpolation linéaire, l’interpolation de degré 3 et l’interpolation de degré 5. L’interpolation linéaire C’est la plus simple. L’équation du mouvement s’écrit : q(t) = q i + t .D tf (2.148) Cette loi de mouvement impose une vitesse constante le long de la trajectoire. Elle est continue en position et discontinue en vitesse. On en déduit la fonction d’interpolation : r(t) = t tf (2.149) La loi est continue en position, mais discontinue en vitesse et accélération. On obtient l’évolution suivante (fig 2.13). Pratiquement, le début (t = 0) et la fin (t = tf ) sont marqués par des à-coups.
  • 88.
    78 Modélisation géométrique desrobots - Commande en position des robots Evolution de la variable q(t) 3 2.5 q(t) 2 qi qf 1.5 1 0.5 0 0 0.2 0.4 0.6 0.8 1 t (secondes) 1.2 1.4 1.6 1.8 2 1.4 1.6 1.8 2 1.4 1.6 1.8 2 Evolution de la variable dq/dt 3 2.5 2 1.5 Vmax dq/dt 1 0.5 0 −0.5 −1 −1.5 −2 0 0.2 0.4 0.6 0.8 1 t (secondes) 1.2 Evolution de la variable d/dt(dq/dt) 3 2 d/dt(dq/dt) 1 0 −1 −2 −3 0 0.2 0.4 0.6 0.8 1 t (secondes) 1.2 Figure 2.13 – Degré 1 : Evolution de la position, de la vitesse et de l’accélération .
  • 89.
    2.5 Commande enposition d’un robot 79 L’interpolation de degré 3 [Craig86] Si l’on impose une vitesse nulle aux points de départ et d’arrivée, on rajoute deux contraintes supplémentaires par rapport à l’interpolation linéaire. Afin de satisfaire ces 4 contraintes, q(0) = q i (c) q(tf ) = q f (d) q i = q(0) = 0 (a) ˙ ˙ f q = q(tf ) = 0 (b) ˙ ˙ le degré minimal du polynôme est de 3. La forme générale est donnée par l’équation suivante : q(t) = a0 + a1 .t + a2 .t2 + a3 .t3 (2.150) On en déduit les relations donnant la vitesse et l’accélération : q = a1 + 2.a2 .t + 3.a3 .t2 ˙ q = ¨ 2.a2 + 6.a3 .t (2.151) En utilisant les hypothèses (a) et (c), on en déduit les coefficients : a0 = q i a1 = 0 (2.152) On en déduit la fonction d’interpolation : t tf r(t) = 3. 2 − 2. 3 t tf (2.153) En utilisant les hypothèses (b) et (d), on obtient un système de deux équations et deux inconnues. On en déduit les coefficients : a2 = a3 = 3 .D t2 f 2 − t3 .D f L’accélération s’annule lorsque t = − 2.a2 = 6.a3 2.3.t3 f t2 .6.2 f (2.154) = tf 2 . Elle a donc un maximum en t = 0 et minimum en t = tf . La valeur extrèmale est : qmax = ¨ La vitesse est maximale en t = extrèmale est : qmax = 3.|D| . ˙ 2.tf tf 2 6.|D| t2 f et nulle en t = 0 et en t = tf . La valeur On obtient l’évolution suivante (fig 2.14).
  • 90.
    80 Modélisation géométrique desrobots - Commande en position des robots Evolution de la variable q(t) 3 2.5 q(t) 2 qf 1.5 1 qi 0.5 0 0 0.2 0.4 0.6 0.8 1 t (secondes) 1.2 1.4 1.6 1.8 2 1.4 1.6 1.8 2 1.4 1.6 1.8 2 Evolution de la variable dq/dt 3 2.5 2 3.|D|/(2.tf) 1.5 dq/dt 1 0.5 0 −0.5 −1 −1.5 −2 0 0.2 0.4 0.6 0.8 1 t (secondes) 1.2 Evolution de la variable d/dt(dq/dt) 6.|D|/(tf.tf) 6 4 d/dt(dq/dt) 2 0 −2 −4 −6.|D|/(tf.tf) −6 0 0.2 0.4 0.6 0.8 1 t (secondes) 1.2 Figure 2.14 – Degré 3 : Evolution de la position, de la vitesse et de l’accélération .
  • 91.
    2.5 Commande enposition d’un robot 81 L’interpolation de degré 5 [Binf ord77] Si de plus l’on impose une accélération nulle aux points de départ et d’arrivée, on rajoute deux contraintes supplémentaires par rapport à l’interpolation de degré 3. Afin de satisfaire ces 6 contraintes, q i = q (0) = 0 (a) ¨ ¨ q f = q(tf ) = 0 (b) ¨ ¨ q(0) = q i (e) q(tf ) = q f (f ) q i = q(0) = 0 (c) ˙ ˙ q f = q(tf ) = 0 (d) ˙ ˙ le degré minimal du polynôme est de 5. La forme générale est donnée par l’équation suivante : q(t) = a0 + a1 .t + a2 .t2 + a3 .t3 + a4 .t4 + a5 .t5 (2.155) On en déduit les relations donnant la vitesse et l’accélération : q = a1 + 2.a2 .t + 3.a3 .t2 + 4.a4 .t3 + 5.a5 .t4 ˙ q = ¨ 2.a2 + 6.a3 .t + 12.a4 .t2 + 20.a5 .t3 En utilisant les hypothèses (e), (c) et   a0 a1  a2 (2.156) (a), on en déduit les coefficients : = qi = 0 = 0 (2.157) En utilisant les hypothèses (f ), (d) et (b), on obtient un système de trois équations et trois inconnues. On en déduit les coefficients :  10  a3 = t3 .D  f  a4 = − 15 .D (2.158) t4 f   a = 6 .D  5 5 tf On en déduit la fonction d’interpolation : r(t) = 10. t tf 3 − 15. L’accélération s’annule lorsque t = √ 2 ¨ √ 2 qmax = 10.|D| qmin = − 10.|D| ¨ 3.t 3.t f tf 2 t tf 4 + 6. t tf 5 (2.159) . Elle a un maximum et un minimum : f La vitesse est maximale en t = extrèmale est : qmax = 15.|D| . ˙ 8.tf tf 2 et nulle en t = 0 et en t = tf . La valeur On obtient l’évolution suivante (fig 2.15).
  • 92.
    82 Modélisation géométrique desrobots - Commande en position des robots Evolution de la variable q(t) 3 2.5 q(t) 2 qi qf 1.5 1 0.5 0 0 0.2 0.4 0.6 0.8 1 t (secondes) 1.2 1.4 1.6 1.8 2 1.4 1.6 1.8 2 1.4 1.6 1.8 2 Evolution de la variable dq/dt 3 2.5 15.|D|/8.tf 2 1.5 dq/dt 1 0.5 0 −0.5 −1 −1.5 −2 0 0.2 0.4 0.6 0.8 1 t (secondes) 1.2 Evolution de la variable d/dt(dq/dt) (10.|D|)/(sqrt(3).tf.tf) 6 4 d/dt(dq/dt) 2 0 −2 −4 −6 − (10.|D|)/(sqrt(3).tf.tf) 0 0.2 0.4 0.6 0.8 1 t (secondes) 1.2 Figure 2.15 – Degré 5 : Evolution de la position, de la vitesse et de l’accélération .
  • 93.
    2.5 Commande enposition d’un robot 2.5.2.2 83 Loi bang-bang Dans ce cas le mouvement est représenté par une phase d’accélération constante tf jusqu’à 2 , puis une phase de deccélération constante. On impose les 4 contraintes : q(0) = q i (c) q(tf ) = q f (d) q i = q(0) = 0 (a) ˙ ˙ f q = q(tf ) = 0 (b) ˙ ˙ Le mouvement est donc continu en position et en vitesse. Il est discontinu en accélération. La position est donnée par l’ensemble des relations suivantes :   q(t) = q i + 2 · ( tt )2 .D f  q(t) = q i + −1 + 4 · t tf pour − 2 · ( ttf )2 .D 0 tf 2 t f ≤ t ≤ 2 ≤ t ≤ tf (2.160) On en déduit les relations donnant la vitesse et l’accélération : tf P our 0 ≤ t ≤ 2 q = 4 · ( tft2 ).D ˙ 4 q = ( tf 2 ).D ¨ q = ˙ q = ¨ tf P our ≤ t ≤ tf 2 4 tf − 4 · ( tft2 ).D 4 −( tf 2 ).D (2.161) (2.162) 4 4 ¨ L’accélération a un maximum et un minimum : qmax = ( tf 2 ).D, qmin = −( tf 2 ).D ¨ La vitesse est maximale en t = extrèmale est : qmax = 2.|D| . ˙ tf tf 2 et nulle en t = 0 et en t = tf . La valeur On obtient l’évolution suivante (fig 2.16).
  • 94.
    84 Modélisation géométrique desrobots - Commande en position des robots Evolution de la variable q(t) 3 2.5 qf q(t) 2 1.5 1 qi 0.5 0 0 0.2 0.4 0.6 0.8 1 t (secondes) 1.2 1.4 1.6 1.8 2 1.4 1.6 1.8 2 1.4 1.6 1.8 2 Evolution de la variable dq/dt 3 2.5 2.|D|/tf 2 1.5 dq/dt 1 0.5 0 −0.5 −1 −1.5 −2 0 0.2 0.4 0.6 0.8 1 t (secondes) 1.2 Evolution de la variable d/dt(dq/dt) 6 4.|D|/(tf.tf) 4 d/dt(dq/dt) 2 0 −2 −4.|D|/(tf.tf) −4 −6 0 0.2 0.4 0.6 0.8 1 t (secondes) 1.2 Figure 2.16 – Loi bang-bang : Evolution de la position, de la vitesse et de l’accélération .
  • 95.
    2.5 Commande enposition d’un robot 85 Remarque : temps minimum . Si tf n’est pas spécifié, on recherche en général le temps minimum pour faire le déplacement q i → q f en respectant les contraintes de vitesse et d’accélération. Généralement on calcul le temps minimum sur chaque articulation séparemment puis on effectue la coordination des articulations sur un temps commun. La coordination est nécessaire à deux titres : – harmonie du mouvement global du robot – contrôle de la trajectoire et de la géométrie du robot. Les deux étapes sont donc : – calcul du temps minimum tf : il dépend de la méthode d’interpolation retenue. Il consiste en fait à saturer la vitesse et/ou l’accélération. Pour le calcul de chacun des tf j , on se sert des résultats suivants : Interpolation linéaire Interpolation de degré 3 tf j = tf j = MAX |Dj | kvj 3·|Dj | , 2·kvj 6·|Dj | kaj 10·|Dj | √ 3·kaj Interpolation de degré 5 tf j = MAX 15·|Dj | , 8·kvj Loi Bang-Bang tf j = MAX 2·|Dj | ,2 kvj · |Dj | kaj – Pour la coordination des axes, on impose pour chaque axe tf MAX[tf 1 , tf 2 , · · · tf n ]. =
  • 96.
    86 Modélisation géométrique desrobots - Commande en position des robots 2.5.2.3 Loi trapèze : loi bang-bang avec palier de vitesse Avec une loi bang-bang, le temps minimal est assuré, soit en saturant la vitesse, soit en saturant l’accélération. Lorsque la vitesse est saturée, le fait d’ajouter un palier permet aussi de saturer l’accélération, et de diminuer le temps de parcours. Evolution de la variable dq/dt 3 2.5 2 Loi trapèze : saturation de l’accélération 1.5 kv dq/dt 1 0.5 0 −0.5 Loi bang−bang : saturation de la vitesse −1 −1.5 −2 0 0.2 0.4 0.6 0.8 1 t (secondes) 1.2 1.4 1.6 1.8 2 1.8 2 Evolution de la variable d/dt(dq/dt) loi trapèze : saturation de l’accélération 6 ka loi bang−bang : saturation de la vitesse 4 d/dt(dq/dt) 2 0 −2 −4 −ka −6 0 0.2 0.4 0.6 0.8 1 t (secondes) 1.2 1.4 1.6 Figure 2.17 – Loi trapèze et bang-bang : Evolution de de la vitesse et de l’accélération . Si la vitesse est saturée sur l’articulation j, d’après le tableau 2.5.2.2, on voit que : – tf ≥ 2·|Dj | kvj lorsque que l’on veut saturer la vitesse
  • 97.
    2.5 Commande enposition d’un robot 87 |D | j – tf ≥ 2 · kaj lorsque que l’on veut saturer l’accélération par conséquent l’existence d’un palier de vitesse est donné par : 2 · |Dj | >2· kvj |Dj | kaj (2.163) En élevant au carré, on obtient la condition d’existance du palier : 2 kvj |Dj | > kaj (2.164) La loi trapèze est optimale en temps : elle est parmi celles qui assurent une continuïté en vitesse. La position est donnée par l’ensemble des relations suivantes :  2 i  qj (t) = qj + t2 · kaj · sgn(Dj )  τ i qj (t) = qj + (t − 2j ) · kvj · sgn(Dj )   q (t) = q f − 1 · (t − t)2 · k · sgn(D ) j fj aj j j 2 0 ≤ t ≤ τj τj ≤ t ≤ tf j − τj pour tf j − τj ≤ t ≤ tf j (2.165) On en déduit les relations donnant la vitesse et l’accélération : qj (t) = t · kaj · sgn(Dj ) ˙ qj (t) = kaj · sgn(Dj ) ¨ P our 0 ≤ t ≤ τj P our τj ≤ t ≤ tf j − τj P our tf j − τj ≤ t ≤ tf j qj (t) = kvj · sgn(Dj ) ˙ qj (t) = ¨ 0 qj (t) = (tf j − t) · kaj · sgn(Dj ) ˙ qj (t) = ¨ −kaj · sgn(Dj ) avec τj = kvj kaj On obtient l’évolution suivante (fig 2.18). (2.166) (2.167) (2.168) (2.169)
  • 98.
    88 Modélisation géométrique desrobots - Commande en position des robots Evolution de la variable q(t) 3 2.5 q(t) 2 qf 1.5 1 qi 0.5 0 0 0.2 0.4 0.6 0.8 1 t (secondes) 1.2 1.4 1.6 1.8 2 1.4 1.6 1.8 2 1.4 1.6 1.8 2 Evolution de la variable dq/dt 3 2.5 2 1.5 kv dq/dt 1 0.5 0 −0.5 −1 −1.5 −2 0 0.2 0.4 0.6 0.8 1 t (secondes) 1.2 Evolution de la variable d/dt(dq/dt) 6 ka 4 d/dt(dq/dt) 2 0 −2 −4 −ka −6 0 0.2 0.4 0.6 0.8 1 t (secondes) 1.2 Figure 2.18 – Loi trapèze : Evolution de la position, de la vitesse et de l’accélération .
  • 99.
    2.5 Commande enposition d’un robot 89 L’aire du trapèze représentant l’évolution des vitesses, est égale à la distance parcourue dans l’intervalle [0; tf j ]. On a donc : f i |Dj| = |qj − qj | = 2 · |Dj| = τj 0 kaj · t · dt + kvj · tf j − tf j −τj τj 2 kvj kaj kvj · dt (2.170) On en déduit le temps minimal pour l’axe j. tf j = kvj kaj |Dj| kvj + |Dj| kvj + tf j = τj + (2.171) Pour synchroniser les différents mouvements des axes 1, 2, · · · , n deux méthodes ont été proposées. Méthode du temps minimal [Tondu 84] Dans cette méthode le temps optimal tf = Maxj [tf j ] est conservé. Soit k l’articulation contraignante imposant tf = tf k . L’articulation j est synchronisée par rapport à sa loi propre en augmentant la durée du palier de vitesse. Les phases d’accélération et de déccélération restant identiques à celles de la loi propre. La loi synchronisée s’obtient en réalisant une homothétie d’un rapport λj sur sa loi propre. On obtient l’évolution suivante (fig 2.19). Evolution de la variable dq/dt 2 1.5 Loi propre Loi homothétique rapport lambdaj kvj 1 dq/dt kaj lambdaj . kvj 0.5 lambdaj . kaj t 0 tfk tfj −0.5 −1 0 0.2 0.4 0.6 0.8 1 t (secondes) 1.2 1.4 1.6 1.8 2 Figure 2.19 – Loi trapèze : Evolution de la vitesse . |D | tf = τj + λj ·kjvj représente la durée de synchronisation. En fait, τj reste constant. On peut reprendre le calcul de l’intégrale précédent en introduisant λj . Comme :
  • 100.
    90 Modélisation géométrique desrobots - Commande en position des robots tf = τj + On en déduit : |Dj | λj · kvj λj = =⇒ tf − τj = |Dj | λj · kvj (2.172) |Dj | tf j − τj = (tf − τj ) · kvj tf − τj (2.173) Méthode proportionnelle Avec cette méthode, les lois de vitesses des diverses articulations sont homothétiques et comportent des phases d’accélération et de freinage de même durée τ . On obtient l’évolution suivante (fig 2.20). Evolution de la variable dq/dt 2 1.5 dq/dt = lambdaj . kvk j=k 1 dq/dt j=n 0.5 j=2 j=1 t 0 tau tf−tau tf −0.5 −1 0 0.2 0.4 0.6 0.8 1 t (secondes) 1.2 1.4 1.6 1.8 2 Figure 2.20 – Loi trapèze : Evolution de la vitesse . On a alors : qj (t) = λj · qk (t) ˙ ˙ pour j = 1, 2, · · · , n (2.174) Classiquement dans cette méthode les lois de vitesses sont déduites par homothétie de la loi de vitesse de l’articulation contraignante k. On a : qk (t) = λk · qk (t) ˙ ˙ donc λk = 1 (2.175) Dans certains cas, il n’est pas possible de respecter des contraintes d’accélérations ou bien celles de vitesses pour une ou plusieurs articulations. On est alors obligé d’introduire une marge de temps ∆t et de recalculer les rapports d’homothétie compte tenu de la nouvelle durée du mouvement tf = tf k +∆t.
  • 101.
    2.5 Commande enposition d’un robot 91 Cette méthode ne donne pas le temps minimum (car soit il faut ralonger τ (accélération), soit il faut ralonger la durée du palier de vitesse (vitesse)). Il existe une alternative à cette méthode que nous allons présenter maintenant. Cette méthode suppose le calcul d’une constante de temps τ de la phase d’accélération à priori différent du τj optimal des lois propres de chacunes des articulations. Soit λj · kvj la vitesse de la loi synchronisée pour l’articulation j. Soit νj · kaj l’accélération de la loi synchronisée pour l’articulation j qui produit le mouvement. Calculons τ qui assure un temps tf minimum. Considérons deux articulations. Les temps de parcours minimaux pour ces deux articulations sont : tf 1 = τ1 + tf 2 = τ2 + |D1 | kv1 |D2 | kv2 On obtient l’évolution suivante (fig 2.21). Evolution de la variable dq/dt 2 1.5 lambda1 . kv1 kv1 1 lambda2 . kv2 dq/dt kv2 0.5 0 tau1 tf1 tf2 tf tau2 −0.5 tau −1 0 0.2 0.4 0.6 0.8 1 t (secondes) 1.2 1.4 1.6 1.8 2 Figure 2.21 – Loi trapèze : Evolution de la vitesse . La loi synchronisée est telle que le temps tf : tf = τ1 + avec |D2 | |D1 | = τ2 + kv1 kv2 (2.176)
  • 102.
    92 Modélisation géométrique desrobots - Commande en position des robots   τ1 =  τ2 = λ1 ·kv1 ν1 ·ka1 et λ2 ·kv2 ν2 ·ka2 tf = MAX[tf 1 , tf 2 ] On doit calculer λj et νj pour rendre tf minimum. On veut un τ fixe. On a donc : τ = τ1 = τ2 = λ2 · kv2 λ1 · kv1 = ν1 · ka1 ν2 · ka2 (2.177) De plus, comme τ = τ1 = τ2 et tf = tf 1 = tf 2 , on a : |D1 | |D2 | = λ1 · kv1 λ2 · kv2 On en déduit deux relations :   λ2 = λ1 ·    ν = ν · 2 1 kv1 kv2 ka1 ka2 (2.178) · |D2 | |D1 | · |D2 | |D1 | Pour satisfaire les contraintes de vitesse, on a :   0 ≤ λ1 ≤ 1 kv2 |D1 | · ⇒ 0 ≤ λ1 ≤  kv1 |D2 | 0 ≤ λ2 ≤ 1 Pour satisfaire les contraintes d’accélération, on a :   0 ≤ ν1 ≤ 1 ka2 |D1 | · ⇒ 0 ≤ ν1 ≤  ka1 |D2 | 0 ≤ ν2 ≤ 1 (2.179) (2.180) (2.181) Le temps tf minimum est obtenu lorsque λ1 et ν1 sont les plus grands et satisfont les contraintes suivantes :   λ1opt = MIN 1, kv2 ·   kv1    ν1opt = MIN 1, ka2 · ka1 |D1 | |D2 | (2.182) |D1 | |D2 | Dans ce cas la durée optimale de la phase d’accélération est : τopt = λ1opt kv1 · ν1opt ka1 (2.183)
  • 103.
    2.5 Commande enposition d’un robot 93 Ces relations sont généralisables à n articulations, en écrivant que :  k   λ1opt = MIN 1, kvj · |D1||  |Dj v1  j = 2, 3, · · · , n          kaj |D1 | j = 2, 3, · · · , n pour ν = MIN 1, ka1 · |Dj |   1opt          j = 1, 2, · · · , n λjopt kvj λ1opt kv1  τopt = ν1opt · ka1 = νjopt · kaj (2.184) Remarque : Si pour une articulation j donnée, la loi optimale n’atteint pas la vitesse maximale kvj , on remplace dans les formules précédentes le terme kvj par ′ la vitesse maximale effectivement atteinte kvj . Cette situation se présente lorsque : |Dj | < 2 kvj . kaj On obtient l’évolution suivante (fig 2.22). Evolution de la variable dq/dt 3 kvj 2.5 kvj’ 2 1.5 dq/dt 1 0.5 t 0 tfj −0.5 −1 −1.5 −2 0 0.2 0.4 0.6 0.8 1 t (secondes) 1.2 1.4 1.6 1.8 2 Figure 2.22 – Loi trapèze : cas où la vitesse n’est pas saturée . ′ On en déduit : kvj = |Dj | · kaj En effet, en laissant tomber le terme sgn(Dj ), on a :   q ( tf ) = q i +  j 2 j   t qj ( 2 ) = ˙ f tf 2 ( tf 2 2 )2 · kaj ′ · kaj = kvj ⇒      |Dj | 2 ′ = kvj = ( tf 2 ) 2 2 · kaj |Dj | · kaj t f ⇒ (2)= |Dj | kaj
  • 104.
    Modélisation géométrique desrobots - Commande en position des robots 94 2.5.3 Génération de mouvement rectiligne dans l’espace opérationnel Nous nous restreindrons à ce type de mouvement car la génération de mouvement dans l’espace opérationnel devient vite complexe. On cherche à appliquer un mouvement rectiligne au point outil (OE origine du repère RE lié à l’outil). Soit O TE i la matrice de transformation homogène décrivant la situtation initiale de l’outil dans le repère R0 . Soit O TE f la matrice de transformation homogène décrivant la situtation finale de l’outil dans le repère R0 . Af P f Ai P i O TE f = 0 1 0 1 On décompose le mouvement en un mouvement de : – rotation autour d’un axe u de l’organe terminal pour aligner Ai avec Af , – translation en ligne droite entre les origines OE i et OE f . On définit : O TE i = Les deux mouvements se terminent en même temps. On a donc : O TE f =O TE i · T (u, θ) = Ai P i 0 1 · A(u, θ) P 0 1 (2.185) Soit : – kv1 et ka1 les vitesses et accélérations maximales pour la rotation – kv2 et ka2 les vitesses et accélérations maximales pour la translation Le calcul de u et θ est obtenu à partir de la relation suivante : Ai .A(u, θ) = Af (2.186) A(u, θ) représente une rotation d’un angle θ autour d’un axe u.  si A(u, θ) = [Ai ]T · Af =  ni  · ai  sf nf af  si · sf si · nf si · af A(u, θ) =  ni · sf ni · nf ni · af  ai · sf ai · nf ai · af  (2.187) (2.188)
  • 105.
    2.5 Commande enposition d’un robot 95 or on a vu que :  u2 .(1 − cθ) + cθ ux uy .(1 − cθ) − uz .sθ ux uz .(1 − cθ) + uy .sθ x u2 .(1 − cθ) + cθ uy uz .(1 − cθ) − ux .sθ  A(u, θ) =  ux uy .(1 − cθ) + uz .sθ y ux uz .(1 − cθ) − uy .sθ uy uz .(1 − cθ) + ux .sθ u2 .(1 − cθ) + cθ z (2.189) ou bien  A(u, θ) = u.uT .(1 − cθ) + I3 .cθ + u.sθ ˆ (2.190) De ces différentes expressions on en déduit :  1  cθ = · si · sf + ni · nf + ai · af − 1  2    sθ = 1 · (ai · nf − ni · af )2 + (si · af − ai · sf )2 + (ni · sf − si · nf )2   2   θ = AT AN2(sθ, cθ)   i f  a · n − ni · af    1  u = ·  si · af − ai · sf   2·sθ    ni · sf − si · sf (2.191) L’ensemble des méthodes d’interpolation mises en œuvre dans l’espace articulaire peuvent être mises en œuvre dans l’espace opérationnel. Compte tenu du déplacement total θ et des contraintes kv1 et ka1 , on calcule le temps minimal tf 1 . On procède de manière identique pour déterminer pour déterminer tf 2 imposé par le mouvement de translation sachant que la distance parcourue est : D = Pf − Pi = f f i i (Px − Px )2 + (Py − Py )2 + (Pzf − Pzi )2 (2.192) La synchronisation des deux types de mouvement permet de trouver un commun tf . Le mouvement résultant est tel que : O TE (t) = A(t) P (t) 0 1 avec P (t) = P i + r(t)(P f − P i ) A(t) = Ai · A(u, r(t) · θ) (2.193) où r(t) représente la fonction d’interpolation retenue. On pourrait également écrire : P (t) = P f − (1 − r(t))[P f − P i] A(t) = Af · A(u, −(1 − r(t)) · θ) (2.194)
  • 106.
    96 Modélisation géométrique desrobots - Commande en position des robots Remarque : Si l’on choisit de calculer la rotation autour d’un axe fixe par rapport à R0 , alors il faut réécrire la relation exprimant le mouvement de rotation en composant à gauche : A(u, θ).Ai = Af (2.195)
  • 107.
    Bibliographie [DH55] Denavit J andHartenberg R.S. A Kinematic notation for lower pair mechanism based on matrices. Trans. of ACME, J. of Applied Mechanics, 22 :215–221, June 1955. [Fou80] A. Fournier. Génération de mouvements en robotique : application des inverses généralisées et des pseudo-inverses. PhD thesis, USTL, Mntpellier, April 1980. [GBF85] A.A Goldenberg, B. Benhabib, and R.G. Fenton. A complete generalized solution to inverse kinematics of robots. IEEE J. of Robotics and Automation, RA-1(1) :14–20, 1985. [KC] Khalil W. and Creusot D. Symoro+ : a system for the symbolic modeling of robots. Robotica, 15 :153–161. [LZ83] C.S.G. Lee and M. Ziegler. A geometric approach in solving the inverse kinematics of PUMA robots. In Proc. 13th Int. Symp on Industrial Robots, volume 16, pages 1–18, 1983. [Pau81] R.C.P Paul. Robot manipulators : mathematics, programming an d control. 1981. [Pie68] D.L Pieper. The Kinematics of manipulators under computer control. PhD thesis, Stanford University, 1968. [Ren80] M. Renaud. Contribution a la modélisation et à la commande dynamiques des robots manipulateurs. PhD thesis, UPS, Toulouse, September 1980. [SS94] L. Sicavicco and B. Sciavicco. Modeling and control of robot manipulators. McGraw Hill, 1994. [WE84] W.A. Wolovich and H. Elliot. A computational technique for inverse kinematics. In 23 IEEE Conf. on Decision and Control, pages 1359–1353, Las Vegas, December 1984.